Transcriber’s Note
Larger versions of most illustrations may be seen by right-clicking them and selecting an option to view them separately, or by double-tapping and/or stretching them.
Additional notes will be found near the end of this ebook.

“ROMANCE OF REALITY” SERIES
Edited by Ellison Hawks
VOLUMES ALREADY ISSUED
1. THE AEROPLANE. By Grahame White and Harry Harper.
2. THE MAN-OF-WAR. By Commander E. H. Currey, R.N.
3. MODERN INVENTIONS. By V. E. Johnson, M.A.
4. ELECTRICITY. By W. H. McCormick.
5. ENGINEERING. By Gordon D. Knox.
(Larger)
THE MARCONI TRANSATLANTIC WIRELESS STATION AT GLACE BAY, NOVA SCOTIA
Drawing by Irene Sutcliffe
“ROMANCE OF REALITY” SERIES
ELECTRICITY
BY
W. H. McCORMICK

NEW YORK
FREDERICK A. STOKES COMPANY
PUBLISHERS
Printed in Great Britain
v
I gladly take this opportunity of acknowledging the generous assistance I have received in the preparation of this book.
I am indebted to the following firms for much useful information regarding their various specialities:—
Chloride Electrical Storage Co. Ltd.; General Electric Co. Ltd.; Union Electric Co. Ltd.; Automatic Electric Co., Chicago; Westinghouse Cooper-Hewitt Co. Ltd.; Creed, Bille & Co. Ltd.; India Rubber, Gutta Percha, and Telegraph Works Co. Ltd.; W. Canning & Co.; C. H. F. Muller; Ozonair Ltd.; Universal Electric Supply Co., Manchester; and the Agricultural Electric Discharge Co. Ltd.
For illustrations my thanks are due to:—
Marconi’s Wireless Telegraph Co. Ltd.; Chloride Electrical Storage Co. Ltd.; Harry W. Cox & Co. Ltd.; C. H. F. Muller; W. Canning & Co.; Union Electric Co. Ltd.; Creed, Bille & Co. Ltd.; Ozonair Ltd.; Kodak Ltd.; C. A. Parsons & Co.; Lancashire Dynamo and Motor Co. Ltd.; Dick, Kerr & Co. Ltd.; Siemens Brothers Dynamo Works Ltd.; Vickers Ltd.; and Craven Brothers Ltd.
Mr. Edward Maude and Mr. J. A. Robson have most kindly prepared for me a number of the diagrams, and I am indebted to Dr. Myer Coplans for particulars and a diagram of the heat-compensated salinometer.
I acknowledge also many important suggestions from Miss E. C. Dudgeon on Electro-Culture, and from Mr. R. Baxter and Mr. G. Clark on Telegraphy and Telephony.
Amongst the many books I have consulted I am indebtedvi specially to Electricity in Modern Medicine, by Alfred C. Norman, M.D.; Growing Crops and Plants by Electricity, by Miss E. C. Dudgeon; and Wireless Telegraphy (Cambridge Manuals), by Prof. C. L. Fortescue. I have derived great assistance also from the Wireless World.
Finally, I have to thank Mr. Albert Innes, A.I.E.E., of Leeds, for a number of most valuable suggestions, and for his kindness in reading through the proofs.
W. H. McC.
Leeds, 1915vii
| CHAPTER | PAGE | |
| I. | The Birth of the Science of Electricity | 1 |
| II. | Electrical Machines and the Leyden Jar | 9 |
| III. | Electricity in the Atmosphere | 18 |
| IV. | The Electric Current | 27 |
| V. | The Accumulator | 38 |
| VI. | Magnets and Magnetism | 44 |
| VII. | The Production of Magnetism by Electricity | 56 |
| VIII. | The Induction Coil | 61 |
| IX. | The Dynamo and the Electric Motor | 66 |
| X. | Electric Power Stations | 75 |
| XI. | Electricity in Locomotion | 83 |
| XII. | Electric Lighting | 93 |
| XIII. | Electric Heating | 109 |
| XIV. | Electric Bells and Alarms | 116 |
| XV. | Electric Clocks | 124 |
| XVI. | The Telegraph | 128 |
| XVII. | Submarine Telegraphy | 144 |
| XVIII. | The Telephone | 154 |
| XIX. | Some Telegraphic and Telephonic Inventions | 171 |
| XX. | Wireless Telegraphy and Telephony—Principles and Apparatus | 179 |
| XXI. | Wireless Telegraphy—Practical Applications | 203 |
| XXII. | Electroplating and Electrotyping | 213 |
| XXIII. | Industrial Electrolysis | 224 |
| XXIV. | The Röntgen Rays | 228 |
| XXV. | Electricity in Medicine | 241 |
| XXVI. | Ozone | 247 |
| XXVII. | Electric Ignition | 253 |
| XXVIII. | Electro-Culture | 258 |
| XXIX. | Some Recent Applications of Electricity—An Electric Pipe Locator, etc. | 266 |
| XXX. | Electricity in War | 274 |
| XXXI. | What is Electricity? | 287 |
| Index | 295 |
viii
| Plate in Colour: The Marconi Transatlantic Wireless Station at Glace Bay, Nova Scotia Frontispiece | |
| FACING PAGE | |
| Hydro-Electric Power Station | 30 |
| (a) Experiment to show Magnetic Induction | 48 |
| (b) Experiment to show the Production of Magnetism by an Electric Current | 48 |
| (a) Lines of Magnetic Force of Two Opposite Poles | 50 |
| (b) Lines of Magnetic Force of Two Similar Poles | 50 |
| A Typical Dynamo and its Parts | 70 |
| Lots Road Electric Power Station, Chelsea | 76 |
| Power Station Battery of Accumulators | 80 |
| Electric Colliery Railway | 86 |
| Typical Electric Locomotives | 90 |
| Night Photographs, taken by the Light of the Arc Lamps | 96 |
| Where Electrical Machinery is made | 120 |
| Specimen of the Work of the Creed High-Speed Printing Telegraph | 140 |
| Large Electric Travelling Crane at a Railway Works | 164 |
| (a) Marconi Operator Receiving a Message | 188 |
| (b) Marconi Magnetic Detector | 188 |
| Röntgen Ray Photograph of British and Foreign Fountain Pens | 240 |
| Bachelet “Flying Train” and its Inventor | 272 |
| (a) Cavalry Portable Wireless Cart Set | 280 |
| (b) Aeroplane fitted with Wireless Telegraphy | 280 |
1
Although the science of electricity is of comparatively recent date, electricity itself has existed from the beginning of the world. There can be no doubt that man’s introduction to electricity was brought about through the medium of the thunderstorm, and from very early times come down to us records of the terror inspired by thunder and lightning, and of the ways in which the ancients tried to account for the phenomena. Even to-day, although we know what lightning is and how it is produced, a severe thunderstorm fills us with a certain amount of awe, if not fear; and we can understand what a terrifying experience it must have been to the ancients, who had none of our knowledge.
These early people had simple minds, and from our point of view they had little intelligence; but they possessed a great deal of curiosity. They were just as anxious to explain things as we are, and so they were not content until they had invented an explanation of lightning and thunder. Their favourite way of accounting for anything they did not understand was to make up a sort of romance about it. They believed that the heavens were inhabited by various gods, who showed their pleasure or anger by2 signs, and so they naturally concluded that thunder was the voice of angry gods, and lightning the weapon with which they struck down those who had displeased them. Prayers and sacrifices were therefore offered to the gods, in the hope of appeasing their wrath.
Greek and Roman mythology contains many references to thunder and lightning. For instance, we read about the great god Zeus, who wielded thunder-bolts which had been forged in underground furnaces by the giant Cyclops. There was no doubt that the thunder-bolts were made in this way, because one only had to visit a volcano in order to see the smoke from the furnace, and hear the rumbling echo of the far-off hammering. Then we are told the tragic story of Phaeton, son of the Sun-god. This youth, like many others since his time, was daring and venturesome, and imagined that he could do things quite as well as his father. On one occasion he tried to drive his father’s chariot, and, as might have been expected, it got beyond his control, and came dangerously near the Earth. The land was scorched, the oceans were dried up, and the whole Earth was threatened with utter destruction. In order to prevent such a frightful catastrophe, Jupiter, the mighty lord of the heavens, hurled a thunder-bolt at Phaeton, and struck him from the chariot into the river Po. A whole book could be written about these ancient legends concerning the thunderstorm, but, interesting as they are, they have no scientific value, and many centuries were to elapse before the real nature of lightning was understood.
In order to trace the first glimmerings of electrical knowledge we must leave the thunderstorm and pass on to more trivial matters. On certain sea-coasts the ancients found a transparent yellow substance capable of taking a high polish, and much to be desired as an ornament; and about 600 years B.C. it was discovered that this substance,3 when rubbed, gained the power of drawing to it bits of straw, feathers, and other light bodies. This discovery is generally credited to a Greek philosopher named Thales, 941–563 B.C., and it must be regarded as the first step towards the foundation of electrical science. The yellow substance was amber. We now know it to be simply a sort of fossilized resin, but the Greeks gave it a much more romantic origin. When Phaeton’s rashness brought him to an untimely end, his sorrowing sisters, the Heliades, were changed into poplar trees, and their tears into amber. Amongst the names given to the Sun-god was Alector, which means the shining one, and so the tears of the Heliades came to have the name Electron, or the shining thing. Unlike most of the old legends, this story of the fate of the Sun-maidens is of great importance to us, for from the word “electron” we get the name Electricity.
Thales and his contemporaries seem to have made no serious attempts to explain the attraction of the rubbed amber, and indeed so little importance was attached to the discovery that it was completely forgotten. About 321 B.C. one Theophrastus found that a certain mineral called “lyncurium” gained attractive powers when rubbed, but again little attention was paid to the matter, and astonishing as it may seem, no further progress worth mention was made until towards the close of the sixteenth century, when Doctor Gilbert of Colchester began to experiment seriously. This man was born about 1543, and took his degree of doctor of medicine at Cambridge in 1569. He was very successful in his medical work, and became President of the College of Physicians, and later on physician to Queen Elizabeth. He had a true instinct for scientific research, and was not content to accept statements on the authority of others, but tested everything for himself. He found that sulphur, resin, sealing-wax, and many other substances4 behaved like amber when rubbed, but he failed to get any results from certain other substances, such as the metals. He therefore called the former substances “electrics,” and the latter “anelectrics,” or non-electrics. His researches were continued by other investigators, and from him dates the science of electricity.
Leaving historical matters for the present, we will examine the curious power which is gained by substances as the result of rubbing. Amber is not always obtainable, and so we will use in its place a glass rod and a stick of sealing-wax. If the glass rod is rubbed briskly with a dry silk handkerchief, and then held close to a number of very small bits of paper, the bits are immediately drawn to the rod, and the same thing occurs if the stick of sealing-wax is substituted for the glass. This power of attraction is due to the presence of a small charge of electricity on the rubbed glass and sealing-wax, or in other words, the two substances are said to be electrified. Bits of paper are unsatisfactory for careful experimenting, and instead of them we will use the simple piece of apparatus shown in Fig. 1. This consists of a ball of elder pith, suspended from a glass support by means of a silk thread. If now we repeat our experiments with the electrified glass or sealing-wax we find that the little ball is attracted in the same way as the bits of paper. But if we look carefully we shall notice that attraction is not the only effect, for as soon as the ball touches the electrified body it is driven away or repelled. Now let us suspend, by means of a thread, a glass rod which has been electrified by rubbing it with silk, and bring5 near it in turn another silk-rubbed glass rod and a stick of sealing-wax rubbed with flannel. The two glass rods are found to repel one another, whereas the sealing-wax attracts the glass. If the experiment is repeated with a suspended stick of sealing-wax rubbed with flannel, the glass and the sealing-wax attract each other, but the two sticks of wax repel one another. Both glass and sealing-wax are electrified, as may be seen by bringing them near the pith ball, but there must be some difference between them as we get attraction in one case and repulsion in the other.
The explanation is that the electric charges on the silk-rubbed glass and on the flannel-rubbed sealing-wax are of different kinds, the former being called positive, and the latter negative. Bodies with similar charges, such as the two glass rods, repel one another; while bodies with unlike charges, such as the glass and the sealing-wax, attract each other. We can now see why the pith ball was first attracted and then repelled. To start with, the ball was not electrified, and was attracted when the rubbed glass or sealing-wax was brought near it. When however the ball touched the electrified body it received a share of the latter’s electricity, and as similar charges repel one another, the ball was driven away.
The kind of electricity produced depends not only on the substance rubbed, but also on the material used as the rubber. For instance, we can give glass a negative charge by rubbing it with flannel, and sealing-wax becomes positively charged when rubbed with silk. The important point to remember is that there are only two kinds of electricity, and that every substance electrified by rubbing is charged either positively, like the silk-rubbed glass, or negatively, like the flannel-rubbed sealing-wax.
If we try to electrify a metal rod by holding it in the hand and rubbing it, we get no result, but if we fasten to6 the metal a handle of glass, and hold it by this while rubbing, we find that it becomes electrified in the same way as the glass rod or the sealing-wax. Substances such as glass do not allow electricity to pass along them, so that in rubbing a glass rod the part rubbed becomes charged, and the electricity stays there, being unable to spread to the other parts of the rod. Substances such as metals allow electricity to pass easily, so that when a metal rod is rubbed electricity is produced, but it immediately spreads over the whole rod, reaches the hand, and escapes. If we wish the metal to retain its charge we must provide it with a handle of glass or of some other material which does not allow electricity to pass. Dr. Gilbert did not know this, and so he came to the conclusion that metals were non-electrics, or could not be electrified.
Substances which allow electricity to pass freely are called conductors, and those which do not are called non-conductors; while between the two extremes are many substances which are called partial conductors. It may be said here that no substance is quite perfect in either respect, for all conductors offer some resistance to the passage of electricity, while all non-conductors possess some conducting power. Amongst conductors are metals, acids, water, and the human body; cotton, linen, and paper are partial conductors; and air, resin, silk, glass, sealing-wax, and gutta-percha are non-conductors. When a conductor is guarded by a non-conductor so that its electricity cannot escape, it is said to be insulated, from Latin, insula, an island; and non-conductors are also called “insulators.”
So far we have mentioned only the electric charge produced on the substance rubbed, but the material used as rubber also becomes electrified. The two charges, however, are not alike, but one is always positive and the other negative. For instance, if glass is rubbed with silk, the7 glass receives a positive, and the silk a negative charge. It also can be shown that the two opposite charges are always equal in quantity.
The two kinds of electricity are generally represented by the signs + and -, the former standing for positive and the latter for negative electricity.
The electricity produced by rubbing, or friction, is known as Static Electricity; that is, electricity in a state of rest, as distinguished from electricity in motion, or current electricity. The word static is derived from a Greek word meaning to stand. At the same time it must be understood that this electricity of friction is at rest only in the sense that it is a prisoner, unable to move. When we produce a charge of static electricity on a glass rod, by rubbing it, the electricity would escape fast enough if it could. It has only two possible ways of escape, along the rod and through the air, and as both glass and air are non-conductors it is obliged to remain at rest where it was produced. On the other hand, as we have seen, the electricity produced by rubbing a metal rod which is not protected by an insulating handle escapes instantly, because the metal is a good conductor.
When static electricity collects in sufficient quantities it discharges itself in the form of a bright spark, and we shall speak of these sparks in Chapter III. Static electricity is of no use for doing useful work, such as ringing bells or driving motors, and in fact, except for scientific purposes, it is more of a nuisance than a help. It collects almost everywhere, and its power of attraction makes it very troublesome at times. In the processes of textile manufacture static electricity is produced in considerable quantities, and it makes its presence known by causing the threads to stick together in the most annoying fashion. In printing rooms too it plays pranks, making the sheets of8 paper stick together so that the printing presses have to be stopped.
Curiously enough, static electricity has been detected in the act of interfering with the work of its twin brother, current electricity. A little while ago it was noticed that the electric incandescent lamps in a certain building were lasting only a very short time, the filaments being found broken after comparatively little use. Investigations showed that the boy was in the habit of dusting the lamp globes with a feather duster. The friction set up in this way produced charges of electricity on the glass, and this had the effect of breaking the filaments. When this method of dusting was discontinued the trouble ceased, and the lamps lasted their proper number of hours.
The amount of electricity produced by the rubbing of glass or sealing-wax rods is very small, and experimenters soon felt the need of apparatus to produce larger quantities. In 1675 the first electrical machine was made by Otto von Guericke, the inventor of the air-pump. His machine consisted of a globe of sulphur fixed on a spindle, and rotated while the hands were pressed against it to provide the necessary friction. Globes and cylinders of glass soon replaced the sulphur globe, and the friction was produced by cushions instead of by the hands. Still later, revolving plates of glass were employed. These machines worked well enough in a dry atmosphere, but were very troublesome in wet weather, and they are now almost entirely superseded by what are known as influence machines.
In order to understand the working of influence machines, it is necessary to have a clear idea of what is meant by the word influence as used in an electrical sense. In the previous chapter we saw that a pith ball was attracted by an electrified body, and that when the ball touched that body it received a charge of electricity. We now have to learn that one body can receive a charge from another body without actual contact, by what is called “influence,” or electro-static induction. In Fig. 2 is seen a simple arrangement for showing this influence or induction. A is a glass ball, and BC a piece of metal, either solid or10 hollow, made somewhat in the shape of a sausage, and insulated by means of its glass support. Three pairs of pith balls are suspended from BC as shown. If A is electrified positively, and brought near BC, the pith balls at B and C repel one another, showing that the ends of BC are electrified. No repulsion takes place between the two pith balls at the middle, indicating that this part of BC is not electrified. If the charges at B and C are tested they are found to be of opposite kinds, that at B being negative, and that at C positive. Thus it appears that the positive charge on A has attracted a negative charge to B, and repelled a positive one to C. If A is taken away, the two opposite charges on BC unite and neutralise one another, and BC is left in its original uncharged condition, while A is found to have lost none of its own charge. If BC is made in two parts, and if these are separated while under the influence of A, the two charges cannot unite when A is removed, but remain each on its own half of BC. In this experiment A is said to have induced electrification on BC. Induction will take place across a considerable distance, and it is not stopped by the interposition of obstacles such as a sheet of glass.
11
We can now understand why an electrified body attracts an unelectrified body, as in our pith ball experiments. If we bring a positively charged glass rod near a pith ball, the latter becomes electrified by induction, the side nearer the rod receiving a negative, and the farther side a positive charge. One half of the ball is therefore attracted and the other half repelled, but as the attracted half is the nearer, the attraction is stronger than the repulsion, and so the ball moves towards the rod.
Fig. 3 shows an appliance for obtaining strong charges of electricity by influence or induction. It is called the electrophorus, the name coming from two Greek words, electron, amber, and phero, I yield or bear; and it was devised in 1775 by Volta, an Italian professor of physics. The apparatus consists of a round cake, A, of some resinous material contained in a metal dish, and a round disc of metal, B, of slightly smaller diameter, fitted with an insulating handle. A simple electrophorus may be made by filling with melted sealing-wax the lid of a round tin, the disc being made of a circular piece of copper or brass, a little smaller than the lid, fastened to the end of a stick of sealing-wax. To use the electrophorus, the sealing-wax is electrified negatively by rubbing it with flannel. The metal disc is then placed on the sealing-wax, touched for an instant with the finger, and lifted away. The disc is now found to be electrified positively, and it may be discharged and the process repeated many times without recharging the sealing-wax. The charge on the latter is not used up in the process,12 but it gradually leaks away, and after a time it has to be renewed.
The theory of the electrophorus is easy to understand from what we have already learnt about influence. When the disc B is placed on the charged cake A, the two surfaces are really in contact at only three or four points, because neither of them is a true plane; so that on the whole the disc and the cake are like A and BC in Fig. 2, only much closer together. The negative charge on A acts by induction on the disc B, attracting a positive charge to the under side, and repelling a negative charge to the upper side. When the disc is touched, the negative charge on the upper side escapes, but the positive charge remains, being as it were held fast by the attraction of the negative charge on A. If the disc is now raised, the positive charge is no longer bound on the under side, and it therefore spreads over both surfaces, remaining there because its escape is cut off by the insulating handle.
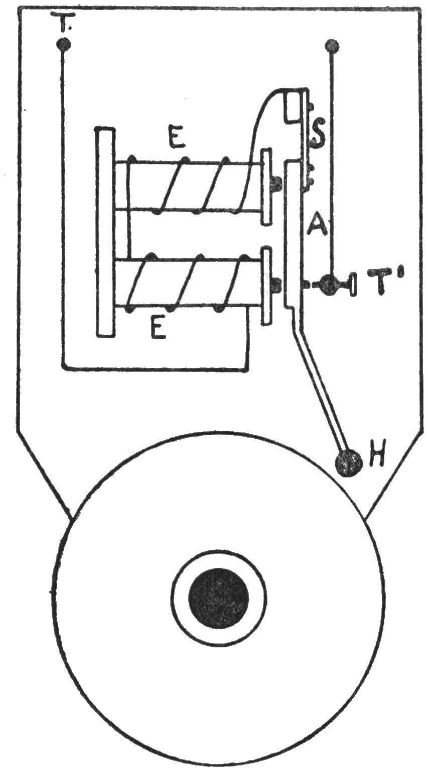
We may now try to understand the working of influence machines, which are really mechanically worked electrophori. There are various types of such machines, but the one in most general use in this country is that known as the Wimshurst machine, Fig. 4, and we will therefore confine ourselves to this. It consists of two circular plates13 of varnished glass or of ebonite, placed close together and so geared that they rotate in opposite directions. On the outer surfaces of the plates are cemented sectors of metal foil, at equal distances apart. Each plate has the same number of sectors, so that at any given moment the sectors on one plate are exactly opposite those on the other. Across the outer surface of each plate is fixed a rod of metal carrying at its ends light tinsel brushes, which are adjusted to touch the sectors as they pass when the plates are rotated. These rods are placed at an angle to each other of from sixty to ninety degrees, and the brushes are called neutralizing brushes. The machine is now complete for generating purposes, but in order to collect the electricity two pairs of insulated metal combs are provided, one pair at each end of the horizontal diameter, with the teeth pointing inward towards the plates, but not touching them. The collecting combs are fitted with adjustable discharging rods terminating in round knobs.
The principle upon which the machine works will be best understood by reference to Fig. 5. In this diagram the inner circle represents the front plate, with neutralizing brushes A and B, and the outer one represents the back plate, with brushes C and D. The sectors are shown heavily shaded. E and F are the pairs of combs, and the plates rotate in the direction of the arrows. Let us suppose one of the sectors at the top of the back plate to have a slight positive charge. As the plates rotate this sector will come opposite to a front plate sector touched by brush A, and it will induce a slight negative charge on the latter sector, at the same time repelling a positive charge along the rod to the sector touched by brush B. The two sectors carrying the induced charges now move on until opposite back plate sectors touched by brushes C and D, and these back sectors will receive by induction positive and negative14 charges respectively. This process continues as the plates rotate, and finally all the sectors moving towards comb E will be positively charged, while those approaching comb F will be negatively charged. The combs collect these charges, and the discharging rods K and L become highly electrified, K positively and L negatively, and if they are near enough together sparks will pass between them.
At the commencement we supposed one of the sectors to have a positive charge, but it is not necessary to charge a sector specially, for the machine is self-starting. Why this is the case is not yet thoroughly understood, but probably the explanation is that at any particular moment no two places in the atmosphere are in exactly the same15 electro-static condition, so that an uneven state of charge exists permanently amongst the sectors.
The Wimshurst machine provides us with a plentiful supply of electricity, and the question naturally arises, “Can this electricity be stored up in any way?” In 1745, long before the days of influence machines, a certain Bishop of Pomerania, Von Kleist by name, got the idea that if he could persuade a charge of electricity to go into a glass bottle he would be able to capture it, because glass was a non-conductor. So he partly filled a bottle with water, led a wire down into the water, and while holding the bottle in one hand connected the wire to a primitive form of electric machine. When he thought he had got enough electricity he tried to remove his bottle in order to examine the contents, and in so doing he received a shock which scared him considerably. He had succeeded in storing electricity in his bottle. Shortly afterwards the bishop’s experiment was repeated by Professor Muschenbrock of Leyden, and by his pupil Cuneus, the former being so startled by the shock that he wrote, “I would not take a second shock for the kingdom of France.” But in spite of shocks the end was achieved; it was proved that electricity could be collected and stored up, and the bottle became known as the Leyden jar. The original idea was soon improved upon, water being replaced by a coating of tinfoil, and it was found that better results were obtained by coating the outside of the bottle as well as the inside.
As now used the Leyden jar consists of a glass jar covered inside and outside with tinfoil up to about two-thirds of its height. A wooden lid is fitted, through which passes a brass rod terminating above in a brass knob, and below in a piece of brass chain long enough to touch the foil lining. A Leyden jar is charged by holding it in one hand with its knob presented to the discharging ball of a16 Wimshurst machine, and even if the machine is small and feeble the jar will accumulate electricity until it is very highly charged. It may now be put down on the table, and if it is clean and quite dry it will hold its charge for some time. If the outer and inner coatings of the jar are connected by means of a piece of metal, the electricity will be discharged in the form of a bright spark. A Leyden jar is usually discharged by means of discharging tongs, consisting of a jointed brass rod with brass terminal knobs and glass handles. One knob is placed in contact with the outer coating of foil, and the other brought near to the knob of the jar, which of course is connected with the inner coating.
The electrical capacity of even a small Leyden jar is surprisingly great, and this is due to the mutual attraction between opposite kinds of electricity. If we stick a piece of tinfoil on the centre of each face of a pane of glass, and charge one positively and the other negatively, the two charges attract each other through the glass; and in fact they hold on to each other so strongly that we can get very little electricity by touching either piece of foil. This mutual attraction enables us to charge the two pieces of foil much more strongly than if they were each on a separate pane, and this is the secret of the working of the Leyden jar. If the knob of the jar is held to the positive ball of a Wimshurst, the inside coating receives a positive charge, which acts inductively on the outside coating, attracting a negative charge to the inner face of the latter, and repelling a positive charge to its outer face, and thence away through the hand. The electricity is entirely confined to the sides of the jar, the interior having no charge whatever.
Leyden jars are very often fitted to a Wimshurst machine as shown at A, A, Fig. 4, and arranged so that they17 can be connected or disconnected to the collecting combs as desired. When the jars are disconnected the machine gives a rapid succession of thin sparks, but when the jars are connected to the combs they accumulate a number of charges before the discharge takes place, with the result that the sparks are thicker, but occur at less frequent intervals.
It will have been noticed that the rod of a Leyden jar and the discharging rods of a Wimshurst machine are made to terminate not in points, but in rounded knobs or balls. The reason of this is that electricity rapidly leaks away from points. If we electrify a conductor shaped like a cone with a sharp point, the density of the electricity is greatest at that point, and when it becomes sufficiently great the particles of air near the point become electrified and repelled. Other particles take their place, and are electrified and repelled in the same way, and so a constant loss of electricity takes place. This may be shown in an interesting way by fastening with wax a needle to the knob of a Wimshurst. If a lighted taper is held to the point of the needle while the machine is in action, the flame is blown aside by the streams of repelled air, which form a sort of electric wind.
If the Leyden jars of a Wimshurst machine are connected up and the discharging balls placed at a suitable distance apart, the electricity produced by rotating the plates is discharged in the form of a brilliant zigzag spark between the balls, accompanied by a sharp crack. The resemblance between this spark and forked lightning is at once evident, and in fact it is lightning in miniature. The discharging balls are charged, as we have seen, with opposite kinds of electricity, and these charges are constantly trying to reach one another across the intervening air, which, being an insulator, vigorously opposes their passage. There is thus a kind of struggle going on between the air and the two charges of electricity, and this keeps the air in a state of constant strain. But the resisting power of the air is limited, and when the charges reach a certain strength the electricity violently forces its way across, literally rupturing or splitting the air. The particles of air along the path of the discharge are rendered incandescent by the heat produced by the passage of the electricity, and so the brilliant flash is produced. Just as a river winds about seeking the easiest course, so the electricity takes the path of least resistance, which probably is determined by the particles of dust in the air, and also by the density of the air, which becomes compressed in front, leaving less dense air and therefore an easier path on each side.
19
The connexion between lightning and the sparks from electrified bodies and electrical machines was suspected by many early observers, but it remained for Benjamin Franklin to prove that lightning was simply a tremendous electric discharge, by actually obtaining electricity from a thunder-cloud. Franklin was an American, born at Boston in 1706. He was a remarkable man in every way, and quite apart from his investigations in electricity, will always be remembered for the great public services he rendered to his country in general and to Philadelphia in particular. He founded the Philadelphia Library, the American Philosophical Society, and the University of Pennsylvania.
Franklin noticed many similarities between electricity and lightning. For instance, both produced zigzag sparks, both were conducted by metals, both set fire to inflammable materials, and both were capable of killing animals. These resemblances appeared to him so striking that he was convinced that the two were the same, and he resolved to put the matter to the test. For this purpose he hit upon the idea of using a kite, to the top of which was fixed a pointed wire. At the lower end of the flying string was tied a key, insulated by a piece of silk ribbon. In June 1752, Franklin flew his kite, and after waiting a while he was rewarded by finding that when he brought his knuckle near to the key a little spark made its appearance. This spark was exactly like the sparks obtained from electrified bodies, but to make things quite certain a Leyden jar was charged from the key. Various experiments were then performed with the jar, and it was proved beyond all doubt that lightning and electricity were one and the same.
Lightning is then an enormous electric spark between a cloud and the Earth, or between two clouds, produced when opposite charges become so strong that they are able to break down the intervening non-conducting layer of air.20 The surface of the Earth is negatively electrified, the electrification varying at different times and places; while the electricity of the air is usually positive, but frequently changes to negative in rainy weather and on other occasions. As the clouds float about they collect the electricity from the air, and thus they may be either positively or negatively electrified, so that a discharge may take place between one cloud and another, as well as between a cloud and the Earth.
Lightning flashes take different forms, the commonest being forked or zigzag lightning, and sheet lightning. The zigzag form is due to the discharge taking the easiest path, as in the case of the spark from a Wimshurst machine. Sheet lightning is probably the reflection of a flash taking place at a distance. It may be unaccompanied by thunder, as in the so-called “summer lightning,” seen on the horizon at night, which is the reflection of a storm too far off for the thunder to be heard. A much rarer form is globular or ball lightning, in which the discharge takes the shape of a ball of light, which moves slowly along and finally disappears with a sudden explosion. The cause of this form of lightning is not yet understood, but it is possible that the ball of light consists of intensely heated and extremely minute fragments of ordinary matter, torn off by the violence of the lightning discharge. Another uncommon form is multiple lightning, which consists of a number of separate parallel discharges having the appearance of a ribbon.
A lightning flash probably lasts from about 1/100,000 to 1/1,000,000 of a second, and in the majority of cases the discharge is oscillatory; that is to say, it passes several times backwards and forwards between two clouds or between a cloud and the Earth. At times it appears as though we could see the lightning start downwards from the cloud or upwards from the Earth, but this is an optical illusion, and21 it is really quite impossible to tell at which end the flash starts.
Death by lightning is instantaneous, and therefore quite painless. We are apt to think that pain is felt at the moment when a wound is inflicted. This is not the case however, for no pain is felt until the impression reaches the brain by way of the nerves, and this takes an appreciable time. The nerves transmit sensations at a speed of only about one hundred feet per second, so that in the case of a man killed by a bullet through the brain, no pain would be felt, because the brain would be deprived of sensibility before the sensation could reach it. Lightning is infinitely swifter than any bullet, so life would be destroyed by it before any pain could be felt.
On one occasion Professor Tyndall, the famous physicist, received accidentally a very severe shock from a large battery of Leyden jars while giving a public lecture. His account of his sensations is very interesting. “Life was absolutely blotted out for a very sensible interval, without a trace of pain. In a second or so consciousness returned; I saw myself in the presence of the audience and apparatus, and, by the help of these external appearances, immediately concluded that I had received the battery discharge. The intellectual consciousness of my position was restored with exceeding rapidity, but not so the optical consciousness. To prevent the audience from being alarmed, I observed that it had often been my desire to receive accidentally such a shock, and that my wish had at length been fulfilled. But, while making this remark, the appearance which my body presented to myself was that of a number of separate pieces. The arms, for example, were detached from the trunk, and seemed suspended in the air. In fact, memory and the power of reasoning appeared to be complete long before the optic nerve was restored to22 healthy action. But what I wish chiefly to dwell upon here is, the absolute painlessness of the shock; and there cannot be a doubt that, to a person struck dead by lightning, the passage from life to death occurs without consciousness being in the least degree implicated. It is an abrupt stoppage of sensation, unaccompanied by a pang.”
Occasionally branched markings are found on the bodies of those struck by lightning, and these are often taken to be photographic impressions of trees under which the persons may have been standing at the time of the flash. The markings however are nothing of the kind, but are merely physiological effects due to the passage of the discharge.
During a thunderstorm it is safer to be in the house than out in the open. It is probable that draughts are a source of some danger, and the windows and doors of the room ought to be shut. Animals are more liable to be struck by lightning than men, and a shed containing horses or cows is a dangerous place in which to take shelter; in fact it is better to remain in the open. If one is caught in a storm while out of reach of a house or other building free from draughts and containing no animals, the safest plan is to lie down, not minding the rain. Umbrellas are distinctly dangerous, and never should be used during a storm. Wire fences, hedges, and still or running water should be given a wide berth, and it is safer to be alone than in company with a crowd of people. It is extremely foolish to take shelter under an isolated tree, for such trees are very liable to be struck. Isolated beech trees appear to have considerable immunity from lightning, but any tree standing alone should be avoided, the oak being particularly dangerous. On the other hand, a fairly thick wood is comparatively safe, and failing a house, should be chosen before all other places of refuge.23 Horses are liable to be struck, and if a storm comes on while one is out driving it is safer to keep quite clear of the animals.
When a Wimshurst machine has been in action for a little time a peculiar odour is noticed. This is due to the formation of a modified and chemically more active form of oxygen, called ozone, the name being derived from the Greek ozein, “to smell.” Ozone has very invigorating effects when breathed, and it is also a powerful germicide, capable of killing the germs which give rise to contagious diseases. During a thunderstorm ozone is produced in large quantities by the electric discharges, and thus the air receives as it were a new lease of life, and we feel the refreshing effects when the storm is over. We shall speak again of ozone in Chapter XXV.
Thunder probably is caused by the heating and sudden expansion of the air in the path of the discharge, which creates a partial vacuum into which the surrounding air rushes violently. Light travels at the rate of 186,000 miles per second, and therefore the flash reaches us practically instantaneously; but sound travels at the rate of only about 1115 feet per second, so that the thunder takes an appreciable time to reach us, and the farther away the discharge the greater the interval between the flash and the thunder. Thus by multiplying the number of seconds which elapse between the flash and the thunder by 1115, we may calculate roughly the distance in feet of the discharge. A lightning flash may be several miles in length, the greatest recorded length being about ten miles. The sounds produced at different points along its path reach us at different times, producing the familiar sharp rattle, and the following rolling and rumbling is produced by the echoes from other clouds. The noise of a thunder-clap is so tremendous that it seems as though the sound24 would be heard far and wide, but the greatest distance at which thunder has been heard is about fifteen miles. In this respect it is interesting to compare the loudest thunder-clap we ever heard with the noise of the famous eruption of Krakatoa, in 1883, which was heard at the enormous distance of nearly three thousand miles.
When Franklin had demonstrated the nature of lightning, he began to consider the possibility of protecting buildings from the disastrous effects of the lightning stroke. At that time the amount of damage caused by lightning was very great. Cathedrals, churches, public buildings, and in fact all tall edifices were in danger every time a severe thunderstorm took place in their neighbourhood, for there was absolutely nothing to prevent their destruction if the lightning chanced to strike them. Ships at sea, too, were damaged very frequently by lightning, and often some of the crew were killed or disabled. To-day, thanks to the lightning conductor, it is an unusual occurrence for ships or large buildings to be damaged by lightning. The lightning strikes them as before, but in the great majority of cases it is led away harmlessly to earth.
Franklin was the first to suggest the possibility of protecting buildings by means of a rod of some conducting material terminating in a point at the highest part of the building, and leading down, outside the building, into the earth. Lightning conductors at the present day are similar to Franklin’s rod, but many improvements have been made from time to time as our knowledge of the nature and action of the lightning discharge has increased. A modern lightning conductor generally consists of one or more pointed rods fixed to the highest parts of the building, and connected to a cable running directly to earth. This cable is kept as straight as possible, because turns and bends offer a very high resistance to the rapidly oscillating25 discharge; and it is connected to large copper plates buried in permanently moist ground or in water, or to water or gas mains. Copper is generally used for the cable, but iron also may be employed. In any case, the cable must be of sufficient thickness to prevent the possibility of its being deflagrated by the discharge. In ships the arrangements are similar, except that the cable is connected to the copper sheathing of the bottom.
The fixing of lightning conductors must be carried out with great care, for an improperly fixed conductor is not only useless, but may be a source of actual danger. Lightning flashes vary greatly in character, and while a carefully erected lightning conductor is capable of dealing with most of them, there are unfortunately certain kinds of discharge with which it now and then is unable to deal. The only absolutely certain way of protecting a building is to surround it completely by a sort of cage of metal, but except for buildings in which explosives are stored this plan is usually impracticable.
The electricity of the atmosphere manifests itself in other forms beside the lightning. The most remarkable of these manifestations is the beautiful phenomenon known in the Northern Hemisphere as the Aurora Borealis, and in the Southern Hemisphere as the Aurora Australis. Aurora means the morning hour or dawn, and the phenomenon is so called from its resemblance to the dawn of day. The aurora is seen in its full glory only in high latitudes, and it is quite unknown at the equator. It assumes various forms, sometimes appearing as an arch of light with rapidly moving streamers of different colours, and sometimes taking the form of a luminous curtain extending across the sky. The light of the aurora is never very strong, and as a rule stars can be seen through it. Auroras are sometimes accompanied by rustling or crackling26 sounds, but the sounds are always extremely faint. Some authorities assert that these sounds do not exist, and that they are the result of imagination, but other equally reliable observers have heard the sounds quite plainly on several occasions. Probably the explanation of this confliction of evidence is that the great majority of auroras are silent, so that an observer might witness many of them without hearing any sounds. The height at which auroras occur is a disputed point, and one which it is difficult to determine accurately; but most observers agree that it is generally from 60 to 125 miles above the Earth’s surface.
There is little doubt that the aurora is caused by the passage of electric discharges through the higher regions of the atmosphere, where the air is so rarefied as to act as a partial conductor; and its effects can be imitated in some degree by passing powerful discharges through tubes from which the air has been exhausted to a partial vacuum. Auroral displays are usually accompanied by magnetic disturbances, which sometimes completely upset telegraphic communication. Auroras and magnetic storms appear to be connected in some way with solar disturbances, for they are frequently simultaneous with an unusual number of sunspots, and all three run in cycles of about eleven and a half years.
In the previous chapters we have dealt with electricity in charged bodies, or static electricity, and now we must turn to electricity in motion, or current electricity. In Chapter I. we saw that if a metal rod is held in the hand and rubbed, electricity is produced, but it immediately escapes along the rod to the hand, and so to the earth. In other words, the electricity flows away along the conducting path provided by the rod and the hand. When we see the word “flow” we at once think of a fluid of some kind, and we often hear people speak of the “electric fluid.” Now, whatever electricity may be it certainly is not a fluid, and we use the word “flow” in connexion with electricity simply because it is the most convenient word we can find for the purpose. Just in the same way we might say that when we hold a poker with its point in the fire, heat flows along it towards our hand, although we know quite well that heat is not a fluid. In the experiment with the metal rod referred to above, the electricity flows away instantly, leaving the rod unelectrified; but if we arrange matters so that the electricity is renewed as fast as it flows away, then we get a continuous flow, or current.
Somewhere about the year 1780 an Italian anatomist, Luigi Galvani, was studying the effects of electricity upon animal organisms, using for the purpose the legs of freshly killed frogs. In the course of his experiments he happened to hang against an iron window rail a bundle of frogs’ legs28 fastened together with a piece of copper wire, and he noticed that the legs began to twitch in a peculiar manner. He knew that a frog’s leg would twitch when electricity was applied to it, and he concluded that the twitchings in this case were caused in the same way. So far he was quite right, but then came the problem of how any electricity could be produced in these circumstances, and here he went astray. It never occurred to him that the source of the electricity might be found in something quite apart from the legs, and so he came to the conclusion that the phenomenon was due to electricity produced in some mysterious way in the tissues of the animal itself. He therefore announced that he had discovered the existence of a kind of animal electricity, and it was left for his fellow-countryman, Alessandro Volta, to prove that the twitchings were due to electricity produced by the contact of the two metals, the iron of the window rail and the copper wire.
Volta found that when two different metals were placed in contact in air, one became positively charged, and the other negatively. These charges however were extremely feeble, and in his endeavours to obtain stronger results he hit upon the idea of using a number of pairs of metals, and he constructed the apparatus known as the Voltaic pile, Fig. 6.29 This consists of a number of pairs of zinc and copper discs, each pair being separated from the next pair by a disc of cloth moistened with salt water. These are piled up and placed in a frame, as shown in the figure. One end of the pile thus terminates in a zinc disc, and the other in a copper disc, and as soon as the two are connected by a wire or other conductor a continuous current of electricity is produced. The cause of the electricity produced by the voltaic pile was the subject of a long and heated controversy. There were two main theories; that of Volta himself, which attributed the electricity to the mere contact of unlike metals, and the chemical theory, which ascribed it to chemical action. The chemical theory is now generally accepted, but certain points, into which we need not enter, are still in dispute.
There is a curious experiment which some of my readers may like to try. Place a copper coin on a sheet of zinc, and set an ordinary garden snail to crawl across the zinc towards the coin. As soon as the snail comes in contact with the copper it shrinks back, and shows every sign of having received a shock. One can well imagine that an enthusiastic gardener pestered with snails would watch this experiment with great glee.
Volta soon found that it was not necessary to have his pairs of metals in actual metallic contact, and that better results were got by placing them in a vessel filled with dilute acid. Fig. 7 is a diagram of a simple voltaic cell of30 this kind, and it shows the direction of the current when the zinc and the copper are connected by the wire. In order to get some idea of the reason why a current flows we must understand the meaning of electric potential. If water is poured into a vessel, a certain water pressure is produced. The amount of this pressure depends upon the level of the water, and this in turn depends upon the quantity of water and the capacity of the vessel, for a given quantity of water will reach a higher level in a small vessel than in a larger one. In the same way, if electricity is imparted to a conductor an electric pressure is produced, its amount depending upon the quantity of electricity and the electric capacity of the conductor, for conductors vary in capacity just as water vessels do.
This electric pressure is called “potential,” and electricity tends to flow from a conductor of higher to one of lower potential. When we say that a place is so many feet above or below sea-level we are using the level of the sea as a zero level, and in estimating electric potential we take the potential of the earth’s surface as zero; and we regard a positively electrified body as one at a positive or relatively high potential, and a negatively electrified body as one at a negative or relatively low potential. This may be clearer if we think of temperature and the thermometer. Temperatures above zero are positive and represented by the sign +, and those below zero are negative and represented by the sign -. Thus we assume that an electric current flows from a positive to a negative conductor.
PLATE I.
By permission of
Dick, Kerr & Co. Ltd.
HYDRO-ELECTRIC POWER STATION.
In a voltaic cell the plates are at different potentials, so that when they are connected by a wire a current flows, and we say that the current leaves the cell at the positive terminal, and enters it again at the negative terminal. As shown in Fig. 7, the current moves in opposite directions inside and outside the cell, making a complete round called a circuit, and if the circuit is broken anywhere the current ceases to flow. If the circuit is complete the current keeps on flowing, trying to equalize the electric pressure or potential, but it is unable to do this because the chemical action between the acid and the zinc maintains the difference of potential between the plates. This chemical action results in wasting of the zinc and weakening of the acid, and as long as it continues the current keeps on flowing. When we wish to stop the current we break the circuit by disconnecting the wire joining the terminals, and the cell then should be at rest; but owing to the impurities in ordinary commercial zinc chemical action still continues. In order to prevent wasting when the current is not required the surface of the zinc is coated with a thin film of mercury. The zinc is then said to be amalgamated, and it is not acted upon by the acid so long as the circuit remains broken.
The current from a simple voltaic cell does not remain at a constant strength, but after a short time it begins to weaken rapidly. The cell is then said to be polarized, and this polarization is caused by bubbles of hydrogen gas which accumulate on the surface of the copper plate during the chemical action. These bubbles of gas weaken the current partly by resisting its flow, for they are bad conductors, and still more by trying to set up another current in the opposite direction. For this reason the simple voltaic cell is unsuitable for long spells of work, and many cells have been devised to avoid the polarization trouble. One of the most successful of these is the Daniell cell. It consists of an outer vessel of copper, which serves as the copper plate, and an inner porous pot containing a zinc rod. Dilute sulphuric acid is put into the porous pot and a strong solution of copper sulphate into the outer jar. When the circuit is closed, the hydrogen liberated by the32 action of the zinc on the acid passes through the porous pot, and splits up the copper sulphate into copper and sulphuric acid. In this way pure copper, instead of hydrogen, is deposited on the copper plate, no polarization takes place, and the current is constant.
Other cells have different combinations of metals, such as silver-zinc, or platinum-zinc, and carbon is also largely used in place of one metal, as in the familiar carbon-zinc Leclanché cell, used for ringing electric bells. This cell consists of an inner porous pot containing a carbon plate packed round with a mixture of crushed carbon and manganese dioxide, and an outer glass jar containing a zinc rod and a solution of sal-ammoniac. Polarization is checked by the oxygen in the manganese dioxide, which seizes the hydrogen on its way to the carbon plate, and combines with it. If the cell is used continuously however this action cannot keep pace with the rate at which the hydrogen is produced, and so the cell becomes polarized; but it soon recovers after a short rest.
The so-called “dry” cells so much used at the present time are not really dry at all; if they were they would give no current. They are in fact Leclanché cells, in which the containing vessel is made of zinc to take the place of a zinc rod; and they are dry only in the sense that the liquid is taken up by an absorbent material, so as to form a moist paste. Dry cells are placed inside closely fitting cardboard tubes, and are sealed up at the top. Their chief advantage lies in their portability, for as there is no free liquid to spill they can be carried about and placed in any position.
We have seen that the continuance of the current from a voltaic cell depends upon the keeping up of a difference of potential between the plates. The force which serves to maintain this difference is called the electro-motive force, and it is measured in volts. The actual flow of electricity33 is measured in amperes. Probably all my readers are familiar with the terms volt and ampere, but perhaps some may not be quite clear about the distinction between the two. When water flows along a pipe we know that it is being forced to do so by pressure resulting from a difference of level. That is to say, a difference of level produces a water-moving or water-motive force; and in a similar way a difference of potential produces an electricity-moving or electro-motive force, which is measured in volts. If we wish to describe the rate of flow of water we state it in gallons per second, and the rate of flow of electricity is stated in amperes. Volts thus represent the pressure at which a current is supplied, while the current itself is measured in amperes.
We may take this opportunity of speaking of electric resistance. A current of water flowing through a pipe is resisted by friction against the inner surface of the pipe; and a current of electricity flowing through a circuit also meets with a resistance, though this is not due to friction. In a good conductor this resistance is small, but in a bad conductor or non-conductor it is very great. The resistance also depends upon length and area of cross-section; so that a long wire offers more resistance than a short one, and a thin wire more than a thick one. Before any current can flow in a circuit the electro-motive force must overcome the resistance, and we might say that the volts drive the amperes through the resistance. The unit of resistance is the ohm, and the definition of a volt is that electro-motive force which will cause a current of one ampere to flow through a conductor having a resistance of one ohm. These units of measurement are named after three famous scientists, Volta, Ampère, and Ohm.
A number of cells coupled together form a battery, and different methods of coupling are used to get different34 results. In addition to the resistance of the circuit outside the cell, the cell itself offers an internal resistance, and part of the electro-motive force is used up in overcoming this resistance. If we can decrease this internal resistance we shall have a larger current at our disposal, and one way of doing this is to increase the size of the plates. This of course means making the cell larger, and very large cells take up a lot of room and are troublesome to move about. We can get the same effect however by coupling. If we connect together all the positive terminals and all the negative terminals of several cells, that is, copper to copper and zinc to zinc in Daniell cells, we get the same result as if we had one very large cell. The current is much larger, but the electro-motive force remains the same as if only one cell were used, or in other words we have more amperes but no more volts. This is called connecting in “parallel,” and the method is shown in Fig. 8. On the other hand, if, as is usually the case, we want a larger electro-motive force, we connect the positive terminal of one cell to the negative terminal of the next, or copper to zinc all through. In this way we add together the electro-motive forces of all the cells, but the amount of current remains that of a single cell; that is, we get more volts but no more amperes. This is called connecting in “series,” and the arrangement is shown35 in Fig. 9. We can also increase both volts and amperes by combining the two methods.
A voltaic cell gives us a considerable quantity of electricity at low pressure, the electro-motive force of a Leclanché cell being about 1½ volts, and that of a Daniell cell about 1 volt. We may perhaps get some idea of the electrical conditions existing during a thunderstorm from the fact that to produce a spark one mile long through air at ordinary pressure we should require a battery of more than a thousand million Daniell cells. Cells such as we have described in this chapter are called primary cells, as distinguished from accumulators, which are called secondary cells. Some of the practical applications of primary cells will be described in later chapters.
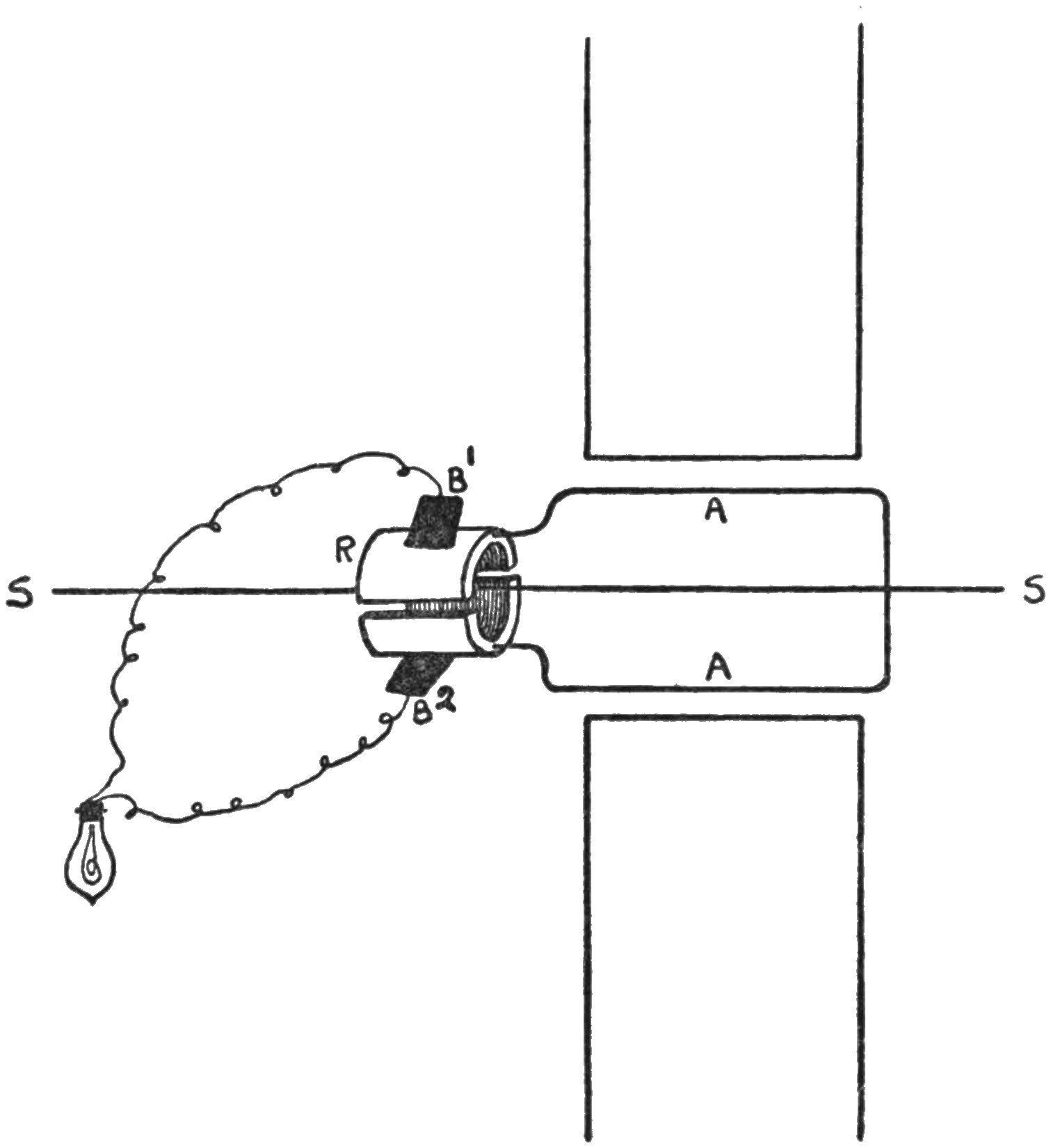
Besides the voltaic cell, in which the current is produced by chemical action, there is the thermo-electric battery, or thermopile, which produces current directly from heat energy. About 1822 Seebeck was experimenting with voltaic pairs of metals, and he found that a current could be produced in a complete metallic circuit consisting of different metals joined together, by keeping these joinings at different temperatures. Fig. 10 shows a simple arrangement for demonstrating this effect, which is known as the36 “Seebeck effect.” A slab of bismuth, BB, has placed upon it a bent strip of copper, C. If one of the junctions of the two metals is heated as shown, a current flows; and the same effect is produced by cooling one of the junctions. This current continues to flow as long as the two junctions are kept at different temperatures. In 1834 another scientist, Peltier, discovered that if a current was passed across a junction of two different metals, this junction was either heated or cooled, according to the direction in which the current flowed. In Fig. 10 the current across the heated junction tends to cool the junction, while the Bunsen burner opposes this cooling, and keeps up the temperature. A certain amount of the heat energy is thus transformed into electrical energy. At the other junction the current produces a heating effect, so that some of the electrical energy is retransformed into heat.
A thermopile consists of a number of alternate bars or strips of two unlike metals, joined together as shown diagrammatically in Fig. 11. The arrangement is such that the odd junctions are at one side, and the even ones37 at the other. The odd junctions are heated, and the even ones cooled, and a current flows when the circuit is completed. By using a larger number of junctions, and by increasing the difference of temperature between them, the voltage of the current may be increased. Thermopiles are nothing like so efficient as voltaic cells, and they are more costly. They are used to a limited extent for purposes requiring a very small and constant current, but for generating considerable quantities of current at high pressure they are quite useless. The only really important practical use of the thermopile is in the detection and measurement of very minute differences of temperature, which are beyond the capabilities of the ordinary thermometer. Within certain limits, the electro-motive force of a thermopile is exactly proportionate to the difference of temperature. The very slightest difference of temperature produces a current, and by connecting the wires from a specially constructed thermopile to a delicate instrument for measuring the strength of the current, temperature differences of less than one-millionth of a degree can be detected.
If we had two large water tanks, one of which could be emptied only by allowing the bottom to fall completely out, and the other by means of a narrow pipe, it is easy to see which would be the more useful to us as a source of water supply. If both tanks were filled, then from the first we could get only a sudden uncontrollable rush of water, but from the other we could get a steady stream extending over a long period, and easily controlled. The Leyden jar stores electricity, but in yielding up its store it acts like the first tank, giving a sudden discharge in the form of a bright spark. We cannot control the discharge, and therefore we cannot make it do useful work for us. For practical purposes we require a storing arrangement that will act like the second tank, giving us a steady current of electricity for a long period, and this we have in the accumulator or storage cell.
A current of electricity has the power of decomposing certain liquids. If we pass a current through water, the water is split up into its two constituent gases, hydrogen and oxygen, and this may be shown by the apparatus seen in Fig. 12. It consists of a glass vessel with two strips of platinum to which the current is led. The vessel contains water to which has been added a little sulphuric acid to increase its conducting power, and over the strips are inverted two test-tubes filled with the acidulated water. The39 platinum strips, which are called electrodes, are connected to a battery of Daniell cells. When the current passes, the water is decomposed, and oxygen collects at the electrode connected to the positive terminal of the battery, and hydrogen at the other electrode. The two gases rise up into the test-tubes and displace the water in them, and the whole process is called the electrolysis of water. If now we disconnect the battery and join the two electrodes by a wire, we find that a current flows from the apparatus as from a voltaic cell, but in the opposite direction from the original battery current.
It will be remembered that one of the troubles with a simple voltaic cell was polarization, caused by the accumulation of hydrogen; and that this weakened the current by setting up an opposing electro-motive force tending to produce another current in the opposite direction. In the present case a similar opposing or back electro-motive force is produced, and as soon as the battery current is stopped and the electrodes are connected, we get a current in the reverse direction, and this current continues to flow until the two gases have recombined, and the electrodes have regained their original condition. Consequently we can see that in order to electrolyze water, our battery must have an electro-motive force greater than that set up in opposition to it, and at least two Daniell cells are required.
40
This apparatus thus may be made to serve to some extent as an accumulator or storage cell, and it also serves to show that an accumulator does not store up or accumulate electricity. In a voltaic cell we have chemical energy converted into electrical energy, and here we have first electrical energy converted into chemical energy, and then the chemical energy converted back again into electrical energy. This is a rough-and-ready way of putting the matter, but it is good enough for practical purposes, and at any rate it makes it quite clear that what an accumulator really stores up is not electricity, but energy, which is given out in the form of electricity.
The apparatus just described is of little use as a source of current, and the first really practical accumulator was made in 1878 by Gaston Planté. The electrodes were two strips of sheet lead placed one upon the other, but separated by some insulating material, and made into a roll. This roll was placed in dilute sulphuric acid, and one strip or plate connected to the positive, and the other to the negative terminal of the source of current. The current was passed for a certain length of time, and then the accumulator partly discharged; after which current was passed again, but in the reverse direction, followed by another period of discharge. This process, which is called forming, was continued for several days, and its effect was to change one plate into a spongy condition, and to form a coating of peroxide of lead on the other. When the plates were properly formed the accumulator was ready to be fully charged and put into use. The effect of charging was to rob one plate of its oxygen, and to transfer this oxygen to the other plate, which thus received an overcharge of the gas. During the discharge of the accumulator the excess of oxygen went back to the place from which it had been taken, and the current continued until the surfaces of both41 plates were reduced to a chemically inactive state. The accumulator could be charged and discharged over and over again as long as the plates remained in good order.
In 1881, Faure hit upon the idea of coating the plates with a paste of red-lead, and this greatly shortened the time of forming. At first it was found difficult to make the paste stick to the plates, but this trouble was got rid of by making the plates in the form of grids, and pressing the paste into the perforations. Many further improvements have been made from time to time, but instead of tracing these we will go on at once to the description of a present-day accumulator. There are now many excellent accumulators made, but we have not space to consider more than one, and we will select that known as the “Chloride” accumulator.
The positive plate of this accumulator is of the Planté type, but it is not simply a casting of pure lead, but is made by a building-up process which allows of the use of a lead-antimony mixture for the grids. This gives greater strength, and the grids themselves are unaffected by the chemical changes which take place during the charging and discharging of the cell. The active material, that is the material which undergoes chemical change, is pure lead tape coiled up into rosettes, which are so designed that the acid can circulate through the plates. These rosettes are driven into the perforations of the grid by a hydraulic press, and during the process of forming they expand and thus become very firmly fixed. The negative plate has a frame made in two parts, which are riveted together after the insertion of the active material, which is thus contained in a number of small cages. The plate is covered outside with a finely perforated sheet of lead, which prevents the active material from falling out. It is of the utmost importance that the positive and negative plates should be42 kept apart when in the cell, and in the Chloride accumulator this is ensured by the use of a patent separator made of a thin sheet of wood the size of the plates. Before being used the wood undergoes a special treatment to remove all substances which might be harmful, and it then remains unchanged either in appearance or composition. Other insulating substances, such as glass rods or ebonite forks, can be used as separators, but it is claimed that the wood separator is not only more satisfactory, but that in some unexplained way it actually helps to keep up the capacity of the cell. The plates are placed in glass, or lead-lined wood or metal boxes, and are suspended from above the dilute sulphuric acid with which the cells are filled. A space is left below the plates for the sediment which accumulates during the working of the cell.
In all but the smallest cells several pairs of plates are used, all the positive plates being connected together and all the negative plates. This gives the same effect as two very large plates, on the principle of connecting in parallel, spoken of in Chapter IV. A single cell, of whatever size, gives current at about two volts, and to get higher voltages many cells are connected in series, as with primary cells. The capacity is generally measured in ampere-hours. For instance, an accumulator that will give a current of eight amperes for one hour, or of four amperes for two hours, or one ampere for eight hours, is said to have a capacity of eight ampere-hours.
Accumulators are usually charged from a dynamo or from the public mains, and the electro-motive force of the charging current must be not less than 2½ volts for each cell, in order to overcome the back electro-motive force of the cells themselves. It is possible to charge accumulators from primary cells, but except on a very small scale the process is comparatively expensive. Non-polarizing43 cells, such as the Daniell, must be used for this purpose.
The practical applications of accumulators are almost innumerable, and year by year they increase. As the most important of these are connected with the use of electricity for power and light, it will be more convenient to speak of them in the chapters dealing with this subject. Minor uses of accumulators will be referred to briefly from time to time in other chapters.
In many parts of the world there is to be found a kind of iron ore, some specimens of which have the peculiar power of attracting iron, and of turning to the north if suspended freely. This is called the lodestone, and it has been known from very remote times. The name Magnetism has been given to this strange property of the lodestone, but the origin of the name is not definitely known. There is an old story about a shepherd named Magnes, who lived in Phrygia in Asia Minor. One day, while tending his sheep on Mount Ida, he happened to touch a dark coloured rock with the iron end of his crook, and he was astonished and alarmed to find that the rock was apparently alive, for it gripped his crook so firmly that he could not pull it away. This rock is said to have been a mass of lodestone, and some people believe that the name magnet comes from the shepherd Magnes. Others think that the name is derived from Magnesia, in Asia Minor, where the lodestone was found in large quantities; while a third theory finds the origin in the Latin word magnus, heavy, on account of the heavy nature of the lodestone. The word lodestone itself comes from the Saxon laeden, meaning to lead.
It is fairly certain that the Chinese knew of the lodestone long before Greek and Roman times, and according to ancient Chinese records this knowledge extends as far back as 2600 B.C. Humboldt, in his Cosmos, states that a45 miniature figure of a man which always turned to the south was used by the Chinese to guide their caravans across the plains of Tartary as early as 1000 B.C. The ancient Greek and Roman writers frequently refer to the lodestone. Thales, of whom we spoke in Chapter I., believed that its mysterious power was due to the possession of a soul, and the Roman poet Claudian imagined that iron was a food for which the lodestone was hungry. Our limited space will not allow of an account of the many curious speculations to which the lodestone has given rise, but the following suggestion of one Famianus Strada, quoted from Houston’s Electricity in Every-Day Life, is really too good to be omitted.
“Let there be two needles provided of an equal Length and Bigness, being both of them touched by the same lodestone; let the Letters of the Alphabet be placed on the Circles on which they are moved, as the Points of the Compass under the needle of the Mariner’s Chart. Let the Friend that is to travel take one of these with him, first agreeing upon the Days and Hours wherein they should confer together; at which times, if one of them move the Needle, the other Needle, by Sympathy, will move unto the same letter in the other instantly, though they are never so far distant; and thus, by several Motions of the Needle to the Letters, they may easily make up any Words or Sense which they have a mind to express.” This is wireless telegraphy in good earnest!
The lodestone is a natural magnet. If we rub a piece of steel with a lodestone we find that it acquires the same properties as the latter, and in this way we are able to make any number of magnets, for the lodestone does not lose any of its own magnetism in the process. Such magnets are called artificial magnets. Iron is easier to magnetize than steel, but it soon loses its magnetism,46 whereas steel retains it; and the harder the steel the better it keeps its magnetism. Artificial magnets, therefore, are made of specially hardened steel. In this chapter we shall refer only to steel magnets, as they are much more convenient to use than the lodestone, but it should be remembered that both act in exactly the same way. We will suppose that we have a pair of bar magnets, and a horse-shoe magnet, as shown in Fig. 13.
If we roll a bar magnet amongst iron filings we find that the filings remain clinging to it in two tufts, one at each end, and that few or none adhere to the middle. These two points towards which the filings are attracted are called the poles of the magnet. Each pole attracts filings or ordinary needles, and one or two experiments will show that the attraction becomes evident while the magnet is still some little distance away. If, however, we test our magnet with other substances, such as wood, glass, paper, brass, etc., we see that there is no attraction whatever.
If one of our bar magnets is suspended in a sort of stirrup of copper wire attached to a thread, it comes to rest in a north and south direction, and it will be noticed that the end which points to the north is marked, either with a letter N or in some other way. This is the north pole of the magnet, and of course the other is the south pole. If47 now we take our other magnet and bring its north pole near each pole of the suspended magnet in turn, we find that it repels the other north pole, but attracts the south pole. Similarly, if we present the south pole, it repels the other south pole, but attracts the north pole. From these experiments we learn that both poles of a magnet attract filings or needles, and that in the case of two magnets unlike poles attract, but similar poles repel one another. It will be noticed that this corresponds closely with the results of our experiments in Chapter I., which showed that an electrified body attracts unelectrified bodies, such as bits of paper or pith balls, and that unlike charges attract, and similar charges repel each other. So far as we have seen, however, a magnet attracts only iron or steel, whereas an electrified body attracts any light substance. As a matter of fact, certain other substances, such as nickel and cobalt, are attracted by a magnet, but not so readily as iron and steel; while bismuth, antimony, phosphorus, and a few other substances are feebly repelled.
The simplest method of magnetizing a piece of steel by means of one of our bar magnets is the following: Lay the steel on the table, and draw one pole of the magnet along it from end to end; lift the magnet clear of the steel, and repeat the process several times, always starting at the same end and treating each surface of the steel in turn. A thin, flat bar of steel is the best for the purpose, but steel knitting needles may be made in this way into useful experimental magnets.
We have seen that a magnet has two poles or points where the magnetism is strongest. It might be thought that by breaking a bar magnet in the middle we should get two small bars each with a single pole, but this is not the case, for the two poles are inseparable. However many pieces we break a magnet into, each piece is a perfect48 magnet having a north and south pole. Thus while we can isolate a positive or a negative charge of electricity, we cannot isolate north or south magnetism.
If we place the north pole of a bar magnet near to, but not touching, a bar of soft iron, as in Plate II.a, we find that the latter becomes a magnet, as shown by its ability to support filings; and that as soon as the magnet is removed the filings drop off, showing that the iron has lost its magnetism. If the iron is tested while the magnet is in position it is found to have a south pole at the end nearer the magnet, and a north pole at the end farther away; and if the magnet is reversed, so as to bring its south pole nearer the iron, the poles of the latter are found to reverse also. The iron has gained its new properties by magnetic induction, and we cannot fail to notice the similarity between this experiment and that in Fig. 2, Chapter II., which showed electro-static induction. A positively or a negatively electrified body induces an opposite charge at the nearer end, and a similar charge at the further end of a conductor, and a north or a south pole of a magnet induces opposite polarity at the nearer end, and a similar polarity at the further end of a bar of iron. In Chapter II. we showed that the attraction of a pith ball by an electrified body was due to induction, and from what we have just learnt about magnetic induction the reader will have no difficulty in understanding why a magnet attracts filings or needles.
PLATE II.
(a) EXPERIMENT TO SHOW MAGNETIC INDUCTION.
Any one who experiments with magnets must be struck with the distance at which one magnet can influence filings or another magnet. If a layer of iron filings is spread on a sheet of paper, and a magnet brought gradually nearer from above, the filings soon begin to move about restlessly, and when the magnet comes close enough they fly up to it as if pulled by invisible strings. A still more striking49 experiment consists in spreading filings thinly over a sheet of cardboard and moving a magnet to and fro underneath the sheet. The result is most amusing. The filings seem to stand up on their hind legs, and they march about like regiments of soldiers. Here again invisible strings are suggested, and we might wonder whether there really is anything of the kind. Yes, there is. To put the matter in the simplest way, the magnet acts by means of strings or lines of force, which emerge from it in definite directions, and in a most interesting way we can see some of these lines of force actually at work.
Place a magnet, or any arrangement of magnets, underneath a sheet of glass, and sprinkle iron filings from a muslin bag thinly and evenly all over the glass. Then tap the glass gently with a pencil, and the filings at once arrange themselves in a most remarkable manner. All the filings become magnetized by induction, and when the tap sets them free for an instant from the friction of the glass they take up definite positions under the influence of the force acting upon them. In this way we get a map of the general direction of the magnetic lines of force, which are our invisible strings.
Many different maps may be made in this way, but we have space for only two. Plate III.a shows the lines of two opposite poles. Notice how they appear to stream across from one pole to the other. It is believed that there is a tension along the lines of force not unlike that in stretched elastic bands, and if this is so it is easy to see from the figure why opposite poles attract each other.
Plate III.b shows the lines of force of two similar poles. In this case they do not stream from pole to pole, but turn aside as if repelling one another, and from this figure we see why there is repulsion between two similar poles. It can be shown, although in a much less simple manner, that50 lines of electric force proceed from electrified bodies, and in electric attraction and repulsion between two charged bodies the lines of force take paths which closely resemble those in our two figures. A space filled with lines of magnetic force is called a magnetic field, and one filled with lines of electric force is called an electric field.
A horse-shoe magnet, which is simply a bar of steel bent into the shape of a horse-shoe before being magnetized, gradually loses its magnetism if left with its poles unprotected, but this loss is prevented if the poles are connected by a piece of soft iron. The same loss occurs with a bar magnet, but as the two poles cannot be connected in this way it is customary to keep two bar magnets side by side, separated by a strip of wood; with opposite poles together and a piece of soft iron across the ends. Such pieces of iron are called keepers, and Fig. 13 shows a horse-shoe magnet and a pair of bar magnets with their keepers. It may be remarked that a magnet never should be knocked or allowed to fall, as rough usage of this kind causes it to lose a considerable amount of its magnetism. A magnet is injured also by allowing the keeper to slam on to it; but pulling the keeper off vigorously does good instead of harm.
If a magnetized needle is suspended so that it is free to swing either horizontally or vertically, it not only comes to rest in a north and south direction, but also it tilts with its north-pointing end downwards. If the needle were taken to a place south of the equator it would still tilt, but the south-pointing end would be downwards. In both cases the angle the needle makes with the horizontal is called the magnetic dip.
PLATE III.
(a) LINES OF MAGNETIC FORCE OF TWO OPPOSITE POLES.
(b) LINES OF MAGNETIC FORCE OF TWO SIMILAR POLES.
It is evident that a suspended magnetized needle would not invariably come to rest pointing north and south unless it were compelled to do so, and a little consideration shows51 that the needle acts as if it were under the influence of a magnet. Dr. Gilbert of Colchester, of whom we spoke in Chapter I., gave a great deal of time to the study of magnetic phenomena, and in 1600 he announced what may be regarded as his greatest discovery: The terrestrial globe itself is a great magnet. Here, then, is the explanation of the behaviour of the magnetized needle. The Earth itself is a great magnet, having its poles near to the geographical north and south poles. But a question at once suggests itself: “Since similar poles repel one another, how is it that the north pole of a magnet turns towards the north magnetic pole of the earth?” This apparent difficulty is caused by a confusion in terms. If the Earth’s north magnetic pole really has north magnetism, then the north-pointing end of a magnet must be a south pole; and on the other hand, if the north-pointing end of a magnet has north magnetism, then the Earth’s north magnetic pole must be really a south pole. It is a troublesome matter to settle, but it is now customary to regard the Earth’s north magnetic pole as possessing south magnetism, and the south magnetic pole as possessing north magnetism. In this way the north-pointing pole of a magnet may be looked upon as a true north pole, and the south-pointing pole as a true south pole.
Magnetic dip also is seen to be a natural result of the Earth’s magnetic influence. Here in England, for instance, the north magnetic pole is much nearer than the south magnetic pole, and consequently its influence is the stronger. Therefore a magnetized needle, if free to do so, dips downwards towards the north. At any place where the south magnetic pole is the nearer the direction of the dip of course is reversed. If placed immediately over either magnetic pole the needle would take up a vertical position, and at the magnetic equator it would not52 dip at all, for the influence of the two magnetic poles would be equal. A little study of Fig. 14, which represents a dipping needle at different parts of the earth, will make this matter clearer. N and S represent the Earth’s north and south magnetic poles, and the arrow heads are the north poles of the needles.
Since the Earth is a magnet, we should expect it to be able to induce magnetism in a bar of iron, just as our artificial magnets do, and we can show that this is actually the case. If a steel poker is held pointing to and dipping down towards the north, and struck sharply with a piece of wood while in this position, it acquires magnetic properties which can be tested by means of a small compass needle. It is an interesting fact that iron pillars and railings which have been standing for a long time in one position are found to be magnetized. In the northern hemisphere the bases of upright iron pillars are north poles, and their upper ends south poles, and in the southern hemisphere the polarity is reversed.
The most valuable application of the magnetic needle is in the compass. An ordinary pocket compass for inland use consists simply of a single magnetized needle pivoted so as to swing freely over a card on which are marked the thirty-two points of the compass. Ships’ compasses are much more elaborate. As a rule a compound needle is used, consisting of eight slender strips of steel, magnetized53 separately, and suspended side by side. A compound needle of this kind is very much more reliable than a single needle. The material of which the card is made depends upon whether the illumination for night work is to come from above or below. If the latter, the card must be transparent, and it is often made of thin sheet mica; but if the light comes from above, the card is made of some opaque material, such as very stout paper. The needle and card are contained in a sort of bowl made of copper. In order to keep this bowl in a horizontal position, however the ship may be pitching and rolling, it is supported on gimbals, which are two concentric rings attached to horizontal pivots, and moving in axes at right angles to one another. Further stability may be obtained by weighting the bottom of the bowl with lead. There are also liquid compasses, in which the card is floated on the surface of dilute alcohol, and many modern ships’ compasses have their movements regulated by a gyrostat.
The large amount of iron and steel used in the construction of modern vessels has a considerable effect upon the compass needle, and unless the compass is protected from this influence its readings are liable to serious errors. The most satisfactory way of giving this protection is by placing on each side of the compass a large globe of soft iron, twelve or more inches in diameter.
On account of the fact that the magnetic poles of the Earth do not coincide with the geographical north and south poles, a compass needle seldom points exactly north and south, and the angle between the magnetic meridian and the geographical meridian is called the declination. The discovery that the declination varies in different parts of the world was made by Columbus in 1492. For purposes of navigation it is obviously very important that the declination at all points of the Earth’s surface should be54 known, and special magnetic maps are prepared in which all places having the same declination are joined by a line.
It is an interesting fact that the Earth’s magnetism is subject to variation. The declination and the dip slowly change through long periods of years, and there are also slight annual and even daily variations.
At one time magnets were credited with extraordinary effects upon the human body. Small doses of lodestone, ground to powder and mixed with water, were supposed to prolong life, and Paracelsus, a famous alchemist and physician, born in Switzerland in 1493, believed in the potency of lodestone ointment for wounds made with steel weapons. Baron Reichenbach, 1788–1860, believed that he had discovered the existence of a peculiar physical force closely connected with magnetism, and he gave this force the name Od. It was supposed to exist everywhere, and, like magnetism, to have two poles, positive and negative; the left side of the body being od-positive, and the right side od-negative. Certain individuals, known as “sensitives,” were said to be specially open to its influence. These people stated that they saw strange flickering lights at the poles of magnets, and that they experienced peculiar sensations when a magnet was passed over them. Some of them indeed were unable to sleep on the left side, because the north pole of the Earth, being od-negative, had a bad effect on the od-negative left side. The pretended revelations of these “sensitives” created a great stir at the time, but now nobody believes in the existence of Od.
Professor Tyndall was once invited to a seance, with the object of convincing him of the genuineness of spiritualism. He sat beside a young lady who claimed to have spiritualistic powers, and his record of his conversation with her is amusing. The Reichenbach craze was in full swing55 at the time, and Tyndall asked if the lady could see any of the weird lights supposed to be visible to “sensitives.”
“Medium.—Oh yes; but I see the light around all bodies.
I.—Even in perfect darkness?
Medium.—Yes; I see luminous atmospheres round all people. The atmosphere which surrounds Mr. R. C. would fill this room with light.
I.—You are aware of the effects ascribed by Baron Reichenbach to magnets?
Medium.—Yes; but a magnet makes me terribly ill.
I.—Am I to understand that, if this room were perfectly dark, you could tell whether it contained a magnet, without being informed of the fact?
Medium.—I should know of its presence on entering the room.
I.—How?
Medium.—I should be rendered instantly ill.
I.—How do you feel to-day?
Medium.—Particularly well; I have not been so well for months.
I.—Then, may I ask you whether there is, at the present moment, a magnet in my possession?
The young lady looked at me, blushed, and stammered, ‘No; I am not en rapport with you.’
I sat at her right hand, and a left-hand pocket, within six inches of her person, contained a magnet.”
Tyndall adds, “Our host here deprecated discussion as it ‘exhausted the medium.’”
In the previous chapter attention was drawn to the fact that there are many close parallels between electric and magnetic phenomena, and in this chapter it will be shown that magnetism can be produced by electricity. In the year 1819 Professor Oersted, of the University of Copenhagen, discovered that a freely swinging magnetized needle, such as a compass needle, was deflected by a current of electricity flowing through a wire. In Fig. 15, A, a magnetic needle is shown at rest in its usual north and south direction, and over it is held a copper wire, also pointing north and south. A current of electricity is now sent through the wire, and the needle is at once deflected, Fig. 15, B. The direction of the current is indicated by57 an arrow, and the direction in which the needle has moved is shown by the two small arrows. If the direction of the current is reversed, the needle will be deflected in the opposite direction. From this experiment we see that the current has brought magnetic influences into play, or in other words has produced magnetism. If iron filings are brought near the wire while the current is flowing, they are at once attracted and cling to the wire, but as soon as the current is stopped they drop off. This shows us that the wire itself becomes a magnet during the passage of the current, and that it loses its magnetism when the current ceases to flow.
Further, it can be shown that two freely moving parallel wires conveying currents attract or repel one another according to the direction of the currents. If both currents are flowing in the same direction the wires attract one another, but if the currents flow in opposite directions the wires repel each other. Fig. 16 shows the direction of the lines of force of a wire conveying a current and passed through a horizontal piece of cardboard covered with a thin layer of iron filings; and from this figure it is evident that the passage of the current produces what we may call magnetic whirls round the wire.
A spiral of insulated wire through which a current is flowing shows all the properties of a magnet, and if free to58 move it comes to rest pointing north and south. It is attracted or repelled by an ordinary magnet according to the pole presented to it and the direction of the current, and two such spirals show mutual attraction and repulsion. A spiral of this kind is called a solenoid, and in addition to the properties already mentioned it has the peculiar power of drawing or sucking into its interior a rod of iron. Solenoids have various practical applications, and in later chapters we shall refer to them again.
If several turns of cotton-covered wire are wound round an iron rod, the passing of a current through the wire makes the rod into a magnet (Plate II.b), but the magnetism disappears as soon as the current ceases to flow. A magnet made by the passage of an electric current is called an electro-magnet, and it has all the properties of the magnets mentioned in the previous chapter. A bar of steel may be magnetized in the same way, but unlike the iron rod it retains its magnetism after the current is interrupted. This provides us with a means of magnetizing a piece of steel much more strongly than is possible by rubbing with another magnet. Steel magnets, which retain their magnetism, are called permanent magnets, as distinguished from electro-magnets in which soft iron is used, so that their magnetism lasts only as long as the current flows.
Electro-magnets play an extremely important part in the harnessing of electricity; in fact they are used in one form or another in almost every kind of electrical mechanism. In later chapters many of these uses will be described, and here we will mention only the use of electro-magnets for lifting purposes. In large engineering works powerful electro-magnets, suspended from some sort of travelling crane, are most useful for picking up and carrying about heavy masses of metal, such as large59 castings. No time is lost in attaching the casting to the crane; the magnet picks it up directly the current is switched on, and lets it go the instant the current is stopped. In any large steel works the amount of scrap material produced is astonishingly great, hundreds of tons of turnings and similar scrap accumulating in a very short time. A huge mound of turnings is awkward to deal with by ordinary manual labour, but a combination of electro-magnet and crane solves the difficulty completely, lifting and loading the scrap into carts or trucks at considerable speed, and without requiring much attention.
Some time ago a disastrous fire occurred at an engineering works in the Midlands, the place being almost entirely burnt out. Amongst the débris was, of course, a large amount of metal, and as this was too valuable to be wasted, an electro-magnet was set to work on the wreckage. The larger pieces of metal were picked up in the ordinary way, and then the remaining rubbish was shovelled against the face of the magnet, which held on to the metal but dropped everything else, and in this way some tons of metal were recovered.
The effect produced upon a magnetized needle by a current of electricity affords a simple means of detecting the existence of such a current. An ordinary pocket compass can be made to show the presence of a moderate current, but for the detection of extremely small currents a much more sensitive apparatus is employed. This is called a galvanometer, and in its simplest form it consists essentially of a delicately poised magnetic needle placed in the middle of a coil of several turns of wire. The current thus passes many times round the needle, and this has the effect of greatly increasing the deflection of the needle, and hence the sensitiveness of the instrument. Although such an arrangement is generally called a galvanometer, it is really60 a galvanoscope, for it does not measure the current but only shows its presence.
We have seen that electro-motive force is measured in volts, and that the definition of a volt is that electro-motive force which will cause a current of one ampere to flow through a conductor having a resistance of one ohm. If we make a galvanometer with a long coil of very thin wire having a high resistance, the amount of current that will flow through it will be proportionate to the electro-motive force. Such a galvanometer, fitted with a carefully graduated scale, in this way will indicate the number of volts, and it is called a voltmeter. If we have a galvanometer with a short coil of very thick wire, the resistance put in the way of the current is so small that it may be left out of account, and by means of a graduated scale the number of amperes may be shown; such an instrument being called an amperemeter, or ammeter.
For making exact measurements of electric currents the instruments just described are not suitable, as they are not sufficiently accurate; but their working shows the principle upon which currents are measured. The actual instruments used in electrical engineering and in scientific work are unfortunately too complicated to be described here.
The voltaic cell and the accumulator provide us with currents of electricity of considerable volume, but at low pressure or voltage. For many purposes, however, we require a comparatively small amount of current at very high pressure, and in such cases we use an apparatus called the induction coil. Just as an electrified body and a magnet will induce electrification and magnetism respectively, so a current of electricity will induce another current; and an induction coil is simply an arrangement by which a current in one coil of wire is made to induce a current in another coil.
Suppose we have two coils of wire placed close together, one connected to a battery of voltaic cells, with some arrangement for starting and stopping the current suddenly, and the other to a galvanometer. As soon as we send the current through the first coil, the needle of the galvanometer moves, showing that there is a current flowing through the second coil; but the needle quickly comes back to its original position, showing that this current was only momentary. So long as we keep the current flowing through the first coil the galvanometer shows no further movement, but as soon as we stop the current the needle again shows by its movements that another momentary current has been produced in the second coil. This experiment shows us that a current62 induces another current only at the instant it is started or stopped, or, as we say, at the instant of making or breaking the circuit.
The coil through which we send the battery current is called the “primary coil,” and the one in which a current is induced is called the “secondary coil.” The two momentary currents in the secondary coil do not both flow in the same direction. The current induced on making the circuit flows in a direction opposite to that of the current in the primary coil; and the current induced on breaking the circuit flows in the same direction as that in the primary coil. If the two coils are exactly alike, the induced current will have the same voltage as the primary current; but if the secondary coil has twice as many turns of wire as the primary coil, the induced current will have twice the voltage of the primary current. In this way, by multiplying the turns of wire in the secondary coil, we can go on increasing the voltage of the induced current, and this is the principle upon which the induction coil works.
We may now describe the construction of such a coil. The primary coil is made of a few turns of thick copper wire carefully insulated, and inside it is placed a core consisting of a bundle of separate wires of soft iron. Upon this coil, but carefully insulated from it, is wound the secondary coil, consisting of a great number of turns of very fine wire. In large induction coils the secondary coil has thousands of times as many turns as the primary, and the wire forming it may be more than a hundred miles in length. The ends of the secondary coil are brought to terminals so that they can be connected up to any apparatus as desired.
In order that the induced currents shall follow each other in quick succession, some means of rapidly making63 and breaking the circuit is required, and this is provided by an automatic contact breaker. It consists of a small piece of soft iron, A, Fig. 17, fixed to a spring, B, having a platinum tip at C. The adjustable screw, D, also has a platinum tip, E. Normally the two platinum tips are just touching one another, and matters are arranged so that their contact completes the circuit. When the apparatus is connected to a suitable battery a current flows through the primary coil, and the iron core, F, becomes an electro-magnet, which draws A towards it. The platinum tips are thus no longer in contact and the circuit is broken. Immediately this occurs the iron core loses its magnetism and ceases to attract A, which is then moved back again by the spring B, so that the platinum tips touch, the circuit is once more completed, and the process begins over again. All this takes place with the utmost rapidity, and the speed at which the contact-breaker works is so great as to produce a musical note. There are many other types of contact-breakers, but in every case the purpose is the same, namely, to make and break the primary circuit as rapidly as possible.
The efficiency of the coil is greatly increased by a condenser which is inserted in the primary circuit. It consists of alternate layers of tinfoil and paraffined paper, and its action is like that of a Leyden jar. A switch is provided to turn the battery current on or off, and there is also a reversing switch or commutator, by means of which the direction of the current may be64 reversed. The whole arrangement is mounted on a suitable wooden base, and its general appearance is shown in Fig. 18.
By permission of]
[Harry W. Cox, Ltd.
Fig. 18.—Typical Induction Coil.
By means of a large induction coil we can obtain a voltage hundreds or even thousands of times greater than that of the original battery current, but on account of the great resistance of a very long, thin wire, the amperage is much smaller. The induction coil produces a rapid succession of sparks, similar to those obtained from a Wimshurst machine. A coil has been constructed capable of giving sparks 42½ inches in length, and having a secondary coil with 340,000 turns of wire, the total length of the wire being 280 miles. Induction coils are largely employed for scientific purposes, and they are used in wireless telegraphy and in the production of X-rays.
The principle of the induction coil can be applied also to the lowering of the voltage of a current. If we make the secondary coil with less, instead of more turns of wire than the primary coil, the induced current will be of lower voltage than the primary current, but65 its amperage will be correspondingly higher. This fact is taken advantage of in cases where it is desirable to transform a high voltage current from the public mains down to a lower voltage current of greater amperage.
Most of my readers will have seen the small working models of electric tramcars which can be bought at any electrical supply stores. These usually require a current of about one ampere at three or four volts. If we connect such a car to the battery recommended for it, and keep it running continuously, we find that the battery soon begins to show signs of exhaustion. Now if we imagine our little car increased to the size of an electric street car, and further imagine, say, a hundred such cars carrying heavy loads day after day from morning to night, we shall realize that a battery of cells capable of supplying the current necessary to run these cars would be so colossal as to be utterly impracticable. We therefore must look beyond the voltaic cell for a source of current for such a purpose, and this source we find in a machine called the “dynamo,” from the Greek word dynamis, meaning force.
Oersted’s discovery of the production of magnetism by electricity naturally suggested the possibility of producing electricity from magnetism. In the year 1831 one of the most brilliant of our British scientists, Michael Faraday, discovered that a current of electricity could be induced in a coil of wire either by moving the coil towards or away from a magnet, or by moving a magnet towards or away from the coil. This may be shown in a simple way by connecting the ends of a coil of insulated wire to a galvanometer,67 and moving a bar magnet in and out of the coil; when the galvanometer shows that a current is induced in the coil on the insertion of the magnet, and again on its withdrawal. We have seen that a magnet is surrounded by a field of magnetic force, and Faraday found that the current was induced when the lines of force were cut across.
Utilizing this discovery Faraday constructed the first dynamo, which consisted of a copper plate or disc rotated between the poles of a powerful horse-shoe magnet, so as to cut the lines of force. The current flowed either from the shaft to the rim, or vice versa, according to the direction of rotation; and it was conducted away by means of two wires with spring contacts, one pressing against the shaft, and the other against the circumference of the disc. This machine was miserably inefficient, but it was the very first dynamo, and from it have been slowly evolved the mighty dynamos used to-day in electric power stations throughout the world. There is a little story told of Faraday which is worth repeating even if it is not true. Speaking of his discovery that a magnet could be made to produce an electric current, a lady once said to him, “This is all very interesting, but what is the use of it?” “Madam,” replied Faraday, “what is the use of a baby?” In Faraday’s “baby” dynamo, as in all others, some kind of power must be used to produce the necessary motion, so that all dynamos are really machines for converting mechanical energy into electrical energy.
The copper disc in this first dynamo did not prove satisfactory, and Faraday soon substituted for it rotating coils of wire. In 1832 a dynamo was constructed in which a length of insulated wire was wound upon two bobbins having soft iron cores, and a powerful horse-shoe magnet was fixed to a rotating spindle in such a position that its poles faced the cores of the bobbins. This machine gave68 a fair current, but it was found that the magnet gradually lost its magnetism on account of the vibration caused by its rotation. The next step was to make the magnet a fixture, and to rotate the bobbins of wire. This was a great improvement, and the power of machines built on this principle was much increased by having a number of rotating coils and several magnets. One such machine had 64 separate coils rotating between the poles of 40 large magnets. Finally, permanent magnets were superseded by electro-magnets, which gave a much more powerful field of force.
Having seen something of the underlying principle and of the history of the dynamo, we must turn our attention to its actual working. Fig. 19 is a rough representation of a dynamo in its simplest form. The two poles of the magnet are shown marked north and south, and between them revolves the coil of wire A¹ A², mounted on a spindle SS. This revolving coil is called the armature. To each of the insulated rings RR is fixed one end of the coil, and BB are two brushes of copper or carbon, one pressing on each ring. From these brushes the current is69 led away into the main circuit, and in this case we may suppose that the current is used to light a lamp.
In speaking of the induction coil we saw that the currents induced on making and on breaking the circuit flowed in opposite directions, and similarly, Faraday found that the currents induced in a coil of wire on inserting and on withdrawing his magnet flowed in opposite directions. In the present case the magnet is stationary and the coil moves, but the effect is just the same. Now if we suppose the armature to be revolving in a clockwise direction, then A¹ is descending and entering the magnetic field in front of the north pole, consequently a current is induced in the coil, and of course in the main circuit also, in one direction. Continuing its course, A¹ passes away from this portion of the magnetic field, and thus a current is induced in the opposite direction. In this way we get a current which reverses its direction every half-revolution, and such a current is called an alternating current. If, as in our diagram, there are only two magnetic poles, the current flows backwards and forwards once every revolution, but by using a number of magnets, arranged so that the coil passes in turn the poles of each, it can be made to flow backwards and forwards several times. One complete flow backwards and forwards is called a period, and the number of periods per second is called the periodicity or frequency of the current. A dynamo with one coil or set of coils gives what is called “single-phase” current, that is, a current having one wave which keeps flowing backwards and forwards. If there are two distinct sets of coils we get a two-phase current, in which there are two separate waves, one rising as the other falls. Similarly, by using more sets of coils, we may obtain three-phase or polyphase currents.
Alternating current is unsuitable for certain purposes,70 such as electroplating; and by making a small alteration in our dynamo we get a continuous or direct current, which does not reverse its direction. Fig. 20 shows the new arrangement. Instead of the two rings in Fig. 19, we have now a single ring divided into two parts, each half being connected to one end of the revolving coil. Each brush, therefore, remains on one portion of the ring for half a revolution, and then passes over on to the other portion. During one half-revolution we will suppose the current to be flowing from brush B¹ in the direction of the lamp. Then during the next half-revolution the current flows in the opposite direction; but brush B¹ has passed on to the other half of the ring, and so the current is still leaving by it. In this way the current must always flow in the same direction in the main circuit, leaving by brush B¹ and returning by brush B². This arrangement for making the alternating current into a continuous current is called a commutator.
PLATE IV.
By permission of
Lancashire Dynamo & Motor Co. Ltd.
A TYPICAL DYNAMO AND ITS PARTS.
In actual practice a dynamo has a set of electro-magnets, and the armature consists of many coils of wire mounted on a core of iron, which has the effect of concentrating the lines of force. The armature generally revolves in small dynamos, but in large ones it is usually a fixture, while the electro-magnets revolve. Plate IV. shows a typical dynamo and its parts.
As we saw in an earlier chapter, an electro-magnet has magnetic powers only while a current is being passed through its winding, and so some means of supplying current to the electro-magnets in a dynamo must be provided. It is a remarkable fact that it is almost impossible to obtain a piece of iron which has not some traces of magnetism, and so when a dynamo is first set up there is often sufficient magnetism in the iron of the electro-magnets to produce a very weak field. The rapid cutting of the feeble lines of force of this field sets up a weak current, which, acting upon the electro-magnets, gradually brings them up to full strength. Once the dynamo is generating current it keeps on feeding its magnets by sending either the whole or a part of its current through them. After it has once been set going the dynamo is always able to start again, because the magnet cores retain enough magnetism to set up a weak field. If there is not enough magnetism in the cores to start a dynamo for the first time, a current from some outside source is sent round the magnets.
The foregoing remarks apply to continuous current dynamos only. Alternating current can be used for exciting electro-magnets, but in this case the magnetic field produced is alternating also, so that each pole of the magnet has north and south magnetism alternately. This will not do for dynamo field magnets, and therefore an alternating current dynamo cannot feed its own magnets. The electro-magnets in such dynamos are supplied with current from a72 separate continuous current dynamo, which may be of quite small size.
It is a very interesting fact that electric current can be generated by a dynamo in which the earth itself is used to provide the magnetic field, no permanent or electro-magnets being used at all. A simple form of dynamo of this kind consists of a rectangular loop of copper wire rotating about an axis pointing east and west, so that the loop cuts the lines of force of the Earth’s magnetic field.
The dynamo provides us with a constant supply of electric current, but this current is no use unless we can make it do work for us. If we reverse the usual order of things in regard to a dynamo, and supply the machine with current instead of mechanical power, we find that the armature begins to revolve rapidly, and the machine is no longer a dynamo, but has become an electric motor. This shows us that an electric motor is simply a dynamo reversed. Let us suppose that we wish to use the dynamo in Fig. 20 as a motor. In order to supply the current we will take away the lamp and substitute a second continuous-current dynamo. We know from Chapter VII. that when a current is sent through a coil of wire the coil becomes a magnet with a north and a south pole. The coil in our dynamo becomes a magnet as soon as the current is switched on, and the attraction between its poles and the opposite poles of the magnet causes it to make half a revolution. At this point the commutator reverses the current, and consequently the polarity of the coil, so that there is now repulsion where previously there was attraction, and the coil makes another half-revolution. So the process goes on until the armature attains a very high speed. In general construction there is practically no difference between a dynamo and a motor,73 but there are differences in detail which adapt each to its own particular work. By making certain alterations in their construction electric motors can be run with alternating current.
The fact that a dynamo could be reversed and run as a motor was known probably as early as 1838, but the great value of this reversibility does not seem to have been realized until 1873. At an industrial exhibition held at Vienna in that year, it so happened that a workman or machinery attendant connected two cables to a dynamo which was standing idle, and he was much surprised to find that it at once began to revolve at a great speed. It was then seen that the cables led to another dynamo which was running, and that the current from this source had made the first dynamo into a motor. There are many versions of this story, but the important point in all is that this was the first occasion on which general attention was drawn to the possibilities of the electric motor.
The practical advantages afforded by the electric motor are many and great. Once we have installed a sufficiently powerful dynamo and a steam or other engine to drive it, we can place motors just where they are required, either close to the dynamo or miles away, driving them simply by means of a connecting cable. In factories, motors can be placed close to the machines they are required to drive, anywhere in the building, thus doing away with all complicated and dangerous systems of shafting and belts. In many cases where it would be either utterly impossible or at least extremely inconvenient to use any form of steam, gas, or oil engine, electric motors can be employed without the slightest difficulty. In order to realize this, one only has to think of the positions in which electrically-driven ventilating fans are placed, or of the unpleasantly familiar74 electric drill of the dentist. An electric motor is small and compact, gives off no fumes and practically no heat, makes very little noise, is capable of running for very long periods at high speed and with the utmost steadiness, and requires extremely little attention.
It is apparently a very simple matter to fit up a power station with a number of very large dynamos driven by powerful engines, and to distribute the current produced by these dynamos to all parts of a town or district by means of cables, but as a matter of fact it is a fairly complicated engineering problem. First of all the source of power for driving the dynamos has to be considered. In private and other small power plants, gas, petrol or oil engines are generally used, but for large stations the choice lies between steam and water power. In this country steam power is used almost exclusively. Formerly the ordinary reciprocating steam engines were always employed, and though these are still in very extensive use, they are being superseded in many cases by steam turbines. The turbine is capable of running at higher speeds than the reciprocating engine, and at the greatest speeds it runs with a great deal less noise, and with practically no vibration at all. More than this, turbines take up much less room, and require less oil and attendance. The turbines are coupled directly to the dynamos, so that the two machines appear almost as one. In the power station shown on Plate V. a number of alternating current dynamos coupled to steam turbines are seen.
A large power station consumes enormous quantities of coal, and for convenience of supply it is situated on the bank of a river or canal, or, if neither of these is available,76 as close to the railway as possible. The unloading of the coal barges or trucks is done mechanically, the coal passing into a large receiving hopper. From here it is taken to another hopper close to the furnaces by means of coal elevators and conveyors, which consist of a number of buckets fixed at short intervals on an endless travelling chain. From the furnace hopper the coal is fed into the furnaces by mechanical stokers, and the resulting ash and clinker falls into a pit below the furnaces, from which it is carted away.
The heat produced in the furnaces is used to generate steam, and from the boilers the steam passes to the engines along a steam pipe. After doing its work in the engines, the steam generally passes to a condenser, in which it is cooled to water, freed from oil and grease, and returned to the boilers to be transformed once more into steam. As this water from the condenser is quite warm, less heat is required to raise steam from it than would be the case if the boiler supply were kept up with cold water. The power generated by the engines is used to drive the dynamos, and stout copper cables convey the current from these to what are called “bus” bars. There are two of these, one receiving the positive cable from the dynamos, and the other the negative cable, and the bars run from end to end of a large main switchboard. From this switchboard the current is distributed by other cables known as feeders.
The nature of the current generated at a power station is determined to a great extent by the size of the district to be supplied. Generally speaking, where the current is not to be transmitted beyond a radius of about two miles from the station, continuous current is generated; while alternating current is employed for the supply of larger areas. In some cases both kinds of current are generated at one station.
PLATE V.
By permission of
C. A. Parsons & Co.
LOTS ROAD ELECTRIC POWER STATION, CHELSEA.
If continuous current is to be used, it is generated usually at a pressure of from 400 to 500 volts, the average being about 440 volts; and the supply is generally on what is known as the three-wire system. Three separate wires are employed. The two outer wires are connected respectively to the positive and the negative bus bars running along the main switchboard, these bars receiving positive or negative current directly from the dynamos. The outer wires therefore carry current at the full voltage of the system. Between them is a third and smaller wire, connected to a third bar, much smaller than the outer bars, and known as the mid-wire bar. This bar is not connected to the dynamos, but to earth, by means of a large plate of copper sunk into the ground. Connexion between the mid-wire bar and the outer bars is made by two machines called “balancers,” one connecting the mid-wire bar and the positive bus bar, and the other the mid-wire bar and the negative bus bar. If the pressure between the outer bars is 440 volts, then the pressure between the mid-wire bar and either of the outer bars will be 220 volts, that is just half.
The balancers serve the purpose of balancing the voltage on each side, and they are machines capable of acting either as motors or dynamos. In order to comply with Board of Trade regulations, electric appliances of all kinds intended for ordinary domestic purposes, including lamps, and heating and cooking apparatus, are supplied with current at a pressure not exceeding 250 volts. In a system such as we are describing, all these appliances are connected between the mid-wire and one or other of the outer wires, thus receiving current at 220 volts. In practice it is impossible to arrange matters so that the lamps and other appliances connected with the positive side of the system shall always take the same amount of current as those connected with the negative side, and there is78 always liable to be a much greater load on one side or the other. If, for instance, a heavy load is thrown on the negative side, the voltage on that side will drop. The balancer on the positive side then acts as an electric motor, drives the balancer on the negative side as a dynamo, and thus provides the current required to raise the voltage on the negative side until the balance is restored. The working of the balancers, which need not be described in further detail, is practically automatic. Electric motors, for driving electric trams or machinery of any kind, are connected between the outer wires, so that they receive the full 440 volts of the system.
In any electric supply system the demand for current does not remain constant, but fluctuates more or less. For instance, in a system including an electric tramway, if a car breaks down and remains a fixture for a short time, all cars behind it are held up, and a long line of cars is quickly formed. When the breakdown is repaired, all the cars start practically at the same instant, and consequently a sudden and tremendous demand for current is made. In a very large tramway system in a fairly level city, the fluctuations in the demand for current, apart from accidents, are not very serious, for they tend to average themselves; but in a small system, and particularly if the district is hilly, the fluctuations are very great, and the current demand may vary as much as from 400 to 2000 amperes. Again, in a system supplying power and light, the current demand rises rapidly as the daylight fails on winter afternoons, because, while workshop and other motors are still in full swing, thousands of electric lamps are switched on more or less at the same time. The power station must be able to deal with any exceptional demands which are likely to occur, and consequently more current must be available than is actually required under average conditions. Instead79 of having generating machinery large enough to meet all unusual demands, the generators at a station using continuous current may be only of sufficient size to supply a little more than the average demand, any current beyond this being supplied by a battery of storage cells. The battery is charged during periods when the demand for current is small, and when a heavy load comes on, the current from the battery relieves the generators of the sudden strain. To be of any service for such a purpose the storage battery of course must be very large. Plate VI. shows a large battery of no cells, and some idea of the size of the individual cells may be obtained from the fact that each weighs about 3900 lb.
Alternating current is produced at almost all power stations supplying large districts. It is generated at high pressure, from 2000 volts upwards, the highest pressure employed in this country being about 11,000 volts. Such pressures are of course very much too high for electric lamps or motors, and the object of generating current of this kind is to secure the greatest economy in transmission through the long cables. Electric energy is measured in watts, the watts being obtained by multiplying together the pressure or voltage of the current, and its rate of flow or amperage. From this it will be seen that, providing the product of voltage and amperage remains the same, it makes no difference, so far as electric energy is concerned, whether the current be of high voltage and low amperage, or of low voltage and high amperage. Now in transmitting a current through a long cable, there is a certain amount of loss due to the heating of the conductor. This heating is caused by the current flow, not by the pressure; and the heavier the current, the greater the heating, and the greater the loss. This being so, it is clear that by decreasing the current flow, and correspondingly increasing80 the pressure, the loss in transmission will be reduced; and this is why alternating current is generated at high pressure when it is to be transmitted to a distance.
The kind of alternating current generated is usually that known as three-phase current. Formerly single-phase current was in general use, but it has been superseded by three-phase current because the latter is more economical to generate and to distribute, and also more satisfactory for electric motors. The actual voltage of the current sent out from the station varies according to the distance to which the current is to be conveyed. In the United States and in other countries where current has to be conveyed to places a hundred or even more miles from the station, pressures as high as 120,000 volts are in use. It is possible to produce alternating current at such pressures directly from the dynamos, but in practice this is never done, on account of the great liability to breakdown of the insulation. Instead, the current is generated at from 2000 to 10,000 or 11,000 volts, and raised to the required pressure, before leaving the station, by means of a step-up transformer. We have seen that an induction coil raises, or steps up, the voltage of the current supplied to it. A step-up transformer works on the same principle as the induction coil, and in passing through it the current is raised in voltage, but correspondingly lowered in amperage. Of course, if the pressure of the current generated by the dynamos is already sufficiently high to meet the local requirements, the transformer is not used.
PLATE VI.
By permission of
Chloride Electrical Storage Co. Ltd.
POWER STATION BATTERY OF ACCUMULATORS.
For town supply the current from the power station is led along underground cables to a number of sub-stations, situated in different parts of the town, and generally underground. At each sub-station the current passes through a step-down transformer, which also acts on the principle of the induction coil, but in the reverse way, so that the voltage is lowered instead of being raised. From the transformer the current emerges at the pressure required for use, but it is still alternating current; and if it is desired to have a continuous-current supply this alternating current must be converted. One of the simplest arrangements for this purpose consists of an electric motor and a dynamo, the two being coupled together. The motor is constructed to run on the alternating current from the transformer, and it drives the dynamo, which is arranged to generate continuous current. There is also a machine called a “rotary converter,” which is largely used instead of the motor generator. This machine does the work of both motor and dynamo, but its action is too complicated to be described here. From the sub-stations the current, whether converted or not, is distributed as required by a network of underground cables.
In many parts of the world, especially in America, water power is utilized to a considerable extent instead of steam for the generation of electric current. The immense volume of water passing over the Falls of Niagara develops energy equal to about seven million horse-power, and a small amount of this energy, roughly about three-quarters of a million horse-power, has been harnessed and made to produce electric current for light and power. The water passes down a number of penstocks, which are tubes or tunnels about 7 feet in diameter, lined with brick and concrete; and at the bottom of these tubes are placed powerful water turbines. The falling water presses upon the vanes of the turbines, setting them revolving at great speed, and the power produced in this way is used to drive a series of very large alternating current dynamos. The current is conveyed at a pressure of about 60,000 volts to various towns within a radius of 200 or 300 miles, and it is anticipated that before very long the supply will82 be extended to towns still more distant. Many other American rivers have been harnessed in a similar way, though not to the same extent; and Switzerland and Norway are utilizing their water power on a rapidly increasing scale. In England, owing to the abundance of coal, little has been done in this direction. Scotland is well favoured in the matter of water power, and it is estimated that the total power available is considerably more than enough to run the whole of the railways of that country. Very little of this power has been utilized however, and the only large hydro-electric installation is the one at Kinlochleven, in Argyllshire. It is a mistake to suppose that water power means power for nothing, but taking things all round the cost of water power is considerably lower than that of steam.
The electric tramcar has become such a necessary feature of our everyday life that it is very difficult to realize how short a time it has been with us. To most of us a horse-drawn tramcar looks like a relic of prehistoric times, and yet it is not so many years since the horse tram was in full possession of our streets. Strikes of tramway employees are fortunately rare events, but a few have occurred during the past two or three years in Leeds and in other towns, and they have brought home to us our great dependence upon the electric tram. During the Leeds strike the streets presented a most curious appearance, and the city seemed to have made a jump backward to fifty years ago. Every available article on wheels was pressed into service to bring business men into the city from the outlying districts, and many worthy citizens were seen trying to look dignified and unconcerned as they jogged along in conveyances which might have come out of the Ark. On such an occasion as this, if we imagine the electric light supply stopped also, we can form some little idea of our indebtedness to those who have harnessed electricity and made it the greatest power of the twentieth century.
There are three distinct electric tramway systems; the trolley or overhead system, the surface contact system, and the conduit system. The trolley system has almost driven the other two from the field, and it is used almost84 exclusively throughout Great Britain and Ireland. On the Continent and in the United States the conduit system still survives, but probably it will not be long before the trolley system is universally employed.
The superiority of the trolley system lies in the fact that it is cheaper to construct and to maintain than the other two, and also in its much greater reliability under all working conditions. The overhead wire is not one continuous cable, but is divided into sections of about half a mile in length, each section being supplied with current from a separate main. At each point where the current is fed to the trolley wire a sort of metal box may be seen at the side of the street. These boxes are called “feeder pillars,” and each contains a switch by means of which the current can be cut off from that particular section, for repairing or other purposes. Above the car is fixed an arm provided with a trolley wheel which runs along the wire, and this wheel takes the current from the wire. From the wheel the current passes down the trolley arm to the controller, which is operated by the driver, and from there to the motors beneath the car. Leaving the motors it passes to the wheels and then to the rails, from which it is led off at intervals by cables and so returned to the generating station. The current carried by the rails is at a pressure of only a few volts, so that there is not the slightest danger of shock from them. There are generally two electric motors beneath the car, and the horse-power of each varies from about fifteen to twenty-five.
The controller consists mainly of a number of graduated resistances. To start the car the driver moves a handle forward notch by notch, thus gradually cutting out the resistance, and so the motors receive more and more current until they are running at full speed. The movement of the controller handle also alters the connexion of85 the motors. When the car is started the motors are connected in series, so that the full current passes through each, while the pressure is divided between them; but when the car is well on the move the controller connects the motors in parallel, so that each receives the full pressure of the current.
The conduit and surface contact systems are much the same as the trolley system except in the method of supplying the current to the cars. In the conduit system two conductors conveying the current are placed in an underground channel or conduit of concrete strengthened by iron yokes. The top of the conduit is almost closed in so as to leave only a narrow slot, through which passes the current collector of the car. This current collector, or “plough” as it is called, carries two slippers which make contact with the conductors, and thus take current from them. In this system the current returns along one of the conductors, so that no current passes along the track rails. This is the most expensive of the three systems, both in construction and maintenance.
The surface contact or stud system is like the conduit system in having conductors placed in a sort of underground trough, but in this case contact with the conductors is made by means of metal studs fixed at intervals in the middle of the track. The studs are really the tops of underground boxes each containing a switch, which, when drawn up to a certain position, connects the stud to the conductors. These switches are arranged to be moved by magnets fixed beneath the car, and thus when the car passes over a stud the magnets work the switch and connect the stud to the conductors, so that the stud is then “alive.” The current is taken from the studs by means of sliding brushes or skates which are carried by the car. The studs are thus alive only when the car is passing over86 them, and at all other times they are dead, and not in any way dangerous.
The weight and speed of electric cars make it important to have a thoroughly reliable system of brakes. First of all there are ordinary mechanical brakes, which press against the wheels. Then there are electro-magnetic slipper brakes which press on the rails instead of on the wheels of the car. These brakes are operated by electro-magnets of great power, the current necessary to excite the magnets being taken from the motors. Finally there is a most interesting and ingenious method of regenerative control. Before a car can be stopped after it has attained considerable speed a certain amount of energy has to be got rid of in some way. With the ordinary mechanical or electro-magnetic brakes this energy is wasted, but in the regenerative method it is turned into electric current, which is sent back into the circuit. If an electric motor is supplied with mechanical power instead of electric current it becomes a dynamo, and generates current instead of using it. In the regenerative system, when a car is “coasting” down a hill it drives the wheels, and the wheels drive the motors, so that the latter become dynamos and generate current which is sent back to the power station. In this way some of the abnormal amount of current taken by a car in climbing a hill is returned when the car descends the hill. The regenerative system limits the speed of the car, so that it cannot possibly get beyond control.
PLATE VII.
By permission of
Siemens Brothers Dynamo Works Ltd.
ELECTRIC COLLIERY RAILWAY.
A large tramway system spreads outwards from the centre of a city to the suburbs, and usually terminates at various points on the outskirts of these suburbs. It often happens that there are villages lying some distance beyond these terminal points, and it is very desirable that there should be some means of transport between these villages and the city. An extension of the existing tramway is not practicable in many cases, because the traffic would not be sufficient to pay for the heavy outlay, and also because the road may not be of sufficient width to admit of cars running on a fixed track. The difficulty may be overcome satisfactorily by the use of trackless trolley cars. With these cars the costly business of laying a rail track is altogether avoided, only a system of overhead wires being necessary. As there is no rail to take the return current, a second overhead wire is required. The car is fitted with two trolley arms, and the current is taken from one wire by the first arm, sent through the controller and the motors, and returned by the second arm to the other wire, and so back to the generating station. The trolley poles are so arranged that they allow the car to be steered round obstructions or slow traffic, and the car wheels are usually fitted with solid rubber tyres. Trackless cars are not capable of dealing with a large traffic, but they are specially suitable where an infrequent service, say a half-hourly one, is enough to meet requirements.
We come now to electric railways. These may be divided into two classes, those with separate locomotives and those without. The separate locomotive method is largely used for haulage purposes in collieries and large works of various kinds. In Plate VII. is seen an electric locomotive hauling a train of coal waggons in a colliery near the Tyne, and it will be seen that the overhead system is used, the trolley arm and wheel being replaced by sliding bows. In a colliery railway it is generally impossible to select the most favourable track from the railway constructor’s point of view, as the line must be arranged to serve certain points. This often means taking the line sometimes through low tunnels or bridges where the overhead wire must be low, and sometimes over public roads where the wire must be high; and the sliding bow88 is better able than the trolley arm and wheel to adapt itself to these variations. In the colliery where this locomotive is used the height of the overhead wire ranges from 10 feet 6 inches through tunnels or bridges, to 21 feet where the public road is crossed. The locomotive weighs 33½ tons, and has four electric motors each developing 50 horse-power with the current employed. It will be noticed that the locomotive has two sets of buffers. This is because it has to deal with both main line waggons and the smaller colliery waggons, the upper set of buffers being for the former, and the lower and narrower set for the latter. Plate VIII. shows a 50-ton locomotive on the British Columbia Electric Railway, and a powerful locomotive in use in South America. In each case it will be seen that the trolley wheel is used.
In this country electric railways for passenger traffic are mostly worked on what is known as the multiple-unit system, in which no separate locomotives are used, the motors and driving mechanism being placed on the cars themselves. There are also other cars without this equipment, so that a train consists of a single motor-car with or without trailer, or of two motor-cars with trailer between, or in fact of any other combination. When a train contains two or more motor-cars all the controllers, which are very similar to those on electric tramcars, are electrically connected so as to be worked together from one master controller. This system allows the length of the train to be adjusted to the number of passengers, so that no power is wasted in running empty cars during periods of small traffic. In suburban railways, where the stopping-places are many and close together, the efficiency of the service depends to a large extent upon the time occupied in bringing the trains from rest to full speed. In this respect the electric train has a great advantage over the89 ordinary train hauled by a steam locomotive, for it can pick up speed at three or more times the rate of the latter, thus enabling greater average speeds and a more frequent service to be maintained.
Electric trains are supplied with current from a central generating station, just as in the case of electric tramcars, but on passenger lines the overhead wire is in most cases replaced by a third rail. This live rail is placed upon insulators just outside the track rail, and the current is collected from it by sliding metal slippers which are carried by the cars. The return current may pass along the track rails as in the case of trolley tramcars, or be conveyed by another insulated conducting rail running along the middle of the track.
The electric railways already described are run on continuous current, but there are also railways run on alternating current. A section of the London, Brighton, and South Coast Railway is electrically operated by alternating current, the kind of current used being that known as single-phase. The overhead system is used, and the current is led to the wire at a pressure of about 6000 volts. This current is collected by sliding bows and conveyed to transformers carried on the trains, from which it emerges at a pressure of about 300 volts, and is then sent through the motors. The overhead wires are not fixed directly to the supports as in the case of overhead tramway wires, but instead two steel cables are carried by the supports, and the live wires are hung from these. The effect of this arrangement is to make the sliding bows run steadily and evenly along the wires without jumping or jolting. If ever electricity takes the place of steam for long distance railway traffic, this system, or some modification of it, probably will be employed.
Mention must be made also of the Kearney high speed90 electric mono-railway. In this system the cars, which are electrically driven, are fitted above and below with grooved wheels. The lower wheels run on a single central rail fixed to sleepers resting on the ground, and the upper wheels run on an overhead guide rail. It is claimed that speeds of 150 miles an hour are attainable with safety and economy in working. This system is yet only just out of the experimental stage, but its working appears to be exceedingly satisfactory.
A self-contained electric locomotive has been constructed by the North British Locomotive Company. It is fitted with a steam turbine which drives a dynamo generating continuous current, and the current is used to drive four electric motors. This locomotive has undergone extensive trials, but its practical value as compared with the ordinary type of electric locomotive supplied with current from an outside source is not yet definitely established.
At first sight it appears as though the electric storage cell or accumulator ought to provide an almost perfect means of supplying power for self-propelled electric vehicles of all kinds. In practice, however, it has been found that against the advantages of the accumulator there are to be set certain great drawbacks, which have not yet been overcome. Many attempts have been made to apply accumulator traction to electric tramway systems, but they have all failed, and the idea has been abandoned. There are many reasons for the failure of these attempts. The weight of a battery of accumulators large enough to run a car with a load of passengers is tremendous, and this is of course so much dead weight to be hauled along, and it becomes a very serious matter when steep hills have to be negotiated. When a car is started on a steep up-gradient a sudden and heavy demand for current is made, and this puts upon the accumulators a strain which they are not91 able to bear without injury. Another great drawback is the comparatively short time for which accumulators can give a heavy current, for this necessitates the frequent return of the cars to the central station in order to have the batteries re-charged. Finally, accumulators are sensitive things, and the continuous heavy vibration of a tramcar is ruinous to them.
The application of accumulators to automobiles is much more feasible, and within certain limits the electric motor-car may be considered a practical success. The electric automobile is superior to the petrol-driven car in its delightfully easy and silent running, and its freedom from all objectionable smells. On the other hand high speeds cannot be attained, and there is the trouble of having the accumulators re-charged, but for city work this is not a serious matter. Two sets of accumulators are used, so that one can be left at the garage to be charged while the other is in use, the replacing of the exhausted set by the freshly charged one being a matter of only a few minutes. The petrol-driven car is undoubtedly superior in every way for touring purposes. Petrol can now be obtained practically anywhere, whereas accumulator charging stations are comparatively few and far between, especially in country districts; and there is no comparison as regards convenience between the filling of a petrol tank and the charging of a set of accumulators, for one process takes a few minutes and the other a few hours.
Accumulator-driven locomotives are not in general use, but for certain special purposes they have proved very satisfactory. A large locomotive of this kind was used for removing excavated material and for taking in the iron segments, sleepers, rails, and other materials in the construction of the Great Northern, Piccadilly, and Brompton Tube Railway. This locomotive is 50 feet 6 inches long,92 and it carries a battery of eighty large “chloride” cells, the total weight of locomotive and battery being about 64 tons. It is capable of hauling a load of 60 tons at a rate of from 7 to 9 miles an hour on the level.
Amongst the latest developments of accumulator traction is a complete train to take the place of a steam locomotive hauling a single coach on the United Railways of Cuba. According to the Scientific American the train consists of three cars, each having a battery of 216 cells, supplying current at 200 volts to the motors. Each car has accommodation for forty-two passengers, and the three are arranged to work on the multiple-unit system from one master controller. The batteries will run from 60 to 100 miles for each charging of seven hours.
In the first year of the nineteenth century one of the greatest of England’s scientists, Sir Humphry Davy, became lecturer on chemistry to the Royal Institution, where his brilliant lectures attracted large and enthusiastic audiences. He was an indefatigable experimenter, and in order to help on his work the Institution placed at his disposal a very large voltaic battery consisting of 2000 cells. In 1802 he found that if two rods of carbon, one connected to each terminal of his great battery, were first made to touch one another and then gradually separated, a brilliant arch of light was formed between them. The intense brilliance of this electric arch, or arc as it came to be called, naturally suggested the possibility of utilizing Davy’s discovery for lighting purposes, but the maintaining of the necessary current proved a serious obstacle. The first cost of a battery of the required size was considerable, but this was a small matter compared with the expense of keeping the cells in good working order. Several very ingenious and more or less efficient arc lamps fed by battery current were produced by various inventors, but for the above reason they were of little use except for experimental purposes, and the commercial success of the arc lamp was an impossibility until the dynamo came to be a really reliable source of current. Since that time innumerable shapes and forms of arc lamps94 have been devised, while the use of such lamps has increased by leaps and bounds. To-day, wherever artificial illumination on a large scale is required, there the arc lamp is to be found.
When the carbon rods are brought into contact and then slightly separated, a spark passes between them. Particles of carbon are torn off by the spark and volatilized, and these incandescent particles form a sort of bridge which is a sufficiently good conductor for the current to pass across it from one rod to the other. When the carbons are placed horizontally, the glowing mass is carried upwards by the ascending currents of heated air, and it assumes the arch-like form from which it gets its name. If the carbons are vertical the curve is not produced, a more or less straight line being formed instead. The electric arc may be formed between any conducting substances, but for practical lighting purposes carbon is found to be most suitable.
Either continuous or alternating currents may be used to form the arc. With continuous current, if the carbon rods are fully exposed to the air, they gradually consume away, and minute particles of carbon are carried across from the positive rod to the negative rod, so that the former wastes at about twice the rate of the latter. The end of the positive rod becomes hollowed out so as to resemble a little crater, and the end of the negative rod becomes more or less pointed. The fact that with continuous current the positive rod consumes away twice as fast as the negative rod, may be taken advantage of to decrease the cost of new carbons, by replacing the wasted positive rod with a new one, and using the unconsumed portion of the old positive rod as a new negative rod.1 If alternating current is used, each rod in turn becomes the positive rod, so that no crater95 is formed, and both the carbons have the same shape and are consumed at the same rate. A humming noise is liable to be produced by the alternating current arc, but by careful construction of the lamp this noise is reduced to the minimum.
1 In actual practice the positive carbon is made double the thickness of the negative, so that the two consume at about the same rate.
If the carbons are enclosed in a suitable globe the rate of wasting is very much less. The oxygen inside the globe becomes rapidly consumed, and although the globe is not air-tight, the heated gases produced inside it check the entrance of further supplies of fresh air as long as the lamp is kept burning. When the light is extinguished, and the lamp cools down, fresh air enters again freely.
Arc lamp carbons may be either solid or cored. The solid form is made entirely of very hard carbon, while the cored form consists of a narrow tube of carbon filled up with soft graphite. Cored carbons usually burn more steadily than the solid form. In what are known as flame arc lamps the carbons are impregnated with certain metallic salts, such as calcium. These lamps give more light for the same amount of current. The arc is long and flame-like, and usually of a striking yellow colour, but it is not so steady as the ordinary arc.
As the carbon rods waste away, the length of the arc increases, and if this increase goes beyond a certain limit the arc breaks and the current ceases. If the arc is to be kept going for any length of time some arrangement for pushing the rods closer together must be provided, in order to counteract the waste. In arc lamps this pushing together, or “feeding” as it is called, is done automatically, as is also the first bringing together and separating of the rods to start or strike the arc. Fig. 21 shows a simple arrangement for this purpose. A is the positive carbon, and B the negative. C is the holder for the positive carbon, and this is connected to the rod D, which is made of soft iron.96 This rod is wound with two separate coils of wire as shown, coil E having a low resistance, and coil F a high one. These two coils are solenoids, and D is the core, (Chapter VII.). When the lamp is not in use, the weight of the holder keeps the positive carbon in contact with the negative carbon. When switched on, the current flows along the cable to the point H. Here it has two paths open to it, one through coil E to the positive carbon, and the other through coil F and back to the source of supply. But coil E has a much lower resistance than coil F, and so most of the current chooses the easier path through E, only a small amount of current taking the path through the other coil. Both coils are now magnetized, and E tends to draw the rod D upwards, while F tends to pull it downwards. Coil E, however, has much greater power than coil F, because a much larger amount of current is passing through it; and so it overcomes the feeble pull of F, and draws up the rod. The raising of D lifts the positive carbon away from the negative carbon, and the arc is struck. The carbons now begin to waste away, and very slowly the distance between them increases. The path of the current passing through coil E is from carbon A to carbon B by way of the arc, and as the length of the gap between A and B increases, the resistance of this path also increases. The way through coil E thus becomes less easy, and as time goes on more and more current takes the alternative97 path through coil F. This results in a decrease in the magnetism of E, and an increase in that of F, and at a certain point F becomes the more powerful of the two, and pulls down the rod. In this way the positive carbon is lowered and brought nearer to the negative carbon. Directly the diminishing distance between A and B reaches a certain limit, coil E once more asserts its superiority, and by overcoming the pull of F it stops the further approach of the carbons. So, by the opposing forces of the two coils, the carbons are maintained between safe limits, in spite of their wasting away.
PLATE IX.
By permission of
Union Electric Co. Ltd.
NIGHT PHOTOGRAPHS, TAKEN BY THE LIGHT OF THE ARC LAMPS.
The arc lamp is largely used for the illumination of wide streets, public squares, railway stations, and the exteriors of theatres, music-halls, picture houses, and large shops. The intense brilliancy of the light produced may be judged from the accompanying photographs (Plate IX.), which were taken entirely by the light of the arc lamps. Still more powerful arc lamps are constructed for use in lighthouses. The illuminating power of some of these lamps is equal to that of hundreds of thousands of candles, and the light, concentrated by large reflectors, is visible at distances varying from thirty to one hundred miles.
Arc lamps are also largely used for lighting interiors, such as large showrooms, factories or workshops. For this kind of lighting the dazzling glare of the outdoor lamp would be very objectionable and harmful to the eyes, so methods of indirect lighting are employed to give a soft and pleasant light. Most of the light in the arc lamp comes from the positive carbon, and for ordinary outdoor lighting this carbon is placed above the negative carbon. In lamps for interior lighting the arrangement is frequently reversed, so that the positive carbon is below. Most of the light is thus directed upwards, and if the ceiling is fairly low and98 of a white colour the rays are reflected by it, and a soft and evenly diffused lighting is the result. Some light comes also from the negative carbon, and those downward rays are reflected to the ceiling by a reflector placed beneath the lamp. Where the ceiling is very high or of an unsuitable colour, a sort of artificial ceiling in the shape of a large white reflector is placed above the lamp to produce the same effect. Sometimes the lamp is arranged so that part of the light is reflected to the ceiling, and part transmitted directly through a semi-transparent reflector below the lamp. The composition of the light of the arc lamp is very similar to that of sunlight, and by the use of such lamps the well-known difficulty of judging and matching colours by artificial light is greatly reduced. This fact is of great value in drapery establishments, and the arc lamp has proved a great success for lighting rooms used for night painting classes.
The powerful searchlights used by warships are arc lamps provided with special arrangements for projecting the light in any direction. A reflector behind the arc concentrates the light and sends it out as a bundle of parallel rays, and the illuminating power is such that a good searchlight has a working range of nearly two miles in clear weather. According to the size of the projector, the illumination varies from about 3000 to 30,000 or 40,000 candle-power. For some purposes, such as the illuminating of narrow stretches of water, a wider beam is required, and this is obtained by a diverging lens placed in front of the arc. In passing through this lens the light is dispersed or spread out to a greater or less extent according to the nature of the lens. Searchlights are used in navigating the Suez Canal by night, for lighting up the buoys along the sides of the canal. The ordinary form of searchlight does this quite well, but at the same time it illuminates99 equally an approaching vessel, so that the pilot on this vessel is dazzled by the blinding glare. To avoid this dangerous state of things a split reflector is used, which produces two separate beams with a dark space between them. In this way the sides of the canal are illuminated, but the light is not thrown upon oncoming vessels, so that the pilots can see clearly.
Glass reflectors are much more efficient than metallic ones, but they have the disadvantage of being easily put out of action by gunfire. This defect is remedied by protecting the glass reflector by a screen of wire netting. This is secured at the back of the reflector, and even if the glass is shattered to a considerable extent, as by a rifle bullet, the netting holds it together, and keeps it quite serviceable. Reflectors protected in this way are not put out of action by even two or three shots fired through them. Searchlight arcs and reflectors are enclosed in metal cylinders, which can be moved in any direction, vertically or horizontally.
In the arc lamps already described, a large proportion of the light comes from the incandescent carbon electrodes. About the year 1901 an American electrician, Mr. P. C. Hewitt, brought out an arc lamp in which the electrodes took no part in producing the light, the whole of which came from a glowing stream of mercury vapour. This lamp, under the name of the Cooper-Hewitt mercury vapour lamp, has certain advantages over other electric illuminants, and it has come into extensive use.
It consists of a long glass tube, exhausted of air, and containing a small quantity of mercury. Platinum wires to take the current from the source of supply are sealed in at each end. The tube is attached to a light tubular framework of metal suspended from the ceiling, and this frame is arranged so that it can be tilted slightly downwards by100 pulling a chain. As shown in Fig. 22, the normal position of the lamp is not quite horizontal, but tilted slightly downwards towards the end of the tube having the bulb containing the mercury. The platinum wire at this end dips into the mercury, so making a metallic contact with it. The lamp is lighted by switching on the current and pulling down the chain. The altered angle makes the mercury flow along the tube towards the other platinum electrode, and as soon as it touches this a conducting path for the current is formed from end to end of the tube. The lamp is now allowed to fall back to its original angle, so that the mercury returns to its bulb. There is now no metallic connexion between the electrodes, but the current continues to pass through the tube as a vacuum discharge. Some of the mercury is immediately vaporized and rendered brilliantly incandescent, and so the light is produced. The trouble of pulling down the chain is avoided in the automatic mercury vapour lamp, which is tilted by an electro-magnet. This magnet is automatically cut out of101 circuit as soon as the tilting is completed and the arc struck.
The average length of the tube in the ordinary form of mercury vapour lamp is about 30 inches, and a light of from 500 to 3000 candle-power is produced, according to the current used. Another form, known as the “Silica” lamp, is enclosed in a globe like that of an ordinary electric arc lamp. The tube is only about 5 or 6 inches in length, and it is made of quartz instead of glass, the arrangements for automatically tilting the tube being similar to those in the ordinary form of lamp.
The light of the mercury vapour lamp is different from that of all other lamps. Its peculiarity is that it contains practically no red rays, most of the light being yellow, with a certain proportion of green and blue. The result is a light of a peacock-blue colour. The absence of red rays alters colour-values greatly, scarlet objects appearing black; and on this account it is impossible to match colours by this light. In many respects, however, the deficiency in red rays is a great positive advantage. Every one who has worked by mercury vapour light must have noticed that it enables very fine details to be seen with remarkable distinctness. This property is due to an interesting fact. Daylight and ordinary artificial light is a compound or mixture of rays of different colours. It is a well-known optical fact that a simple lens is unable to bring all these rays to the same focus; so that if we sharply focus an image by red light, it is out of focus or blurred by blue light. This defect of the lens is called “chromatic aberration.” The eye too suffers from chromatic aberration, so that it cannot focus sharply all the different rays at the same time. The violet rays are brought to a focus considerably in front of the red rays, and the green and the yellow rays come in between the two. The eye therefore automatically and102 unconsciously effects a compromise, and focuses for the greenish-yellow rays. The mercury vapour light consists very largely of these rays, and consequently it enables the image to be focused with greater sharpness; or, in other words, it increases the acuteness of vision. Experiments carried out by Dr. Louis Bell and Dr. C. H. Williams demonstrated this increase in visual sharpness very conclusively. Type, all of exactly the same size, was examined by mercury vapour light, and by the light from an electric incandescent lamp with tungsten filament. The feeling of sharper definition produced by the mercury vapour light was so strong that many observers were certain that the type was larger, and they were convinced that it was exactly the same only after careful personal examination.
Mercury vapour light apparently imposes less strain upon the eyes than ordinary artificial light, and this desirable feature is the result of the absence of the red rays, which, besides having little effect in producing vision, are tiring to the eyes on account of their heating action. The light is very highly actinic, and for this reason it is largely used for studio and other interior photographic work. In cases where true daylight colour effects are necessary, a special fluorescent reflector is used with the lamp. By transforming the frequency of the light waves, this reflector supplies the missing red and orange rays, the result being a light giving normal colour effects.
Another interesting vapour lamp may be mentioned briefly. This has a highly exhausted glass tube containing neon, a rare gas discovered by Sir William Ramsay. The light of this lamp contains no blue rays, and it is of a striking red colour. Neon lamps are used chiefly for advertising purposes, and they are most effective for illuminated designs and announcements, the peculiar and distinctive colour of the light attracting the eye at once.
103
An electric current meets with some resistance in passing through any substance, and if the substance is a bad conductor the resistance is very great. As the current forces its way through the resistance, heat is produced, and a very thin wire, which offers a high resistance, may be raised to a white heat by an electric current, and it then glows with a brilliant light. This fact forms the basis of the electric incandescent or glow lamp.
In the year 1878, Thomas A. Edison set himself the task of producing a perfect electric incandescent lamp, which should be capable of superseding gas for household and other interior lighting. The first and the greatest difficulty was that of finding a substance which could be formed into a fine filament, and which could be kept in a state of incandescence without melting or burning away. Platinum was first chosen, on account of its very high melting-point, and the fact that it was not acted upon by the gases of the air. Edison’s earliest lamps consisted of a piece of very thin platinum wire in the shape of a spiral, and enclosed in a glass bulb from which the air was exhausted. The ends of the spiral were connected to outside wires sealed into the bulb. It was found, however, that keeping platinum continuously at a high temperature caused it to disintegrate slowly, so that the lamps had only a short life. Fine threads or filaments of carbon were then tried, and found to be much more durable, besides being a great deal cheaper. The carbon filament lamp quickly became a commercial success, and up to quite recent years it was the only form of electric incandescent lamp in general use.
In 1903 a German scientist, Dr. Auer von Welsbach, of incandescent gas mantle fame, produced an electric lamp in which the filament was made of the metal osmium, and this was followed by a lamp using the metal tantalum for104 the filament, the invention of Siemens and Halske. For a while the tantalum lamp was very successful, but more recently it has been superseded in popularity by lamps having a filament of the metal tungsten. The success of these lamps has caused the carbon lamp to decline in favour. The metal filaments become incandescent much more easily than the carbon filament, and for the same candle-power the metal filament lamp consumes much less current than the carbon lamp.
The construction of tungsten lamps is very interesting. Tungsten is a very brittle metal, and at first the lamps were fitted with a number of separate filaments. These were made by mixing tungsten powder with a sort of paste, and then squirting the mixture through very small apertures, so that it formed hair-like threads. Early in 1911 lamps having a filament consisting of a single continuous piece of drawn tungsten wire were produced. It had been known for some time that although tungsten was so brittle at ordinary temperatures, it became quite soft and flexible when heated to incandescence in the lamp, and that it lost this quality again as soon as it cooled down. A process was discovered by which the metal could be made permanently ductile, by mechanical treatment while in the heated state. In this process pure tungsten powder is pressed into rods and then made coherent by heating. While still hot it is hammered, and finally drawn out into fine wires through diamond dies. The wire is no thicker than a fine hair, and it varies in size from about 0·012 mm. to about 0·375 mm., according to the amount of current it is intended to take. It is mounted by winding it continuously zigzag shape round a glass carrier, which has at the top and the bottom a number of metal supports arranged in the form of a star, and insulated by a central rod of glass. One star is made of strong, stiff material,105 and the other consists of fine wires of some refractory metal, molybdenum being used in the Osram lamps. These supports act as springs, and keep the wire securely in its original shape, no matter in what position the lamp is used. The whole is placed in a glass bulb, which is exhausted of air and sealed up.
For some purposes lamps with specially small bulbs are required, and in these the tungsten wire is made in the shape of fine spirals, instead of in straight pieces, so that it takes up much less room. In the “Axial” lamp the spiral is mounted in such a position that most of the light is sent out in one particular direction.
The latest development in electric incandescent lamps is the “half-watt” lamp. The watt is the standard of electrical energy, and it is the rate of work represented by a current of one ampere at a pressure of 1 volt. With continuous currents the watts are found very simply by multiplying together the volts and the amperes. For instance, a dynamo giving a current of 20 amperes at a pressure of 50 volts would be called a 1000-watt dynamo. With alternating currents the calculation is more complicated, but the final result is the same. The ordinary form of tungsten lamp gives about one candle-power for every watt, and is known as a one-watt lamp. As its name suggests, the half-watt lamp requires only half this amount of energy to give the same candle-power, so that it is very much more economical in current. In this lamp the tungsten filament is wound in a spiral, but instead of being placed in the usual exhausted bulb, it is sealed into a bulb containing nitrogen gas. The increased efficiency is obtained by running the filament at a temperature from 400° to 600° C. higher than that at which the filament in the ordinary lamp is used.
In spite of the great advances in artificial lighting106 made during recent years, no one has yet succeeded in producing light without heat. This heat is not wanted, and it represents so much waste energy. It has often been said that the glow-worm is the most expert of all illuminating engineers, for it has the power of producing at will a light which is absolutely without heat. Perhaps the nearest approach to light without heat is the so-called “cold light” invented by M. Dussaud, a French scientist. His device consists of a revolving ring of exactly similar tungsten lamps. Each of these lamps has current passed through it in turn, and the duration of the current in each is so short, being only a fraction of a second, that the lamp has not sufficient time to develop any appreciable amount of heat. The light from the ring of lamps is brought to a focus, and passed through a lens to wherever it is required. Electric incandescent lamps are made in a variety of sizes, each one being intended for a certain definite voltage. If a lamp designed for, say, 8 volts, is used on a circuit of 32 volts, its candle-power is greatly increased, while the amount of current consumed is not increased in proportion. In this way the lamp becomes a more efficient source of light, but the “over-running,” as it is called, has a destructive effect on the filament, so that the life of the lamp is greatly shortened. In the Dussaud system however the time during which each lamp has current passing through it is so short, followed by a period of rest, that the destructive effect of over-running is reduced to the minimum; so that by using very high voltages an extremely brilliant light is safely obtained with a comparatively small consumption of current. It might be thought that the constant interchange of lamps would result in an unsteady effect, but the substitution of one lamp for another is carried out so rapidly that the eye gets the impression of perfect steadiness. The Dussaud system is of little use107 for ordinary lighting purposes, but for lighthouse illumination, photographic studio work, and the projection of lantern slides and cinematograph films, it appears to be of considerable value.
Electric light has many advantages over all other illuminants. It gives off very little heat, and does not use up the oxygen in the air of a room as gas does; while by means of flexible wires the lamps can be put practically anywhere, so that the light may be had just where it is wanted. Another great advantage is that the light may be switched on without any trouble about matches, and there is none of the danger from fire which always exists with a flame.
The current for electric lamps is generally taken from the public mains, but in isolated country houses a dynamo has to be installed on the premises. This is usually driven by a small engine running on petrol or paraffin. In order to avoid having to run the engine and dynamo continually, the current is not taken directly from the dynamo, but from a battery of accumulators. During the day the dynamo is used to charge the accumulators, and these supply the current at night without requiring any attention.
Electric lighting from primary cells is out of the question if a good light is wanted continuously for long periods, for the process is far too costly and troublesome. If a light of small candle-power is required for periods of from a few minutes to about an hour, with fairly long intervals of rest, primary cells may be made a success. Large dry cells are useful for this purpose, but probably the most satisfactory cell is the sack Leclanché. This is similar in working to the ordinary Leclanché cell used for bells, but the carbon mixture is placed in a canvas bag or sack, instead of in a porous pot, and the zinc rod is replaced by a sheet of zinc surrounding the sack. These cells give108 about 1½ volt each, so that four, connected in series, are required to light a 6-volt lamp. The lamps must take only a very small current, or the cells will fail quickly. Small metal filament lamps taking from a third to half an ampere are made specially for this purpose, and these always should be used. A battery of sack Leclanché cells with a miniature lamp of this kind forms a convenient outfit for use as a night-light, or for lighting a dark cupboard, passage or staircase. Lamps with ruby glass, or with a ruby cap to slip over the bulb, may be obtained for photographic purposes. If the outfit is wanted for use as a reading-lamp it is better to have two separate batteries, and to use them alternately for short periods. With this arrangement each battery has a short spell of work followed by a rest, and the light may be kept on for longer periods without overworking the cells.
The light of the electric incandescent lamp is produced by the heating to incandescence of a thin filament of metal or carbon, and the heat itself is produced by the electric current forcing its way through the great resistance opposed to it by the filament. In such lamps the amount of heat produced is too small to be of much practical use, but by applying the same principle on a larger scale we get an effective electric heater.
The most familiar and the most attractive of all electric heaters is the luminous radiator. This consists of two or more large incandescent lamps, having filaments of carbon. The lamps are made in the form of long cylinders, the glass being frosted, and they are set, generally in a vertical position, in an ornamental case or frame of metal. This case is open at the front, and has a metal reflector behind. The carbon filaments are raised to an orange-red heat by the passage of the current, and they then radiate heat rays which warm the bulbs and any other objects in their path. The air in contact with these heated bodies is warmed, and gradually fills the room. This form of heater, with its bright glowing lamps, gives a room a very cheerful appearance.
In the non-luminous heaters, or “convectors” as they are called, the heating elements consist of strips of metal or wires having a very high resistance. These are placed in110 a frame and made red-hot by the current. Cold air enters at the bottom of the frame, becomes warm by passing over the heating elements, and rises out at top and into the room. More cold air enters the frame and is heated in the same way, and in a very short time the whole of the air of the room becomes warmed. The full power of the heater is used in the preliminary warming of the room, but afterwards the temperature may be kept up with a much smaller consumption of current, and special regulating switches are provided to give different degrees of heat. Although these heaters are more powerful than the luminous radiators, they are not cheerful looking; but in some forms the appearance is improved by an incandescent lamp with a ruby glass bulb, which shines through the perforated front of the frame.
The Bastian, or red glow heater, has thin wires wound in a spiral and enclosed in tubes made of quartz. These tubes are transparent both to light and heat, and so the pleasant glow of the red-hot wire is visible. A different type of heater, the hot oil radiator, is very suitable for large rooms. This has a wire of high resistance immersed in oil, which becomes hot and maintains a steady temperature.
Electric cooking appliances, like the heaters just described, depend upon the heating of resistance wires or strips of metal. The familiar electric kettle has a double bottom, and in the cavity thus formed is placed the resistance material, protected by strips of mica, a mineral substance very largely used in electrical appliances of all kinds on account of its splendid insulating qualities. Electric irons are constructed in much the same way as kettles, and sometimes they are used with stands which cut off the current automatically when the iron is laid down upon them, so that waste and overheating are prevented.111 There are also a great many varieties of electric ovens, grillers, hot-plates, water-heaters, glue-pots, and foot and bed warmers. These of course differ greatly in construction, but as they all work on the same principle there is no need to describe them.
Electric hot-plates are used in an interesting way in Glasgow, to enable the police on night duty to have a hot supper. The plates are fitted to street telephone signal boxes situated at points where a number of beats join. By switching on current from the public mains the policemen are able to warm their food and tea, and a supper interval of twenty minutes is allowed. Even policemen are sometimes absent-minded, and to avoid the waste of current and overheating of the plate that would result if a “bobby” forgot to switch off, an arrangement is provided which automatically switches off the current when the plate is not in use.
We must turn now to electric heating on a much larger scale, in the electric furnaces used for industrial purposes. The dazzling brilliance of the light from the electric arc lamp is due to the intense heat of the stream of vaporized carbon particles between the carbon rods, the temperature of this stream being roughly about 5400° F. This great heat is made use of in various industries in the electric arc furnace. Fig. 23 is a diagram of a simple furnace of this kind. A is a vertical carbon rod which can be raised or112 lowered, and B is a bed of carbon, forming the bottom of the furnace, and acting as a second rod. A is lowered until it touches B, the current, either continuous or alternating, is switched on, and A is then raised. The arc is thus struck between A and B, and the material contained in the furnace is subjected to intense heat. When the proper stage is reached the contents of the furnace are drawn off at C, and fresh material is fed in from above, so that if desired the process may be kept going continuously. Besides the electric arc furnace there are also resistance furnaces, in which the heat is produced by the resistance of a conductor to a current passing through it. This conductor may be the actual substance to be heated, or some other resisting material placed close to it.
It will be of interest to mention now one or two of the uses of electric furnaces. The well-known substance calcium carbide, so much used for producing acetylene gas for lighting purposes, is a compound of calcium and carbon; it is made by raising a mixture of lime and coke to an intense heat in an electric furnace. The manufacture of calcium carbide is carried on on a very large scale at Niagara, with electric power obtained from the Falls, and at Odda in Norway, where the power is supplied by the river Tysse. Carborundum, a substance almost as hard as the diamond, is largely used for grinding and polishing purposes. It is manufactured by sending a strong current through a furnace containing a core of coke surrounded by a mixture of sand, sawdust, and carbon. The core becomes incandescent, and the heating is continued until the carbon combines with the sand, the process taking about a day. Graphite, a kind of carbon, occurs naturally in the form of plumbago, which is used for making black lead pencils. It is obtained by mining, but many of the mines113 are already worked out, and others will be exhausted before long. By means of the electric furnace, graphite can now be made artificially, by heating anthracite coal, and at Niagara a quantity running into thousands of tons is produced every year. Electric furnaces are now largely employed, particularly in France, in the production of the various alloys of iron which are used in making special kinds of steel; and they are used also to a considerable extent in the manufacture of quartz glass.
For many years past a great deal of time and money has been spent in the attempt to make artificial diamonds. Quite apart from its use in articles of jewellery, the diamond has many very important industrial applications, its value lying in its extreme hardness, which is not equalled by any other substance. The very high price of diamonds however is at present a serious obstacle to their general use. If they could be made artificially on a commercial scale they would become much cheaper, and this would be of the greatest importance to many industries, in which various more or less unsatisfactory substitutes are now used on account of their much smaller cost. Recent experiments seem to show that electricity will solve the problem of diamond making. Small diamonds, one-tenth of an inch long, have been made in Paris by means of the electric arc furnace. The furnace contains calcium carbide, surrounded by a mixture of carbon and lime, and the arc, maintained by a very powerful current, is kept in operation for several hours. A black substance, something like coke, is formed round the negative carbon, and in this are found tiny diamonds. The diamonds continue to increase slowly in size during the time that the arc is at work, and it is estimated that they grow at the rate of about one-hundredth of an inch per hour. So far only small diamonds have114 been made, but there seems to be no reason why large ones should not be produced, by continuing the process for three or four days.
A chapter on electric heating would not be complete without some mention of electric welding. Welding is the process of uniting two pieces of metal by means of a combination of heat and pressure, so that a strong and permanent joint is produced. The chief difficulty in welding is that of securing and keeping up the proper temperature, and some metals are much more troublesome than others in this respect. Platinum, iron, and steel are fairly easy to weld, but most of the other metals, and alloys of different metals, require very exact regulation of temperature. It is almost impossible to obtain this exact regulation by ordinary methods of heating, but the electric current makes it a comparatively easy matter. The principle of ordinary electric welding is very simple. The ends of the two pieces of metal are placed together, and a powerful current is passed through them. This current meets with a high resistance at the point of contact of the two pieces, and so heat is produced. When the proper welding temperature is reached, and the metal is in a sort of pasty condition, the two pieces are pressed strongly together, and the current is switched off. The pieces are now firmly united together. The process may be carried out by hand, the welding smith switching the current on and off, and applying pressure at the right moment by means of hydraulic power. There are also automatic welders, which perform the same operations without requiring any manual control. Alternating current is used, of low voltage but very high amperage.
Steel castings are sometimes found to have small defects, such as cracks or blow-holes. These are not discarded as useless, but are made quite sound by welding115 additional metal into the defective places by means of the electric arc. The arc is formed between the casting and a carbon rod, and the tremendous heat reduces the surface of the metal to a molten condition. Small pieces or rods of metal are then welded in where required.
The most familiar of all electrically worked appliances is probably the electric bell, which in some form or other is in use practically all over the world. Electric bells are operated by means of a current of electricity sent through the coils of an electro-magnet, and one of the very simplest forms is that known as the single-stroke bell. In this bell an armature or piece of soft iron is placed across, but at a little distance from, the poles of an electro-magnet, and to this piece of iron is fixed a lever terminating in a sort of knob which lies close to a bell or gong. When a current is sent round the electro-magnet the armature is attracted, so that the lever moves forward and strikes a sharp blow upon the gong. Before the gong can be sounded a second time the current must be interrupted in order to make the magnet release the armature, so that the lever may fall back to its original position. Thus the bell gives only one ring each time the circuit is closed. Bells of this kind may be used for signalling in exactly the same way as the Morse sounder, and sometimes they are made with two gongs of different tones, which are arranged so as to be sounded alternately.
For most purposes however another form called the trembler bell is much more convenient. Fig. 24 is a rough diagram of the usual arrangement of the essential parts of a trembler bell. When the circuit is closed by pressing the117 bell-push, a current flows from the battery to the electro-magnet EE, by way of terminal T. The electro-magnet then attracts the soft iron armature A, thus causing the hammer H to strike the gong. But immediately the armature is pulled away from the terminal T¹ the circuit is broken and the magnet loses its attraction for the armature, which is moved back again into contact with T¹ by the spring S. The circuit is thus again closed, the armature is again attracted, and the hammer strikes the gong a second time. This process goes on over and over again at a great speed as long as the bell-push is kept pressed down, resulting in an extremely rapid succession of strokes upon the gong. It will be noticed that the working of this bell is very similar to that of the automatic contact-breaker used for induction coils (Chapter VIII.). For household purposes this form of bell has completely driven out the once popular wire-pulled bell. Bell-pushes are made in a number of shapes and forms, and Fig. 25 will make clear the working principle of the familiar form which greets us from almost every doorway with the invitation, “Press.” In private offices and elsewhere the rather aggressive sound of an118 ordinary trembler bell is apt to become a nuisance, and in such cases a modified form which gives a quiet buzzing sound is often employed.
It is frequently necessary to have an electric bell which, when once started, will continue ringing until it is stopped. Such bells are used for fire and burglar alarms and for many other similar purposes, and they are called continuous-ringing bells as distinguished from the ordinary trembler bells. In one common form of continuous-ringing bell two separate batteries are used, one to start the bell and the other to keep it ringing. When a momentary current from the first battery is sent over the bell lines the armature is attracted by the electro-magnet, and its movement allows a lever to fall upon a metal contact piece. This closes the circuit of the second battery, which keeps the bell ringing until the lever is replaced by pulling a cord or pressing a knob. Continuous-ringing bells are often fitted to alarm clocks. The alarm is set in the usual way, and at the appointed hour the bell begins to ring, and goes on ringing until its owner, able to stand the noise no longer, gets out of bed to stop it.
There is another form of electric bell which has been devised to do away with the annoyance of bells suddenly ceasing to work on account of the failure of the battery. In this form the battery is entirely dispensed with, and the current for ringing the bell is taken from a very small dynamo fitted with a permanent steel horse-shoe magnet. The armature is connected to a little handle, and current is generated by twisting the handle rapidly to and fro between the thumb and finger. A special form of bell is required for this arrangement, which is not in general use.
In the days of wire-pulled bells it was necessary to have quite a battery of bells of different tones for different rooms, but a single electric bell can be rung from bell-pushes119 placed in any part of a house or hotel. An indicator is used to show which push has been pressed, and, this like the bell itself, depends upon the attraction of an armature by an electro-magnet. Before reaching the bell the wire from each bell-push passes round a separate small electro-magnet, which is thus magnetized by the current at the same time that the bell is rung. In the simplest form of indicator the attraction of the magnet causes a little flag to swing backwards and forwards over its number. Another form is the drop indicator, in which the movement of the armature when attracted by the magnet allows a little flag to drop, thus exposing the number of the room from which the bell was rung. The dropped flag has to be replaced, either by means of a knob fixed to a rod which pushes the flag up again, or by pressing a push which sends the current through another little electro-magnet so arranged as to re-set the flag.
The electric current is used to operate an almost endless variety of automatic alarms for special purposes. Houses may be thoroughly protected from undesired nocturnal visitors by means of a carefully arranged system of burglar alarms. Doors and windows are fitted with spring contacts so that the slightest opening of them closes a battery circuit and causes an alarm to sound, and even if the burglar succeeds in getting inside without moving a door or window, say by cutting out a pane of glass, his troubles are not by any means at an end. Other contacts are concealed under the doormats, and under the carpets in passages and stairways, so that the burglar is practically certain to tread on one or other of them and so rouse the house. A window may be further guarded by a blind contact. The blind is left down, and is secured at the bottom to a hook, and the slightest pressure upon it, such as would be given by a burglar trying to get through the window, sets off the alarm.120 Safes also may be protected in similar ways, and a camera and flashlight apparatus may be provided, so that when the burglar closes the circuit by tampering with the safe he takes his own photograph.
The modern professional burglar is a bit of a scientist in his way, and he is wily enough to find and cut the wires leading to the contacts, so that he can open a door or window at his leisure without setting off the alarm. In order to circumvent this little game, burglar alarms are often arranged on the closed-circuit principle, so that the alarm is sounded by the breaking of the circuit. A burglar who deftly cut the wires of an alarm worked on this principle would not be particularly pleased with the results of his handiwork. The bells of burglar alarms may be arranged to ring in a bedroom or in the street, and in the United States, where burglar and in fact all electric alarms are in more general use than in England, large houses are sometimes connected to a police station, so that the alarm is given there by bell or otherwise.
PLATE X.
By permission of
Vickers Limited.
WHERE ELECTRICAL MACHINERY IS MADE.
When an outbreak of fire is discovered it is of the utmost importance that the nearest fire-station should be notified instantly, for fire spreads with such rapidity that a delay of even a few minutes in getting the fire-engines to the spot may result in the total destruction of a building which otherwise might have been saved. In almost all large towns some system of public fire alarms is now in use. The signal boxes are placed in conspicuous positions in the streets, and sometimes also in very large buildings. The alarm is generally given by the starting of a clockwork mechanism which automatically makes and breaks a circuit a certain number of times. When this occurs an alarm bell rings at the fire-station, and the number of strokes on the bell, which depends upon the number of times the alarm mechanism makes and breaks the circuit, tells the attendant from which box the alarm has been given. One well-known form of call box has a glass front, and the breaking of the glass automatically closes the circuit. In other forms turning a handle or pulling a knob serves the same purpose.
It is often required to maintain a room at one particular temperature, and electricity may be employed to give an alarm whenever the temperature rises above or falls below a certain point. One arrangement for this purpose consists of an ordinary thermometer having the top of the mercury tube fitted with an air-tight stopper, through which a wire is passed down into the tube as far as the mark indicating the temperature at which the alarm is desired to sound. Another wire is connected with the mercury in the bulb, and the free ends of both wires are taken to a suitable battery, a continuous-ringing bell being inserted in the circuit at some convenient point. If a rise in temperature takes place the mercury expands and moves up the tube, and at the critical temperature it touches the wire, thus completing the circuit and sounding the alarm. This arrangement only announces a rise in temperature, but by making the thermometer tube in the shape of a letter U an alarm may be given also when the temperature falls below a certain degree. A device known as a “thermostat” is also used for the same purpose. This consists of two thin strips of unlike metals, such as brass and steel, riveted together and suspended between two contact pieces. The two metals expand and contract at different rates, so that an increase in temperature makes the compound strip bend in one direction, and a decrease in temperature makes it bend in the opposite direction. When the temperature rises or falls beyond a certain limit the strip bends so far as to touch one or other of the contact pieces, and the alarm is then given. Either of the preceding arrangements can be used122 also as an automatic fire alarm, or if desired matters may be arranged so that the closing of the circuit, instead of ringing a bell, turns on or off a lamp, or adjusts a stove, and in this way automatically keeps the room at a constant temperature.
Electric alarms operated by ball floats are used to some extent for announcing the rise or fall beyond a pre-arranged limit of water or other liquids, and there is a very ingenious electrical device by which the level of the water in a tank or reservoir can be ascertained at any time by indicators placed in convenient positions any distance away.
In factories and other large buildings a watchman is frequently employed to make a certain number of rounds every night. Being human, a night-watchman would much rather sit and snooze over his fire than tramp round a dark and silent factory on a cold winter night; and in order to make sure that he pays regular visits to every point electricity is called in to keep an eye on him. A good eight-day clock is fitted with a second dial which is rotated by the clockwork mechanism, and a sheet of paper, which can be renewed when required, is placed over this dial. On the paper are marked divisions representing hours and minutes, and other divisions representing the various places the watchman is required to visit. A press-button is fixed at each point to be visited, and connected by wires with the clock and with a battery. As the watchman reaches each point on his rounds he presses the button, which is usually locked up so that no one else can interfere with it, and the current passes round an electro-magnet inside the clock case. The magnet then attracts an armature which operates a sort of fine-pointed hammer, and a perforation is made in the paper, thus recording the exact time at which the watchman visited that particular place.
The current for ordinary electric bells is generally supplied123 by Leclanché cells, which require little attention, and keep in good working order for a very long time. As we saw in Chapter IV., these bells soon polarize if used continuously, but as in bell work they are required to give current for short periods only, with fairly long intervals of rest, no trouble is caused on this account. These cells cannot be used for burglar or other alarms worked on the closed-circuit principle, and in such cases some form of Daniell cell is usually employed.
Amongst the many little worries of domestic life is the keeping in order of the various clocks. It ought to be a very simple matter to remember to wind up a clock, but curiously enough almost everybody forgets to do so now and then. We gaze meditatively at the solemn-looking machine ticking away on the mantelpiece, wondering whether we wound it up last week or not; and we wish the wretched thing would go without winding, instead of causing us all this mental effort.
There is usually a way of getting rid of little troubles of this kind, and in this case the remedy is to be found in an electrically-driven clock. The peculiar feature about clocks driven by electricity is that they reverse the order of things in key-wound clocks, the pendulum being made to drive the clockwork instead of the clockwork driving the pendulum. No driving spring is required, and the motive power is supplied by a small electro-magnet.
The actual mechanism varies considerably in different makes of clock. In one of the simplest arrangements there is a pendulum with an armature of soft iron fixed to the extremity of its bob. Below the pendulum is an electro-magnet, and this is supplied with current from a small battery of dry cells. A short piece of metal, called a “pallet,” is attached to the rod of the pendulum by means of a pivot; and as the pendulum swings it trails this pallet125 backwards and forwards along a horizontal spring. In this spring are cut two small notches, one on each side of the centre of the swing. As long as the pendulum is swinging sufficiently vigorously, the pallet slides over these notches; but when the swing has diminished to a certain point the pallet catches in one or other of the notches. This has the effect of pressing down the spring so that it touches a contact piece just below, and the battery circuit is then completed. The electro-magnet now comes into action and attracts the armature, thus giving the pendulum a pull which sets it swinging vigorously again. The spring is then freed from the pressure of the pallet, and it rises to its original position, so that the circuit is broken. This puts out of action the electro-magnet, and the latter does no further work until the pendulum requires another pull. The movement of the pendulum drives the wheelwork, which is similar to that of an ordinary clock, and the wheelwork moves the hands in the usual way. A clock of this kind will run without attention for several months, and then the battery requires to be renewed. As time-keepers, electrically-driven clocks are quite as good as, and often very much better than key-wound clocks.
Everybody must have noticed that the numerous public clocks in a large town do not often agree exactly with one another, the differences sometimes being quite large; while even in one building, such as a large hotel, the different clocks vary more or less. This state of things is very unsatisfactory, for it is difficult to know which of the clocks is exactly right. Although large clocks are made with the utmost care by skilled workmen, they cannot possibly be made to maintain anything like the accuracy of a high-class chronometer, such as is used by navigators; and the only way to keep a number of such clocks in perfect agreement is to control their movements from one central or master126 clock. This can be done quite satisfactorily by electricity. The master-clock and the various sub-clocks are connected electrically, so that a current can be sent from the master-clock to all the others. Each sub-clock is fitted with an electro-magnet placed behind the figure XII at the top of the dial. At the instant when the master-clock reaches the hour, the circuit is closed automatically, and the current energizes these magnets. The minute hands of all the sub-clocks are gripped by the action of the magnets, and pulled exactly to the hour; the pulling being backward or forward according to whether the clocks are fast or slow. In this way all the clocks in the system are in exact agreement at each hour. The same result may be attained by adjusting all the sub-clocks so that they gain a little, say a few seconds in the hour. In this case the circuit is closed about half a minute before the hour. As each sub-clock reaches the hour, its electro-magnet comes into action, and holds the hands so that they cannot proceed. When the master-clock arrives at the hour the circuit is broken, the magnets release their captives, and all the clocks move forward together.
It is possible to control sub-clocks so that their pendulums actually beat exactly with the pendulum of the master-clock; but only a small number of clocks can be controlled in this way, and they must be of the best quality. The method is similar to that used for hourly corrections, the main difference being that the circuit is closed by the pendulum of the master-clock at each end of its swing, so that the pendulums of the sub-clocks are accelerated or held back as may be required.
In the correcting systems already described the sub-clocks are complete in themselves, so that they work quite independently, except at the instant of correction. For hotels, schools, and other large buildings requiring clocks127 at a number of different points, a simpler arrangement is adopted. Only one complete clock is used, this being the master-clock, which may be wound either electrically or by key. The sub-clocks are dummies, having only a dial with its hands, and an electro-magnetic arrangement behind the dial for moving the hands. The sub-clocks are electrically connected with the master-clock, and the mechanism of this clock is arranged to close the circuit automatically every half-minute. Each time this occurs the magnet of each sub-clock moves forward the hands half a minute, and in this way the dummy clocks are made to travel on together by half-minute steps, exactly in unison with the master-clock.
We come now to one of the most important inventions of the nineteenth century, the electric telegraph. From very early times men have felt the necessity for some means of rapidly communicating between two distant points. The first really practical method of signalling was that of lighting beacon fires on the tops of hills, to spread some important tidings, such as the approach of an enemy. From this simple beginning arose more complicated systems of signalling by semaphore, flags, or flashing lights. All these methods proved incapable of dealing with the rapidly growing requirements of commerce, for they were far too slow in action, and in foggy weather they were of no use at all. We are so accustomed to walking into a telegraph office, filling up a form, and paying our sixpence or more, that it is very difficult for us to realize the immense importance of the electric telegraph; and probably the best way of doing this is to try to imagine the state of things which would result if the world’s telegraphic instruments were put out of action for a week or two.
The earliest attempts at the construction of an electric telegraph date back to a time long before the discovery of the electric current. As early as 1727 it was known that an electric discharge could be transmitted to a considerable distance through a conducting substance such as a moistened thread or a wire, and this fact suggested the possibility of129 a method of electric signalling. In 1753 a writer in Scott’s Magazine brought forward an ingenious scheme based upon the attraction between an electrified body and any light substance. His telegraph was worked by an electric machine, and it consisted of twenty-six separate parallel wires, every wire having a metal ball suspended from it at each end. Close to each ball was placed a small piece of paper upon which was written a letter of the alphabet. When any wire was charged, the paper letters at each end of it were attracted towards the metal balls, and in this way words and sentences were spelled out. Many other systems more or less on the same lines were suggested during the next fifty years, but although some of them had considerable success in an experimental way, they were all far too unreliable to have any commercial success.
With the invention of the voltaic cell, inventors’ ideas took a new direction. In 1812 a telegraph based upon the power of an electric current to decompose water was devised by a German named Sömmering. He used a number of separate wires, each connected to a gold pin projecting from below into a glass vessel filled with acidulated water. There were thirty-five wires in all, for letters and numbers, and when a current was sent along any wire bubbles of gas formed at the pin at the end of it, and so the letters or numbers were indicated. This telegraph, like its predecessors, never came into practical use. Oersted’s discovery in 1829 of the production of magnetism by electricity laid the foundation of the first really practical electric telegraphs, but little progress was made until the appearance of the Daniell cell, in 1836. The earlier forms of voltaic cells polarized so rapidly that it was impossible to obtain a constant current from them, but the non-polarizing Daniell cell at once removed all difficulty in this respect. In the year 1837 three separate practical telegraphs130 were invented: by Morse in the United States, by Wheatstone and Cooke in England, and by Steinheil in Munich.
The first telegraph of Wheatstone and Cooke consisted of five magnetic needles pivoted on a vertical dial. The letters of the alphabet were marked on the dial, and the needles were deflected by currents made to pass through wires by the depression of keys, so that two needles would point towards the required letter. Fig. 26 is a sketch of the dial of this apparatus. This telegraph was tried successfully on the London and North-Western Railway, over a wire a mile and a half in length. Wheatstone and Cooke afterwards invented a single-needle telegraph in which the letters were indicated by movements of the needle to the right or to the left, according to the direction of a current sent through a coil of wire. Wheatstone subsequently produced an apparatus which printed the letters on paper.
In the United States, Morse had thought out a scheme of telegraphy in 1832, but it was not until 1837 that he got131 his apparatus into working order. He was an artist by profession, and for a long time he was unable to develop his ideas for lack of money. After many efforts he succeeded in obtaining a State grant of £6000 for the construction of a telegraph line between Baltimore and Washington, and the first message over this line was sent in 1844, the line being thrown open to the public in the following year. Amongst the features of this telegraph were a receiving instrument which automatically recorded the messages on a moving paper ribbon, by means of a pencil actuated by an electro-magnet; and an apparatus called a relay, which enabled the recording instrument to be worked when the current was enfeebled by the resistance of a very long wire. Morse also devised a telegraphic code which is practically the same as that in use to-day.
The great discovery of the German Steinheil was that a second wire for the return of the current was not necessary, and that the earth could be used for this part of the circuit.
In reading the early history of great inventions one is continually struck with the indifference or even hostility shown by the general public. In England the electric telegraph was practically ignored until the capture of a murderer by means of it literally forced the public to see its value. The murder was committed near Slough, and the murderer succeeded in taking train for London. Fortunately the Great Western Railway had a telegraph line between Slough and London, and a description telegraphed to Paddington enabled the police to arrest the murderer on his arrival. In the United States too there was just the same indifference. The rate for messages on the line between Baltimore and Washington was one cent for four words, and the total amount taken during the first four days was one cent!
One of the simplest forms of telegraph is the single-needle132 instrument. This consists of a magnetic needle fixed to a spindle at the back of an upright board through which the spindle is passed. On the same spindle, but in front of the board, is fixed a dial needle, which, of course, moves along with the magnetic needle. A coil of wire is passed round the magnetic needle, and connected to a commutator for reversing the direction of the current. By turning a handle to the left a current is made to flow through the coil, and the magnetic needle moves to one side; but if the handle is turned to the right the current flows through the coil in the opposite direction, and the needle moves to the other side. Instead of a handle, two keys may be used, the movement of the needle varying according to which key is pressed. A good operator can transmit at the rate of about twenty words a minute with this instrument. The Morse code, which consists of combinations of dots and dashes, is used, a movement of the dial needle to the left meaning a dot, and one to the right a dash. The code as used in the single-needle instrument is shown in Fig. 27.
Needle instruments are largely used in railway signal133 cabins, but for general telegraphic work an instrument called the Morse sounder is employed. This consists of an electro-magnet which, when a current is passed through it, attracts a small piece of iron fixed to one end of a pivoted lever. The other end of this lever moves between two stops. At the transmitting station the operator closes a battery circuit by pressing a key, when the electro-magnet of the sounder at the receiving station attracts the iron, and the lever flies from one stop to the other with a sharp click, returning again as soon as the circuit is broken. A dot is signalled when the lever falls back immediately after the click, and a dash when it makes a short stay before returning. Fig. 28 shows the code of signals for the Morse telegraph.
In passing through a very long wire an electric current becomes greatly reduced in strength owing to the resistance of the wire. If two telegraph stations are a great distance apart the energy of the current thus may be unequal to the task of making the electro-magnet move the lever of the sounder so as to produce a click, but this difficulty is overcome by the use of an ingenious arrangement called a “relay.” It consists of a very small electro-magnet which134 attracts a light bar, the movement of the bar being made to close the circuit of another battery at the receiving station. The feeble current works the relay, and the current in the local circuit operates the sounder.
The word “telegraph,” which is derived from the Greek tele, far off, and grapho, I write, strictly signifies writing at a distance. The needle instrument and the sounder do not write in any way, but by modifying the construction of the sounder it can be made to record the messages it receives. A small wheel is fitted to the free end of the lever of the sounder, and an ink-well is placed so that the wheel dips into it when the lever is in the normal position. When the circuit is closed the lever moves just as in the ordinary sounder, but instead of clicking against a stop it presses the inked wheel against a paper ribbon which is kept slowly moving forward by clockwork. In this way the wheel continues to mark a line along the paper as long as the circuit remains closed, and according to the time the transmitting key is kept down a short mark or dot, or a long mark or dash, is produced. The clockwork which moves the paper ribbon is started automatically by the current, and it continues working until the message is finished.
Fig. 29.—A Morse Message.
(a) Perforated Tape. (b) Printed Tape.
TRANSLATION.
Series of alternate dots and dashes indicating commencement of message.
Sec (section) A. D. T. (Daily Telegraph) Fm (from) Berri, Antivari.
Then follow the letters G. Q., signifying fresh line.
They hd (had) bn (been) seen advancing in t (the) distance and wr (were) recognised by thr (their) usual uniform wh (which) consists o (of) a white fez.
Finally double dots indicating full stop.
A good Morse operator can maintain a speed of about thirty words a minute, but this is far too slow for certain kinds of telegraphic work, such as the transmission of press news, and for such work the Wheatstone automatic transmitter is used. First of all the messages are punched on a paper ribbon. This is done by passing the ribbon from right to left by clockwork through a punching machine which is provided with three keys, one for dots, one for dashes, and the other for spaces. If the left-hand key is pressed, two holes opposite to one another are made, representing a dot; and if the right-hand key is pressed,136 two diagonal holes are punched, representing a dash. In Fig. 29, which shows a piece of ribbon punched in this way, a third line of holes will be noticed between the outside holes representing the dots and dashes. These holes are for the purpose of guiding the paper ribbon steadily along through the transmitting machine. The punched ribbon is then drawn by clockwork through a Wheatstone transmitter. In this machine two oscillating needles, connected with one pole of a battery, are placed below the moving ribbon. Each time a hole passes, these needles make contact with a piece of metal connected with the other pole of the battery, thus making and breaking the circuit with much greater rapidity than is possible with the Morse key. At the receiving station the messages are recorded by a form of Morse inker, coming out in dots and dashes as though sent by hand. Below the punched ribbon in Fig. 29 is shown the corresponding arrangement of dots and dashes. The same punched ribbon may be used repeatedly when the message has to be sent on a number of different lines. The Wheatstone automatic machine is capable of transmitting at the rate of from 250 to 400 words a minute. Fig. 29 is a fragment of a Daily Telegraph Balkan War special, as transmitted to the Yorkshire Post over the latter’s private wire from London to Leeds. In the translation it will be seen that many common words are abbreviated.
One weak point of telegraphy with Wheatstone instruments is that the messages are received in Morse code, and have to be translated. During recent years telegraphs have been invented which actually produce their messages in ordinary written or printed characters. A very ingenious instrument is the Hughes printing telegraph, which turns out messages in typewritten form. Its mechanism is too complicated to be described here,137 but in general it consists of a transmitter having a keyboard something like that of a typewriter, by means of which currents of electricity are made to press a sheet of paper at the right instant against a revolving type-wheel bearing the various characters. This telegraph has been modified and brought to considerable perfection, and in one form or another it is used in European countries and in the United States.
In the Pollak-Virag system of telegraphy the action of light upon sensitized photographic paper is utilized. An operator punches special groupings of holes on a paper ribbon about 1 inch wide, by means of a perforating machine resembling a typewriter, and the ribbon is then passed through a machine which transmits by brush contacts. The receiver consists of a very small mirror connected to two vibrating diaphragms, which control its movements according to the currents received, one diaphragm moving the mirror in a vertical direction, and the other in a horizontal direction. The mirror reflects a ray of light on to photographic bromide paper in the form of a moving band about 3 inches in width, and the combined action of the two diaphragms makes the mirror move so that the ray of light traces out the messages in ordinary alphabetical characters. As it moves forward after being acted upon by the light, the paper is automatically developed and fixed, and then passed through drying rollers. Although the writing is rather imperfect in formation it is quite legible enough for most messages, but trouble occasionally occurs with messages containing figures, owing to confusion arising from the similarity of the figures, 3, 5, and 8. The whole process is carried out with such rapidity that 40,000 or even more words can be transmitted easily in an hour.
One of the most remarkable of present-day telegraphs is the Creed high-speed automatic printing telegraph.138 This has been devised to do away with hand working as far as possible, and to substitute quicker and more accurate automatic methods. In this system a perforated paper tape is produced by a keyboard perforator at the sending station. This tape is just ordinary Wheatstone tape, its perforations representing in the Morse code the message to be transmitted; and the main advantage of the Creed perforator over the three-key punching machine already described lies in the ease and speed with which it can be worked. The keyboard contains a separate key for each letter or signal of the Morse code, and the pressing of any key brings into operation certain punches which make the perforations corresponding to that particular letter. The perforator can be worked by any one who understands how to use an ordinary typewriter, and a speed of about 60 words a minute can be maintained by a fairly skilful operator. If desired a number of tapes may be perforated at the same time.
The tape prepared in this way is passed through a Wheatstone transmitter, and long or short currents, according to the arrangement of the perforations, are sent out along the telegraph line. At the receiving station these signals operate a receiving perforator. This machine produces another perforated tape, which is an exact copy of the tape at the sending station, and it turns out this duplicate tape at the rate of from 150 to 200 words a minute. There are two forms of this receiving perforator, one worked entirely by electricity, and the other by a combination of electricity and compressed air, both forms serving the same purpose. The duplicate tape is then passed through an automatic printer, which reproduces the message in large Roman characters on a paper tape. The printer works at a speed of from 80 to about 100 words a minute, and the printed tape is pasted on a telegraphic139 form by a semi-automatic process, and the message is then ready for delivery. Plate XI. shows a specimen of the tape from the receiving perforator, and the corresponding translation as turned out by the printer. This message formed part of a leading article in the Daily Mail. Some idea of the wonderful capabilities of the Creed system may be gained from the fact that by means of it practically the whole contents of the Daily Mail are telegraphed every night from London to Manchester and Paris, for publication next morning.
One of the most remarkable features about present-day telegraphy is the ease with which two or more messages can be sent simultaneously over one line. Duplex telegraphy, or the simultaneous transmission of two separate messages in opposite directions over one wire, is now practised on almost every line of any importance. At first sight duplex telegraphy seems to be an impossibility, for if we have two stations, one at each end of a single wire, and each station fitted with a transmitter and a receiver, it appears as if each transmitter would affect not only the receiver at the opposite end of the wire, but also the receiver at its own end, thus causing hopeless confusion when both transmitters were in use at the same time. This actually would be the case with ordinary telegraphic methods, but by the use of a special arrangement all confusion in working is avoided.
PLATE XI.
By permission of
Creed, Bille & Co. Ltd.
SPECIMEN OF THE WORK OF THE CREED HIGH-SPEED PRINTING TELEGRAPH.
We have seen that a magnetic needle is deflected by a current passing through a coil of wire placed round it, and that the direction in which the needle is deflected depends upon the direction of the current in the coil. Now suppose we place round the needle two coils of wire, wound so that the current in one flows in a direction opposite to that of the current in the other. Then, if we pass two equal currents, one through each coil, it is evident that they will140 neutralize one another, so that the needle will not be deflected at all. In a duplex system one end of one of these coils is connected to earth, say to a copper plate buried in the ground, and one end of the other to the line wire. The two remaining ends are arranged as branches leading off from a single wire connected with the transmitting key. The whole arrangement of coils and needle is repeated at the other end of the line. If now the transmitting key at station A is pressed, the circuit is closed and a current flows along the single wire, and then divides into two where the wire branches, half of it taking the path through one coil and half the path through the other. Equal currents thus flow through the oppositely wound coils, and the needle at station A is not deflected. Leaving the coils, one of these equal currents flows away to earth, while the other passes out along the line wire. On its arrival at station B the current is able to pass through only one of the coils round the needle, and consequently the needle is deflected and the signal given. In this way the transmitting operator at station A is able to signal to station B without affecting the receiver at his own end, and similarly the operator at station B can transmit to A without affecting the B receiver. Thus there can be no confusion whether the transmitters are worked at different times or simultaneously, for each transmitter affects only the receiver at the opposite end of the line. The diagram in Fig. 30 will help to make clearer the general principle. K and K¹ are the two transmitting keys which close the circuit, and C and C¹ are the points at which the current divides into two. Instead of coils and needles, electro-magnets operating sounders may be used, such magnets having two separate and oppositely wound coils, acting in exactly the same way as the coils round the needles. The above description is of course only a rough outline of the141 method, and in practice matters are more complicated, owing to the necessity for carefully adjusted resistances and for condensers. There is also another and different method of duplexing a line, but we have not space to describe it. Duplex telegraphy requires two operators at each end of the line, one to send and the other to receive.
Diplex telegraphy is the simultaneous transmission of two separate messages in the same direction over one line. Without going into details it may be said that for this purpose two different transmitting keys are required, one of which alters the direction, and the other the strength of the current though the line wire. The receivers are arranged so that one responds only to a strong current, and the other only to a current in one particular direction. A line also may be quadruplexed, so that it is possible to transmit simultaneously two messages from each end, four operators being required at each station, two to transmit and two to receive. Systems of multiplex telegraphy have been devised by which very large numbers of messages can be sent at once over a single wire, and the Baudot multiplex telegraph has proved very successful.
The wires for telegraphic purposes may be conveyed either above or below the ground. Overground wires are142 carried on poles by means of insulators of porcelain or other non-conducting material, protected by a sort of overhanging screen. The wires are left bare, and they are generally made of copper, but iron is used in some cases. In underground lines the wires formerly were insulated by a covering of gutta-percha, but now paper is generally used. Several wires, each covered loosely with thoroughly dry paper, are laid together in a bundle, the whole bundle or cable being enclosed in a strong lead pipe. The paper coverings are made to fit loosely so that the wires are surrounded by an insulating layer of dry air. As many as 1200 separate wires are sometimes enclosed in one pipe. In order to keep telegraph lines in working order frequent tests are necessary, and the most important British Postal Telegraph lines are tested once a week between 7.30 and 7.45 a.m. The earth is generally used for the return circuit in telegraphy, and the ends of the return wires are connected either to metal plates buried in the ground to a depth at which the earth is permanently moist, or to iron gas or water pipes. The current for telegraph working on a small scale is usually supplied by primary cells, the Daniell cell being a favourite for this purpose. In large offices the current is generally taken from a battery of storage cells.
During the early days of telegraphy, overhead lines were a source of considerable danger when thunderstorms were taking place. Lightning flashes often completely wrecked the instruments, giving severe shocks to those in the vicinity, and in a few cases operators were killed at their posts. Danger of this kind is now obviated by the use of contrivances known as lightning arresters. There are several forms of these, but only one need be mentioned. The main features of this are two metal plates separated slightly from one another, so that there is a small air gap between them. One plate is connected to the line wire,143 and the other to earth. Almost all lightning flashes consist of an oscillatory discharge, that is one which passes a number of times backwards and forwards between a cloud and the earth. A very rapidly alternating discharge of this kind finds difficulty in passing along the line wire, being greatly impeded by the coils of wire in the various pieces of apparatus; and although the resistance of this air gap is very high, the lightning discharge will cross the gap sooner than struggle along the line wire. In this way, when a flash affects the line, the discharge jumps the gap between the plates of the arrester and passes away harmlessly to earth, without entering the telegraph office at all. As was mentioned in Chapter III., the prevalence of magnetic storms sometimes renders telegraph lines quite unworkable for a time, but although such disturbances cause great delay and general inconvenience, they are not likely to be at all dangerous. It is often possible to maintain telegraphic communication during magnetic disturbances by using two lines to form a complete metallic loop, so that there is no earth return.
The story of submarine telegraphy is a wonderful record of dogged perseverance in the face of tremendous obstacles and disastrous failures. It would be of no interest to trace the story to its very beginning, and so we will commence with the laying of the first cable across the English Channel from Dover to Calais, in 1850. A single copper wire covered with a layer of gutta-percha half an inch thick was used, and leaden weights were attached to it at intervals of one hundred yards, the fixing of each weight necessitating the stoppage of the cable-laying ship. The line was laid successfully, but it failed after working for a single day, and it afterwards turned out that a Boulogne fisherman had hauled up the cable with his trawl. This line proved that telegraphic communication between England and France was possible, but the enterprise was assailed with every imaginable kind of abuse and ridicule. It is said that some people really believed that the cable was worked in the style of the old-fashioned house bell, and that the signals were given by pulling the wire! In the next year another attempt was made by Mr. T. R. Crampton, a prominent railway engineer, who himself contributed half of the £15,000 required. The form of cable adopted by him consisted of four copper wires, each covered with two layers of gutta-percha, and the four enclosed in a covering formed of ten galvanized iron wires wound spirally round them.145 The line proved a permanent success, and this type of cable, with certain modifications, is still in use. In 1852 three attempts were made to connect England and Ireland, but the first two failed owing to the employment of cables too light to withstand the strong tidal currents, and the third was somehow mismanaged as regards the paying-out, so that there was not enough cable to reach across. A heavier cable was tried in the next year, and this was a lasting success.
The success of these two cables led to the laying of many other European cables over similar distances, but we must now pass on to a very much bigger undertaking, the laying of the Atlantic cable. In 1856 the Atlantic Telegraph Company was formed, with the object of establishing and working telegraphic communication between Ireland and Newfoundland, the three projectors being Messrs. J. W. Brett, C. T. Bright, and C. W. Field. The British and the United States Governments granted a subsidy, in return for which Government messages were to have priority over all others, and were to be transmitted free. The objections launched against the scheme were of course many, some of them making very amusing reading. It is however very strange to find so eminent a scientist as Professor Airy, then Astronomer Royal, seriously stating that it was a mathematical impossibility to submerge a cable safely to such depths, and that even if this could be done, messages could not be transmitted through such a great length of cable.
It was estimated that a length of about 2500 nautical miles would be enough to allow for all contingencies, and the construction of the cable was commenced in February 1857, and completed in June of that year. It is difficult to realize the gigantic nature of the task of making a cable of such dimensions. The length of copper wire used in146 making the conductor was 20,500 miles, while the outer sheathing took 367,500 miles of iron wire; the total length of wire used being enough to go round the Earth thirteen times. The cable was finally stowed away on board two warships, one British and the other American.
The real troubles began with the laying of the cable. After landing the shore end in Valentia Bay, the paying-out commenced, but scarcely had five miles been laid when the cable caught in the paying-out machinery and parted. By tracing it from the shore the lost end was picked up and spliced, and the paying-out began again. Everything went well for two or three days, and then, after 380 miles had been laid, the cable snapped again, owing to some mismanagement of the brakes, and was lost at a depth of 2000 fathoms. The cable had to be abandoned, and the ships returned to Plymouth.
In the next year, 1858, another attempt was made, with new and improved machinery and 3000 miles of cable, and this time it was decided that the two ships should start paying-out from mid-ocean, proceeding in opposite directions towards the two shores after splicing their cables. On the voyage out the expedition encountered one of the most fearful storms on record, which lasted over a week, and the British man-of-war, encumbered with the dead weight of the cable, came near to disaster. Part of the cable shifted, and those on board feared that the whole of the huge mass would break away and crash through the vessel’s side. Sixteen days after leaving Plymouth the rendezvous was reached, the cables were spliced and the ships started. After the British ship had paid out 40 miles it was discovered that the cable had parted at some distance from the ship, and the vessels once more sought each other, and spliced again ready for another effort. This time the cable parted after each vessel had paid out a little more than147 100 miles, and the ships were forced to abandon the attempt.
The failure of this second expedition naturally caused great discouragement, and the general feeling was that the whole enterprise would have to be given up. The chairman of the company recommended that in order to make the best of a bad job the remainder of the cable should be sold, and the proceeds divided amongst the shareholders, but after great efforts on the part of a dauntless few who refused to admit defeat, it was finally decided to make one more effort. No time was lost, and on 17th July 1858 the vessels again sailed from Queenstown. As before, the cables were spliced in mid-ocean, and this time, after many anxious days, many false alarms, and one or two narrow escapes from disaster through faulty pieces of cable discovered almost too late, the cable was landed successfully on both shores of the Atlantic early in August.
The Atlantic cable was now an accomplished fact, and dismal forebodings were turned into expressions of extravagant joy. The first messages passed between Queen Victoria and the President of the United States, and amongst the more important communications was one which prevented the sailing from Canada of two British regiments which had been ordered to India during the Mutiny. In the meantime the Indian Mutiny had been suppressed, and therefore these regiments were not required. The dispatch of this message saved a sum of about £50,000. The prospects of the cable company seemed bright, but after a short time the signals began to grow weaker and weaker, and finally, after about seven hundred messages had been transmitted, the cable failed altogether. This was a great blow to the general public, and we can imagine the bitter disappointment of the engineers and electricians who had laboured so hard and so long to bring148 the cable into being. It was a favourable opportunity for the croakers, and amongst a certain section of the public doubts were expressed as to whether any messages had been transmitted at all.
A great consultation of experts took place with the object of determining the cause of the failure, and the unanimous opinion was that the cable had been injured by the use of currents of too great intensity. Some years elapsed before another attempt could be made, but the idea was never abandoned, and a great deal of study was given to the problems involved. Mr. Field, the most energetic of the original projectors, never relaxed his determination that the cable should be made a success, and he worked incessantly to achieve his ambition. It is said that in pursuance of his object he made sixty-four crossings of the Atlantic, and considering that he suffered greatly from sea-sickness every time this shows remarkable pluck and endurance.
In 1865, new capital having been raised, preparations were made for another expedition. It was now decided to use only one vessel for laying the cable, and the Great Eastern was chosen for the task. This vessel had been lying idle for close on ten years, owing to her failure as a cargo boat, but her great size and capacity made her most suitable for carrying the enormous weight of the whole cable. In July 1865 the Great Eastern set sail, under the escort of two British warships. When 84 miles had been paid out, a fault occurred, and after drawing up about 10½ miles it was found that a piece of iron wire had pierced the coating of the cable. The trouble was put right, and the paying-out continued successfully until over 700 miles had been laid, when another fault appeared. The cable was again drawn in until the fault was reached, and another piece of iron was found piercing clean through.149 It was evident that two such pieces of iron could not have got there by accident, and there was no doubt that they had been inserted intentionally by some malicious scoundrel, most likely with the object of affecting the company’s shares. A start was made once more, and all went well until about two-thirds of the distance had been covered, when the cable broke and had to be abandoned after several nearly successful attempts to recover it.
In spite of the loss, which amounted to £600,000, the energetic promoters contrived to raise fresh capital, and in 1866 the Great Eastern started again. This effort was completely successful, and on 28th July 1866 the cable was landed amidst great rejoicing. The following extracts from the diary of the engineer Sir Daniell Gooch, give us some idea of the landing.
“Is it wrong that I should have felt as though my heart would burst when that end of our long line touched the shore amid the booming of cannon, the wild, half-mad cheers and shouts of the men?... I am given a never-dying thought; that I aided in laying the Atlantic cable.... The old cable hands seemed as though they could eat the end; one man actually put it into his mouth and sucked it. They held it up and danced round it, cheering at the top of their voices. It was a strange sight, nay, a sight that filled our eyes with tears.... I did cheer, but I could better have silently cried.”
This time the cable was destined to have a long and useful life, and later in the same year the 1865 cable was recovered, spliced to a new length, and safely brought to land, so that there were now two links between the Old World and the New. It was estimated that the total cost of completing the great undertaking, including the cost of the unsuccessful attempts, was nearly two and a half millions sterling. Since 1866 cable-laying has proceeded very150 rapidly, and to-day telegraphic communication exists between almost all parts of the civilized world. According to recent statistics, the North Atlantic Ocean is now crossed by no less than 17 cables, the number of cables all over the world being 2937, with a total length of 291,137 nautical miles.
Before describing the actual working of a submarine cable, a few words on cable-laying may be of interest. Before the cable-ship starts, another vessel is sent over the proposed course to make soundings. Galvanized steel pianoforte wire is used for sounding, and it is wound in lengths of 3 or 4 nautical miles on gun-metal drums. The drums are worked by an engine, and the average speed of working is somewhere about 100 fathoms a minute in descending, and 70 fathoms a minute in picking up. Some idea of the time occupied may be gained from a sounding in the Atlantic Ocean which registered a depth of 3233 fathoms, or nearly 3½ miles. The sinker took thirty-three minutes fifty seconds in descending, and forty-five minutes were taken in picking up. The heavy sinker is not brought up with the line, but is detached from the sounder by an ingenious contrivance and left at the bottom. The sounder is fitted with an arrangement to bring up a specimen of the bottom, and also a sample of water; and the temperature at any depth is ascertained by self-registering thermometers.
When the soundings are complete the cable-ship takes up her task. The cable is coiled in tanks on board, and is kept constantly under water to prevent injury to the gutta-percha insulation by overheating. As each section is placed in the tank, the ends of it are led to a test-box, and labelled so that they can be easily recognized. Insulated wires run from the test-box to instruments in the testing-room, so that the electrical condition of the whole151 cable is constantly under observation. During the whole time the cable is being laid its insulation is tested continuously, and at intervals of five minutes signals are sent from the shore end to the ship, so that a fault is instantly detected. The cable in its tank is eased out by a number of men, and mechanics are posted at the cable drums and brakes, while constant streams of water cool the cable and the bearings and surfaces of the brakes. The tension, as shown by the dynamometer, is at all times under careful observation. When it becomes necessary to wind back the cable on account of some fault, cuts are made at intervals of a quarter or half a mile, tests being made at each cutting until the fault is localized in-board. As soon as the cable out-board is found “O.K.,” the ends are spliced up and the paying-out begins again. If the cable breaks from any cause, a mark-buoy is lowered instantly on the spot, and the cable is grappled for. This may take a day or two in good weather, but a delay of weeks may be caused by bad weather, which makes grappling impossible.
The practical working of a submarine cable differs in many respects from that of a land telegraph line. The currents used in submarine telegraphy are extremely small, contrary to the popular impression. An insulated cable acts like a Leyden jar, in the sense that it accumulates electricity and does not quickly part with it, as does a bare overhead wire. In the case of a very long cable, such as one across the Atlantic, a current continues to flow from it for some time after the battery is disconnected. A second signal cannot be sent until the electricity is dissipated and the cable clear, and if a powerful current were employed the time occupied in this clearing would be considerable, so that the speed of signalling would be slow. Another objection to a powerful current is that if any flaw exists in the insulation of the cable, such a current is apt152 to increase the flaw, and finally cause the breakdown of the line.
The feebleness of the currents in submarine telegraphy makes it impossible to use the ordinary land telegraph receiver, and a more sensitive instrument known as the “mirror receiver” is used. This consists of a coil of very fine wire, in the centre of which a tiny magnetic needle is suspended by a fibre of unspun silk. A magnet placed close by keeps the needle in one position when no current is flowing. As the deflections of the needle are extremely small, it is necessary to magnify them in some way, and this is done by fixing to the needle a very small mirror, upon which falls a ray of light from a lamp. The mirror reflects this ray on to a sheet of white paper marked with a scale, and as the mirror moves along with the needle the point of light travels over the paper, a very small movement of the needle causing the light to travel some inches. The receiving operator sits in a darkened room and watches the light, which moves to the right or to the left according to the direction of the current. The signals employed are the same as those for the single-needle instrument, a movement to the left indicating a dot, and one to the right a dash. In many instruments the total weight of magnet and mirror is only two or three grains, and the sensitiveness is such that the current from a voltaic cell consisting of a lady’s silver thimble with a few drops of acidulated water and a diminutive rod of zinc, is sufficient to transmit a message across the Atlantic.
The mirror receiver cannot write down its messages, and for recording purposes an instrument invented by Lord Kelvin, and called the “siphon recorder,” is used. In this instrument a coil of wire is suspended between the poles of an electro-magnet, and to it is connected by means of a silk fibre a delicate glass tube or siphon. One end of the153 siphon dips into an ink-well, and capillary attraction causes the ink to fill the siphon. The other end of the siphon almost touches a moving paper ribbon placed beneath it. The ink and the paper are oppositely electrified, and the attraction between the opposite charges causes the ink to spurt out of the siphon in very minute drops, which fall on to the paper. As long as no current is passing the siphon remains stationary, but when a current flows from the cable through the coil, the latter moves to one side or the other, according to the direction of the current, and makes the siphon move also. Consequently, instead of a straight line along the middle of the paper ribbon, a wavy line with little peaks on each side of the centre is produced by the minute drops of ink. This recorder sometimes refuses to work properly in damp weather, owing to the loss of the opposite charges on ink and paper, but a later inventor, named Cuttriss, has removed this trouble by using a siphon kept constantly in vibration by electro-magnetism. The ordinary single-needle code is used for the siphon recorder.
In our younger days most of us have amused ourselves with a toy telephone consisting of a long piece of string having each end passed through the bottom of a little cardboard box, and secured by a knot. If the string is stretched tightly this arrangement enables whispered words to be heard at a distance of 20 or 30 yards. Simple as is this little toy, yet it is probable that many people would be rather nonplussed if asked suddenly to explain how the sounds travel along the string from one box to the other. If the toy had some complicated mechanism most likely every one would want to know how it worked, but the whole thing is so extremely simple that generally it is dismissed without a thought.
If we strike a tuning-fork and then hold it close to the ear, we hear that it produces a sound, and at the same time, from a slight sensation in the hand, we become aware that the fork is in vibration. As the fork vibrates it disturbs the tiny particles of air round it and sets them vibrating, and these vibrations are communicated from one particle to another until they reach the drum of the ear, when that also begins to vibrate and we hear a sound. This is only another way of saying that the disturbances of the air caused by the vibrations of the tuning-fork are propagated in a series of waves, which we call “sound waves.” Sound is transmitted better through liquids than through the air, and155 better still through solids, and this is why words spoken so softly as to be inaudible through the air at a distance of, say, 100 feet, can be heard fairly distinctly at that distance by means of the string telephone. The sound reaches us along the string in exactly the same way as through the air, that is, by means of minute impulses passed on from particle to particle.
A more satisfactory arrangement than the string telephone consists of two thin plates of metal connected by a wire which is stretched very tightly. Words spoken close to one plate are heard by a listener at the other plate up to a considerable distance. Let us try to see exactly what takes place when this apparatus is used. In the act of speaking, vibrations are set up in the air, and these in turn set up vibrations in the metal plate. The vibrations are then communicated to the wire and to the metal plate at the other end, and finally the vibrations of this plate produce vibrations in the air between the plate and the listener, and the sound reaches the ear.
This simple experiment shows the remarkable fact that a plate of metal is able to reproduce faithfully all the vibrations communicated to it by the human voice, and from this fact it follows that if we can communicate the vibrations set up in one plate by the voice, to another plate at a distance of 100 miles, we shall be able to speak to a listener at the further plate just as if he were close to us. A stretched string or wire transmits the vibrations fairly well up to a certain distance, but beyond this distance the vibrations become weaker and weaker until no sound at all reaches the air. By the aid of electricity, however, we can transmit the vibrations to a tremendous distance, the range being limited only by the imperfections of our apparatus.
The first attempt at the construction of an electric telephone, that is an instrument by means of which the156 vibrations set up by the voice or by a musical instrument are transmitted by electricity, was made in 1860 by Johann Philipp Reis, a teacher in a school at Friedrichsdorf, in Germany. His transmitting apparatus consisted of a box having a hole covered by a tightly stretched membrane, to which was attached a little strip of platinum. When the membrane was made to vibrate by sounds produced close to the box, the strip of platinum moved to and fro against a metal tip, which closed the circuit of a battery. The receiver was a long needle of soft iron round which was wound a coil of wire, and the ends of the needle rested on two little bridges of a sounding box. The vibrations of the membrane opened and closed the circuit at a great speed, and the rapid magnetization of the needle produced a tone of the same pitch as the one which set the membrane vibrating. This apparatus transmitted musical sounds and melodies with great accuracy, but there is considerable difference of opinion as to whether it was able to transmit speech. Professor Sylvanus Thompson distinctly states that Reis’s telephone could and did transmit speech, but other experts dispute the fact. We probably shall be quite safe in concluding that this telephone did transmit speech, but very imperfectly. In any case it is certain that the receiver of this apparatus is not based on the same principle as the modern telephone receiver.
Some years later Graham Bell, Professor of Vocal Physiology in the University of Boston, turned his attention to the electric transmission of speech, probably being led to do so from his experiments in teaching the deaf and dumb. His apparatuses shown at an exhibition in Philadelphia in 1876, consisted of a tube having one end open for speaking into, and the other closed by a tightly stretched membrane to which was attached a very light steel bar magnet. The vibrations set up in the membrane by the voice made the157 little magnet move to and fro in front of the poles of an electro-magnet, inserted in a battery circuit, thus inducing currents of electricity in the coils of the latter magnet. The currents produced in this way varied in direction and strength according to the vibratory movements of the membrane, and being transmitted along a wire they produced similar variations in current in another electro-magnet in the receiver. The currents produced in this manner in the receiver set up vibrations in a metal diaphragm in front of the magnet poles, and so the words spoken into the transmitter were reproduced.
Since the year 1876 the telephone has developed with remarkable rapidity, and an attempt to trace its growth would involve a series of detailed descriptions of closely similar inventions which would be quite uninteresting to most readers. Now, therefore, that we have introduced the instruments, and seen something of its principle and its early forms, it will be most satisfactory to omit the intermediate stages and to go on to the telephone as used in recent years. The first telephone to come into general use was the invention of Graham Bell, and was an improved form of his early instrument just described. A case or tube of ebonite, which forms the handle of the instrument, contains a steel bar magnet having a small coil of insulated wire at the end nearest the mouthpiece of the tube, the ends of the coil passing along the tube to be connected to the line wires. Close to the coil end of the magnet, and between it and the mouthpiece, is fixed a diaphragm of thin sheet-iron. A complete outfit consists of two of these instruments connected by wires, and it will be noticed that no battery is employed.
The air vibrations set up by the voice make the diaphragm vibrate also, so that it moves backwards and forwards. These movements are infinitesimally small, but158 they are sufficient to affect the lines of force of the magnet to such an extent that rapidly alternating currents of varying degrees of strength are set up in the coil and sent along the line wire. On arriving at the receiver these currents pass through the coil and produce rapid variations in the strength of the magnet, so that instead of exerting a uniform attraction upon the iron diaphragm, the magnet pulls it with constantly varying force, and thus sets it vibrating. The air in front of the diaphragm now begins to vibrate, and the listener hears a reproduction of the words spoken into the transmitter. The way in which the fluctuations of the current make the second diaphragm vibrate exactly in accordance with the first is very remarkable, and it is important to notice that the listener does not hear the actual voice of the speaker, but a perfect reproduction of it; in fact, the second diaphragm speaks.
The reader probably will be surprised to be told that the transmitter and the receiver of a magneto-electric telephone are respectively a dynamo and electric motor of minute proportions. We provide a dynamo with mechanical motion and it gives us electric current, and by sending this current through an electric motor we get mechanical motion back again. In the transmitter of the telephone just described, the mechanical motion is in the form of vibrations of the metal diaphragm, which set up currents of electricity in the coil of wire round the magnet, so that the transmitter is really a tiny dynamo driven by the voice. The receiver is provided with electric current from the transmitter, and it converts this into mechanical motion in the diaphragm, so that the receiver is a little electric motor.
Transmitters of the type just described work well over short distances, but the currents they produce are too feeble for transmission over a very long wire, and on this account they have been superseded by transmitters on the microphone159 principle. A microphone is an instrument for making extremely small sounds plainly audible. If a current is passed through a box containing loose bits of broken carbon, it meets with great resistance, but if the bits of carbon are compressed their conducting power is considerably increased. Even such slight differences in pressure as are produced by vibrating the box will affect the amount of current passing through the carbon. If this current is led by wires to an ordinary telephone receiver the arrangement becomes a simple form of microphone. The vibrations of the box vary the resistance of the carbon, and the corresponding variations in the current set up vibrations in the receiver, but in a magnified form. The smallest sound vibrations alter the resistance of the carbon, and as these vibrations are magnified in the receiver, the reproduced sound is magnified also. The footsteps of a fly may be heard quite distinctly by means of a good microphone, and the ticks of a watch sound like the strokes of a hammer.
By means of this power of magnifying vibrations a microphone transmitter can be used on a line of tremendous length, where an ordinary Bell transmitter would be utterly useless. The general features of this transmitter, Fig. 31, are a diaphragm and a block of carbon separated slightly from one another, the intervening space being filled with granules of carbon. These are enclosed in a case of ebonite having a mouthpiece in front and two terminals behind, one terminal being connected with the carbon block160 and the other with the diaphragm. From these terminals wires are led to a battery and to the receiver, which is of the Bell type. The current has to pass through the carbon granules, and the movements of the diaphragm when set in vibration by the voice vary the pressure upon the granules, and in this way set up variations in the current. Carbon dust also may be used instead of granular carbon, and then the instrument is called a “dust transmitter.”
It is usual to have a transmitter and a receiver on one handle for the greater convenience of the user. The arrangement is shown in Fig. 32, and it will be seen that when the user places the receiver to his ear the transmitting mouthpiece is in position for speaking. The microphone with its carbon dust is placed at A, just below the mouthpiece, and the earpiece or receiver B contains a little magnet and coil with a diaphragm in front, so that it is really a Bell instrument. A little lever will be noticed at C. This is a switch which brings the transmitter into circuit on being pressed with the finger.
It is now time to see something of the arrangement and working of telephone systems. As soon as the telephone became a commercially practicable instrument the necessity for some means of inter-communication became evident, and the telephone exchange was brought into being. The first exchange was started in 1877, in Boston, but this was a very small affair and it was run on very crude lines. When one subscriber wished to communicate with another he had to call up an operator, who received the message and repeated it to the person for whom it was intended;161 there was no direct communication between the various subscribers’ instruments. As the number of users increased it became necessary to devise some system whereby each subscriber could call the attention of an operator at the central station, and be put into direct communication with any other subscriber without delay; and the exchange system of to-day, which fulfils these requirements almost to perfection, is the result of gradual improvements in telephone methods extending over some thirty-five years.
When a subscriber wishes to telephone, he first must call up the operator at the exchange. Until comparatively recently this was done by turning a handle placed at the side of the instrument. This handle operated a little dynamo, and the current produced caused a shutter at the exchange to drop and reveal a number, just as in the electric bell indicator, so that the operator knew which instrument was calling. As soon as the operator answered the call, the shutter replaced itself automatically. The signal to disconnect was given in the same way, but the indicator was of a different colour in order to prevent confusion with a call signal. These handle-operated telephones are still in common use, but they are being replaced by instruments which do away with handle-turning on the part of the subscriber, and with dropping shutters at the exchange. In this latest system all that the subscriber has to do is to lift his telephone from its rest, when a little electric lamp lights up at the exchange; and when he has finished his conversation he merely replaces the telephone, and again a little lamp glows.
We must now see what happens at the exchange when a call is made. Each operator has control of a number of pairs of flexible cords terminating in plugs, the two cords of each pair being electrically connected. The plugs rest162 on a shelf in front of the operator, and the cords pass through the shelf and hang down below it. If a plug is lifted, the cord comes up through the shelf, and it is drawn back again by a weight when the plug is not in use. Two lamps are provided for each pair of cords, one being fixed close to each cord. The two wires leading from each subscriber’s instrument are connected to a little tube-shaped switch called a “jack,” and each jack has a lamp of its own. When a subscriber lifts his telephone from its rest a lamp glows, and the operator inserts one plug of a pair into the jack thus indicated, and the lamp goes out automatically. She then switches on her telephone to the caller and asks for the number of the subscriber to whom he wishes to speak; and as soon as she gets this she inserts the other plug of the pair into the jack belonging to this number. By a simple movement she then rings up the required person by switching on the current to his telephone bell.
Here comes in the use of the two lamps connected with the cords. As long as the subscribers’ telephones are on their rests the lamps are lighted, but as soon as they are lifted off the lamps go out. The caller’s telephone is of course off its rest, and so the lamp connected with the first cord is not lit; but until the subscriber rung up lifts his instrument to answer the call, the lamp of the second cord remains lit, having first lighted up when the plug was inserted in the jack of his number. When the second lamp goes out the operator knows that the call has been responded to, and that the two subscribers are in communication with each other. Having finished their conversation, both subscribers replace their instruments on the rests, whereupon both lamps light up, informing the operator that she may disconnect by pulling out the plugs.
It is manifestly impossible for one operator to attend to the calls of all the subscribers in the exchange, and so a163 number of operators are employed, each one having to attend to the calls of a certain number of subscribers. At the same time it is clear that each operator may be called upon to connect one of her subscribers to any other subscriber in the whole exchange. In order to make this possible the switchboard is divided into sections, each having as many jacks as there are lines in the exchange, so that in this respect all the sections are multiples of each other, and the whole arrangement is called a “multiple switchboard,” the repeated jacks being called “multiple jacks.” Then there are other jacks which it is not necessary to duplicate. We have seen that when a subscriber calls the exchange a lamp glows, and the operator inserts a plug into the jack beside the lamp, in order to answer the call and ascertain what number is required. These are called “answering jacks,” and the lamp is the line signal. It is usual to have three operators to each section of the switchboard, and each operator has charge of so many answering jacks, representing so many subscribers. At the same time she has access to the whole section, so that she can connect any of her subscribers to any other line in the exchange.
When a number is called for, the operator must be able to tell at once whether the line is free or not. The jack in her section may be unoccupied, but she must know also whether all the multiple jacks belonging to that number are free, for an operator at another section may have connected the line to one of her subscribers. To enable an operator to ascertain this quickly an electrical test is provided. When two lines are connected, the whole of the multiple jacks belonging to each are charged with electricity, and if an operator at any section touches one of these jacks with a plug, a current through her receiver makes a click, and on hearing the click she knows that the line is engaged.164 The testing takes an extremely short time, and this is why a caller receives the reply, “Number engaged,” so promptly that he feels inclined to doubt whether the operator has made any attempt at all to connect him up to the number.
In order that an operator may have both hands free to manipulate the plugs, her telephone receiver is fixed over one ear by a fastening passing over her head, and the transmitter is hung from her shoulders so as to be close to her mouth.
In telegraphy it is the rule to employ the earth for the return part of the circuit, but this is not customary in telephony. The telephone is a much more sensitive instrument than the telegraph, and a telephone having an earth return is subject to all kinds of strange and weird noises which greatly interfere with conversation. These noises may be caused by natural electrical disturbances, or by the proximity of telegraph and other wires conveying electric currents. On this account telephone lines are made with a complete metallic circuit. As in telegraphy, protection from lightning flashes is afforded by lightning arresters. The current for the working of a telephone exchange is supplied from a central battery of accumulators, and also from dynamos.
PLATE XII.
By permission of
Craven Brothers Ltd.
LARGE ELECTRIC TRAVELLING CRANE AT A RAILWAY WORKS.
Although the manual exchange telephone system of to-day works with remarkable efficiency, it has certain weak points. For instance, if an operator cares to do so, she can listen to conversations between subscribers, so that privacy cannot be assured. As a matter of fact, the operators have little time for this kind of thing, at any rate during the busy hours of the day, and as a rule they are not sufficiently interested in other people’s affairs to make any attempt to listen to their remarks. The male operators who work through the slack hours of the night are occasionally guilty of listening. Some time ago the writer had to ring up a friend in the very early morning, and during the conversation this gentleman asked what time it was. Before the writer had time to get a word out, a deep bass voice from the exchange replied, “Half-past two.” Little incidents of this sort remind one that it is not wise to speak too freely by telephone. Then again operators are liable to make wrong connexions through faulty hearing of the number called for, and these are equally annoying to the caller and to the person rung up in mistake. Many other defects might be mentioned, but these are sufficient to show that the manual system is not perfect.
For a long time inventors have been striving to do away with all such defects by abolishing the exchange operators, and substituting mechanism to work the exchanges automatically, and during the last few years the system of the Automatic Electric Company, of Chicago, has been brought to great perfection. This system is in extensive use in the United States, and is employed in two or three exchanges in this country. Unfortunately the mechanism of this system is extremely complicated, so that it is impossible to describe it fully in a book of this kind; but some idea of the method of working may be given without entering into technical details.
Each subscriber’s telephone instrument is fitted with a dial which turns round on a pivot at its centre. This dial has a series of holes round its circumference, numbered consecutively from 1 to 9, and 0. Suppose now a subscriber wishes to speak to a friend whose telephone number is 2583. He removes the receiver from its hook, places his finger in the hole marked 2, and turns the dial round in a clockwise direction until his finger comes in contact with a stop. He then removes his finger, and the dial automatically returns to its original position. He then places his finger in the hole marked 5, and again turns the166 dial as far as the stop, and when the dial has returned to the normal position he repeats the process with his finger placed successively in the holes marked 8 and 3. He now places the receiver to his ear, and by the time he has done this the automatic mechanism at the exchange has made the necessary connexions, and has rung the bell of subscriber number 2583. On completing the conversation each subscriber returns his receiver to its hook, and the exchange mechanism returns to its normal position.
The turning of the dial by the finger coils up a spring, and this spring, acting along with a speed governor, makes the dial return to its first position at a certain definite speed as soon as the finger is removed. During this retrograde movement a switch automatically sends out into the line a certain number of impulses, the number being determined by the hole in which the finger is placed. In the case supposed, groups of two, five, eight, and three impulses respectively would be sent out, each group separated from the next by an interval during which the subscriber is turning the dial.
Now let us see what takes place at the exchange. The subscriber’s instrument is connected to a mechanical arrangement known as a “line switch.” This switch is brought into play by the act of removing the receiver from its hook, and it then automatically connects the subscriber’s line to what is called a “first selector” switch. The group of two impulses sent out by the first turning of the dial raises this first selector two steps, and it then sweeps along a row of contacts connected to “trunks” going to the 2000 section. Passing by occupied trunks, it finds an idle one, and so connects the line to an idle “second selector.” This selector is operated by the second group of impulses, five in number, and after being raised five steps it acts like the first selector, and finds an idle167 trunk leading to the 2500 section. This places the caller’s line in connexion with still another switch called a “connector,” and this switch, operated by the remaining groups of eight and three impulses, finds the required tens section, and selects the third member of that section. If the number 2583 is disengaged, the connector switch now sends current from the central battery to this instrument, thus ringing its bell, and it also supplies speaking current to the two lines during the conversation, restores the exchange mechanism to its original condition as soon as the conversation is ended and the subscribers have hung up their receivers, and registers the call on the calling subscriber’s meter. If the connector finds the number engaged, it sends out an intermittent buzzing sound, to inform the caller of the fact. All these operations take time to describe, even in outline, but in practice they are carried out with the utmost rapidity, each step in the connecting-up process taking only a small fraction of a second.
For ordinary local calls the automatic system requires no operators at all, but for the convenience of users there are usually two clerks at the exchange, one to give any information required by subscribers, and the other to record complaints regarding faulty working. For trunk calls, the subscriber places his finger in the hole marked 0, and gives the dial one turn. This connects him to an operator at the trunk switchboard, who makes the required connexion and then calls him up in the usual way.
It might be thought that the complex mechanism of an automatic exchange would constantly be getting out of order, but it is found to work with great smoothness. Each automatic switchboard has a skilled electrician in attendance, and he is informed instantly of any faulty working by means of supervisory lamps and other signals. Even without these signals the attendant would be quickly168 aware of any breakdown, for his ear becomes so accustomed to the sounds made by the apparatus during the connecting-up, that any abnormal sound due to faulty connecting attracts his attention at once. However detected, the faults are put right immediately, and it often happens that a defective line is noted and repaired before the subscriber knows that anything is wrong.
On account of its high speed in making connexions and disconnexions, its absolute accuracy, and its privacy, the automatic telephone system has proved most popular wherever it has been given a fair trial. Its advantages are most obvious in large city exchanges where the traffic during business hours is tremendously heavy, and it is probable that before very long the automatic system will have replaced manual methods for all such exchanges.
The telephone system is more highly developed in the United States than in this country, and some of the exchanges have been made to do a great deal more than simply transmit messages. For instance, in Chicago there is a system by which a subscriber, on connecting himself to a special circuit, is automatically informed of the correct time, by means of phonographs, between the hours of 8 a.m. and 10 p.m. New York goes further than this however, and has a regular system of news circulation by telephone. According to Electricity, the daily programme is as follows: “8 a.m., exact astronomical time; 8 to 9 a.m., weather reports, London Stock Exchange news, special news item; 9 to 9.30 a.m., sales, amusements, business events; 9.45 to 10 a.m., personal news, small notices; 10 to 10.30 a.m., New York Stock Exchange and market news; 11.30 a.m. to 12 noon, local news, miscellaneous; 12 noon, exact astronomical time, latest telegrams, military and parliamentary news; 2 to 2.15 p.m., European cables; 1.15 to 2.30 p.m., Washington news; 2.30 to 2.45 p.m.,169 fashions, ladies’ news; 2.45 to 3.15 p.m., sporting and theatrical news; 3.15 to 3.30 p.m., closing news from Wall Street; 3.30 to 5 p.m., musical news, recitals, etc.; 5 to 6 p.m., feuilleton sketches, literary news; 8 to 10.30 p.m., selected evening performance—music, opera, recitations.” Considering the elaborate nature of this scheme one might imagine that the subscription would be high, but as a matter of fact it is only six shillings per month.
The telephone has proved of great value in mine rescue work, in providing means of communication between the rescue party and those in the rear. This end is achieved by means of a portable telephone, but as the members of a rescue party often wear oxygen helmets, the ordinary telephone mouthpiece is of no use. To overcome this difficulty the transmitter is fastened round the throat. The vibrations of the vocal cords pass through the wall of the throat, and thus operate the transmitter. The receiver is fixed over one ear by means of suitable head-gear, and the connecting wire is laid by the advancing rescuers. A case containing some hundreds of feet of wire is strapped round the waist, and as the wearer walks forward this wire pays itself out automatically.
By the time that the telephone came to be a really practical instrument, capable of communicating over long distances on land, the Atlantic telegraph cable was in operation, and an attempt was made to telephone from one continent to the other by means of it, but without success. In speaking of submarine telegraphy in Chapter XVII. we saw that the cable acts like a Leyden jar, and it was this fact that made it impossible to telephone through more than about 20 miles of cable, so that transatlantic telephony was quite out of the question. It was evident that little progress could be made in this direction unless some means could be devised for neutralizing this capacity effect, as it170 is called, of the cable, and finally it was discovered that this could be done by inserting at intervals along the cable a number of coils of wire. These coils are known as “loading coils,” and a cable provided with them is called a “loaded cable.” Such cables have been laid across various narrow seas, such as between England and France, and England and Ireland, and these have proved very successful for telephonic communication. The problem of transatlantic telephony however still remains to be solved. Experiments have been made in submarine telephony over a bare iron cable, instead of the usual insulated cable. Conversations have been carried on in this way without difficulty between Seattle, Washington, U.S.A., and Vashon Island, a total distance of about 11 miles, and it is possible that uninsulated cables may play an extremely important part in the development of submarine telephony.
In telegraphy messages not only may be received, but also recorded, by the Morse printer or one of its modifications, but in ordinary telephony there is no mechanical method of recording messages. This means that we can communicate by telephone only when we can call up somebody to receive the message at the other end, and if no one happens to be within hearing of the telephone bell we are quite helpless. This is always annoying, and if the message is urgent the delay may be serious. Several arrangements for overcoming this difficulty by means of automatic recording mechanism have been invented, but the only really successful one is the telegraphone.
This instrument is the invention of Waldemar Poulsen, whose apparatus for wireless telegraphy we shall speak of in the next chapter. The telegraphone performs at the same time the work of a telephone and of a phonograph. In the ordinary type of phonograph the record is made in the form of depressions or indentations on the surface of a cylinder of wax; these indentations being produced by a stylus actuated by vibrations set up in a diaphragm by the act of speaking. In the telegraphone the same result is obtained entirely by electro-magnetic action. The wax cylinder of the phonograph is replaced by a steel wire or ribbon, and the recording stylus by an electro-magnet.172 The steel ribbon is arranged to travel along over two cylinders or reels kept in constant rotation, and a small electro-magnet is fixed midway between the cylinders so that the ribbon passes close above it. This magnet is connected to the telephone line, so that its magnetism fluctuates in accordance with the variations in the current in the line. We have seen that steel retains magnetism imparted to it. In passing over the electro-magnet the steel ribbon is magnetized in constantly varying degrees, corresponding exactly with the variations in the line current set up by the speaker’s voice, and these magnetic impressions are retained by the ribbon. When the speaker has finished, the telephone line is disconnected, the ribbon is carried back to the point at which it started, and the apparatus is connected to the telephone receiver. The ribbon now moves forward again, and this time it acts like the speaker’s voice, the varying intensity of its magnetic record producing corresponding variations in the strength of the magnet, so causing the receiver diaphragm to reproduce the sounds in the ordinary way.
The magnetic record made in this manner is fairly permanent, and if desired it may be reproduced over and over again. In most cases, however, a permanent record is of no value, and so the magnetic impressions are obliterated in order that the ribbon may be used to take a new record. This can be done by passing a permanent magnet along the ribbon, but it is more convenient to have an automatic obliterating arrangement. This consists of another electro-magnet fixed close to the recording magnet, so that the ribbon passes over it before reaching the latter. The obliterating magnet is connected with a battery, and its unvarying magnetism destroys all traces of the previous record, and the ribbon passes forward to the recording magnet ready to receive new impressions.
173
For recording telephone messages the telegraphone is attached to the telephone instrument, and by automatically operated switches it is set working by a distant speaker. It records all messages received during the absence of its owner, who, on his return, connects it to his receiver, and thus hears a faithful reproduction of every word. By speaking into his instrument before going out, the owner can leave a message stating the time at which he expects to return, and this message will be repeated by the telegraphone to anybody ringing up in the meantime. The most recent forms of telegraphone are capable of recording speeches over an hour in length, and their reproduction is as clear as that of any phonograph, indeed in many respects it is considerably more perfect.
Another electrical apparatus for recording speech may be mentioned. This rejoices in the uncouth name of the Photographophone, and it is the invention of Ernst Ruhmer, a German. Its working is based upon the fact that the intensity of the light of the electric arc may be varied by sound vibrations, each variation in the latter producing a corresponding variation in the amount of light. In the photographophone the light of an arc lamp is passed through a lens which focuses it upon a moving photographic film. By speaking or singing, the light is made to vary in brilliance, and proportionate effects are produced in the silver bromide of the film. On developing the film a permanent record of the changes in the light intensity is obtained, in the form of shadings of different degrees of darkness. The film is now moved forward from end to end in front of a fairly powerful lamp. The light passes through the film, and falls upon a sort of plate made of selenium. This is a non-metallic substance which possesses the curious property of altering its resistance to an electric current according to the amount of light falling upon it;174 the greater the amount of light, the more current will the selenium allow to pass. The selenium plate is connected with a telephone receiver and with a battery. As the film travels along, its varying shadings allow an ever-changing amount of light to pass through and fall upon the selenium, which varies its resistance accordingly. The resulting variations in the current make the receiver diaphragm give out a series of sounds, which are exact reproductions of the original sounds made by the voice. The reproduction of speech by the photographophone is quite good, but as a rule it is not so perfect as with the telegraphone.
About ten years ago a German inventor, Professor A. Korn, brought out the first really practical method of telegraphing drawings or photographs. This invention is remarkable not only for what it accomplishes, but perhaps still more for the ingenuity with which the many peculiar difficulties of the process are overcome. Like the photographophone, Korn’s photo-telegraphic apparatus utilizes the power of selenium to alter its resistance with the amount of light reaching it.
Almost everybody is familiar with the terms “positive” and “negative” as used in photography. The finished paper print is a positive, with light and shade in the correct positions; while the glass plate from which the print is made is a negative, with light and shade reversed. The lantern slide also is a positive, and it is exactly like the paper print, except that it has a base of glass instead of paper, so that it is transparent. Similarly, a positive may be made on a piece of celluloid, and this, besides being transparent, is flexible. The first step in transmitting on the Korn system is to make from the photograph to be telegraphed a positive of this kind, both transparent and flexible. This is bent round a glass drum or cylinder, and fixed so that it cannot possibly move. The cylinder is given a twofold movement.175 It is rotated by means of an electric motor, and at the same time it is made to travel slowly along in the direction of its length. In fact its movement is very similar to that of a screw, which turns round and moves forward at the same time. A powerful beam of light is concentrated upon the positive. This beam remains stationary, but owing to the dual movement of the cylinder it passes over every part of the positive, following a spiral path. Exactly the same effect would be produced by keeping the cylinder still and moving the beam spirally round it, but this arrangement would be more difficult to manipulate. The forward movement of the cylinder is extremely small, so that the spiral is as fine as it is possible to get it without having adjacent lines actually touching. The light passes through the positive into the cylinder, and is reflected towards a selenium cell; and as the positive has an almost infinite number of gradations of tone, or degrees of light and shade, the amount of light reaching the cell varies constantly all the time. The selenium therefore alters its resistance, and allows a constantly varying current to pass through it, and so to the transmission line.
At the receiving end is another cylinder having the same rotating and forward movement, and round this is fixed a sensitive photographic film. This film is protected by a screen having a small opening, and no light can reach it except through this aperture. The incoming current is made to control a beam of light focused to fall upon the screen aperture, the amount of light varying according to the amount of current. In this way the beam of light, like the one at the transmitting end, traces a spiral from end to end of the film, and on developing the film a reproduction of the original photograph is obtained. The telegraphed photograph is thus made up of an enormous number176 of lines side by side, but these are so close to one another that they are scarcely noticed, and the effect is something like that of a rather coarse-grained ordinary photograph.
It is obvious that the success of this method depends upon the maintaining of absolute uniformity in the motion of the two cylinders, and this is managed in a very ingenious way. It will be remembered that one method of securing uniformity in a number of sub-clocks under the control of a master-clock is that of adjusting the sub-clocks to go a little faster than the master-clock. Then, when the sub-clocks reach the hour, they are held back by electro-magnetic action until the master-clock arrives at the hour, when all proceed together.
A similar method is employed for the cylinders. They are driven by electric motors, and the motor at the receiving end is adjusted so as to run very slightly faster than the motor at the sending end. The result is that the receiving cylinder completes one revolution a minute fraction of a second before the transmitting cylinder. It is then automatically held back until the sending cylinder completes its revolution, and then both commence the next revolution exactly together. The pause made by the receiving cylinder is of extremely short duration, but in order that there shall be no break in the spiral traced by light upon the film, the pause takes place at the point where the ends of the film come together. In actual practice certain other details of adjustment are required to ensure precision in working, but the main features of the process are as described.
Although the above photo-telegraphic process is very satisfactory in working, it has been superseded to some extent by another process of a quite different nature. By copying the original photograph through a glass screen177 covered with a multitude of very fine parallel lines, a half-tone reproduction is made. This is formed of an immense number of light and dark lines of varying breadth, and it is printed in non-conducting ink on lead-foil, so that while the dark lines are bare foil, the light ones are covered with the ink. This half-tone is placed round a metal cylinder having the same movement as the cylinders in the previous processes, and a metal point, or “stylus” as it is called, is made to rest lightly upon the foil picture, so that it travels all over it, from one end to the other. An electrical circuit is arranged so that when the stylus touches a piece of the bare foil a current is sent out along the line wire. This current is therefore intermittent, being interrupted each time the stylus passes over a part of the half-tone picture covered with the non-conducting ink, the succeeding periods of current and no current varying with the breadth of the conducting and the non-conducting lines. This intermittent current goes to a similar arrangement of stylus and cylinder at the receiving end, this cylinder having round it a sheet of paper coated with a chemical preparation. The coating is white all over to begin with, but it turns black wherever the current passes through it. The final result is that the intermittent current builds up a reproduction in black-and-white of the original photograph. In this process also the cylinders have to be “synchronized,” or adjusted to run at the same speed. Both this process and the foregoing one have been used successfully for the transmission of press photographs, notably by the Daily Mirror.
Professor Korn has carried out some interesting and fairly successful experiments in wireless transmission of photographs, but as yet the wireless results are considerably inferior to those obtained with a line conductor. For transmitting black-and-white pictures, line drawings, or178 autographs by wireless, a combination of the two methods just mentioned is employed; the second method being used for sending, and the first or selenium method for receiving. For true half-tone pictures the selenium method is used at each end.
Wireless telegraphy is probably the most remarkable and at the same time the most interesting of all the varied applications of electricity. The exceptional popular interest in wireless communication, as compared with most of the other daily tasks which electricity is called upon to perform, is easy to understand. The average man does not realize that although we are able to make electricity come and go at our bidding, we have little certain knowledge of its nature. He is so accustomed to hearing of the electric current, and of the work it is made to do, that he sees little to marvel at so long as there is a connecting wire. Electricity is produced by batteries or by a dynamo, sent along a wire, and made to drive the necessary machinery; apparently it is all quite simple. But take away the connecting wire, and the case is different. In wireless telegraphy electricity is produced as usual, but instantly it passes out into the unknown, and, as far as our senses can tell, it is lost for ever. Yet at some distant point, hundreds or even thousands of miles away, the electrical influence reappears, emerging from the unknown with its burden of words and sentences. There is something uncanny about this, something suggesting telepathy and the occult, and herein lies the fascination of wireless telegraphy.
180
The idea of communicating without any connecting wires is an old one. About the year 1842, Morse, of telegraph fame, succeeded in transmitting telegraphic signals across rivers and canals without a connecting wire. His method was to stretch along each bank of the river a wire equal in length to three times the breadth of the river. One of these wires was connected with the transmitter and with a battery, and the other with a receiver, both wires terminating in copper plates sunk in the water. In this case the water took the place of a connecting wire, and acted as the conducting medium. A few years later another investigator, a Scotchman named Lindsay, succeeded in telegraphing across the river Tay, at a point where it is over a mile and a half wide, by similar methods. Lindsay appears to have been the first to suggest the possibility of telegraphing across the Atlantic, and although at that time, 1845, the idea must have seemed a wild one, he had the firmest faith in its ultimate accomplishment.
Amongst those who followed Lindsay’s experiments with keen interest was the late Sir William, then Mr. Preece, but it was not until 1882, twenty years after Lindsay’s death, that he commenced experiments on his own account. In March of that year the cable across the Solent failed, and Preece took the opportunity of trying to signal across without a connecting wire. He used two overhead wires, each terminating in large copper plates sunk in the sea, one stretching from Southampton to Southsea Pier, and the other from Ryde Pier to Sconce Point. The experiment was successful, audible Morse signals being received on each side. In this experiment, as in those of Morse and Lindsay, the water acted as the conducting medium; but a year or two later, Preece turned his attention to a different method of wireless communication, by means of induction. This method was181 based upon the fact that at the instant of starting and stopping a current in one wire, another current is induced in a second wire placed parallel to it, even when the two wires are a considerable distance apart. Many successful experiments in this induction telegraphy were made, one of the most striking being that between the Island of Mull and the mainland, in 1895. The cable between the island and the mainland had broken, and by means of induction perfect telegraphic communication was maintained during the time that the cable was being repaired. Although this system of wireless telegraphy is quite successful for short distances, it becomes impracticable when the distance is increased, because the length of each of the two parallel wires must be roughly equal to the distance between them. These experiments of Preece are of great interest, but we must leave them because they have little connexion with present-day wireless telegraphy, in which utterly different methods are used.
All the commercial wireless systems of to-day depend upon the production and transmission of electric waves. About the year 1837 it was discovered that the discharge of a Leyden jar did not consist of only one sudden rush of electricity, but of a series of electric oscillations, which surged backwards and forwards until electric equilibrium was restored. This discovery was verified by later experimenters, and it forms the foundation of our knowledge of electric waves. At this point many readers probably will ask, “What are electric waves?” It is impossible to answer this question fully, for we still have a great deal to learn about these waves, and we only can state the conclusions at which our greatest scientists have arrived after much thought and many experiments. It is believed that all space is filled with a medium to which the name “ether” has been given, and that this ether extends182 throughout the matter. We do not know what the ether is, but the important fact is that it can receive and transmit vibrations in the form of ether waves. There are different kinds of ether waves, and they produce entirely different effects. Some of them produce the effect which we call light, and these are called “light waves.” Others produce the effect known as heat, and they are called “heat waves”; and still others produce electricity, and these we call “electric waves.” These waves travel through the ether at the enormous speed of 186,000 miles per second, so that they would cross the Atlantic Ocean in about 1/80 second. The fact that light also travels at this speed suggested that there might be some connexion between the two sets of waves, and after much experiment it has been demonstrated that the waves of light and electricity are identical except in their length.
Later on in this chapter we shall have occasion to refer frequently to wave-length, and we may take this opportunity of explaining what is understood by this term. Wave-length is the distance measured from the crest of one wave to the crest of the next, across the intervening trough or hollow. From this it will be seen that the greater the wave-length, the farther apart are the waves; and also that if we have two sets of waves of different wave-lengths but travelling at the same speed, then the number of waves arriving at any point in one second will be greater in the case of the shorter waves, because these are closer together.
A tuning-fork in vibration disturbs the surrounding air, and sets up air waves which produce the effect called sound when they strike against the drums of our ears. In a similar way the discharge of a Leyden jar disturbs the surrounding ether, and sets up electric ether waves; but these waves produce no effect upon us in the shape of sight, sound, or feeling. There is however a very simple piece183 of apparatus which acts as a sort of electric eye or ear, and detects the waves for us. This consists of a glass tube loosely filled with metal filings, and having a cork at each end. A wire is passed through each cork so as to project well into the tube, but so that the two ends do not touch one another, and the outer ends of these wires are connected to a battery of one or two cells, and to some kind of electrically worked apparatus, such as an electric bell. So long as the filings lie quite loosely in the tube they offer a very high resistance, and no current passes. If now electric waves are set up by the discharge of a Leyden jar, these waves fall upon the tube and cause the resistance of the filings to decrease greatly. The filings now form a conducting path through which the current passes, and so the bell rings. If no further discharge takes place the electric waves cease, but the filings do not return to their original highly resistant condition, but retain their conductivity, and the current continues to pass, and the bell goes on ringing. To stop the bell it is only necessary to tap the tube gently, when the filings immediately fall back into their first state, so that the current cannot pass through them.
Now let us see how the “coherer,” as the filings tube is called, is used in actual wireless telegraphy. Fig. 33a shows a simple arrangement for the purpose. A is an induction coil, and B the battery supplying the current. The coil is fitted with a spark gap, consisting of two highly polished brass balls CC, one of these balls being connected to a vertical wire supported by a pole, and the other to earth. D is a Morse key for starting and stopping the current. When the key is pressed down, current flows from the battery to the coil, and in passing through the coil it is raised to a very high voltage, as described in Chapter VIII. This high tension current is sent into the184 aerial wire, which quickly becomes charged up to its utmost limits. But more current continues to arrive, and so the electricity in the aerial, unable to bear any longer the enormous pressure, takes the only path of escape and bursts violently across the air gap separating the brass balls. Surging oscillations are then produced in the aerial, the ether is violently disturbed, and electric waves are set in motion. This is the transmitting part of the apparatus.
a. Transmitting. b. Receiving.
Fig. 33.—Diagram of simple Wireless Transmitting and Receiving Apparatus.
If a stone is dropped into a pond, little waves are set in185 motion, and these spread outwards in ever-widening rings. Electric waves also are propagated outwards in widening rings, but instead of travelling in one plane only, like the water waves, they proceed in every plane; and when they arrive at the receiving aerial they set up in it oscillations of the same nature as those which produced the waves. Let us suppose electric waves to reach the aerial wire of Fig. 33b. The resistance of the coherer H is at once lowered so that current from battery N flows and operates the relay F, which closes the circuit of battery M. This battery has a twofold task. It operates the sounder E, and it energizes the electro-magnet of the de-coherer K, as shown by the dotted lines. This de-coherer is simply an electric bell without the gong, arranged so that the hammer strikes the coherer tube; and its purpose is to tap the tube automatically and much more rapidly than is possible by hand. The sounder therefore gives a click, and the de-coherer taps the tube, restoring the resistance of the filings. The circuit of battery N is then broken, and the relay therefore interrupts the circuit of battery M. If waves continue to arrive, the circuits are again closed, another click is given, and again the hammer taps the tube. As long as waves are falling upon the aerial, the alternate makings and breakings of the circuits follow one another very rapidly and the sounder goes on working. When the waves cease, the hammer of the de-coherer has the last word, and the circuits of both batteries remain broken. To confine the electric waves to their proper sphere two coils of wire, LL, called choking coils, are inserted as shown.
In this simple apparatus we have all the really essential features of a wireless installation for short distances. For long distance work various modifications are necessary, but the principle remains exactly the same. In land wireless186 stations the single vertical aerial wire becomes an elaborate arrangement of wires carried on huge masts and towers. The distance over which signals can be transmitted and received depends to a considerable extent upon the height of the aerial, and consequently land stations have the supporting masts or towers from one to several hundred feet in height, according to the range over which it is desired to work. As a rule the same aerial is used both for transmitting and receiving, but some stations have a separate aerial for each purpose. A good idea of the appearance of commercial aerials for long distance working may be obtained from the frontispiece, which shows the Marconi station at Glace Bay, Nova Scotia, from which wireless communication is held with the Marconi station at Clifden, in Galway, Ireland.
In the first wireless stations what is called a “plain aerial” transmitter was used, and this was almost the same as the transmitting apparatus in Fig. 33a, except, of course, that it was on a larger scale. This arrangement had many serious drawbacks, including that of a very limited range, and it has been abandoned in favour of the “coupled” transmitter, a sketch of which is shown in Fig. 34. In this transmitter there are two separate circuits, having the same rate of oscillation. A is an induction coil, supplied with current from the battery B, and C is a condenser. A condenser is simply an apparatus for storing up charges of electricity. It may take a variety of forms, but in every case it must consist of two conducting layers separated by a non-conducting layer, the latter being called the “dielectric.” The Leyden jar is a condenser, with conducting layers of tinfoil and a dielectric of glass, but the condensers used for wireless purposes generally consist of a number of parallel sheets of metal separated by glass or mica, or in some cases by air only. The induction coil187 charges up the condenser with high tension electricity, until the pressure becomes so great that the electricity is discharged in the form of a spark between the brass balls of the spark gap D. The accumulated electric energy in the condenser then surges violently backwards and forwards, and by induction corresponding surgings are produced in the aerial circuit, these latter surgings setting up electric waves in the ether.
For the sake of simplicity we have represented the apparatus as using an induction coil, but in all stations of any size the coil is replaced by a step-up transformer, and188 the current is supplied either from an electric light power station at some town near by, or from a power house specially built for the purpose. Alternating current is generally used, and if the current supplied is continuous, it is converted into alternating current. This may be done by making the continuous current drive an electric motor, which in turn drives a dynamo generating alternating current. In any case, the original current is too low in voltage to be used directly, but in passing through the transformer it is raised to the required high pressure. The transmitting key, which is inserted between the dynamo and the transformer, is specially constructed to prevent the operator from receiving accidental shocks, and the spark gap is enclosed in a sort of sound-proof box, to deaden the miniature thunders of the discharge.
During the time that signals are being transmitted, sparks follow one another across the spark gap in rapid succession, a thousand sparks per second being by no means an uncommon rate. The violence of these rapid discharges raises the brass balls of the gap to a great heat. This has the effect of making the sparking spasmodic and uncertain, with the result that the signals at the receiving station are unsatisfactory. To get over this difficulty Marconi introduced a rotary spark gap. This is a wheel with projecting knobs or studs, mounted on the shaft of the dynamo supplying the current, so that it rotates rapidly. Two stationary knobs are fixed so that the wheel rotates between them, and the sparks are produced between these fixed knobs and those of the wheel, a double spark gap thus being formed. Overheating is prevented by the currents of air set up by the rapid movement of the wheel, and the sparking is always regular.
PLATE XIII.
Photo by
Daily Mirror.
(a) MARCONI OPERATOR RECEIVING A MESSAGE.
By permission of
The Marconi Co. Ltd.
(b) MARCONI MAGNETIC DETECTOR.
In the receiving apparatus already described a filings coherer was used to detect the ether waves, and, by means of a local battery, to translate them into audible signals with a sounder, or printed signals with a Morse inker. This coherer however is unsuitable for commercial working. It is not sufficiently sensitive, and it can be used only for comparatively short distances; while its action is so slow that the maximum speed of signalling is not more than about seventeen or eighteen words a minute. A number of different detectors of much greater speed and sensitiveness have been devised. The most reliable of these, though not the most sensitive, is the Marconi magnetic detector, Plate XIII.b. This consists of a moving band made of several soft iron wires twisted together, and passing close to the poles of two horse-shoe magnets. As the band passes from the influence of one magnet to that of the other its magnetism becomes reversed, but the change takes a certain amount of time to complete owing to the fact that the iron has some magnetic retaining power, so that it resists slightly the efforts of one magnet to reverse the effect of the other. The moving band passes through two small coils of wire, one connected with the aerial, and the other with a specially sensitive telephone receiver. When the electric waves from the transmitting station fall upon the aerial of the receiving station, small, rapidly oscillating currents pass through the first coil, and these have the effect of making the band reverse its magnetism instantly. The sudden moving of the lines of magnetic force induces a current in the second coil, and produces a click in the telephone. As long as the waves continue, the clicks follow one another rapidly, and they are broken up into the long and short signals of the Morse code according to the manipulation of the Morse key at the sending station. Except for winding up at intervals the clockwork mechanism which drives the moving band, this detector requires no attention, and it is always ready for work.
190
Another form of detector makes use of the peculiar power possessed by certain crystals to rectify the oscillatory currents received from the aerial, converting them into uni-directional currents. At every discharge of the condenser at the sending station a number of complete waves, forming what is called a “train” of waves, is set in motion. From each train of waves the crystal detector produces one uni-directional pulsation of current, and this causes a click in the telephone receiver. If these single pulsations follow one another rapidly and regularly, a musical note is heard in the receiver. Various combinations of crystals, and crystals and metal points, are used, but all work in the same way. Some combinations work without assistance, but others require to have a small current passed through them from a local battery. The crystals are held in small cups of brass or copper, mounted so that they can be adjusted by means of set-screws. Crystal detectors are extremely sensitive, but they require very accurate adjustment, and any vibration quickly throws them out of order.
The “electrolytic” detector rectifies the oscillating currents in a different manner. One form consists of a thin platinum wire passing down into a vessel made of lead, and containing a weak solution of sulphuric acid. The two terminals of a battery are connected to the wire and the vessel respectively. As long as no oscillations are received from the aerial the current is unable to flow between the wire and the vessel, but when the oscillations reach the detector the current at once passes, and operates the telephone receiver. The action of this detector is not thoroughly understood, and the way in which the point of the platinum wire prevents the passing of the current until the oscillations arrive from the aerial is something of a mystery.
The last detector that need be described is the Fleming191 valve receiver. This consists of an electric incandescent lamp, with either carbon or tungsten filament, into which is sealed a plate of platinum connected with a terminal outside the lamp. The plate and the filament do not touch one another, but when the lamp is lighted up a current can be passed from the plate to the filament, but not from filament to plate. This receiver acts in a similar way to the crystal detector, making the oscillating currents into uni-directional currents. It has proved a great success for transatlantic wireless communication between the Marconi stations at Clifden and Glace Bay, and is extensively used.
The electric waves set in motion by the transmitting apparatus of a wireless station spread outwards through the ether in all directions, and so instead of reaching only the aerial of the particular station with which it is desired to communicate, they affect the aerials of all stations within a certain range. So long as only one station is sending messages this causes no trouble; but when, as is actually the case, large numbers of stations are hard at work transmitting different messages at the same time, it is evident that unless something can be done to prevent it, each of these messages will be received at the same moment by every station within range, thus producing a hopeless confusion of signals from which not a single message can be read. Fortunately this chaos can be avoided by what is called “tuning.”
Wireless tuning consists in adjusting the aerial of the receiving station so that it has the same natural rate of oscillation as that of the transmitting station. A simple experiment will make clearer the meaning of this. If we strike a tuning-fork, so that it sounds its note, and while it is sounding strongly place near it another fork of the same pitch and one of a different pitch, we find that the fork of similar pitch also begins to sound faintly, whereas the third192 fork remains silent. The explanation is that the two forks of similar pitch have the same natural rate of vibration, while the other fork vibrates at a different rate. When the first fork is struck, it vibrates at a certain rate, and sets in motion air waves of a certain length. These waves reach both the other forks, but their effect is different in each case. On reaching the fork of similar pitch the first wave sets it vibrating, but not sufficiently to give out a sound. But following this wave come others, and as the fork has the same rate of vibration as the fork which produced the waves, each wave arrives just at the right moment to add its impulse to that of the preceding wave, so that the effect accumulates and the fork sounds. In the case of the third fork of different pitch, the first wave sets it also vibrating, but as this fork cannot vibrate at the same rate as the one producing the waves, the latter arrive at wrong intervals; and instead of adding together their impulses they interfere with one another, each upsetting the work of the one before it, and the fork does not sound. The same thing may be illustrated with a pendulum. If we give a pendulum a gentle push at intervals corresponding to its natural rate of swing, the effects of all these pushes are added together, and the pendulum is made to swing vigorously. If, on the other hand, we give the pushes at longer or shorter intervals, they will not correspond with the pendulum’s rate of swing, so that while some pushes will help the pendulum, others will hinder it, and the final result will be that the pendulum is brought almost to a standstill, instead of being made to swing strongly and regularly. The same principle holds good with wireless aerials. Any aerial will respond readily to all other aerials having the same rate of oscillation, because the waves in each case are of the same length; that is to say, they follow one another at the same intervals. On the other hand, an193 aerial will not respond readily to waves from another aerial having a different rate of oscillation, because these do not follow each other at intervals to suit it.
If each station could receive signals only from stations having aerials similar to its own, its usefulness would be very limited, and so all stations are provided with means of altering the rate of oscillation of their aerials. The actual tuning apparatus by which this is accomplished need not be described, as it is complicated, but what happens in practice is this: The operator, wearing telephone receivers fixed over his ears by means of a head band, sits at a desk upon which are placed his various instruments. He adjusts the tuning apparatus to a position in which signals from stations of widely different wave-lengths are received fairly well, and keeps a general look out over passing signals. Presently he hears his own call-signal, and knows that some station wishes to communicate with him. Immediately he alters the adjustment of his tuner until his aerial responds freely to the waves from this station, but not to waves from other stations, and in this way he is able to cut out signals from other stations and to listen to the message without interruption.
Unfortunately wireless tuning is yet far from perfect in certain respects. For instance, if two stations are transmitting at the same time on the same wave-length, it is clearly impossible for a receiving operator to cut one out by wave-tuning, and to listen to the other only. In such a case, however, it generally happens that although the wave-frequency is the same, the frequency of the wave groups or trains is different, so that there is a difference in the notes heard in the telephones; and a skilful operator can distinguish between the two sufficiently well to read whichever message is intended for him. The stations which produce a clear, medium-pitched note are the easiest194 to receive from, and in many cases it is possible to identify a station at once by its characteristic note. Tuning is also unable to prevent signals from a powerful station close at hand from swamping to some extent signals from another station at a great distance, the nearer station making the receiving aerial respond to it as it were by brute force, tuning or no tuning.
Another source of trouble lies in interference by atmospheric electricity. Thunderstorms, especially in the tropics, interfere greatly with the reception of signals, the lightning discharges giving rise to violent, irregular groups of waves which produce loud noises in the telephones. There are also silent electrical disturbances in the atmosphere, and these too produce less strong but equally weird effects. Atmospheric discharges are very irregular, without any real wave-length, so that an operator cannot cut them out by wave-tuning pure and simple in the way just described, as they defy him by affecting equally all adjustments. Fortunately, the irregularity of the atmospherics produces correspondingly irregular sounds in the telephones, quite unlike the clear steady note of a wireless station; and unless the atmospherics are unusually strong this note pierces through them, so that the signals can be read. The effects of lightning discharges are too violent to be got rid of satisfactorily, and practically all that can be done is to reduce the loudness of the noises in the telephones, so that the operator is not temporarily deafened. During violent storms in the near neighbourhood of a station it is usual to connect the aerial directly to earth, so that in the event of its being struck by a flash the electricity passes harmlessly away, instead of injuring the instruments, and possibly also the operators. Marconi stations are always fitted with lightning-arresters.
The methods and apparatus we have described so far195 are those of the Marconi system, and although in practice additional complicated and delicate pieces of apparatus are used, the description given represents the main features of the system. Although Marconi was not the discoverer of the principles of wireless telegraphy, he was the first to produce a practical working system. In 1896 Marconi came from Italy to England, bringing with him his apparatus, and after a number of successful demonstrations of its working, he succeeded in convincing even the most sceptical experts that his system was thoroughly sound. Commencing with a distance of about 100 yards, Marconi rapidly increased the range of his experiments, and by the end of 1897 he succeeded in transmitting signals from Alum Bay, in the Isle of Wight, to a steamer 18 miles away. In 1899 messages were exchanged between British warships 85 miles apart, and the crowning achievement was reached in 1901, when Marconi received readable signals at St. John’s, Newfoundland, from Poldhu in Cornwall, a distance of about 1800 miles. In 1907 the Marconi stations at Clifden and Glace Bay were opened for public service, and by the following year transatlantic wireless communication was in full swing. The sending of wireless signals across the Atlantic was a remarkable accomplishment, but it did not represent by any means the limits of the system, as was shown in 1910. In that year Marconi sailed for Buenos Ayres, and wireless communication with Clifden was maintained up to the almost incredible distance of 4000 miles by day, and 6735 miles by night. The Marconi system has had many formidable rivals, but it still holds the proud position of the most successful commercial wireless system in the world.
We have not space to give a description of the other commercial systems, but a few words on some of the chief points in which they differ from the Marconi system may196 be of interest. We have seen that an ordinary spark gap, formed by two metal balls a short distance apart, becomes overheated by the rapid succession of discharges, with the result that the sparking is irregular. What actually happens is that the violent discharge tears off and vaporizes minute particles of the metal. This intensely heated vapour forms a conducting path which the current is able to cross, so that an arc is produced just in the same way as in the arc lamp. This arc is liable to be formed by each discharge, and it lasts long enough to prevent the sparks from following one another promptly. In the Marconi system this trouble is avoided by means of a rotating spark gap, but in the German “Telefunken” system, so named from Greek tele, far off, and German Funke, a spark, a fixed compound spark gap is used for the same purpose. This consists of a row of metal discs about 1/100 inch apart, and the spark leaps these tiny gaps one after the other. The discs are about 3 inches in diameter, and their effect is to conduct away quickly the heat of the discharge. By this means the formation of an arc is prevented, and the effect of each discharge is over immediately, the sparks being said to be “quenched.” The short discharges enable more energy to be radiated from the aerial into the ether, and very high rates of sparking are obtained, producing a high-pitched musical note.
The “Lepel” system also uses a quenched spark. The gap consists of two metal discs clamped together and separated only by a sheet of paper. The paper has a hole through its centre, and through this hole the discharge takes place, the discs being kept cool by water in constant circulation. The discharge is much less noisy than in the Marconi and Telefunken systems, and the musical note produced is so sensitive that by varying the adjustments197 simple tunes can be played, and these can be heard quite distinctly in the telephone at the receiving stations.
In the three systems already mentioned spark discharges are used to set up oscillatory currents in the aerial, which in turn set up waves in the ether. Each discharge sets in motion a certain number of waves, forming what is known as a train of waves. The discharges follow one another very rapidly, but still there is a minute interval between them, and consequently there is a corresponding interval between the wave-trains. In the “Goldschmidt” system the waves are not sent out in groups of this kind, but in one long continuous stream. The oscillatory currents which produce ether waves are really alternating currents which flow backwards and forwards at an enormous speed. The alternating current produced at an ordinary power station is of no use for wireless purposes, because its “frequency,” or rate of flow backwards and forwards, is far too low. It has been found possible however to construct special dynamos capable of producing alternating current of the necessary high frequency, and such dynamos are used in the Goldschmidt system. The dynamos are connected directly to the aerial, so that the oscillatory currents in the latter are continuous, and the ether waves produced are continuous also.
The “Poulsen” system produces continuous waves in an altogether different manner, by means of the electric arc. The arc is formed between a fixed copper electrode and a carbon electrode kept in constant rotation, and it is enclosed in a kind of box filled with methylated spirit vapour, hydrogen, or coal gas. A powerful electro-magnet is placed close to the arc, so that the latter is surrounded by a strong magnetic field. Connected with the terminals of the arc is a circuit consisting of a condenser and a coil198 of wire, and the arc sets up in this circuit oscillatory currents which are communicated to the aerial. These currents are continuous, and so also are the resulting waves.
The method of signalling employed in these two continuous-wave systems is quite different from that used in the Marconi and other spark systems. It is practically impossible to signal by starting and stopping the alternating-current dynamos or the arc at long or short intervals to represent dashes or dots. In one case the sudden changes from full load to zero would cause the dynamo to vary its speed, and consequently the wave-length would be irregular; besides which the dynamo would be injured by the sudden strains. In the other case it would be extremely difficult to persuade the arc to start promptly each time. On this account the dynamo and the arc are kept going continuously while a message is being transmitted, and the signals are given by altering the wave-length. In other words, the transmitting aerial is thrown in and out of tune alternately at the required long or short intervals, and the receiving aerial responds only during the “in-tune” intervals.
The various receiving detectors previously described are arranged to work with dis-continuous waves, producing a separate current impulse from each group or train of waves. In continuous wave systems there are of course no separate groups, and for this reason these detectors are of no use, and a different arrangement is required. The oscillatory currents set up in the aerial are allowed to charge up a condenser, and this condenser is automatically disconnected from the aerial and connected to the operator’s telephones at regular intervals of about 1/1000 second. Each time the condenser is connected to the telephones it is discharged, and a click is produced. These clicks199 continue only as long as the waves are striking the aerial, and as the transmitting operator interrupts the waves at long or short intervals the clicks are split up into groups of corresponding length.
Continuous waves have certain advantages over dis-continuous waves, particularly in the matter of sharp tuning, but these advantages are outweighed to a large extent by weak points in the transmitting apparatus. The dynamos used to produce the high-frequency currents in the Goldschmidt system are very expensive to construct and troublesome to keep in order; while in the Poulsen system the arc is difficult to keep going for long periods, and it is liable to fluctuations which greatly affect its working power. Although all the commercial Marconi installations make use of dis-continuous waves exclusively, Mr. Marconi is still carrying out experiments with continuous waves.
There are many points in wireless telegraphy yet to be explained satisfactorily. Our knowledge of the electric ether waves is still limited, and we do not know for certain how these waves travel from place to place, or exactly what happens to them on their journeys. For this reason we are unable to give a satisfactory explanation of the curious fact that, generally speaking, it is easier to signal over long distances at night than during the day. Still more peculiar is the fact that it is easier to signal in a north and south direction than in an east and west direction. There are also remarkable variations in the strength of the signals at certain times, particularly about sunset and sunrise. Every station has a certain normal range which does not vary much as a rule, but at odd times astonishing “freak” distances are covered, stations having for a short time ranges far beyond their usual limits. These and other problems are being attacked by many200 investigators, and no doubt before very long they will be solved. Wireless telegraphy already has reached remarkable perfection, but it is still a young science, and we may confidently expect developments which will enable us to send messages with all speed across vast gulfs of distance at present unconquered.
Wireless telephony, like wireless telegraphy, makes use of electric waves set up in, and transmitted through the ether. The apparatus is practically the same in each case, except in one or two important points. In wireless telegraphy either continuous or dis-continuous waves may be used, and in the latter case the spark-frequency may be as low as twenty-five per second. On the other hand, wireless telephony requires waves which are either continuous, or if dis-continuous, produced by a spark-frequency of not less than 20,000 per second. In other words, the frequency of the wave trains must be well above the limits of audibility. Although dis-continuous waves of a frequency of from 20,000 to 40,000 or more per second can be used, it has been found more convenient to use absolutely continuous waves for wireless telephony, and these may be produced by the Marconi disc generator, by the Goldschmidt alternator, or by the Poulsen arc, the last named being largely employed.
In wireless telegraphy the wave trains are split up by a transmitting key so as to form groups of signals; but in telephony the waves are not interrupted at all, but are simply varied in intensity by means of the voice. All telephony, wireless or otherwise, depends upon the production of variations in the strength of a current of electricity, these variations being produced by air vibrations set up in speaking. In ordinary telephony with connecting wires the current variations are produced by means of a microphone in the transmitter, and in wireless telephony201 the same principle is adopted. Here comes in the outstanding difficulty in wireless transmission of speech. The currents used in ordinary telephony are small, and the microphone works with them quite satisfactorily; but in wireless telephony very heavy currents have to be employed, and so far no microphone has proved capable of dealing effectively with these currents. Countless devices to assist the microphone have been tried. It was found that one of the causes of trouble was the overheating of the carbon granules, which caused them to stick together, so becoming insensitive. To remedy this the granules have been cooled in various ways, by water, gas, or oil, but although the results have been improved, still the microphones worked far from perfectly. Improved results have been obtained also by connecting a number of microphones in parallel. The microphone difficulty is holding back the development of wireless telephony, and at present no satisfactory solution of the problem is in sight.
The transmitting and receiving aerials are the same as in wireless telegraphy, and like them are tuned to the same frequency. The receiving apparatus too is of the ordinary wireless type, with telephones and electrolytic or other detectors.
Wireless telephony has been used with considerable success in various German collieries, and at the Dinnington Main Colliery, Yorkshire. Early last year Marconi succeeded in establishing communication by wireless telephony between Bournemouth and Chelmsford, which are about 100 miles apart; and about the same time a song sung at Laeken, in Belgium, was heard clearly at the Eiffel Tower, Paris, a distance of 225 miles. The German Telefunken Company have communicated by wireless telephony between Berlin and Vienna, 375 miles, and202 speech has been transmitted from Rome to Tripoli, a total distance of more than 600 miles. These distances are of course comparatively small, but if the microphone trouble can be overcome satisfactorily, transatlantic wireless telephony appears to be quite possible.
A fairly good idea of the principles and apparatus of wireless telegraphy should have been gained in reading Chapter XX., but so far little has been said about its practical use. If we leave their power out of consideration, wireless stations may be divided into two classes: fixed stations on land, and moving stations, if the expression may be allowed, on ships. For moving stations wireless telegraphy has the field all to itself, but for communication between fixed stations it comes into conflict with ordinary telegraphy by wire or cable. As regards land messages over comparatively short distances, say throughout Great Britain, wireless telegraphy has no advantages over the older methods; and it is extremely unlikely that it ever will be substituted for the existing cable telegraphy. For long distances overland wireless has the great advantage of having all its apparatus concentrated at two points. A long land line passing through wild country, and exposed to all kinds of weather, requires constant labour to keep it in good repair, and when a breakdown occurs at any point, the repairing gang may be miles away, so that delay is caused. On the other hand, whatever may go wrong at a wireless station, no time is lost in effecting the necessary repairs, for everything is on the spot.
At present there is no great competition between wireless204 and ordinary telegraphy for overland messages of any kind, but the case is different when we come to communication across seas and oceans. Already the cable companies have been affected considerably, and there is little doubt that they will feel the competition much more seriously before long. The general public, always conservative in such matters, have not yet grasped the fact that telegrams can be handed in at any telegraph office in the British Isles, and at most telegraph offices in the United States and Canada, for wireless transmission across the Atlantic, via the Marconi stations at Clifden and Glace Bay. The cost is remarkably small, being eightpence a word for ordinary messages.
It is impossible to state with any accuracy how many land wireless stations there are in the world, but the list given in the Year-Book of Wireless Telegraphy for 1915 enumerates about 700 stations. This list does not include private or experimental stations, and also many stations used exclusively for naval or military purposes are not given. The information available about these 700 stations is incomplete in many cases, but about 500 are controlled by various departments of the governments of the different states. Of the remainder, about 100 are controlled by the Marconi Company, the rest being in the hands of various wireless, commercial, or railway companies.
Amongst the most important land stations are the Clifden and Glace Bay transatlantic stations. They are very similar in plan, and each has a separate aerial for sending and for receiving. Contrary to the usual practice, continuous current is used to charge the condensers. In Chapter IV. we saw how a current of high voltage could be obtained by connecting a number of cells in series, and at these stations the necessary high voltage is produced by connecting a number of powerful dynamos in series, on the205 same principle. Along with the dynamos a huge battery of accumulators, consisting of about 6000 cells, is used as a sort of reservoir of current. These stations have a normal range of considerably over 3000 miles. Last year a large transmitting station was completed at Cefndu, near Carnarvon. This station, which is probably the most powerful in existence, is intended to communicate directly with New Jersey, United States, as an alternative to the Clifden-Glace Bay route.
Other powerful stations are Poldhu, in Cornwall, of which we shall speak later; the French Eiffel Tower station; the German station at Nauen, near Berlin, which last year succeeded in exchanging messages with Windhoek, German South-West Africa, a distance of nearly 6000 miles; and the extremely powerful station at Coltano, Italy. France has three stations in West Africa with a night range of 1600 miles; and Italy one in Somaliland with a normal range of about the same distance. The recently opened Chinese stations at Canton, Foochow, and Woosung have a range of 1300 miles by night, and 650 miles by day. With the fall of Tsingtau, China, Germany lost a wireless station capable of signalling over 1350 miles at night. Japan has six stations with a night range of over 1000 miles. Massawa, on the Red Sea, has a range of 1600 miles, and New Zealand has two stations with ranges of 1200 miles by day, and 2500 miles by night. Australia has a large number of stations with a normal range of about 500 miles. In the United States, which has a very large number of stations, Arlington, Virginia, covers 1000 miles, and Sayville from 600 to 2300 miles. South America has not many high-power stations, but Cerrito, in Uruguay, has a range of about 1000 miles.
Until a thoroughly practical system of long-distance wireless telephony is developed, wireless telegraphy will206 remain the only possible means of communication between ships and shore, or between one ship and another, except where the distance is so small that some method of semaphore signalling can be used. In the days when wireless was unknown, a navigator was thrown entirely upon his own resources as soon as his vessel was out of sight of land, for no information of any kind could reach him. Even with a wireless installation on board, the captain of a vessel still needs the same skill and watchfulness as of old, but in the times of uncertainty and danger to which all ships are liable, he often is able to obtain information which may prevent disaster. In order to determine accurately his position, a navigator requires to know the exact Greenwich Mean Time, and he gets this time from his chronometers. These are wonderfully reliable instruments, but even they may err at times. To avoid the possibility of mistakes from this cause, wireless time signals are sent out at regular intervals by certain high-power stations, and as long as a vessel is within range of one of these stations the slightest variation in the chronometers may be detected immediately. Amongst these stations are the Eiffel Tower, giving time signals at 10 a.m. and at midnight; and Norddeich, Germany, giving signals at noon and midnight. These time signals have proved most useful also on land, more particularly for astronomers and for explorers engaged on surveying work.
In addition to time signals, other valuable information is conveyed by wireless to ships at sea. A ship encountering ice, or a derelict, reports its discovery to other ships and to the shore stations, and in this way vessels coming along the same route are warned of the danger in time to take the necessary precautions. Weather reports are issued regularly from various shore stations in most parts of the world. The completeness of the information given varies207 a good deal with different stations, but in many cases it includes a report of the existing state of the weather at a number of different places, a forecast of the winds likely to be encountered at sea, say at a distance of 100 miles from land, and warnings of approaching storms, with remarks on any special atmospheric conditions at the time of sending. In Europe weather reports are issued daily from the Admiralty station at Cleethorpes, the Eiffel Tower, and Norddeich; and in the United States more than a dozen powerful stations are engaged in this work.
Another valuable use of wireless is in carrying on the work of lighthouses and lightships during snowstorms or dense fogs, which the light cannot penetrate. So far not much has been done in this direction, but the French Government have decided to establish wireless lighthouses on the islands outside the port of Brest, and also at Havre. Automatic transmitting apparatus will be used, sending out signals every few seconds, and working for periods of about thirty hours without attention.
The improvement in the conditions of ocean travel wrought by wireless telegraphy is very remarkable. The days when a vessel, on passing out of sight of land, entered upon a period of utter isolation, is gone for ever. Unless it strays far from all recognized trade routes, a ship fitted with a wireless installation is never isolated; and with the rapidly increasing number of high-power stations both on land and sea, it soon will be almost impossible for a vessel to find a stretch of ocean beyond the reach of wave-borne messages. The North Atlantic Ocean is specially remarkable for perfection of wireless communication. For the first 250 miles or so after leaving British shores, liners are within reach of various coast stations, and beyond this Poldhu takes up the work and maintains communication up to about mid-Atlantic. On passing beyond the reach208 of Poldhu, liners come within range of other Marconi stations at Cape Cod, Massachusetts, and Cape Race, Newfoundland, so that absolutely uninterrupted communication is maintained throughout the voyage. On many liners a small newspaper is published daily, in which are given brief accounts of the most striking events of the previous day, together with Stock Exchange quotations and market prices. This press news is sent out during the night from Poldhu and Cape Cod. During the whole voyage messages may be transmitted from ship to shore, or from shore to ship, with no more difficulty, as far as the public are concerned, than in sending an ordinary inland telegram.
The transmitting ranges of ship installations vary greatly, the range of the average ocean liner being about 250 miles. Small ships come as low as 50 miles, while a few exceptional vessels have night ranges up to 1200 or even 2500 miles. Although an outward-bound vessel is almost always within range of some high-power shore station, it is evident that it soon must reach a point beyond which it is unable to communicate directly with the shore. This difficulty is overcome by a system of relaying from ship to ship. The vessel wishing to speak with the shore hands on its message to some other vessel nearer to land or with a longer range, and this ship sends forward the message to a shore station if one is within its reach, and if not to a third vessel, which completes the transmission.
The necessity for wireless installations on all sea-going vessels has been brought home to us in startling fashion on several occasions during the last few years. Time after time we have read thrilling accounts of ocean disasters in which wireless has come to the rescue in the most wonderful way. A magnificent liner, with its precious human freight, steams majestically out of harbour, and ploughs its209 way out into the waste of waters. In mid-ocean comes disaster, swift and awful, and the lives of all on board are in deadly peril. Agonized eyes sweep the horizon, but no sail is in sight, and succour seems hopeless. But on the deck of that vessel is a small, unpretentious cabin, and at a desk in that cabin sits a young fellow with strange-looking instruments before him. At the first tidings of disaster he presses a key, and out across the waters speed electric waves bearing the wireless cry for help, “S.O.S.,” incessantly repeated. Far away, on another liner, is a similar small cabin, and its occupant is busy with messages of everyday matters. Suddenly, in the midst of his work, comes the call from the stricken vessel, and instantly all else is forgotten. No matter what the message in hand, it must wait, for lives are in danger. Quickly the call is answered, the position of the doomed ship received, and the captain is informed. A few orders are hurriedly given, the ship’s course is changed, and away she steams to the rescue, urged on by the full power of her engines. In an hour or two she arrives alongside, boats are lowered, and passengers and crew are snatched from death and placed in safety. This scene, with variations, has been enacted many times, and never yet has wireless failed to play its part. It is only too true that in some instances many lives have been lost, but in these cases it is necessary to remember that without wireless every soul on board might have gone down. The total number of lives already saved by wireless is estimated at about 5000, and of these some 3000 have been saved in the Atlantic.
Ship aerials are carried from one mast to another, as high up as possible. The transmitting and receiving apparatus is much the same as in land stations, so that it need not be described. In addition, most liners carry a large induction coil and a suitable battery, so that distress210 signals can be transmitted even when the ordinary apparatus is rendered useless by the failure of the current supply. Most of the wireless systems are represented amongst ship installations, but the great majority of vessels have either Marconi or Telefunken apparatus.
Every wireless station, whether on ship or on shore, has a separate call-signal, consisting of three letters. For instance, Clifden is MFT, Poldhu MPD, Norddeich KAV, s.s. Lusitania MFA, and H.M.S. Dreadnought BAU. Glace Bay, GB, and the Eiffel Tower, FL, have two letters only. In order to avoid confusion, different countries have different combinations of letters assigned to them exclusively, and these are allotted to the various ship and shore stations. For example, Great Britain has all combinations beginning with B, G, and M; France all combinations beginning with F, and also the combinations UAA to UMZ; while the United States is entitled to use all combinations beginning with N and W, and the combinations KIA to KZZ. There are also special signals to indicate nationality, for use by ships, British being indicated by - - — -, Japanese by — - — -, and so on.
Wireless telegraphy apparently has a useful future in railway work. In spite of the great perfection of present-day railway signalling, no railway company is able to avoid occasional accidents. Some of these accidents are due to circumstances which no precautions can guard against entirely, such, for instance, as the sudden breakage of some portion of the mechanism of the train itself. In many cases, however, the accident is caused by some oversight on the part of the signalman or the engine-driver. Probably the great majority of such accidents are not due to real carelessness or inattention to duty, but to unaccountable freaks of the brain, through which some little detail, never before forgotten, is overlooked completely until too late. We all211 are liable to these curious mental lapses, but happily in most cases these do not lead to disaster of any kind. The ever-present possibility of accidents brought about in this way is recognized fully by railway authorities, and every effort is made to devise mechanism which will safeguard a train in case of failure of the human element. The great weakness of the ordinary railway system is that there is no reliable means of communicating with the driver of a train except by the fixed signals, so that when a train has passed one set of signals it is generally beyond the reach of a message until it arrives at the next set. On the enterprising Lackawanna Railroad, in the United States, an attempt has been made to remove this defect by means of wireless telegraphy, and the experiment has been remarkably successful. Wireless communication between moving passenger trains and certain stations along the route has been established, and the system is being rapidly developed.
The wireless equipment of the stations is of the usual type, and does not call for comment, but the apparatus on the trains is worth mention. The aerial, which must be low on account of bridges and tunnels, consists of rectangles of wire fixed at a height of 18 inches above the roof of each car. These separate aerials are connected together by a wire running to a small operating room containing a set of Marconi apparatus, and situated at the end of one of the cars. The earth connexion is made to the track rails, and the current is taken from the dynamos used to supply the train with electric light. With this equipment messages have been transmitted and received while the train was running at the rate of 70 miles an hour, and distances up to 125 miles have been covered. During a severe storm in the early part of last year the telegraph and telephone lines along the railroad broke down, but uninterrupted communication was maintained by wireless,212 and the operations of the relief gangs and the snow-ploughs were directed by this means. For emergency signalling this system is likely to prove of enormous importance. If signals are set wrongly, through some misunderstanding, and a train which should have been held up is passed forward into danger, it can be stopped by a wireless message in time to prevent an accident. Again, if a train has a breakdown, or if it sticks fast in a snow-drift, its plight and its exact position can be signalled to the nearest station, so that help may be sent without delay. The possibilities of the system in fact are almost unlimited, and it seems not unlikely that wireless telegraphy will revolutionize the long-distance railway travelling of the future.
In our chapter on the accumulator or storage cell we saw that a current of electricity has the power of decomposing certain liquids; that is to say, it is able to split them up into their component parts. This power has given rise to the important art of electroplating and electrotyping. Electroplating is the process of depositing a coating of a rarer metal, such as gold, silver, or nickel, upon the surface of baser or commoner metals; and electrotyping is the copying of casts, medals, types, and other similar objects. The fact that metals could be deposited by the decomposition of a solution by a current was known in the early days of the voltaic cell, but no one seems to have paid much attention to it. An Italian chemist published in 1805 an account of his success in coating two silver medals with gold, and some thirty years later Bessemer transformed lead castings into fairly presentable ornaments by coating them with copper, but commercial electroplating may be said to have begun about 1840, when an Englishman named Elkington took out a patent for the process. Since then the processes of electroplating and electrotyping have rapidly come more and more into use, until to-day they are practised on a vast scale, giving employment to thousands.
Electroplating on a small scale is a very simple affair. A solution of the metal which it is desired to deposit is214 placed in a suitable vessel. Two metal rods are placed across the top of this vessel, and from one of these is suspended a plate of the same metal as that in the solution, and from the other is hung the article to receive the coating. The positive terminal of a voltaic battery is connected to the rod supporting the plate, and the negative terminal to the rod carrying the article to be plated. As the current passes through the solution from the plate to the article the solution is decomposed, and the article receives a coating of metal. The solution through which the current passes, and which is decomposed, is called the electrolyte, and the terminal points at which the current enters and leaves the solution are called electrodes. The electrode by which the current enters the electrolyte is called the anode, and the one by which it leaves is called the cathode.
If we wish to deposit a coating of copper on, say, an old spoon which has been dismissed from household service, a solution of sulphate of copper must be made up and placed in a glass or stoneware jar. Two little rods of brass, copper, or any other good conductor are placed across the jar, one at each side, and by means of hooks of wire a plate of copper is hung from one rod and the spoon from the other. The positive terminal of a battery of Daniell cells is then connected to the anode rod which supports the copper plate, and the negative terminal to the cathode rod carrying the spoon. The current now commences its task of splitting up the copper-sulphate solution into pure copper and sulphuric acid, and depositing this copper upon the spoon. The latter is very quickly covered with a sort of “blush” copper, and the coating grows thicker and thicker as long as the current is kept at work. If there were no copper plate forming the anode the process would soon come to a standstill, on account of215 the copper in the electrolyte becoming used up; but as it is the sulphuric acid separated out of the electrolyte takes copper from the plate and combines with it to form a further supply of copper sulphate. In this way the strength of the solution is kept up, and the copper anode becomes smaller and smaller as the coating on the spoon increases in thickness. It is not necessary that the anode should consist of absolutely pure copper, because any impurities will be precipitated to the bottom or mixed with the solution, nothing but quite pure copper being deposited on the spoon. At the same time if the copper anode is very impure the electrolyte quickly becomes foul, and has to be purified or replaced by new solution.
By permission of]
[W. Canning & Co.
Fig. 35.—Small Electroplating Outfit.
To nickel-plate the spoon we should require a nickel plate for the anode and a nickel solution; to silver-plate it, a silver anode and solution, and so on. Fig. 35 shows at simple but effective arrangement for amateur electroplating in a small way.
Electroplating on a commercial scale is of course a much more elaborate process, but the principle remains exactly the same. Fig. 36 shows the general arrangement of a plating shop. It is obviously extremely important216 that the deposit on a plated article should be durable, and to ensure that the coating will adhere firmly the article must be cleaned thoroughly before being plated. Cleanliness in the ordinary domestic sense is not sufficient, for the article must be chemically clean. Some idea of the care required in this respect may be gained from the fact that if the cleaned surface is touched with the hand before being plated, the coating will strip off the parts that have been touched. The surfaces are first cleaned mechanically, and then chemically by immersion in solutions of acids or alkalies, the cleaning process varying to some extent with different metals. There is also a very interesting process of cleaning by electricity. The article is placed in a vat fitted with anode and cathode rods, just as in an ordinary plating vat, and containing a solution of hydrate of potash and cyanide of potassium. The anode consists of a carbon plate, and the article is hung from the cathode rod. Sufficient current is passed through the solution to cause gas to be given off rapidly at the cathode, and as this gas rises to the surface it carries with it the grease and dirt from the article, in the form of a dirty scum. After a short time the article becomes oxidized and discoloured, and the current is then reversed, so that the article becomes the anode, and the carbon plate the cathode. The current now removes the oxide from the surface of the article, which is left quite bright and chemically clean.
By Permission of]
[W. Canning & Co.
Fig. 36.—General Arrangement of an Electroplating Shop.
When thoroughly cleaned the articles are ready to be placed in the plating vats. These vats are usually made of wood lined with chemically pure lead, or of iron lined with enamel or cement. Anode and cathode rods made of brass are placed across the vats, and from these the anodes of the various metals and the articles to be plated are hung by hooks of nickel or brass. Any number of rods may be used, according to the size of the vat, so long218 as the articles have an anode on each side. If three rods are used the articles are hung from the centre one, and the anodes from the outside ones. If a number of small articles are to be plated together they are often suspended in perforated metal trays. Small articles are also plated by placing them in a perforated barrel of wood, or wood and celluloid, which revolves in the solution. While the articles are being plated the revolving of the barrel makes them rub one against the other, so that they are brightly burnished. Dog chains, cycle chain links, button-hooks, and harness fittings are amongst the articles plated by means of the revolving barrel.
The strength of current required for different kinds of plating varies considerably, and if the work is to be of the best quality it is very important that the current should be exactly right for the particular process in hand. In order to adjust it accurately variable resistances of German silver wire are provided for each vat, the current having to pass through the resistance before reaching the solution. The volume and the pressure of the current are measured by amperemeters and voltmeters attached to the resistance boards. If the intensity of the current is too great the articles are liable to be “burnt,” when the deposit is dark coloured and often useless.
When exceptionally irregular surfaces have to be plated it is sometimes necessary to employ an anode of special shape, in order to keep as uniform a distance as possible between the electrodes. If this is not done, those parts of the surface nearest the anode get more than their share of the current, and so they receive a thicker deposit than the parts farther away.
An interesting process is that known as “parcel-plating,” by which decorative coatings of different coloured metals can be deposited on one article. For instance, if it is219 desired to have gold flowers on a silver brooch, the parts which are not to be gilded are painted over with a non-conducting varnish. When this varnish is quite dry the brooch is placed in the gilding vat and the current sent through in the usual way. The gold is then deposited only on the parts unprotected by varnish, and after the gilding the varnish is easily removed by softening it in turpentine and brushing with a bristle brush. More elaborate combinations of different coloured metals can be made in the same way.
Sugar basins, cream jugs, ornamental bowls, cigarette cases, and other articles are often gilded only on the inside. The article is filled with gold solution and connected to the cathode rod. A piece of gold wrapped in calico is attached to the anode rod, suspended in the solution inside the article, and moved about quickly until the deposit is of the required thickness.
The time occupied in plating is greatly shortened by stirring or agitating the solutions. This sets up a good circulation of the liquid, and a continual supply of fresh solution is brought to the cathode. At the same time the resistance to the current is decreased, and more current may be used without fear of burning. Fig. 37 shows an arrangement for this purpose. The solution is agitated by compressed air, and at the same time the cathode rods are moved backwards and forwards. Plating solutions are also frequently heated in order to hasten the rate of deposition.
When the plating process is complete, the articles are removed from the vat, thoroughly swilled in water, and dried. They are then ready for finishing by polishing and burnishing, or they may be given a sort of frosted surface. During the finishing processes the appearance of the articles changes considerably, the rather dead-looking surface220 produced by the plating giving place to the bright lustre of the particular metal.
By Permission of]
[W. Canning & Co.
Fig. 37.—Method of agitating solution in Plating Vat.
It sometimes happens that an article which has been plated and polished shows little defects here and there in the deposit. In such a case it is not necessary to re-plate the whole article, for the defects can be made good by a221 process of “doctoring.” A piece of the same metal as that forming the deposit is placed between two pieces of wood, and a wire fastened to one end of it. At the other end several thicknesses of flannel are wrapped round and securely tied. This strip, which forms a miniature anode, is connected to the anode rod of the plating vat, and the article is connected to the cathode rod. The flannel is saturated with the plating solution, and the strip is rubbed gently over the defective places until the deposit formed is as thick as that on the rest of the article. If the work is done carefully the “doctored” portions cannot be distinguished from the rest of the surface.
Electroplating may be employed to give ships’ plates a coating of copper to prevent barnacles from sticking to them. The work is done in sections by building up to the side of the vessel a sort of vat of which the plate to be coated forms one side. The plate is thus at the same time the cathode and part of the vat.
So far we have spoken only of electroplating objects made of metal. If we tried to copperplate a plaster cast by simply suspending it as we did our spoon, we should get no result at all, because the plaster is a non-conductor. But if we sprinkle plumbago over the cast so as to give it a conducting surface, we can plate it quite well. Practically all materials can be electroplated, but if they are non-conductors they must be given a conducting surface in the way just described or by some similar means. Even flowers and insects may be plated, and by giving them first a coating of copper and then a coating of gold, delicately beautiful results are obtained.
Electrotyping is practically the same as electroplating, except that the coating is removed from the support on which it is deposited. The process is largely used for copying engraved plates for printing purposes. The plate222 is first rubbed over with a very weak solution of beeswax in turpentine, to prevent the deposit from adhering to it, and it is then placed in a copperplating vat and given a good thick coating. The coating is then stripped off, and in this way a reversed copy of the plate is obtained. This copy is then replaced in the vat, and a coating of copper deposited upon it, and this coating, when stripped off, forms an exact reproduction of the original, with every detail faithfully preserved. An engraved plate may be copied also by making from it a mould of plaster or composition. The surface of this mould is then rendered conducting by sprinkling over it a quantity of plumbago, which is well brushed into all the recesses, and a coating of copper deposited on it. As the mould was a reversed copy of the original, the coating formed upon it is of course an exact copy of the plate. If the copy has to be made very quickly a preliminary deposit of copper is chemically formed on the mould before it is placed in the vat. This is done by pouring on to the mould a solution of sulphate of copper, and sprinkling iron filings over the surface. The filings are then brushed down on to the face of the mould with a fine brush, and a chemical reaction takes place, resulting in the precipitation of copper from the solution. After the filings have been washed away, the mould is placed in the vat, and the deposition of copper takes place very rapidly.
Engraved copperplates are often nickel or steel-plated to give their surface greater hardness, so that the printer may obtain a larger number of sharp impressions from the same plate. Stereotypes also are coated with nickel for a similar reason.
Before the dynamo came into general use all electroplating and electrotyping was done with current supplied by voltaic cells, and though the dynamo is now used exclusively in large plating works, voltaic cells are still223 employed for work on a very small scale. A cell which quickly polarizes is quite useless for plating purposes, and one giving a constant and ample supply of current is required. The Daniell cell, which was described in Chapter IV., is used, and so also is the Bunsen cell, which consists of a porous pot containing strong nitric acid and a carbon rod, placed in an outer stoneware vessel containing dilute sulphuric acid and a zinc plate. The drawback to this cell is that it gives off very unpleasant fumes. The dynamos used for plating work are specially constructed to give a large amount of current at very low pressure. Continuous current only can be used, for alternating current would undo the work as fast as it was done, making the article alternately a cathode and an anode.
The metal copper, as obtained from copper ore, contains many impurities of various kinds. For most purposes these impurities greatly affect the value of the copper, and before the metal can be of much commercial use they must be got rid of in some way. In the previous chapter, in describing how to copperplate an old spoon, we saw that the anode need not consist of pure copper, because in any case nothing but the pure metal would be deposited upon the spoon. This fact forms the basis of the important industry of electrolytic copper refining. The process is exactly the same as ordinary copperplating, except that the cathode always consists of absolutely pure copper. This is generally in the form of a sheet no thicker than thin paper, but sometimes a number of suspended wires are used instead. A solution of copper sulphate is used as usual for the electrolyte, and the anode is a thick cast plate of the impure copper. The result of passing a current through the solution is that copper is taken from the anode and carried to the cathode, the impurities falling to the bottom of the vat and accumulating as a sort of slime. In this way thick slabs of pure copper are obtained, ready to be melted down and cast into ingots.
The impurities in the raw copper vary according to the ore from which it is obtained, and sometimes gold and silver are found amongst them. When the copper is known225 to contain these metals the deposit at the bottom of the refining vats is carefully collected, and from it a considerable quantity of gold and silver is recovered. It is estimated that about half a million tons of copper are refined every year. An immense amount of this pure copper is used for electrical purposes, for making conducting wires and cables, and innumerable parts of electric appliances and machinery of all kinds; in fact it is calculated that more than half of the copper produced all over the world is used in this way.
A similar method is employed to obtain the precious metals in a pure state, from the substance known as “bullion”; which consists usually of an intermingling of gold, silver, and copper, with perhaps also lead. Just as in copper refining, the raw material is used as the anode, and a strip of pure gold or silver, according to which metal is required, as the cathode. A silver solution is used if silver is wanted, and a gold solution if gold is to be deposited.
The metal aluminium has come into general use with surprising rapidity, and during the last twenty-five or thirty years the amount of this metal produced annually has increased from two or three tons to many thousands of tons. Aluminium occurs naturally in large quantities, in the form of alumina, or oxide of aluminium, but for a long time experimenters despaired of ever obtaining the pure metal cheaply on a commercial scale. The oxides of most metals can be reduced, that is deprived of their oxygen, by heating them with carbon; but aluminium oxide holds on to its oxygen with extraordinary tenacity, and absolutely refuses to be parted from it in this way. One process after another was tried, without success, and cheap aluminium seemed to be an impossibility until about 1887, when two chemists, Hall, an American, and Héroult, a226 Frenchman, discovered a satisfactory solution of the problem. These chemists, who were then scarcely out of their student days, worked quite independently of one another, and it is a remarkable fact that their methods, which are practically alike, were discovered at almost the same time. The process is an interesting mixture of electrolysis and electric heating. An iron crucible containing a mixture of alumina, fluorspar, and cryolite is heated. The two last-named substances are quickly fused, and the alumina dissolves in the resulting fluid. When the mixture has reached the fluid state, electrodes made of carbon are dipped into it, and a current is passed through; with the result that oxygen is given off at the anode, and metallic aluminium is produced at the cathode, in molten drops. This molten metal is heavier than the rest of the fluid, and so it falls to the bottom. From here it is drawn off at intervals, while fresh alumina is added as required, so that the process goes on without interruption. After the first fusing of the mixture no further outside heat is required, for the heat produced by the passage of the current is sufficient to keep the materials in a fluid state. Vast quantities of aluminium are produced in this way at Niagara Falls, and in Scotland and Switzerland.
Most of us are familiar with the substance known as caustic soda. The chemical name for this is sodium hydrate, and its preparation by electrolysis is interesting. Common salt is a chemical compound of the metal sodium and the greenish coloured, evil smelling gas chlorine, its proper name being sodium chloride. A solution of this in water is placed in a vat or cell, and a current is sent through it. The solution is then split up into chlorine, at the anode, and sodium at the cathode. Sodium has a remarkably strong liking for water, and as soon as it is set free from the chlorine it combines with the water of the solution, and227 a new solution of sodium hydrate is formed. The water in this is then got rid of, and solid caustic soda remains.
Amongst the many purposes for which caustic soda is used is the preparation of oxygen and hydrogen. Water, to which a little sulphuric acid has been added, is split up by a current into oxygen and hydrogen, as we saw in Chapter V. This method may be used for the preparation of these two gases on a commercial scale, but more usually a solution of caustic soda is used as the electrolyte. If the oxygen and hydrogen are not to be used at the place where they are produced, they are forced under tremendous pressure into steel cylinders, and at a lantern lecture these cylinders may be seen supplying the gas for the lime-light. Although the cylinders are specially made and tested for strength, they are covered with a sort of rope netting; so that if by any chance one happened to burst, the shattered fragments of metal would be caught by the netting, instead of flying all over the room and possibly injuring a number of people. A large quantity of hydrogen is prepared by this process for filling balloons and military airships.
In the chapter on electricity in the atmosphere we saw that whereas air at ordinary pressure is a bad conductor, its conducting power increases rapidly as the pressure is lowered. Roughly speaking, if we wish to obtain a spark across a gap of 1 inch in ordinary air, we must have an electric pressure of about 50,000 volts. The discharge which takes place under these conditions is very violent, and it is called a “disruptive” discharge. If however the air pressure is gradually lowered, the discharge loses its violent character, and the brilliant spark is replaced by a soft, luminous glow.
The changes in the character of the discharge may be studied by means of an apparatus known as the “electric egg.” This consists of an egg-shaped bulb of glass, having its base connected with an air-pump. Two brass rods project into the bulb, one at each end; the lower rod being a fixture, while the upper one is arranged to slide in and out, so that the distance between the balls can be varied. The outer ends of the rods are connected to an induction coil or to a Wimshurst machine. If the distance between the balls has to be, say, half an inch, to produce a spark with the air at normal pressure, then on slightly reducing the pressure by means of the air-pump it is found that a spark will pass with the balls an inch or more apart. The brilliance of an electric spark is due to the resistance of the229 air, and as the pressure decreases the resistance becomes smaller, so that the light produced is much less brilliant. If the exhaustion is carried still further the discharge becomes redder in colour, and spreads out wider and wider until it loses all resemblance to a spark, and becomes a luminous glow of a purple or violet colour. At first this glow seems to fill the whole bulb, but at still higher vacua it contracts into layers of definite shape, these layers being alternately light and dark. Finally, when the pressure becomes equal to about one-millionth of an atmosphere, a luminous glow surrounds the cathode or negative rod, beyond this is dark space almost filling the bulb, and the walls of the bulb between the cathode and the anode glow with phosphorescent light. This phosphorescence is produced by rays coming from the cathode and passing through the dark space, and these rays have been given the name of “cathode rays.”
Many interesting experiments with these rays may be performed with tubes permanently exhausted to the proper degree. The power of the rays to produce phosphorescence is shown in a most striking way with a tube fixed in a horizontal position upon a stand, and containing a light cross made of aluminium, placed in the path of the rays. This is hinged at the base, so that it can be stood up on end or thrown down by jerking the tube. Some of the rays streaming from the cathode are intercepted by the cross, while others pass by it and reach the other end of the tube. The result is that a black shadow of the cross is thrown on the glass, sharply contrasted with those parts of the tube reached by the rays, and which phosphoresce brilliantly. After a little while this brilliance decreases, for the glass becomes fatigued, and loses to a considerable extent its power of phosphorescing. If now the cross is jerked down, the rays reach the portions of the tube before protected by230 the cross, and this glass, being quite fresh, phosphoresces with full brilliance. The black cross now suddenly becomes brilliantly illuminated, while the tired glass is dark in comparison. If the tired glass is allowed to rest for a while it partly recovers its phosphorescing powers, but it never regains its first brilliance.
An even more striking experiment may be made with a horizontal tube containing a tiny wheel with vanes of mica, something like a miniature water-wheel, mounted on glass rails. When the discharges are sent through the tube, the cathode rays strike against the vanes and cause the little wheel to move forward in the direction of the anode. Other experiments show that the cathode rays have great heating power, and that they are deflected by a magnet held close to the tube.
For a long time the nature of these cathode rays was in dispute. German physicists held that they were of the same character as ordinary light, while English scientists, headed by Sir William Crookes, maintained that they were streams of extremely minute particles of matter in a peculiar fourth state. That is to say, the matter was not liquid, or solid, or gaseous in the ordinary sense, but was ultra-gaseous, and Crookes gave it the name of radiant matter. Most of us have been taught to look upon the atom as the smallest possible division of matter, but recent researches have made it clear that the atom itself is divisible. It is believed that an atom is made up of very much more minute particles called electrons, which are moving about or revolving all the time with incredible rapidity. According to Sir Oliver Lodge, if we imagine an atom of hydrogen to be as big as an ordinary church, then the electrons which constitute it will be represented by about 700 grains of sand, 350 being positively electrified and 350 negatively electrified. It is not yet definitely determined whether these electrons are minute231 particles of matter charged with electricity, or whether they are actually atoms of electricity. The majority of scientists now believe that the cathode rays consist of a stream of negative electrons repelled from the cathode at a speed of 124 miles per second, or not quite 1/1000 of the velocity of light.
In November 1895, Professor Röntgen, a German physicist, announced his discovery of certain invisible rays which were produced at the same time as the cathode rays, and which could penetrate easily solids quite opaque to ordinary light. He was experimenting with vacuum tubes, and he found that certain rays emerged from the tube. These were not cathode rays, because they were able to pass through the glass, and were not deflected by a magnet. To these strange rays he gave the name of the “X,” or unknown rays, but they are very frequently referred to by the name of their discoverer.
It was soon found that the Röntgen rays affected an ordinary photographic plate wrapped up in black paper so as to exclude all ordinary light, and that they passed through flesh much more easily than through bone. This fact makes it possible to obtain what we may call “shadow-graphs” of the bones through the flesh, and the value of this to the medical profession was realized at once. The rays also were found to cause certain chemical compounds to become luminous. A cardboard screen covered with one of these compounds is quite opaque to ordinary light, but if it is examined when the Röntgen rays are falling upon it, it is seen to be brightly illuminated, and if the hand is held between the screen and the rays the bones become clearly visible.
Röntgen rays are produced when the cathode rays fall upon, and as it were bombard, an obstacle of some kind. Almost any tube producing cathode rays will produce also232 Röntgen rays, but special forms of tube are used when the main object is to obtain these latter rays. Fig. 38 shows a typical form of simple X-ray tube. This, like all other tubes for X-ray work, is exhausted to a rather higher vacuum than tubes intended for the production of cathode rays only. The cathode C is made of aluminium, and is shaped like a saucer, its curvature being arranged so that the cathode rays are focused on to the anti-cathode A. The focusing as a rule is not done very accurately, for although sharper radiographs are obtained when the cathode rays converge exactly to a point on the anti-cathode, the heating effect at this point is so great that a hole is quickly burned. The target, or surface of the anti-cathode, is made of some metal having an extremely high melting-point, such as platinum, iridium, or tungsten. It has a flat surface inclined at an angle of about 45°, so that the rays emanating from it proceed in the direction shown by the dotted lines in the figure. The continuous lines show the direction of the cathode rays. The anode is made of aluminium, and it is shown at N. It is not necessary to233 have a separate anode, and the anti-cathode may be used as the anode. In the tube shown in Fig. 38 the anode and the anti-cathode are joined by an insulated wire, so that they both act as anodes. The tube is made of soda-glass, as the X-rays do not pass at all readily through lead-glass.
By permission of]
[C. H. F. Muller.
Fig. 39.—Diagram of Mica Vacuum Regulator for X-Ray Tubes.
The penetrating power of the X-rays varies with the vacuum of the tube, a low vacuum giving rays of small penetration, and a high vacuum rays of great penetration. Tubes are called hard or soft according to the degree of the vacuum, a hard tube having a high vacuum and a soft tube a low one. It should be remembered that the terms high and low, as applied to the vacuum of X-ray tubes, are only relative, because the vacuum must be very high to admit of the production of X-rays at all. The vacuum becomes higher as the tube is used, and after a while it becomes so high that the tube is practically useless, for the penetrating power of the rays is then so great that sharp contrasts between different substances, such as flesh and bone, cannot be obtained, and the resulting radiographs are flat and poor. The vacuum of a hard tube may be lowered temporarily by gently heating the tube, but this is not a very convenient or satisfactory process, and tubes are now made with special arrangements for lowering the vacuum when necessary. There are several vacuum-regulating devices, and Fig. 39 is a diagram of the234 “Standard” mica regulator used in most of the well-known “Muller” X-ray tubes. This consists of a small additional bulb containing an electrode D carrying a series of mica discs. A wire DF is attached to D by means of a hinged cap. The vacuum is lowered while the discharges are passing through the tube. The wire DF is moved towards the cathode terminal B, and kept there for a few seconds. Sparks pass between F and B, and the current is now passing through the electrode D in the regulator chamber. This causes the mica to become heated, so that it gives off a small quantity of gas, which passes into the main tube and so lowers the vacuum. The wire DF is then moved well away from B, and after a few hours’ rest the tube, now of normal hardness, is ready for further use.
We have already referred to the heating of the anti-cathode caused by the bombardment of the cathode rays. Even if these rays are not focused very sharply, the anti-cathode of an ordinary tube becomes dangerously hot if the tube is run continuously for a fairly long period, and for hospital and other medical work on an extensive scale special tubes with water-cooled anti-cathodes are used. These tubes have a small bulb blown in the anti-cathode neck. This bulb is filled with water, which passes down a tube to the back of the target of the anti-cathode. By this arrangement the heat generated in the target is absorbed by the water, so that the temperature of the target can become only very slightly higher then 212° F., which is the temperature of boiling water, and quite a safe temperature for the anti-cathode. In some tubes the rise in temperature is made slower by the use of broken bits of ice in place of water. Fig. 40 shows a Muller water-cooled tube, and Fig. 41 explains clearly the parts of an X-ray tube and their names.
By permission of]
[C. H. F. Muller.
Fig. 41.—Diagram showing parts of X-Ray Tube.
An induction coil is generally used to supply the high-tension236235 electricity required for the production of the Röntgen rays. For amateur or experimental purposes a coil giving continuous 4-inch or even 3-inch sparks will do, but for medical work, in which it is necessary to take radiographs with very short exposures, coils giving sparks of 10, 12, or more inches in length are employed. An electrical influence machine, such as the Wimshurst, may be used instead of an induction coil. Very powerful machines with several pairs of plates of large diameter, and driven by an electric motor, are in regular use for X-ray work in the United States, but in this country they are used only to a very small extent. A Wimshurst machine is particularly suitable for amateur work. If a screen is to be used for viewing bones through the flesh a fairly large machine is required, but for screen examination of such objects as coins in a box, or spectacles in a case, and for taking radiographs of these and other similar objects, a machine giving a fairly rapid succession of sparks as short as 2 inches can be used. Of course the exposure required for taking radiographs with a machine as small as this are very long, but as the objects are inanimate this does not matter very much.
For amateur X-ray work the arrangement of the apparatus is simple. The tube is held in the required position by means of a wooden clamp attached to a stand in such a way that it is easily adjustable. Insulated wires are led from the coil or from the Wimshurst machine to the tube, the positive wire being connected to the anode, and the negative wire to the cathode. With a small Wimshurst machine light brass chains may be used instead of wires, and these have the advantage of being easier to manipulate. For medical purposes the arrangements are more complicated, and generally a special room is set apart for X-ray work.
237
If the connexions have been made correctly, then on starting the coil or the machine the tube lights up. The bulb appears to be sharply divided into two parts, the part in front of the anti-cathode glowing with a beautiful greenish-yellow light, while the part behind the anti-cathode is dark, except for lighter patches close to the anode. The Röntgen rays are now being produced. The illumination is not steady like that of an electric lamp, but it consists of a series of flickers, which, with powerful apparatus, follow one another so rapidly as to give the impression of continuity. If the connexions are wrong, so that the negative wire goes to the anode instead of to the cathode, the bulb is not divided in this way, but has patches of light almost all over. As soon as this appearance is seen the apparatus must be stopped and the connexions reversed, for the tube is quickly damaged by passing the discharge through it in the wrong direction.
Having produced the X-rays, we will suppose that it is desired to examine the bones of the hand. For this purpose a fluorescent screen is required. This consists of a sheet of white cardboard coated usually with crystals of barium platino-cyanide. In order to shut out all light but that produced by the rays, the cardboard is placed at the larger end of a box or bellows shaped like a pyramid. This pyramid is brought close to the X-ray tube, with its smaller end held close to the eyes, and the hand is placed against the outer side of the cardboard sheet. The outline of the hand is then seen as a light shadow, and the very much blacker shadow of the bones is clearly visible. For screen work it is necessary to darken the room almost entirely, on account of the feebleness of the illumination of the screen.
If a radiograph of the bones of the hand is to be taken, a very sensitive photographic plate is necessary. An238 ordinary extra-rapid plate will do fairly well, but for the best work plates made specially for the purpose are used. The emulsion of an ordinary photographic plate is only partially opaque to the X-rays, so that while some of the rays are stopped by it, others pass straight through. The silver bromide in the emulsion is affected only by those rays which are stopped, so that the energy of the rays which pass through the emulsion is wasted. If a plate is coated with a very thick film, a larger proportion of the rays can be stopped, and many X-ray plates differ from photographic plates only in the thickness of the emulsion. A thick film however is undesirable because it makes the after processes of developing, fixing, and washing very prolonged. In the “Wratten” X-ray plate the emulsion is made highly opaque to the rays in a different and ingenious manner. Salts of certain metals have the power of stopping the X-rays, and in this plate a metallic salt of this kind is contained in the emulsion. The film produced in this way stops a far larger proportion of the rays than any ordinary film, and consequently the plate is more sensitive to the rays, so that shorter exposures can be given.
X-ray plates are sold usually wrapped up separately in light-tight envelopes of black paper, upon which the film side of the plate is marked. If there is no such wrapping the plate must be placed in a light-tight envelope, with its film facing that side of the envelope which has no folds. The ordinary photographic double envelopes, the inner one of yellow paper and the outer one of black paper, are very convenient for this purpose. The plate in its envelope is then laid flat on the table, film side upwards, and the X-ray tube is clamped in a horizontal position so that the anti-cathode is over and pointing towards the plate. The hand is laid flat on the envelope, and the coil or machine is set working. The exposure required varies so much with239 the size of the machine or coil, the distance between the tube and the plate, the condition of the tube, and the nature of the object, that it is impossible to give any definite times, and these have to be found by experiment. The hand requires a shorter exposure than any other part of the body. If we call the correct exposure for the hand 1, then the exposures for other parts of the body would be approximately 3 for the foot and the elbow, 6 for the shoulder, 8 for the thorax, 10 for the spine and the hip, and about 12 for the head. The exposures for such objects as coins in a box are much less than for the hand. After exposure, the plate is developed, fixed, and washed just as in ordinary photography. Plate XIV. shows a Röntgen ray photograph of a number of fountain pens, British and foreign.
Prolonged exposure to the X-rays gives rise to a painful and serious disease known as X-ray dermatitis. This danger was not realized by the early experimenters, and many of them contracted the disease, with fatal results in one or two cases. Operators now take ample precautions to protect themselves from the rays. The tubes are screened by substances opaque to the rays, so that these emerge only where they are required, and impenetrable gloves or hand-shields, aprons, and face-masks made of rubber impregnated with lead-salts are worn.
X-ray work is a most fascinating pursuit, and it can be recommended strongly to amateurs interested in electricity. There is nothing particularly difficult about it, and complete outfits can be obtained at extremely low prices, although it is best to get the most powerful Wimshurst machine or induction coil that can be afforded. As radiography is most likely to be taken up by photographers, it may be well to state here that any photographic plates or papers240 left in their usual wrappings in the room in which X-rays are being produced are almost certain to be spoiled, and they should be placed in a tightly fitting metal box or be taken into the next room. It is not necessary for the amateur doing only occasional X-ray work with small apparatus to take any of the precautions mentioned in the previous paragraph, for there is not the slightest danger in such work.
PLATE XIV.
By permission of
Kodak Ltd.
RÖNTGEN RAY PHOTOGRAPH OF BRITISH AND FOREIGN FOUNTAIN PENS. TAKEN ON WRATTEN X-RAY PLATE.
One of the most remarkable things about electricity is the immense number of different purposes for which it may be used. We have already seen it driving trams and trains, lighting and heating our houses, and carrying our messages thousands of miles over land and sea, and now we come to its use in medical work. In the minds of many people medical electricity is associated with absolute quackery. Advertisements of electric belts, rings, and other similar appliances have appeared regularly for many years in our newspapers and magazines, and constant exposures of the utter worthlessness of almost all these appliances have produced the impression that medical electricity is nothing but a bare-faced fraud, while the disgusting exhibitions of so-called electric healing which have been given on the music-hall stage have greatly deepened this impression. This state of things is very unfortunate, because electricity, in the hands of competent medical men, is a healing agent of wonderful potency. Still another source of prejudice against electricity may be found in the fact that electric healing is popularly associated with more or less violent shocks. On this account nervously-sensitive people shrink from the idea of any kind of electrical treatment. As a matter of fact electric shocks have no healing value, but on the contrary they are frequently harmful, and a very severe shock to a sensitive person may cause permanent injury.242 No shocks whatever are given in electric treatment by medical men, and indeed in the majority of cases the treatment is unaccompanied by unpleasant sensations of any kind.
In the previous chapter we spoke of the use of the Röntgen or X-rays in examining the various bones of the body. By means of the fluorescent screen it is quite easy to find and examine fractures and dislocations, and many of the diseases of the bones and joints can be seen and recognized. Metals are opaque to the X-rays, and so the screen shows plainly such objects as needles or bullets embedded in the flesh. Sometimes people, especially young children, swallow coins and other small metal articles, and here again the X-rays will show the exact position of the intruder. A particularly valuable application of the rays is in the discovering and locating of tiny fragments of metal in the eye, for very often it is quite impossible to do this by ordinary observation. Most of these fragments are of steel or iron, and they are most easily removed by means of an electro-magnet. If the fragment is very small a powerful magnet is used, one capable of supporting 500 or 600 lb.; but if it is fairly large a weaker magnet, supporting perhaps 30 lb., must be employed, because the forceful and rapid dragging out of a large body might seriously damage the eye.
If the chest is examined by the Röntgen rays the lungs are seen as light spaces between the clearly marked ribs, and any spot of congestion appears as a darker patch. In this way the early stages of consumption may be revealed, and in pneumonia and other similar complaints valuable information regarding the condition of the lungs can be obtained. It is possible also to follow to a considerable extent the processes of digestion. X-rays easily pass through ordinary food, but if bismuth oxychloride, which is quite harmless, is mixed with the food, the mixture becomes opaque243 to the rays, and so its course may be followed on the screen. The normal movements of the food are well known, and an abnormal halt is probably caused by an obstruction of some kind, and thus the X-rays enable the physician to locate the obstruction, and to form an opinion of its nature.
In our chapter on wireless telegraphy we saw that the discharge of a Leyden jar takes the form of a number of rapid oscillations backwards and forwards. These oscillations take place at a rate of more than half a million per second, but by the use of an apparatus called a “high frequency transformer” the rate is increased to more than a million per second. Electricity in this state of rapid oscillation is known as high frequency electricity, and high frequency currents are very valuable for some kinds of medical work. The application of these currents is quite painless, and but for the strange-looking apparatus the patient probably would not know that anything unusual was taking place. To some extent the effect maybe said to be not unlike that of a powerful tonic. Insomnia and other troubles due to disordered nerves are quickly relieved, and even such obstinate complaints as neuritis and crippling rheumatism have been cured. The treatment is also of great value in certain forms of heart trouble. By increasing the strength of the high frequency currents the tissues actually may be destroyed, and this power is utilized for exterminating malignant growths, such as lupus or cancer.
The heat produced by a current of electricity is made use of in cauterizing. The burner is a loop of platinum wire, shaped according to the purpose for which it is intended, and it is used at a dull red heat. Very tiny electric incandescent lamps, fitted in long holders of special shape, are largely used for examining the throat and the various cavities of the body.
In the Finsen light treatment electric light is used for244 a very different purpose. The spectrum of white light consists of the colours red, orange, yellow, green, blue, indigo, and violet. Just beyond the violet end of the spectrum are the ultra-violet rays. Ultra-violet light consists of waves of light which are so short as to be quite invisible to the eye, and Dr. N. R. Finsen, a Danish physician, made the discovery that this light is capable of destroying bacterial germs. In the application of ultra-violet rays to medical work, artificial light is used in preference to sunlight; for though the latter contains ultra-violet light, a great deal of it is absorbed in passing through the atmosphere. Besides this, the sun sends out an immense amount of radiant heat, and this has to be filtered out before the light can be used. The usual source of light is the electric arc, and the arc is much richer in ultra-violet rays if it is formed between electrodes of iron, instead of the usual carbon rods. The light, which, in addition to the ultra-violet rays, includes the blue, indigo, and violet parts of the spectrum, is passed along a tube something like that of a telescope, and is focused by means of a double lens, consisting of two separate plates of quartz. Glass cannot be used for the lens, because it is opaque to the extreme ultra-violet rays. A constant stream of water is passed between the two plates forming the lens, and this filters out the heat rays, which are not wanted. In some forms of Finsen lamp an electric spark is used as the source of light, in place of the arc.
The most important application of the Finsen light is in the cure of the terribly disfiguring disease called lupus. This is a form of tuberculosis of the skin, and it is produced by the same deadly microbe which, when it attacks the lungs, causes consumption. In all but extreme cases the Finsen light effects a remarkable cure. A number of applications are necessary, each of half an hour or more;245 and after a time the disease begins to disappear, leaving soft, normal skin. The exact action of the light rays is a disputed point. Finsen himself believed that the ultra-violet rays attacked and exterminated the microbe, but a later theory is that the rays stimulate the tissues to such an extent that they are enabled to cure themselves. As early as the year 1899 Finsen had employed his light treatment in 350 cases of lupus, and out of this number only five cases were unsuccessful.
The ultra-violet rays are said to have a very beneficial effect upon the teeth. Experiments carried out in Paris, using a mercury vapour lamp as the source of light, show that discoloured teeth are whitened and given a pearly lustre by these rays, at the same time being sterilized so that they do not easily decay. The Röntgen rays are used for the treatment of lupus, and more particularly for deeper growths, such as tumours and cancers, for which the Finsen rays are useless, owing to their lack of penetrating power. The action of these two kinds of rays appears to be similar, but the X-rays are much the more active of the two.
Electricity is often applied to the body through water, in the form of the hydro-electric bath, and such baths are used in the treatment of different kinds of paralysis. Electric currents are used too for conveying drugs into the tissues of the body. This is done when it is desired to concentrate the drug at some particular point, and it has been found that chemicals can be forced into the tissues for a considerable distance.
Dr. Nagelschmidt, a great authority on medical electricity, has suggested the use of electricity for weight reducing. In the ordinary way superfluous flesh is got rid of by a starvation diet coupled with exercise, but in many cases excessively stout people are troubled with heart246 disorders and asthma, so that it is almost impossible for them to undergo the necessary muscular exertion. By the application of electric currents, however, the beneficial effects of the gentle exercise may be produced without any exertion on the part of the patient, and an hour’s treatment is said to result in a decrease in weight of from 200 to 800 grammes, or roughly 7 to 27 ounces.
The great difference between the atmospheric conditions before and after a thunderstorm must have been noticed by everybody. Before the storm the air feels lifeless. It does not satisfy us as we draw it into our lungs, and however deeply we breathe, we feel that something is lacking. After the storm the air is delightful to inhale, and it refreshes us with every breath. This remarkable transformation is brought about to a very large extent by ozone produced by the lightning discharges.
As far back as 1785 it was noticed that oxygen became changed in some way when an electric spark was passed through it, and that it acquired a peculiar odour. No particular attention was paid to the matter however until about 1840, when Schönbein, a famous German chemist, and the discoverer of gun-cotton and collodion, became interested in it. He gave this strange smelling substance the name of “ozone,” and he published the results of his experiments with it in a treatise entitled, “On the Generation of Ozone.” Schönbein showed that ozone could be produced by various methods, chemical as well as electrical. For instance, if a piece of phosphorus is suspended in a jar of air containing also a little water, in such a manner that it is partly in the water and partly out of it, the air acquires the characteristic smell of ozone, and it is found to have gained increased chemical energy, so that it is a more248 powerful oxidizing agent. For a long time the exact chemical nature of ozone could not be determined, mainly because it was impossible to obtain the substance in quantities sufficiently large for extensive experimental research, but also on account of its extremely energetic properties, which made it very troublesome to examine. These difficulties were so great that investigators were in doubt as to whether ozone was an element or a compound of two or more elements; but finally it was proved that it was simply oxygen in a condensed or concentrated state.
Apparently ozone is formed by the contraction of oxygen, so that from three volumes of oxygen two volumes of ozone are produced. In other words, ozone has one and a half times the density of oxygen. Ozone has far greater oxidizing power than oxygen itself; in fact it is probably the most powerful of all oxidizing agents, and herein lies its great value. It acts as nature’s disinfectant or sterilizer, and plays a very important part in keeping the air pure, by destroying injurious organic matter. Bacteria apparently have a most decided objection to dying; at any rate they take an extraordinary amount of killing. Ozone is more than a match for them however, and under its influence they have a short life and probably not a merry one.
Ozone exists naturally in the atmosphere in the open country, and more especially at the seaside. It is produced by lightning discharges, by silent electrical discharges in the atmosphere, by the evaporation of water, particularly salt water, by the action of sunlight, and also by the action of certain vegetable products upon the air. The quantity of ozone in the air is always small, and even pure country or sea air contains only one volume of ozone in about 700,000 volumes of air. No ozone can be detected in the air of large towns, or over unhealthy swamps or249 marshes. The exhilarating effects of country and sea air, and the depressing effects of town air, are due to a very large extent to the presence or absence of ozone.
A great proportion of our common ailments are caused directly or indirectly by a sort of slow poisoning, produced by the impure air in which we live and work. It is popularly supposed that the tainting of the air of rooms in which large numbers of people are crowded together is due to an excessive amount of carbonic acid gas. This is a mistake, for besides being tasteless and odourless, carbonic acid gas is practically harmless, except in quantities far greater than ever exist even in the worst ventilated rooms. The real source of the tainted air is the great amount of animal matter thrown off as waste products from the skin and lungs, and this tainting is further intensified by the absence of motion in the air. Even in an over-crowded room the conditions are made much more bearable if the air is kept in motion, and in a close room ladies obtain relief by the use of their fans. What we require, therefore, in order to maintain an agreeable atmosphere under all conditions, is some means of keeping the air in gentle motion, and at the same time destroying as much as possible of the animal matter contained in it. Perhaps the most interesting and at the same time the most scientific method of doing this is by ozone ventilation.
In the well-known “Ozonair” system of ventilation, ozone is generated by high-tension current. Low-tension current is taken from the public mains or from accumulators, and raised to a very high voltage by passing it through a step-up transformer. The secondary terminals of the transformer are connected to a special form of condenser, consisting of layers of fine metal gauze separated by an insulating substance called “micanite.” The high tension between the gauze layers produces a silent electrical discharge250 or glow. A small fan worked by an electric motor draws the air over the condenser plates, and so a certain proportion of the oxygen is ozonized, and is driven out of the other side of the apparatus into the room. The amount of ozone generated and the amount of air drawn over the condenser are regulated carefully, so that the ozonized air contains rather less than one volume of ozone in one million volumes of air, experiment having shown that this is the most suitable strength for breathing. Ozone diluted to this degree has a slight odour which is very refreshing, and besides diminishing the number of organic germs in the air, it neutralizes unpleasant smells, such as arise from cooking or stale tobacco smoke. Ozone ventilation is now employed successfully in many hotels, steamships, theatres and other places of entertainment, municipal and public buildings, and factories.
By permission of]
[Ozonair, Ltd.
Fig. 42.—Diagram of Ozonizing Plant, Central London Tube Electric Railway.
One of the most interesting examples of ozone ventilation is that of the Central London tube electric railway. The installation consists of a separate ozonizing plant at every station, except Shepherd’s Bush, which is close to the open end of the tunnel. Fig. 42 is a diagram of the general arrangement of one of these plants, and it shows how the air is purified, ozonized, and sent into the tunnel. The generating plant is seen at the top left-hand corner of the figure. Air is drawn in as shown by the arrows, and by passing through the filter screen F it is freed from dirt and smuts, and from most of the injurious gases which always are present in town air. The filter screen is kept moist by a continual flow of water from jets above it, the waste water falling into the trough W. The ozone generator is shown at O. Continuous current at about 500 volts, from the power station, is passed through a rotary converter, which turns it into alternating current at 380 volts. This current goes to the transformer T, from252 which it emerges at a pressure of 5000 volts, and is supplied to the ozone generator. From the generator the strongly ozonized air is taken by way of the ozone pipe P, to the mixing chamber of the large ventilating fan M, where it is mixed with the main air current and then blown down the main air trunk. From this trunk it is distributed to various conduits, and delivered at the air outlets marked A. Altogether the various plants pump more than eighty million cubic feet of ozonized air into the tunnels every working day.
In many industries pure air is very essential, especially during certain processes. This is the case in brewing, in cold storage, and in the manufacture and canning of food products; and in these industries ozone is employed as an air purifier, with excellent results. Other industries cannot be carried on without the production of very unpleasant fumes and smells, which are a nuisance to the workers and often also to the people living round about; and here again ozone is used to destroy and remove the offending odours. It is employed also in the purification of sewage and polluted water; in bleaching delicate fabrics; in drying and seasoning timber; in maturing tobacco, wines and spirits, and in many other processes too numerous to mention.
The petrol motor, which to-day is busily engaged all over the world in driving thousands upon thousands of self-propelled vehicles or automobiles, belongs to the important class of internal-combustion engines. Combustion means the operation of burning, and an internal-combustion engine is one in which the motive power is produced by the combustion of a highly explosive mixture of gases. In the ordinary petrol motor this mixture consists of petrol and air, and it is made by means of a device called a “carburetter.” By suction, a quantity of petrol is forced through a jet with a very fine nozzle, so that it is reduced to an extremely fine spray. A certain proportion of air is allowed to enter, and the mixture passes into the cylinder. Here it is compressed by the rising piston so that it becomes more and more heated, and at the right point it is ignited. Combustion takes place with such rapidity that it takes the form of an explosion, and the energy produced in this way drives forward the piston, which turns the crank-shaft and so communicates motion to the driving-wheels.
The part played by electricity in this process is confined to the ignition of the compressed charge of petrol and air. This may be done in two ways; by means of an accumulator and a small induction coil, or by means of a dynamo driven by the engine. At one time the first method was employed exclusively, but to-day it is used as a rule only for starting254 the car engine, the second or magneto method being used when the engine has started up.
In accumulator ignition the low-tension current from the accumulator passes through an induction coil, and is thus transformed to high-tension current. This current goes through a sparking plug, which is fixed in the head of the cylinder. The sparking plug contains two metal points separated by a tiny air gap of from about 1/30 to 1/50 inch. This gap provides the only possible path for the high-tension current, so that the latter leaps across it in the form of a spark. The spark is arranged to take place when the piston is at the top of its stroke, that is, when the explosive mixture is at its maximum compression, and the heat of the spark ignites the mixture, the resulting explosion forcing down the piston with great power. In practice it is found better as a rule to cause the spark to pass very slightly before the piston reaches the extreme limit of its stroke. The reason of this is that the process of igniting and exploding the charge occupies an appreciable, though of course exceedingly small amount of time. Immediately on reaching the top of its stroke the piston begins to descend again, and if the spark and the top of the stroke coincide in time the explosion does not take place until the piston has moved some little distance down the cylinder, and so a certain amount of power is lost. By having the spark a little in advance of the piston, the explosion occurs at the instant when the piston begins to return, and so the full force of the explosion is utilized.
In magneto ignition the current is supplied by a small dynamo. This generates alternating current, and it is driven by the car engine. The current is at first at low pressure, and it has to be transformed to high-tension current in order to produce the spark. There are two methods of effecting this transformation. One is by turning255 the armature of the dynamo into a sort of induction coil, by giving it two separate windings, primary and secondary; so that the dynamo delivers high-tension current directly. The other method is to send the low-tension current through one or more transformer coils, just as in accumulator ignition. Accumulators can give current only for a certain limited period, and they are liable consequently to run down at inconvenient times and places. They also have the defect of undergoing a slight leakage of current even when they are not in use. Magneto ignition has neither of these drawbacks, and on account of its superior reliability it has come into universal use.
In the working of quarries and mines of various kinds, and also in large engineering undertakings, blasting plays a prominent part. Under all conditions blasting is a more or less dangerous business, and it has been the cause of very many serious accidents to the men engaged in carrying it out. Many of these accidents are due to the carelessness resulting from long familiarity with the work, but apart from this the danger lies principally in uncertainty in exploding the charge. Sometimes the explosion occurs sooner than expected, so that the men have not time to get away to a safe distance. Still more deadly is the delayed explosion. After making the necessary arrangements the men retire out of danger, and await the explosion. This does not take place at the expected time, and after waiting a little longer the men conclude that the ignition has failed, and return to put matters right. Then the explosion takes place, and the men are killed instantly or at least seriously injured. Although it is impossible to avoid altogether dangers of this nature, the risk can be reduced to the minimum by igniting the explosives by electricity.
Electrical shot firing may be carried out in different ways, according to circumstances. The current is supplied256 either by a dynamo or by a battery, and the firing is controlled from a switchboard placed at a safe distance from the point at which the charge is to be exploded, the connexions being made by long insulated wires. The actual ignition is effected by a hot spark, as in automobile ignition, or by an electric detonator or fuse. Explosives such as dynamite cannot be fired by simple ignition, but require to be detonated. This is effected by a detonator consisting of a small cup-shaped tube, made of ebonite or other similar material. The wires conveying the current project into this tube, and are connected by a short piece of very fine wire having a high resistance. Round this wire is packed a small quantity of gun-cotton, and beyond, in a sort of continuation of the tube, is placed an extremely explosive substance called “fulminate of mercury,” the whole arrangement being surrounded by the dynamite to be fired. When all is ready the man at the switchboard manipulates a switch, and the current passes to the detonator and forces its way through the resistance of the thin connecting wire. This wire becomes sufficiently hot to ignite the gun-cotton, and so explode the fulminate of mercury. The explosion is so violent that the dynamite charge is detonated, and the required blasting carried out. Gunpowder and similar explosives do not need to be detonated, and so a simple fuse is used. Electric fuses are much the same as detonators, except that the tube contains gunpowder instead of fulminate of mercury, this powder being ignited through an electrically heated wire in the same way. These electrical methods do away with the uncertainty of the slow-burning fuses formerly employed, which never could be relied upon with confidence.
Enormous quantities of explosives are now used in blasting on a large scale, where many tons of hard rock have to be removed. One of the most striking blasting257 feats was the blowing up of Flood Island, better known as Hell Gate. This was a rocky islet, about 9 acres in extent, situated in the East River, New York. It was a continual menace to shipping, and after many fine vessels had been wrecked upon it the authorities decided that it should be removed. The rock was bored and drilled in all directions, the work taking more than a year to complete; and over 126 tons of explosives were filled into the borings. The exploding was carried out by electricity, and the mighty force generated shattered nearly 300,000 cubic yards of solid rock.
About thirty years ago a Swedish scientist, Professor Lemström, travelled extensively in the Polar regions, and he was greatly struck by the development of the Polar vegetation. In spite of the lack of good soil, heat, and light, he observed that this vegetation came to maturity quicker than that of regions having much more favourable climates, and that the colours of the flowers were remarkably fresh and clear, and their perfumes exceptionally strong. This was a surprising state of things, and Lemström naturally sought a clue to the mystery. He knew that peculiar electrical conditions prevailed in these high latitudes, as was shown by the wonderful displays of the Aurora Borealis, and he came to the conclusion that the development of the vegetation was due to small currents of electricity continually passing backwards and forwards between the atmosphere and the Earth. On his return to civilization Lemström at once began a series of experiments to determine the effect of electricity upon the growth of plants, and he succeeded in proving beyond all doubt that plants grown under electrical influence flourished more abundantly than those grown in the ordinary way. Lemström’s experiments have been continued by other investigators, and striking and conclusive results have been obtained.
The air surrounding the Earth is always charged to259 some extent with electricity, which in fine weather is usually positive, but changes to negative on the approach of wet weather. This electricity is always leaking away to the earth more or less rapidly, and on its way it passes through the tissues of the vegetation. An exceedingly slow but constant discharge therefore is probably taking place in the tissues of all plants. Experiments appear to indicate that the upper part of a growing plant is negative, and the lower part positive, and at any rate it is certain that the leaves of a plant give off negative electricity. In dull weather this discharge is at its minimum, but under the influence of bright sunshine it goes on with full vigour. It is not known exactly how this discharge affects the plant, but apparently it assists its development in some way, and there is no doubt that when the discharge is at its maximum the flow of sap is most vigorous. Possibly the electricity helps the plant to assimilate its food, by making this more readily soluble.
This being so, a plant requires a regular daily supply of uninterrupted sunshine in order to arrive at its highest possible state of maturity. In our notoriously variable climate there are many days with only short intermittent periods of bright sunshine, and many other days without any sunshine at all. Now if, on these dull days, we can perform at least a part of the work of the sunshine, and strengthen to some extent the minute currents passing through the tissues of a plant, the development of this plant should be accelerated, and this is found to be the case. Under electrical influence plants not only arrive at maturity quicker, but also in most cases their yield is larger and of finer quality.
Lemström used a large influence machine as the source of electricity in his experiments in electro-culture. Such machines are very suitable for experimental work on a260 small scale, and much valuable work has been done with them by Professor Priestly and others; but they have the great drawback of being uncertain in working. They are quite satisfactory so long as the atmosphere remains dry, but in damp weather they are often very erratic, and may require hours of patient labour to coax them to start. For this reason an induction coil is more suitable for continuous work on an extensive scale.
The most satisfactory apparatus for electro-culture is that used in the Lodge-Newman method, designed by Sir Oliver Lodge and his son, working in conjunction with Mr. Newman. This consists of a large induction coil supplied with current from a dynamo driven by a small engine, or from the public mains if available. This coil is fitted with a spark gap, and the high-tension current goes through four or five vacuum valve globes, the invention of Sir Oliver Lodge, which permit the current to pass through them in one direction only. This is necessary because, as we saw in Chapter VIII., two opposite currents are induced in the secondary winding of the coil, one at the make and the other at the break of the primary circuit. Although the condenser fitted in the base of the coil suppresses to a great extent the current induced on making the circuit, still the current from the coil is not quite uni-directional, but it is made so by the vacuum rectifying valves. These are arranged to pass only the positive current, and this current is led to overhead wires out in the field to be electrified. Lemström used wires at a height of 18 inches from the ground, but these were very much in the way, and in the Lodge-Newman system the main wires are carried on large porcelain insulators fixed at the top of poles at a height of about 15 feet. This arrangement allows carting and all other agricultural operations to be carried on as usual. The poles are set round the field,261 about one to the acre, and from these main wires finer ones are carried across the field. These wires are placed about 30 feet apart, so that the whole field is covered by a network of wires. The electricity supplied to the wires is at a pressure of about 100,000 volts, and this is constantly being discharged into the air above the plants. It then passes through the plants, and so reaches the earth. This system may be applied also to plants growing in greenhouses, but owing to the confined space, and to the amount of metal about, in the shape of hot-water pipes and wires for supporting plants such as vines and cucumbers, it is difficult to make satisfactory arrangements to produce the discharge.
The results obtained with this apparatus at Evesham, in Gloucestershire, by Mr. Newman, have been most striking. With wheat, increases of from 20 per cent. to nearly 40 per cent. have been obtained, and the electrified wheat is of better quality than unelectrified wheat grown at the same place, and, apart from electrification, under exactly the same conditions. In some instances the electrified wheat was as much as 8 inches higher than the unelectrified wheat. Mr. Newman believes that by electrification land yielding normally from 30 to 40 bushels of wheat per acre can be made to yield 50 or even 60 bushels per acre. With cucumbers under glass increases of 17 per cent. have been obtained, and in the case of strawberries, increases of 36 per cent. with old plants, and 80 per cent. with one-year-old plants. In almost every case electrification has produced a marked increase in the crop, and in the few cases where there has been a decrease the crops were ready earlier than the normal. For instance, in one experiment with broad beans a decrease of 15 per cent. resulted, but the beans were ready for picking five days earlier. In another case a decrease of 11½ per cent.262 occurred with strawberries, but the fruit was ready for picking some days before the unelectrified fruit, and also was much sweeter. In some of the experiments resulting in a decrease in the yield it is probable that the electrification was overdone, so that the plants were over-stimulated. It seems likely that the best results will be obtained only by adjusting the intensity and the duration of the electrification in accordance with the atmospheric conditions, and also with the nature of the crop, for there is no doubt that plants vary considerably in their electrical requirements. A great deal more experiment is required however to enable this to be done with anything like certainty.
Unlike the farmer, the market gardener has to produce one crop after another throughout the year. To make up for the absence of sufficient sunshine he has to resort to “forcing” in many cases, but unfortunately this process, besides being costly, generally results in the production of a crop of inferior quality. Evidently the work of the market gardener would be greatly facilitated by some artificial substitute for sunshine, to keep his plants growing properly in dull weather. In 1880, Sir William Siemens, knowing that the composition of the light of the electric arc was closely similar to that of sunlight, commenced experiments with an arc lamp in a large greenhouse. His idea was to add to the effects of the solar light by using the arc lamp throughout the night. His first efforts were unsuccessful, and he discovered that this was due to the use of the naked light, which apparently contained rays too powerful for the plants. He then passed the light through glass, which filtered out the more powerful rays, and this arrangement was most successful, the plants responding readily to the artificial light. More scientifically planned experiments were carried out at the London Royal Botanic Gardens in 1907, by Mr. B. H. Thwaite,263 and these showed that by using the arc lamp for about five hours every night, a great difference between the treated plants and other similar plants grown normally could be produced in less than a month. Other experiments made in the United States with the arc lamp, and also with ordinary electric incandescent lamps, gave similar results, and it was noticed that the improvement was specially marked with cress, lettuce, spinach, and other plants of this nature.
In 1910, Miss E. C. Dudgeon, of Dumfries, commenced a series of experiments with the Cooper-Hewitt mercury vapour lamp. Two greenhouses were employed, one of which was fitted with this lamp. Seeds of various plants were sown in small pots, one pot of each kind being placed in each house. The temperature and other conditions were kept as nearly alike as possible in both houses, and in the experimental house the lamp was kept going for about five hours every night. In every case the seeds in the experimental house germinated several days before those in the other house, and the resulting plants were healthy and robust. Later experiments carried out by Miss Dudgeon with plants were equally successful.
From these experiments it appears that the electric arc, and still more the mercury vapour lamp, are likely to prove of great value to the market gardener. As compared with the arc lamp, the mercury vapour lamp has the great advantage of requiring scarcely any attention, and also it uses less current. Unlike the products of ordinary forcing by heat, the plants grown under the influence of the mercury vapour light are quite sturdy, so that they can be planted out with scarcely any “hardening off.” The crop yields too are larger, and of better quality. The wonderful effects produced by the Cooper-Hewitt lamp are certainly not due to heat, for this lamp emits few heat rays.264 The results may be due partly to longer hours worked by the plants, but this does not explain the greater accumulation of chlorophyll and stronger development of fibre.
Most of us are familiar with the yarn about the poultry keeper who fitted all his nests with trap-doors, so that when a hen laid an egg, the trap-door opened under the weight and allowed the egg to fall through into a box lined with hay. The hen then looked round, and finding no egg, at once set to work to lay another. This in turn dropped, another egg was laid, and so on. It is slightly doubtful whether the modern hen could be swindled in this bare-faced manner, but it is certain that she can be deluded into working overtime. The scheme is absurdly simple. Electric lamps are fitted in the fowl-house, and at sunset the light is switched on. The unsuspecting hens, who are just thinking about retiring for the night, come to the conclusion that the day is not yet over, and so they continue to lay. This is not a yarn, but solid fact, and the increase in the egg yield obtained in this way by different poultry keepers ranges from 10 per cent. upwards. Indeed, one poultry expert claims to have obtained an increase of about 40 per cent.
The ease with which a uniform temperature can be maintained by electric heating has been utilized in incubator hatching of chickens. By means of a specially designed electric radiator the incubator is kept at the right temperature throughout the hatching period. When the chickens emerge from the eggs they are transferred to another contrivance called a “brooder,” which also is electrically heated, the heat being decreased gradually day by day until the chicks are sturdy enough to do without it. Even at this stage however the chickens do not always escape from the clutches of electricity. Some rearers have adopted the electric light swindle for the youngsters,265 switching on the light after the chickens have had a fair amount of slumber, so that they start feeding again. In this way the chickens are persuaded to consume more food in the twenty-four hours, and the resulting gain in weight is said to be considerable. More interesting than this scheme is the method of rearing chickens under the influence of an electric discharge from wires supplied with high-tension current. Comparative tests show that electrified chickens have a smaller mortality and a much greater rate of growth than chickens brought up in the ordinary way. It even is said that the electrified chickens have more kindly dispositions than their unelectrified relatives!
Possibly the high-tension discharge may turn out to be as beneficial to animals as it has been proved to be for plants, but so far there is little reliable evidence on this point, owing to lack of experimenters. A test carried out in the United States with a flock of sheep is worth mention. The flock was divided into two parts, one-half being placed in a field under ordinary conditions, and the other in a field having a system of overhead discharge wires, similar to those used in the Lodge-Newman system. The final result was that the electrified sheep produced more than twice as many lambs as the unelectrified sheep, and also a much greater weight of wool. If further experiments confirm this result, the British farmer will do well to consider the advisability of electrifying his live-stock.
One of the great advantages of living in a town is the abundant supply of gas and water. These necessary substances are conveyed to us along underground pipes, and a large town has miles upon miles of such pipes, extending in all directions and forming a most complex network. Gas and water companies keep a record of these pipes, with the object of finding any pipe quickly when the necessity arises; but in spite of such records pipes are often lost, especially where the whole face of the neighbourhood has changed since the pipes were laid. The finding of a lost pipe by digging is a very troublesome process, and even when the pipe is known to be close at hand, it is quite surprising how many attempts are frequently necessary before it can be located, and its course traced. As may be imagined, this is an expensive business, and often it has been found cheaper to lay a new length of pipe than to find the old one. There is now an electrical method by which pipe locating is made comparatively simple, and unless it is very exceptionally deep down, a pipe never need be abandoned on account of difficulty in tracing it.
The mechanism of an electric pipe locator is not at all complicated, consisting only of an induction coil with battery, and a telephone receiver connected to a coil of a large number of turns of thin copper wire. If a certain267 section of a pipe is lost, and has to be located, operations are commenced from some fitting known to be connected with it, and from some other fitting which may or may not be connected with the pipe, but which is believed to be so connected. The induction coil is set working, and its secondary terminals are connected one to each of these fittings. If the second fitting is connected with the pipe, then the whole length of the pipe between these two points is traversed by the high-frequency current. The searcher, wearing the head telephone receiver, with the coil hanging down from it so as to be close to the ground, walks to and fro over the ground beneath which the pipe must lie. When he approaches the pipe the current passing through the latter induces a similar current in the suspended coil, and this produces a sort of buzzing or humming sound in the telephone. The nearer he approaches to the pipe the louder is the humming, and it reaches its maximum when he is standing directly over the pipe. In this way the whole course of the pipe can be traced without any digging, even when the pipe is 15 or 20 feet down. The absence of any sounds in the receiver indicates that the second fitting is not on the required pipe line, and other fittings have to be tried until one on this line is found.
Amongst the many dangers to which ships crossing the Atlantic are exposed is that of collision with icebergs. These are large masses of ice which have become detached from the mighty ice-fields of the north, and which travel slowly and majestically southwards, growing smaller and smaller as they pass into warmer seas. Icebergs give no warning of their coming, and in foggy weather, which is very prevalent in the regions where they are encountered, they268 are extremely difficult to see until they are at dangerously close quarters.
Attempts have been made to detect the proximity of icebergs by noting the variations in the temperature of the water. We naturally should expect the temperature of the water to become lower as we approach a large berg, and this is usually the case. On the other hand, it has been found that in many instances the temperature near an iceberg is quite as high as, and sometimes higher than the average temperature of the ocean. For this reason the temperature test, taken by itself, is not at all reliable. A much more certain test is that of the salinity or saltness of the water. Icebergs are formed from fresh water, and as they gradually melt during their southward journey the fresh water mixes with the sea water. Consequently the water around an iceberg is less salt than the water of the open ocean. The saltness of water may be determined by taking its specific gravity, or by various chemical processes; but while these tests are quite satisfactory when performed under laboratory conditions, they cannot be carried out at sea with any approach to accuracy. There is however an electrical test which can be applied accurately and continuously. The electrical conducting power of water varies greatly with the proportion of salt present. If the conductivity of normal Atlantic water be taken as 1000, then the conductivity of Thames water is 8, and that of distilled water about 1/22. The difference in conductivity between normal ocean water and water in the vicinity of an iceberg is therefore very great.
By permission of]
[Dr. Myer Coplans.
Fig. 43.—Diagram of Heat-compensated Salinometer.
The apparatus for detecting differences in salinity by measuring the conductivity of the water is called a “salinometer,” and its most perfect form, known as the heat-compensated conductivity salinometer, is due to Dr. Myer Coplans. Fig. 43 shows a diagram of this interesting piece of apparatus, which is most ingeniously devised. Two270 insulated electrodes of copper, with platinum points, are suspended in a U-tube through which the sea water passes continuously, as indicated in the diagram. A steady current is passed through the column of water between the two platinum points, and the conductivity of this column is measured continuously by very accurate instruments. Variations in the conductivity, indicating corresponding variations in the saltness of the water, are thus shown immediately; but before these indications can be relied upon the instrument must be compensated for temperature, because the conductivity of the water increases with a rise, and decreases with a fall in temperature. This compensation is effected by the compound bars of brass and steel shown in the vessel at the right of the figure. These bars are connected with the wheel and disc from which the electrodes are suspended. When the temperature of the water rises, the bars contract, and exert a pull upon the wheel and disc, so that the electrodes are raised slightly in the U-tube. This increases the length of the column of water between the platinum points, and so increases the resistance, or, what amounts to the same thing, lowers the conductivity, in exact proportion to the rise in temperature. Similarly, a fall in temperature lowers the electrodes, and decreases the resistance by shortening the column of water. In this way the conductivity of the water remains constant so far as temperature is concerned, and it varies only with the saltness of the water. Under ordinary conditions a considerable decrease in the salinity of the water indicates the existence of ice in the near neighbourhood, but the geographical position of the ship has to be taken into account. Rivers such as the St. Lawrence pour vast quantities of fresh water into the ocean, and the resulting decrease in the saltness of the water within a considerable radius of the mouth of the river must be allowed for.
271
Considerable interest was aroused last year by a model of a railway working upon a very remarkable system. This was the invention of Mr. Emile Bachelet, and the model was brought to London from the United States. The main principle upon which the system is based is interesting. About 1884, Professor Elihu Thompson, a famous American scientist, made the discovery that a plate of copper could be attracted or repelled by an electro-magnet. The effects took place at the moment when the magnetism was varied by suddenly switching the current on or off; the copper being repelled when the current was switched on, and attracted when it was switched off. Copper is a non-magnetic substance, and the attraction and repulsion are not ordinary magnetic effects, but are due to currents induced in the copper plate at the instant of producing or destroying the magnetism. The plate is attracted or repelled according to whether these induced currents flow in the same direction as, or in the opposite direction to, the current in the magnet coil. Brass and aluminium plates act in the same way as the copper plate, and the effects are produced equally well by exciting the magnet with alternating current, which, by changing its direction, changes the magnetism also. Of the two effects, the repulsion is much the stronger, especially if the variations in the magnetism take place very rapidly; and if a powerful and rapidly alternating current is used, the plate is repelled so strongly that it remains supported in mid-air above the magnet.
This repulsive effect is utilized in the Bachelet system (Plate XV.). There are no rails in the ordinary sense, and the track is made up of a continuous series of electro-magnets.272 The car, which is shaped something like a cigar, has a floor of aluminium, and contains an iron cylinder, and it runs above the line of magnets. Along each side of the track is a channel guide rail, and underneath the car at each end are fixed two brushes with guide pieces, which run in the guide rails. Above the car is a third guide rail, and two brushes with guide pieces fixed on the top of the car, one at each end, run in this overhead rail. These guide rails keep the car in position, and also act as conductors for the current. The repulsive action of the electro-magnets upon the aluminium floor raises the car clear of the track, and keeps it suspended; and while remaining in this mid-air position it is driven, or rather pulled forward, by powerful solenoids, which are supplied with continuous current. We have referred previously to the way in which a solenoid draws into it a core of iron. When the car enters a solenoid, the latter exerts a pulling influence upon the iron cylinder inside the car, and so the car is given a forward movement. This is sufficient to carry it along to the next solenoid, which gives it another pull, and so the car is drawn forward from one solenoid to another to the end of the line. The model referred to has only a short track of about 30 feet, with one solenoid at each end; but its working shows that the pulling power of the solenoids is sufficient to propel the car.
PLATE XV.
Photo by
Record Press.
BACHELET “FLYING TRAIN” AND ITS INVENTOR.
To avoid the necessity of keeping the whole of the electro-magnets energized all the time, these are arranged in sections, which are energized separately. By means of the lower set of brushes working in the track guides, each of these sections has alternating current supplied to it as the car approaches, and switched off from it when the car has passed. The brushes working in the overhead guide supply continuous current to each solenoid as the car enters it, and switch off the current when the car has passed through. The speed at which the model car travels is quite extraordinary, and the inventor believes that in actual practice speeds of more than 300 miles an hour are attainable on his system.
One of the most striking features of modern naval warfare is the absolute revolution in methods of communication brought about by wireless telegraphy. To-day every warship has its wireless installation. Our cruiser squadrons and destroyer flotillas, ceaselessly patrolling the waters of the North Sea, are always in touch with the Admiral of the Fleet, and with the Admiralty at Whitehall. In the Atlantic, and in the Pacific too, our cruisers, whether engaged in hunting down the marauding cruisers of the enemy or in searching for merchant ships laden with contraband, have their comings and goings directed by wireless. Even before the actual declaration of war between Great Britain and Germany wireless telegraphy began its work. At the conclusion of the great naval review of July 1914, the Fleet left Portland to disperse as customary for manœuvre leave, but a wireless message was dispatched ordering the Fleet not to disperse. As no state of war then existed, this was a precautionary measure, but subsequent events quickly proved how urgently necessary it had been to keep the Fleet in battle array. Immediately war was declared Great Britain was able to put into the North Sea a fleet which hopelessly outnumbered and outclassed the German battle fleet.
At the outset Germany had a number of cruisers in the Atlantic and the Pacific Oceans. Owing to the vigilance275 of our warships these vessels were unable to join the German Home Fleet, and they immediately adopted the rôle of commerce destroyers. In this work they made extensive use of wireless telegraphy to ascertain the whereabouts of British merchant ships, and for a short time they played quite a merry game. Prominent among these raiders was the Emden. It was really astonishing how this cruiser obtained information regarding the sailings of British ships. It is said that on one occasion she called up by wireless a merchant ship, and inquired if the latter had seen anything of a German cruiser. The unsuspecting merchantman replied that there was no such thing as a German warship in the vicinity. “Oh yes, there is,” returned the Emden; “I’m it!” and shortly afterwards she appeared on the horizon, to the great discomfiture of the British skipper. An interesting account of the escape of a British liner from another notorious raider, the Karlsruhe, has been given in the Nautical Magazine. The writer says:
“I have just returned home after a voyage to South America in one of the Pacific Steam Navigation Company’s cargo boats. When we left Montevideo we heard that France and Germany were at war, and that there was every possibility of Great Britain sending an ultimatum to Germany. We saw several steamers after leaving the port, but could get no information, as few of them were fitted with wireless and passed at some distance off. When about 200 miles east of Rio, our wireless operator overheard some conversation between the German cruiser Karlsruhe and a German merchant ship at anchor in Rio. It was clearly evident that the German merchant ship had no special code, as the conversation was carried on in plain German language, and our operator, who, by the way, was master of several languages, was able to interpret these276 messages without the slightest difficulty. It was then that we learned that Great Britain was at war. The German cruiser was inquiring from the German merchant ship what British vessels were leaving Rio, and asking for any information which might be of use. We also picked up some news of German victories in Belgium, which were given out by the German merchant ship. It was clearly evident that the Karlsruhe had information about our ship, and expected us to be in the position she anticipated, for she sent out a signal to us in English, asking us for our latitude and longitude. This our operator, under the instructions of the captain, declined to give. The German operator evidently got furious, as he called us an English ‘swine-hound,’ and said, ‘This is a German warship, Karlsruhe; we will you find.’ Undoubtedly he thought he was going to strike terror to our hearts, but he made a mistake.
“That night we steamed along without lights, and we knew from the sound of the wireless signals that were being flashed out from the German ship that we were getting nearer and nearer to her. Fortunately for us, about midnight a thick misty rain set in and we passed the German steamer, and so escaped. Our operator said that we could not have been more than 8 or 10 miles away when we passed abeam. Undoubtedly our wireless on this occasion saved us from the danger from which we escaped.”
Apparently little is known of the end of the Karlsruhe, but the Emden met with the fate she richly deserved; and fittingly enough, wireless telegraphy, which had enabled her to carry out her marauding exploits, was the means of bringing her to her doom. On 9th November 1914 the Emden anchored off the Cocos-Keeling Islands, a group of coral islets in the Indian Ocean, and landed a party of three officers and forty men to cut the cable and destroy277 the wireless station. Before the Germans could get to the station, a wireless message was sent out stating the presence of the enemy warship, and this call was received by the Australian cruisers Melbourne and Sydney. These vessels, which were then only some 50 miles away, were engaged, along with a Japanese cruiser, in escorting transports. The Sydney at once went off at full speed, caught the Emden, and sent her to the bottom after a short but sharp engagement. As the Emden fled at sight of the Australian warship, the landing party had not time to get aboard, and consequently were left behind. They seized an old schooner, provisioned her, and set sail, but what became of them is not known.
In land warfare field telegraphs play a very important part; indeed it is certain that without them the vast military operations of the present war could not be carried on. The General Headquarters of our army in France is in telegraphic communication not only with neighbouring French towns, but also with Paris and London. From Headquarters also run wires to every point of the firing-line, so that the Headquarters Staff, and through them the War Office in London, know exactly what is taking place along the whole front. The following extract from a letter from an officer, published by The Times, gives a remarkably good idea of the work of the signal companies of the Royal Engineers.
“As the tide of battle turns this way and the other, and headquarters are constantly moving, some means have to be provided to keep in constant touch with General Headquarters during the movement. This emergency is met by cable detachments. Each detachment consists of two cable waggons, which usually work in conjunction with one another, one section laying the line whilst the other remains behind to reel up when the line is finished with. A278 division is ordered to move quickly to a more tactical position. The end of the cable is connected with the permanent line, which communicates to Army Headquarters, and the cable detachment moves off at the trot; across country, along roads, through villages, and past columns of troops, the white and blue badge of the signal service clears the way. Behind the waggon rides a horseman, who deftly lays the cable in the ditches and hedges out of danger from heavy transport and the feet of tramping infantry, with the aid of a crookstick. Other horsemen are in the rear tying back and making the line safe. On the box of the waggon sits a telegraphist, who is constantly in touch with headquarters as the cable runs swiftly out. An orderly dashes up with an important message; the waggon is stopped, the message dispatched, and on they go again.”
Wireless telegraphy too has its part to play in land war, and for field purposes it has certain advantages over telegraphy with wires. Ordinary telegraphic communication is liable to be interrupted by the cutting of the wire by the enemy, or, in spite of every care in laying, by the breaking of the wire by passing cavalry or artillery. No such trouble can occur with wireless telegraphy, and if it becomes necessary to move a wireless station with great rapidity, as for instance on an unexpected advance of the enemy, it is an advantage to have no wire to bother about. The Marconi portable wireless sets for military purposes are marvels of compactness and lightness, combined with simplicity. They are of two kinds, pack-saddle sets and cart sets. The former weigh about 360 lb., this being divided amongst four horses. They can be set up in ten minutes by five or six men, and require only two men to work them. Their guaranteed range is 40 miles, but they are capable of transmitting twice this distance or even more under favourable conditions. The cart sets can be279 set up in twenty minutes by seven or eight men, and they have a guaranteed range of from 150 to 200 miles.
It is obviously very important that wireless military messages should not be intercepted and read by the enemy, and the method of avoiding danger of this kind adopted with the Marconi field stations is ingenious and effective. The transmitter and the receiver are arranged to work on three different fixed wave-lengths, the change from one to another being effected quickly by the movement of a three-position switch. By this means the transmitting operator sends three or four words on one wave-length, then changes to another, transmits a few words on this, changes the wave-length again, and so on. Each change is accompanied by the sending of a code letter which informs the receiving operator to which wave-length the transmitter is passing. The receiving operator adjusts his switch accordingly, and so he hears the whole message without interruption, the change from one wave-length to another taking only a small fraction of a second. An enemy operator might manage to adjust his wave-length so as to hear two or three words, but the sudden change of wave-length would throw him out of tune, and by the time he had found the new wave-length this would have changed again. Thus he would hear at most only a few disconnected words at intervals, and he would not be able to make head or tail of the message. To provide against the possibility of the three wave-lengths being measured and prepared for, these fixed lengths themselves can be changed, if necessary, many times a day, so that the enemy operators would never know beforehand which three were to be used.
Wireless telegraphy was systematically employed in land warfare for the first time in the Balkan War, during which it proved most useful both to the Allies and to the Turks. One of the most interesting features of the war280 was the way in which wireless communication was kept up between the beleaguered city of Adrianople and the Turkish capital. Some time before war broke out the Turkish Government sent a portable Marconi wireless set to Adrianople, and this was set up at a little distance from the city. When war was declared the apparatus was brought inside the city walls and erected upon a small hill. Then came the siege. For 153 days Shukri Pasha kept the Turkish flag flying, but the stubborn defence was broken down in the end through hunger and disease. All through these weary days the little wireless set did its duty unfalteringly, and by its aid regular communication was maintained with the Government station at Ok Meidan, just outside Constantinople, 130 miles away. Altogether about half a million words were transmitted from Adrianople to the Turkish capital.
PLATE XVI.
(a) CAVALRY PORTABLE WIRELESS CART SET.
By permission of
Marconi Co. Ltd.
(b) AEROPLANE FITTED WITH WIRELESS TELEGRAPHY.
The rapid development of aviation during the past few years has drawn attention to the necessity for some means of communication between the land and airships and aeroplanes in flight. At first sight it might appear that wireless telegraphy could be used for this purpose without any trouble, but experience has shown that there are certain difficulties in the way, especially with regard to aeroplanes. The chief difficulty with aeroplanes lies in the aerial. This must take the form either of a long trailing wire or of fixed wires running between the planes and the tail. A trailing wire is open to the objection that it is liable to get mixed up with the propeller, besides which it appears likely to hamper to some slight extent the movements of a small and light machine. A fixed aerial between planes and tail avoids these difficulties, but on the other hand its wave-length is bound to be inconveniently small. The heavy and powerful British military aeroplanes apparently use a trailing wire of moderate length, carried in a special manner so as to clear the propeller, but few details are available at present. A further trouble with aeroplanes lies in the tremendous noise made by the engine, which frequently makes it quite impossible to hear incoming signals; and the only way of getting over this difficulty appears to be for the operator to wear some sort of sound-proof head-gear. Signals have been transmitted from an aeroplane in flight up to distances of 40 or 50 miles quite successfully, but the reception of signals by aeroplanes is not so satisfactory, except for comparatively short distances. Although few particulars have been published regarding the work of the British aeroplanes in France, it seems evident that wireless telegraphy is in regular use. In addition to their value as scouts, our aeroplanes appear to be extremely useful for the direction of heavy artillery fire, using wireless to tell the gunners where each shell falls, until the exact range is obtained. In the case of airships the problem of wireless communication is much simpler. A trailing wire presents no difficulties, and on account of their great size much more powerful sets of apparatus can be carried. The huge German Zeppelin airships have a long freely-floating aerial consisting of a wire which can be wound in or let out as required, its full length being about 750 feet. The total weight of the apparatus is nearly 300 lb., and the transmitting range is said to be from about 120 to 200 miles.
Electricity is used in the navy for a great variety of purposes besides telegraphy. Our battleships are lighted by electricity, which is generated at a standard pressure of 220 volts. This current is transformed down for the searchlights, and also for the intricate systems of telephone, alarm, and firing circuits. The magazines containing the deadly cordite are maintained at a constant temperature of 70° F. by special refrigerating machinery driven by electricity,282 and the numerous fans for ventilating the different parts of the ship are also electrically driven. Electric power is used for capstans, coaling winches, sounding machines, lifts, pumps, whether for drainage, fire extinction, or raising fresh water from the tanks, and for the mechanism for operating boats and torpedo nets. The mechanism for manipulating the great guns and their ammunition is hydraulic. Electricity was tried for this purpose on the battle cruiser Invincible, but was abandoned in favour of hydraulic power. But though electricity is apparently out of favour in this department, it takes an extremely important share in the work of controlling and firing the guns; its duties being such as could not be carried out by hydraulic power.
The guns are controlled and fired from what is known as the fire-control room, which is situated in the interior of the ship, quite away from the guns themselves. The range-finder, from his perch up in the gigantic mast, watches an enemy warship as she looms on the horizon, and when she comes within range he estimates her distance by means of instruments of wonderful precision. He then telephones to the fire-control room, giving this distance, and also the enemy’s speed and course. The officer in charge of the fire-control room calculates the elevation of the gun required for this distance, and decides upon the instant at which the gun must be fired. A telephoned order goes to the gun-turret, and the guns are brought to bear upon the enemy, laid at the required elevation, and sighted. At the correct instant the fire-control officer switches on an electric current to the gun, which fires a small quantity of highly explosive material, and this in turn fires the main charge of cordite. The effect of the shell is watched intently from the fire-control top, up above the range-finder, and if, as is very likely, this first shell falls short of, or overshoots the mark, an estimate of the283 amount of error is communicated to the fire-control room. Due corrections are then made, the gun is laid at a slightly different elevation, and this time the shell finds its mark with unerring accuracy.
The range of movement, horizontal and vertical, of modern naval guns is so great that it is possible for two guns to be in such relative positions that the firing of one would damage the other. To guard against a disaster of this kind fixed stops are used, supplemented by ingenious automatic alarms. The alarm begins to sound as soon as any gun passes into a position in which it could damage another gun, and it goes on sounding until the latter gun is moved out of the danger line.
Since the outbreak of war the subject of submarine mines has been brought to our notice in very forcible fashion. Contrary to the general impression, the explosive submarine mine is not a recent introduction. It is difficult to say exactly when mines were first brought into use, but at any rate we know that they were employed by Russia during the Crimean War, apparently with little success. The first really successful use of mines occurred in the American Civil War, when the Confederates sank a number of vessels by means of them. This practical demonstration of their possibilities did not pass unnoticed by European nations, and in the Franco-German War we find that mines were used for harbour defence by both belligerents. It is doubtful whether either nation derived much benefit from its mines, and indeed as the war progressed Germany found that the principal result of her mining operations was to render her harbours difficult and dangerous to her own shipping. Much greater success attended the use of mines in the Russo-Japanese War, but all previous records shrink into insignificance when compared with the destruction wrought by mines in the present great conflict.
284
Submarine mines may be divided into two classes; those for harbour defence, and those for use in the open sea. Harbour defence mines are almost invariably electrically controlled; that is, they are connected with the shore by means of a cable, and fired by an electric impulse sent along that cable. In one system of control the moment of firing is determined entirely by observers on shore, who, aided by special optical instruments, are able to tell exactly when a vessel is above any particular mine. The actual firing is carried out by depressing a key which completes an electric circuit, thus sending a current along the cable to actuate the exploding mechanism inside the mine. A hostile ship therefore would be blown up on arriving at the critical position, while a friendly vessel would be allowed to pass on in safety. In this system of control there is no contact between the vessel and the mine, the latter being well submerged or resting on the sea floor, so that the harbour is not obstructed in any way. This is a great advantage, but against it must be set possible failure of the defence at a critical moment owing to thick weather, which of course interferes seriously with the careful observation of the mine field necessary for accurate timing of the explosions. This difficulty may be surmounted by a contact system of firing. In this case the mines are placed so near the surface as to make contact with vessels passing over them. The observers on shore are informed of the contact by means of an electric impulse automatically transmitted along the cable, so that they are independent of continuous visual observation of the mined area. As in the previous system, the observers give the actual firing impulse. The drawback to this method is the necessity for special pilotage arrangements for friendly ships in order to avoid unnecessary striking of the mines, which are liable to have their mechanism deranged by constant blows. If the harbour or285 channel can be closed entirely to friendly shipping, the observers may be dispensed with, their place being taken by automatic electric apparatus which fires at once any mine struck by a vessel.
Shore-controlled mines are excellent for harbour defence, and a carefully distributed mine-field, backed by heavy fort guns, presents to hostile vessels a barrier which may be regarded as almost impenetrable. A strong fleet might conceivably force its way through, but in so doing it would sustain tremendous losses; and as these losses would be quite out of proportion to any probable gains, such an attempt is not likely to be made except as a last resort.
For use in the open sea a different type of mine is required. This must be quite self-contained and automatic in action, exploding when struck by a passing vessel. The exploding mechanism may take different forms. The blow given by a ship may be made to withdraw a pin, thus releasing a sort of plunger, which, actuated by a powerful spring, detonates the charge. A similar result is obtained by the use of a suspended weight, in place of plunger and spring. Still another form of mine is fired electrically by means of a battery, the circuit of which is closed automatically by the percussion. Deep-sea mines may be anchored or floating free. Free mines are particularly dangerous on account of the impossibility of knowing where they may be at any given moment. They are liable to drift for considerable distances, and to pass into neutral seas; and to safeguard neutral shipping international rules require them to have some sort of clockwork mechanism which renders them harmless after a period of one hour. It is quite certain that some, at least, of the German free mines have no such mechanism, so that neutral shipping is greatly endangered.
Submarine mines are known as ground mines, or286 buoyant mines, according to whether they rest on the sea bottom or float below the surface. Ground mines are generally made in the form of a cylinder, buoyant mines being usually spherical. The cases are made of steel, and buoyancy is given when required by enclosing air spaces. Open-sea mines are laid by special vessels, mostly old cruisers. The stern of these ships is partly cut away, and the mines are run along rails to the stern, and so overboard. The explosive employed is generally gun-cotton, fired by a detonator, charges up to 500 lb. or more being used, according to the depth of submersion and the horizontal distance at which the mine is desired to be effective. Ground mines can be used only in shallow water, and even then they require a heavier charge than mines floating near the surface. Mines must not be laid too close together, as the explosion of one might damage others. The distance apart at which they are placed depends upon the amount of charge, 500-lb. mines requiring to be about 300 feet apart for safety.
The question which heads this, our final chapter, is one which must occur to every one who takes even the most casual interest in matters scientific, and it would be very satisfactory if we could bring this volume to a conclusion by providing a full and complete answer. Unfortunately this is impossible. In years to come the tireless labours of scientific investigators may lead to a solution of the problem; but, as Professor Fleming puts it: “The question—What is electricity?—no more admits of a complete and final answer to-day than does the question—What is life?”
From the earliest days of electrical science theories of electricity have been put forward. The gradual extension and development of these theories, and the constant substitution of one idea for another as experimental data increased, provide a fascinating subject for study. To cover this ground however, even in outline, would necessitate many chapters, and so it will be better to consider only the theory which, with certain reservations in some cases, is held by the scientific world of to-day. This is known as the electron theory of electricity.
We have referred already, in Chapter XXIV., to atoms and electrons. All matter is believed to be constituted of minute particles called “atoms.” These atoms are so extremely small that they are quite invisible, being far beyond the range of the most powerful microscope; and their diameter has been estimated at somewhere about one288 millionth of a millimetre. Up to a few years ago the atom was believed to be quite indivisible, but it has been proved beyond doubt that this is not the case. An atom may be said to consist of two parts, one much larger than the other. The smaller part is negatively electrified, and is the same in all atoms; while the larger part is positively electrified, and varies according to the nature of the atom. The small negatively electrified portion of the atom consists of particles called “electrons,” and these electrons are believed to be indivisible units or atoms of negative electricity. To quote Professor Fleming: “An atom of matter in its neutral condition has been assumed to consist of an outer shell or envelope of negative electrons associated with some core or matrix which has an opposite electrical quality, such that if an electron is withdrawn from the atom the latter is left positively electrified.”
The electrons in an atom are not fixed, but move with great velocity, in definite orbits. They repel one another, and are constantly endeavouring to fly away from the atom, but they are held in by the attraction of the positive core. So long as nothing occurs to upset the constitution of the atom, a state of equilibrium is maintained and the atom is electrically neutral; but immediately the atom is broken up by the action of an external force of some kind, one or more electrons break their bonds and fly away to join some other atom. An atom which has lost some of its electrons is no longer neutral, but is electro-positive; and similarly, an atom which has gained additional electrons is electro-negative. Electrons, or atoms of negative electricity, can be isolated from atoms of matter, as in the case of the stream of electrons proceeding from the cathode of a vacuum tube. So far, however, it has been found impossible to isolate corresponding atoms of positive electricity.
From these facts it appears that we must regard a289 positively charged body as possessing a deficiency of electrons, and a negatively charged body as possessing an excess of electrons. In Chapter I. we spoke of the electrification of sealing-wax or glass rods by friction, and we saw that according to the nature of the substance used as the rubber, the rods were either positively or negatively electrified. Apparently, when we rub a glass rod with a piece of silk, the surface atoms of each substance are disturbed, and a certain number of electrons leave the glass atoms, and join the silk atoms. The surface atoms of the glass, previously neutral, are now electro-positive through the loss of electrons; and the surface atoms of the silk, also previously neutral, are now electro-negative through the additional electrons received from the glass atoms. As the result we find the glass to be positively, and silk to be negatively electrified. On the other hand, if we rub the glass with fur, a similar atomic disturbance and consequent migration of electrons takes place, but this time the glass receives electrons instead of parting with them. In this case the glass becomes negatively, and the fur positively electrified. The question now arises, why is the movement of the electrons away from the glass in the first instance, and toward it in the second? To understand this we may make use of a simple analogy. If we place in contact two bodies, one hot and the other cold, the hot body gives up some of its heat to the cold body; but if we place in contact with the hot body another body which is still hotter, then the hot body receives heat instead of parting with it. In a somewhat similar manner an atom is able to give some of its electrons to another atom which, in comparison with it, is deficient in electrons; and at the same time it is able to receive electrons from another atom which, compared with it, has an excess of electrons. Thus we may assume that the glass atoms have an excess of electrons as compared with290 silk atoms, and a deficiency in electrons as compared with fur atoms.
A current of electricity is believed to be nothing more or less than a stream of electrons, set in motion by the application of an electro-motive force. We have seen that some substances are good conductors of electricity, while others are bad conductors or non-conductors. In order to produce an electric current, that is a current of electrons, it is evidently necessary that the electrons should be free to move. In good conductors, which are mostly metals, it is believed that the electrons are able to move from atom to atom without much hindrance, while in a non-conductor their movements are hampered to such an extent that inter-atomic exchange of electrons is almost impossible. Speaking on this point, Professor Fleming says: “There may be (in a good conductor) a constant decomposition and recomposition of atoms taking place, and any given electron so to speak flits about, now forming part of one atom and now of another, and anon enjoying a free existence. It resembles a person visiting from house to house, forming a unit in different households, and, in between, being a solitary person in the street. In non-conductors, on the other hand, the electrons are much restricted in their movements, and can be displaced a little way but are pulled back again when released.”
Let us try to see now how an electric current is set up in a simple voltaic cell, consisting of a zinc plate and a copper plate immersed in dilute acid. First we must understand the meaning of the word ion. If we place a small quantity of salt in a vessel containing water, the salt dissolves, and the water becomes salt, not only at the bottom where the salt was placed, but throughout the whole vessel. This means that the particles of salt must be able to move through the water. Salt is a chemical291 compound of sodium and chlorine, and its molecules consist of atoms of both these substances. It is supposed that each salt molecule breaks up into two parts, one part being a sodium atom, and the other a chlorine atom; and further, that the sodium atom loses an electron, while the chlorine atom gains one. These atoms have the power of travelling about through the solution, and they are called ions, which means “wanderers.” An ordinary atom is unable to wander about in this way, but it gains travelling power as soon as it is converted into an ion, by losing electrons if it be an atom of a metal, and by gaining electrons if it be an atom of a non-metal.
Returning to the voltaic cell, we may imagine that the atoms of the zinc which are immersed in the acid are trying to turn themselves into ions, so that they can travel through the solution. In order to do this each atom parts with two electrons, and these electrons try to attach themselves to the next atom. This atom however already has two electrons, and so in order to accept the newcomers it must pass on its own two. In this way electrons are passed on from atom to atom of the zinc, then along the connecting wire, and so to the copper plate. The atoms of zinc which have lost their electrons thus become ions, with power of movement. They leave the zinc plate immediately, and so the plate wastes away or dissolves. So we get a constant stream of electrons travelling along the wire connecting the two plates, and this constitutes an electric current.
The electron theory gives us also a clear conception of magnetism. An electric current flowing along a wire produces magnetic effects; that is, it sets up a field of magnetic force. Such a current is a stream of electrons, and therefore we conclude that a magnetic field is produced by electrons in motion. This being so, we are led to suppose that there must be a stream of electrons in a steel292 magnet, and this stream must be constant because the magnetic field of such a magnet is permanent. The electron stream in a permanent magnet however is not quite the same as the electron stream in a wire conveying a current. We have stated that the electrons constituting an atom move in definite orbits, so that we may picture them travelling round the core of the atom as the planets travel round the Sun. This movement is continuous in every atom of every substance. Apparently we have here the necessary conditions for the production of a magnetic field, that is, a constant stream of electrons; but one important thing is still lacking. In an unmagnetized piece of steel the atoms are not arranged symmetrically, so that the orbits of their electrons lie some in one plane and some in another. Consequently, although the electron stream of each atom undoubtedly produces an infinitesimally small magnetic field, no magnetic effect that we can detect is produced, because the different streams are not working in unison and adding together their forces. In fact they are upsetting and neutralizing each other’s efforts. By stroking the piece of steel with a magnet, or by surrounding it by a coil of wire conveying a current, the atoms are turned so that their electron orbits all lie in the same plane. The electron streams now all work in unison, their magnetic effects are added together, and we get a strong magnetic field as the result of their combined efforts. Any piece of steel or iron may be regarded as a potential magnet, requiring only a rearrangement of its atoms in order to become an active magnet. In Chapter VI. it was stated that other substances besides iron and steel show magnetic effects, and this is what we should expect, as the electron movement is common to all atoms. None of these substances is equal to iron and steel in magnetic power, but why this is so is not understood.
293
This brings us to the production of an electric current by the dynamo. Here we have a coil of wire moving across a magnetic field, alternately passing into this field and out of it. A magnetic field is produced, as we have just seen, by the steady movement of electrons, and we may picture it as being a region of the ether disturbed or strained by the effect of the moving electrons. When the coil of wire passes into the magnetic field, the electrons of its atoms are influenced powerfully and set in motion in one direction, so producing a current in the coil. As the coil passes away from the field, its electrons receive a second impetus, which checks their movement and starts them travelling in the opposite direction, and another current is produced. The coil moves continuously and regularly, passing into and out of the magnetic field without interruption; and so we get a current which reverses its direction at regular intervals, that is, an alternating current. This current may be made continuous if desired, as explained in Chapter IX.
Such, stated briefly and in outline, is the electron theory of electricity. It opens up possibilities of the most fascinating nature; it gives us a wonderfully clear conception of what might be called the inner mechanism of electricity; and it even introduces us to the very atoms of electricity. Beyond this, at present, it cannot take us, and the actual nature of electricity itself remains an enigma.
295
Morrison & Gibb Limited, Edinburgh
5/15 2½
Punctuation, hyphenation, and spelling were made consistent when a predominant preference was found in the original book; otherwise they were not changed.
Simple typographical errors were corrected; unbalanced quotation marks were remedied when the change was obvious, and otherwise left unbalanced.
Illustrations in this eBook have been positioned between paragraphs and outside quotations. In versions of this eBook that support hyperlinks, the page references in the List of Plates lead to the corresponding illustrations. (There is no list of the other illustrations.)
Plate VIII., “Typical Electric Locomotives,” listed as being on page 90, was not in the original book and therefore not in this ebook.
The index was not checked for proper alphabetization or correct page references.