The Project Gutenberg eBook of Michael Faraday, by Silvanus P. Thompson
This eBook is for the use of anyone anywhere in the United States and most other parts of the world at no cost and with almost no restrictions whatsoever. You may copy it, give it away or re-use it under the terms of the Project Gutenberg License included with this eBook or online at www.gutenberg.org. If you are not located in the United States, you will have to check the laws of the country where you are located before using this eBook.

Title: Michael Faraday

His Life and Work

Author: Silvanus P. Thompson
Release Date: June 30, 2021 [eBook #65735]
Language: English
Character set encoding: UTF-8
Produced by: Fay Dunn, Charlie Howard, and the Online Distributed Proofreading Team at https://www.pgdp.net (This file was produced from images generously made available by The Internet Archive)
*** START OF THE PROJECT GUTENBERG EBOOK MICHAEL FARADAY ***

Transcriber’s Note

Larger versions of most illustrations may be seen by right-clicking them and selecting an option to view them separately, or by double-tapping and/or stretching them.

cover

THE CENTURY SCIENCE SERIES

Edited by SIR HENRY E. ROSCOE, D.C.L., LL.D., F.R.S.

MICHAEL FARADAY
HIS LIFE AND WORK


Ever Yours Truly
M Faraday


THE CENTURY SCIENCE SERIES

MICHAEL FARADAY
HIS LIFE AND WORK

BY
SILVANUS P. THOMPSON, D.Sc., F.R.S.

Principal of and Professor of Physics in the City and Guilds
of London Technical College, Finsbury

CASSELL and COMPANY, Limited
LONDON, PARIS, NEW YORK & MELBOURNE
1898
[ALL RIGHTS RESERVED]



ON A PORTRAIT OF FARADAY.

vii

Was ever man so simple and so sage,
So crowned and yet so careless of a prize!
Great Faraday, who made the world so wise,
And loved the labour better than the wage.
And this you say is how he looked in age,
With that strong brow and these great humble eyes
That seem to look with reverent surprise
On all outside himself. Turn o’er the page,
Recording Angel, it is white as snow.
Ah God, a fitting messenger was he
To show Thy mysteries to us below.
Child as he came has he returned to Thee.
Would he could come but once again to show
The wonder-deep of his simplicity.
Cosmo Monkhouse.

PREFACE

Shortly after the death of Faraday in 1867, three biographies of him—each admirable in its own line—were published. The “Life and Letters of Faraday,” by Dr. Bence Jones, secretary of the Royal Institution, which was issued in 1868 in two volumes, has long been out of print. “Faraday as a Discoverer,” written in 1868 by Professor Tyndall, which, though slighter as a record, brings out many points of character into striking relief, is also now exhausted. Dr. Gladstone’s “Michael Faraday,” published in 1872, so rich in reminiscences, and so appreciative of the moral and religious side of his character, is also out of print. Other and briefer biographies exist; the “Éloge Historique” of M. Dumas; the article “Faraday” in the “Encyclopædia Britannica” by Professor Clerk Maxwell; and the chapter on Faraday in Dr. W. Garnett’s “Heroes of Science.” But there seems room for another account of the life and labours of the man whose influence upon the century in whichviii he lived was so great. For forty years he was a living and inspiring voice in the Royal Institution, beyond all question the greatest scientific expositor of his time. Throughout almost the whole of that time his original researches in physics, and chiefly in electricity, were extending the boundaries of knowledge and laying the foundations not only for the great developments of electrical engineering of the last twenty years but for those still greater developments in the theories of electricity, magnetism, and light which are every year being extended and made fruitful. Were there no other reason than these developments in practice and theory, they would amply justify the effort to review now, after so many years, the position of Faraday amongst the eminent men of the century now drawing to its close.

Those who were intimately acquainted with him are a fast dwindling band. In the recollection of such as have survived him, his image lives and moves, surrounded with gracious memories, a vivid personality instinct with rare and unselfish kindliness. But the survivors are few, and their ranks grow thinner with each succeeding year. And so it comes about that the task of writing of his life and work has been entrusted to one who never ceases to regret that he never met Faraday.

ix

Thanks to the permission of the managers of the Royal Institution, a number of short extracts from Faraday’s notebooks, hitherto unpublished, are now printed for the first time. Much more remains which it is to be hoped, for the benefit of science, may be published ere long. The author desires further to acknowledge the kindness of Messrs. Longmans & Co. in allowing the reproduction of the illustrations on pages 3 and 258, which are taken from Bence Jones’s “Life and Letters of Faraday,” published in 1868. Mr. Elkin Mathews has kindly permitted the insertion of the sonnet by Mr. Cosmo Monkhouse which follows the title-page. The author is also indebted to Dr. J. Hall Gladstone, F.R.S., for many valuable notes and suggestions, and to Miss M. K. Reynolds for photographs used in preparing Fig. 14. Most of all he is indebted to Miss Jane Barnard for access to Faraday’s private papers, and for permission to print certain extracts from them.

S. P. T.


x

CONTENTS

PAGE
Chap. I.—Early Life, Training, and Travel 1
Chap. II.—Life at the Royal Institution 35
Chap. III.—Scientific Researches—First Period 75
Chap. IV.—Scientific Researches—Second Period 102
Chap. V.—Scientific Researches—Third Period 172
Chap. VI.—Middle and Later Life 222
Chap. VII.—Views on the Pursuit of Science and on Education 261
Chap. VIII.—Religious Views 286

xi

LIST OF ILLUSTRATIONS

Portrait Frontispiece
FIGS.   PAGE
1. Riebau’s Shop 3
2. Electromagnetic Rotations (facsimile sketch) 88
3. Apparatus for Rotation (facsimile sketch) 88
4. Faraday’s Ring (facsimile sketch) 108
5. Induction Experiment (facsimile sketch) 111
6. The “New Electrical Machine” (facsimile sketch) 121
7. The Teetotum Apparatus 123
8. The Revolving Copper Cylinder (facsimile sketch) 124
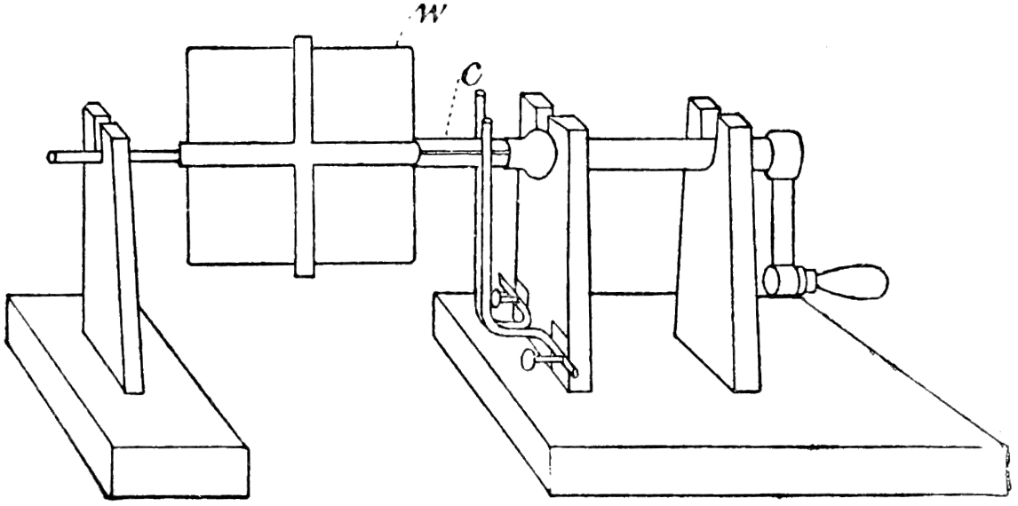
9. Earth Inductor 125
10. A Spark from a Magnet (facsimile sketch) 129
11. How to Cut the Magnetic Lines 133
12. Illustration of the New Terms (facsimile sketch) 145
13. Bundle of Wires (facsimile sketch) 151
14. Apparatus for Investigating Dielectric Capacity 159
15. Block of Heavy-glass (facsimile sketch) 176
16. Action of Magnet on Light (facsimile sketch) 177
17. Arrangements of Magnets (facsimile sketch) 178
18. The Ring Electromagnet (facsimile sketch) 179
19. The Equatorial Position 188
20. Illustration of Lateral Vibrations 195
21. A Lecture Model 239
22. Cottage at Hampton Court 258


CHAPTER I.
EARLY LIFE, TRAINING, AND TRAVEL.

On the 22nd of September, 1791, was born, at Newington Butts, then an outlying Surrey village, but since long surrounded and swallowed up within the area of Greater London, the boy Michael Faraday. He was the third child of his parents, James and Margaret Faraday, who had but recently migrated to London from the little Yorkshire village of Clapham. Clapham lies under the shadow of Ingleborough, on the western border of the county, midway between Settle and Kirkby Lonsdale. The father, James Faraday, was a working blacksmith; the mother, daughter of a farmer of Mallerstang, the romantic valley which runs past Pendragon Castle to Kirkby Stephen. James Faraday was one of the ten children of a Robert Faraday, who in 1756 had married Elizabeth Dean, the owner of a small homestead known as Clapham Wood Hall, since pulled down. All Robert Faraday’s sons appear to have been brought up to trades, one being a shoemaker,2 another a grocer, another a farmer, another a flax-worker, and another a shopkeeper. Descendants of some of these still live in the district.

After Michael’s birth, his parents moved to the north side of the Thames, living for a short time in Gilbert Street, but removing in 1796 to rooms over a coach-house in Jacob’s Well Mews, Charles Street, Manchester Square, where they lived till 1809. In that year, young Michael being now nearly eighteen years old, they moved to 18, Weymouth Street, Portland Place. Here in the succeeding year James Faraday, who had long been an invalid, died; his widow, who for some years remained on at Weymouth Street, maintaining herself by taking in lodgers until her sons could support themselves and her, survived till 1838. Though a capable woman and a good mother, she was quite uneducated. In her declining years she was wholly supported by her son, of whom she was very proud, and to whom she was devoted.

Michael received very little schooling. One of his nephews tells the following tale of his boyhood. He was at a dame’s school; and, either from some defect in his speech or because he was too young to articulate his r’s properly, he pronounced his elder brother’s name “Wobert.” The harsh schoolmistress, bent on curing the defect by personal chastisement, sent the aforesaid “Wobert” out with a halfpenny to get a cane, that young Michael might be duly flogged. But this refinement of cruelty reacted on itself; for Robert, boiling with indignation, pitched the halfpenny over a wall, and went home to tell his3 mother, who promptly came down to the scene of action and removed both boys from the school. From the age of five to thirteen Michael lived at Jacob’s Well Mews, spending his out-of-school hours at home or in the streets playing at marbles and other games with the children of the neighbourhood.

RIEBAU’S SHOP.
BOOKBINDER’S ERRAND-BOY.

In 1804 he went on trial for twelve months as errand-boy to a bookseller and stationer at No. 2, Blandford Street—Mr. George Riebau. This house, which is still kept as a stationer’s shop (by Mr. William Pike), is now marked with an enamelled tablet recording its connection with the4 life of Faraday.1 When he first went to Mr. Riebau, it was his duty to carry round the newspapers in the morning. He has been graphically described as a bright-eyed errand-boy who “slid along the London pavements, with a load of brown curls upon his head and a packet of newspapers under his arm.” Some of the journals were lent out, and had to be called for again. He was very particular on Sunday mornings to take them round early, that he might complete his work in time to go with his parents to their place of worship. They belonged—as his grandfather before him—to the sect known as Sandemanians, a small body which separated from the Presbyterian Church of Scotland towards the middle of the eighteenth century. Their views, which were very primitive, were held with intense earnestness and sincerity of purpose. Their founder had taught that Christianity never was or could be the formal or established religion of any nation without subverting its essential principles; that religion was the affair of the individual soul; and that “the Bible” alone, with nothing added to it or taken away from it by man, was the sole and sufficient guide for the soul. They rejected all priests or paid ministers, but recognised an institution of unpaid eldership. Their worship was exceedingly simple. Though their numbers were few, they were exceedingly devout, simple, and exclusive in their faith. Doubtless the rigorous moral influences pervading the family and5 friends of James Faraday had a great part in moulding the character of young Michael. To his dying day he remained a member of this obscure sect. As he was no merely nominal adherent, but an exceedingly devoted member, and at two different periods of his life an elder and a preacher, no review of his life-work would be complete without a fuller reference to the religious side of his character.

APPRENTICED AS BOOKBINDER.

After the year of trial, Michael Faraday was formally apprenticed to learn the arts of bookbinder, stationer, “and bookseller,” to Mr. Riebau. The indenture2 is dated October 7, 1805. It is stated that, “in consideration of his faithful service, no premium is given.” During his seven years of apprenticeship there came unexpected opportunities for self-improvement. Faraday’s lifelong friend and co-religionist, Cornelius Varley, says:—“When my attention was first drawn to Faraday, I was told that he had been apprenticed to a bookbinder. I said he was the best bookworm for eating his way to the inside; for hundreds had worked at books only as so much printed paper. Faraday saw a mine of knowledge, and resolved to explore it.” To one of his friends he said that a book by Watts, “On the Mind,” first made him think, and that the article on “Electricity” in a cyclopædia which came into his hands to be bound first turned his attention to science. He himself wrote:—“Whilst an apprentice I loved to read the scientific books which were under my hand; and,6 amongst them, delighted in Marcet’s ‘Conversations in Chemistry’ and the electrical treatises in the ‘Encyclopædia Britannica.’ I made such simple experiments in chemistry as could be defrayed in their expense by a few pence per week, and also constructed an electrical machine, first with a glass phial, and afterwards with a real cylinder, as well as other electrical apparatus of a corresponding kind.” This early machine3 is now preserved at the Royal Institution, to which it was presented by Sir James South. Amongst the books which he had to bind were Lyons’ “Experiments on Electricity” and Boyle’s “Notes about the Producibleness of Chymicall Principles,” which books, together with Miss Burney’s “Evelina,” all bound with his own hands, are still preserved in the Royal Institution.

NEW ACQUAINTANCES.

Walking near Fleet Street, he saw displayed a bill announcing that evening lectures on natural philosophy were delivered by Mr. Tatum at 53, Dorset Street, Salisbury Square, E.C., price of admission one shilling. With his master’s permission, and money furnished by his elder brother Robert, who was a blacksmith and (later) a gasfitter, Michael began to taste scientific teaching. Between February, 1810, and September, 1811, he attended some twelve or thirteen lectures. He made full and beautiful notes of all he heard: his notebooks, bound by himself, being still preserved. At these lectures he fell in with several thoroughly congenial comrades, one7 of them, by name Benjamin Abbott, being a well-educated young Quaker, who was confidential clerk in a mercantile house in the City. Of the others—amongst whom were Magrath, Newton, Nicol, Huxtable, and Richard Phillips (afterwards F.R.S. and President of the Chemical Society)—several remained lifelong friends. Happily for posterity, the letters—long and chatty—which the lad wrote in the fulness of his heart to Abbott have been preserved; they are published in Bence Jones’s “Life and Letters.” They are remarkable not only for their vivacity and freshness but for their elevated tone and excellent composition—true specimens of the lost art of letter-writing. The most wonderful thing about them is that they should have been written by a bookbinder’s apprentice of no education beyond the common school of the district. In his very first letter he complains that ideas and notions which spring up in his mind “are irrevocably lost for want of noting at the time.” This seems the first premonition of that loss of memory which so afflicted him in after life. In his later years he always carried in his waistcoat pocket a card on which to jot down notes and memoranda. He would stop to set down his notes in the street, in the theatre, or in the laboratory.

Riebau, his master in the bookbinding business, seems, from the way he encouraged the studies of his young apprentice, to have been no ordinary man. His name would suggest a foreign extraction; and to his shop resorted more than one political refugee. There lodged at one time at Riebau’s an artist named8 Masquerier,4 who had painted Napoleon’s portrait and had fled from France during the troublous times. For the apprentice boy, who used to dust his room and black his boots, Masquerier took a strong liking. He lent him books on perspective and taught him how to draw. Another frequenter of Riebau’s shop was a Mr. Dance, whose interest in the industry and intelligence of the apprentice led him to an act which changed the whole destiny of his life. Faraday himself, in the very few autobiographical notes which he penned, wrote thus:—

During my apprenticeship I had the good fortune, through the kindness of Mr. Dance, who was a customer of my master’s shop and also a member of the Royal Institution, to hear four of the last lectures of Sir H. Davy in that locality.5 The dates of these lectures were February 29, March 14, April 8 and 10, 1812. Of these I made notes, and then wrote out the lectures in a fuller form, interspersing them with such drawings as I could make. The desire to be engaged in scientific occupation, even though of the lowest kind, induced me, whilst an apprentice, to write, in my ignorance of the world and simplicity of my mind, to Sir Joseph Banks, then President of the Royal Society. Naturally enough, “No answer” was the reply left with the porter.

LETTERS TO ABBOTT.

He submitted his notes to the criticism of his friend Abbott, with whom he discussed chemical and electrical problems, and the experiments which they had individually tried. Out of this correspondence,9 one letter only can be given; it was written September 28, 1812, ten days before the expiry of his apprenticeship:—

Dear A——, ... I will hurry on to philosophy, where I am a little more sure of my ground. Your card was to me a very interesting and pleasing object. I was highly gratified in observing so plainly delineated the course of the electric fluid or fluids (I do not know which). It appears to me that by making use of a card thus prepared, you have hit upon a happy illustrating medium between a conductor and a non-conductor; had the interposed medium been a conductor, the electricity would have passed in connection through it—it would not have been divided; had the medium been a non-conductor, it would have passed in connection, and undivided, as a spark over it, but by this varying and disjoined conductor it has been divided most effectually. Should you pursue this point at any time still further, it will be necessary to ascertain by what particular power or effort the spark is divided, whether by its affinity to the conductor or by its own repulsion; or if, as I have no doubt is the case, by the joint action of these two forces, it would be well to observe and ascertain the proportion of each in the effect. There are problems, the solution of which will be difficult to obtain, but the science of electricity will not be complete without them; and a philosopher will aim at perfection, though he may not hit it—difficulties will not retard him, but only cause a proportionate exertion of his mental faculties.

I had a very pleasing view of the planet Saturn last week through a refractor with a power of ninety. I saw his ring very distinctly; ’tis a singular appendage to a planet, to a revolving globe, and I should think caused some peculiar phenomena to the planet within it. I allude to their mutual action with respect to meteorology and perhaps electricity....

The master, a French emigré named De la Roche, of King Street, Portman Square, to whom he engaged himself as a journeyman bookbinder, was of a10 very passionate disposition, and made Faraday very uncomfortable. He longed to get out of trade, and under the encouragement of Mr. Dance he wrote to Sir Humphry Davy, sending, “as a proof of my earnestness,” the notes he had taken of Davy’s last four lectures. Faraday’s letter, which has been preserved but never published, is an astounding example of the high-flown cringing style in vogue at that date. Davy’s reply was favourable, and led to a temporary engagement of some days as amanuensis at the time when he was wounded in the eye by an explosion of the chloride of nitrogen. Faraday himself, nearly twenty years afterwards, wrote6 a full account of the circumstances.

[M. Faraday to Dr. J. A. Paris.]

Royal Institution, December 23, 1829.

My dear Sir,—You asked me to give you an account of my first introduction to Sir H. Davy, which I am very happy to do, as I think the circumstances will bear testimony to his goodness of heart.

When I was a bookseller’s apprentice, I was very fond of experiment and very adverse to trade. It happened that a gentleman, a member of the Royal Institution, took me to hear some of Sir H. Davy’s last lectures in Albemarle Street. I took notes, and afterwards wrote them out more fairly in a quarto volume.

My desire to escape from trade, which I thought vicious and selfish, and to enter into the service of Science, which I imagined made its pursuers amiable and liberal, induced me at last to take the bold and simple step of writing to Sir H. Davy, expressing my wishes, and a hope that, if an opportunity came11 in his way, he would favour my views; at the same time, I sent the notes I had taken of his lectures.

The answer, which makes all the point of my communication, I send you in the original, requesting you to take great care of it, and to let me have it back, for you may imagine how much I value it.

You will observe that this took place at the end of the year 1812, and early in 1813 he requested to see me, and told me of the situation of assistant in the laboratory of the Royal Institution, then just vacant.

At the same time that he thus gratified my desires as to scientific employment, he still advised me not to give up the prospects I had before me, telling me that Science was a harsh mistress; and in a pecuniary point of view but poorly rewarding those who devoted themselves to her service. He smiled at my notion of the superior moral feelings of philosophic men, and said he would leave me to the experience of a few years to set me right on that matter.

Finally, through his good efforts I went to the Royal Institution early in March of 1813, as assistant in the laboratory; and in October of the same year went with him abroad as his assistant in experiments and in writing. I returned with him in April, 1815, resumed my station in the Royal Institution, and have, as you know, ever since remained there.

I am, dear Sir, very truly yours,
M. Faraday.

WINS FAVOUR WITH DAVY.

The following is Davy’s note:—

Mr. P. Faraday, 188, Weymouth St., Portland Place.

December 24, 1812.

Sir,—I am far from displeased with the proof you have given me of your confidence, and which displays great zeal, power of memory, and attention. I am obliged to go out of 12Town, and shall not be settled in town till the end of Jany I will then see you at any time you wish. It would gratify me to be of any service to you; I wish it may be in my power.

I am Sir
your obt. humble servt.
H. Davy.

Accordingly, Faraday called on Davy, who received him in the anteroom to the lecture theatre, by the window nearest to the corridor. He advised him then to stick to bookbinding, promising to send him books from the Institution to bind, as well as other books. He must have been agreeably impressed, otherwise he would not, when disabled, have sent for Faraday to write for him. Early in 1813 the humble household, in which Faraday lived with his widowed mother in Weymouth Street, was one night startled by the apparition of Sir Humphry Davy’s grand coach, from which a footman alighted and knocked loudly at the door. For young Faraday, who was at that moment undressing upstairs, he left a note from Sir Humphry Davy requesting him to call next morning. At that interview Davy asked him whether he was still desirous of changing his occupation, and offered him the post of assistant in the laboratory in place of one who had been dismissed. The salary was to be twenty-five shillings a week, with two rooms at the top of the house. The minute appointing him is dated March 1, 1813:—

ENTERS ROYAL INSTITUTION.

Sir Humphry Davy has the honour to inform the managers that he has found a person who is desirous to occupy the situation in the Institution lately filled by William Payne. His name is Michael Faraday. He is a youth of twenty-two years of age. As far as Sir H. Davy has been able to observe13 or ascertain, he appears well fitted for the situation. His habits seem good, his disposition active and cheerful, and his manner intelligent. He is willing to engage himself on the same terms as those given to Mr. Payne at the time of quitting the Institution.

Resolved—That Michael Faraday be engaged to fill the situation lately occupied by Mr. Payne on the same terms.7

There have come down several additions to the story. One, probably apocryphal, says that Faraday’s first introduction to Davy was occasioned by Davy’s calling at Riebau’s to select some bookbinding, and seeing on the shelves the bound volume of manuscript notes of his own lectures. The other was narrated by Gassiot to Tyndall, as follows:—

Clapham Common, Surrey,
November 28, 1867.

My dear Tyndall,—Sir H. Davy was accustomed to call on the late Mr. Pepys in the Poultry, on his way to the London Institution, of which Pepys was one of the original managers; the latter told me that on one occasion Sir H. Davy, showing him a letter, said, “Pepys, what am I to do?—here is a letter from a young man named Faraday; he has been attending my lectures, and wants me to give him employment at the Royal Institution—what can I do?” “Do?” replied Pepys,14 “put him to wash bottles; if he is good for anything he will do it directly; if he refuses, he is good for nothing.” “No, no,” replied Davy, “we must try him with something better than that.” The result was, that Davy engaged him to assist in the Laboratory at weekly wages.

Davy held the joint office of Professor of Chemistry and Director of the Laboratory; he ultimately gave up the former to the late Professor Brande, but he insisted that Faraday should be appointed Director of the Laboratory, and, as Faraday told me, this enabled him on subsequent occasions to hold a definite position in the Institution, in which he was always supported by Davy. I believe he held that office to the last.

Believe me, my dear Tyndall, yours truly,
J. P. Gassiot.

In 1808 Mr. Tatum had founded a City Philosophical Society.8 It consisted of thirty or forty young men in humble or moderate rank, who met on Wednesdays for mutual instruction; lectures being given once a fortnight by the members in turn. Tatum introduced Faraday to this Society in 1813. Edward Magrath was secretary. Amongst Faraday’s notes of his life is the following:—

During this spring Magrath and I established the mutual-improvement plan, and met at my rooms up in the attics of the Royal Institution, or at Wood Street at his warehouse. It consisted perhaps of half-a-dozen persons, chiefly from the City Philosophical Society, who met of an evening to read together, and to criticise, correct, and improve each other’s15 pronunciation and construction of language. The discipline was very sturdy, the remarks very plain and open, and the results most valuable. This continued for several years.

AT WORK IN CHEMISTRY.

He writes, after a week of work at the Royal Institution, to Abbott:—

Royal Institution, March 8, 1813.

It is now about nine o’clock, and the thought strikes me that the tongues are going both at Tatum’s and at the lecture in Bedford Street; but I fancy myself much better employed than I should have been at the lecture at either of those places. Indeed, I have heard one lecture already to-day, and had a finger in it (I can’t say a hand, for I did very little). It was by Mr. Powell, on mechanics, or rather on rotatory motion, and was a pretty good lecture, but not very fully attended.

As I know you will feel a pleasure in hearing in what I have been or shall be occupied, I will inform you that I have been employed to-day, in part, in extracting the sugar from a portion of beetroot, and also in making a compound of sulphur and carbon—a combination which has lately occupied in a considerable degree the attention of chemists.

With respect to next Wednesday, I shall be occupied until late in the afternoon by Sir H. Davy, and must therefore decline seeing you at that time; this I am the more ready to do as I shall enjoy your company next Sunday, and hope to possess it often in a short time.

The next letter to Abbott, dated April 9, recounts an explosion in which both he and Sir Humphry Davy received considerable injury. In June he wrote to Abbott four very remarkable letters concerning lectures and lecturers. He had already heard Tatum and Davy, and had now assisted Brande and Powell in their lectures, and had keenly observed their habits, peculiarities, and defects, as well as the effects they16 produced on the audience. He writes without the slightest suspicion of suggestion that he himself has any likelihood of becoming a lecturer, and says that he does not pretend to any of the requisites for such an office. “If I am unfit for it,” he says, “’tis evident that I have yet to learn; and how learn better than by the observation of others? If we never judge at all, we shall never judge right.” “I, too, have inducements in the C[ity] P[hilosophical] S[ociety] to draw me forward in the acquisition of a small portion of knowledge on this point.” “I shall point out but few beauties or few faults that I have not witnessed in the presence of a numerous assembly.”

He begins by considering the proper shape of a lecture-room; its proper ventilation, and need of suitable entrances and exits. Then he goes on to consider suitability of subjects and dignity of subject. In the second of the letters he contrasts the perceptive powers of the eye and ear, and the proper arrangements for a lecturer’s table; then considers diagrams and illustrations. The third letter deals with the delivery and style of the lecture, the manner and attitudes of the lecturer, his methods of keeping alive the attention of the audience, and duration of the discourse. In the fourth of these letters (see p. 228), he dwells on the mistakes and defects of lecturers, their unnecessary apologies, the choice of apt experiments, and avoidance of trivialities.

PROPOSALS FOR FOREIGN TRAVEL.

In September, 1813, after but six months of work in the laboratory, a proposition came to him from Sir Humphry Davy which resulted in a complete change of scene. It was an episode of foreign travel, lasting,17 as it proved, eighteen months. In the autobiographical notes he wrote:—

In the autumn Sir H. Davy proposed going abroad, and offered me the opportunity of going with him as his amanuensis, and the promise of resuming my situation in the Institution upon my return to England. Whereupon I accepted the offer, left the Institution on October 13, and, after being with Sir H. Davy in France, Italy, Switzerland, the Tyrol, Geneva, &c., in that and the following year, returned to England and London April 23, 1815.

Before he left England, on September 18, 1813, at the request of his mother, he wrote to an uncle and aunt the following account of himself:—

I was formerly a bookseller and binder, but am now turned philosopher, which happened thus:—Whilst an apprentice, I, for amusement, learnt a little of chemistry and other parts of philosophy, and felt an eager desire to proceed in that way further. After being a journeyman for six months, under a disagreeable master, I gave up my business, and, by the interest of Sir H. Davy, filled the situation of chemical assistant to the Royal Institution of Great Britain, in which office I now remain, and where I am constantly engaged in observing the works of Nature and tracing the manner in which she directs the arrangement and order of the world. I have lately had proposals made to me by Sir Humphry Davy to accompany him, in his travels through Europe and into Asia, as philosophical assistant. If I go at all I expect it will be in October next, about the end, and my absence from home will perhaps be as long as three years. But as yet all is uncertain. I have to repeat that, even though I may go, my path will not pass near any of my relations, or permit me to see those whom I so much long to see.

To Faraday, who was now twenty-two years old, foreign travel meant much more than to most young18 men of equal age. With his humble bringing up and slender resources, he had never had the chance of seeing the outside world; he had never, to his own recollection, even seen the sea. When on Wednesday, October 13, he started out on the journey to Plymouth, in order to cross to the port of Morlaix, he began his journal of foreign travel thus:—

This morning formed a new epoch in my life. I have never before, within my recollection, left London at a greater distance than twelve miles.

A NEW ELEMENT.

This journal he kept with minute care, with the sole purpose of recalling events to his mind. It gives full details as to Davy’s scientific friends and work, intermingled with graphic descriptions of scenery; and is remarkable also for its personal reticence. As with many another, so with Faraday, foreign travel took in his life the place of residence at a University. In France, in Italy, he received enlarged ideas; and what he saw of learned men and academies of science exercised no small formative effect upon one then at the most impressionable age. He comments gaily on the odd incidents of travel; the luminescence of the sea at night; the amazing fuss at the Custom House; the postilion with his jack-boots, whip, and pouch; the glow-worm (the first glow-worm he had ever seen); and the slim pigs of Normandy. At Paris he visits the Louvre, where his chief comment on its treasures is, that by their acquisition France has made herself “a nation of thieves.” He goes to the Prefecture of Police for his passport, in which he is described as having “a round chin, a brown beard, a large mouth, a great nose,” etc. He visits the19 churches, where the theatrical air pervading the place “makes it impossible to attach a serious or important feeling to what is going on.” He comments on the wood fires, the charcoal used in cooking, the washerwomen on the river bank, the internal decorations of houses, the printing of the books. Then he goes about with Davy amongst the French chemists. Ampère, Clément, and Désormes come to Davy to show him the new and strange substance “X,” lately discovered by M. Courtois. They heat it, and behold it rise in vapour of a beautiful violet colour. Ampère himself, on November 23rd, gives Davy a specimen. They carefully note down its characters. Davy and his assistant make many new experiments on it. At first its origin is kept a profound secret by the Frenchman. Then it transpires that it is made from ashes of seaweed. They work on it at Chevreul’s laboratory. Faraday borrows a voltaic pile from Chevreul. With that intuition which was characteristic of him, Davy jumps almost at once to a conclusion as to the nature of the new body, which for nearly two years had been in the hands of the Frenchmen awaiting elucidation. When he leaves Paris, they do not wholly bless his rapidity of thought. But Faraday has seen—with placid indifference—a glimpse of the great Napoleon “sitting in one corner of his carriage, covered and almost hidden by an enormous robe of ermine, and his face overshadowed by a tremendous plume of feathers, that descended from a velvet hat”; he has also met Humboldt, and he has heard M. Gay Lussac lecture to about two hundred pupils.

20

Dumas has recorded in his “Éloge Historique” a reflection of the impressions left by the travellers. After speaking of the criticism to which Davy was exposed during his visit, he says:—

His laboratory assistant, long before he had won his great celebrity by his works, had by his modesty, his amiability, and his intelligence, gained most devoted friends at Paris, at Geneva, at Montpellier. Amongst these may be named in the front rank M. de la Rive, the distinguished chemist, father of the illustrious physicist whom we count amongst our foreign associates. The kindnesses with which he covered my youth contributed not a little to unite us—Faraday and myself. With pleasure we used to recall that we made one another’s acquaintance under the auspices of that affectionate and helpful philosopher whose example so truly witnessed that science does not dry up the heart’s blood. At Montpellier, beside the hospitable hearth of Bérard, the associate of Chaptal, doyen of our corresponding members, Faraday has left memories equally charged with an undying sympathy which his master could never have inspired. We admired Davy, we loved Faraday.

It is December 29 when the travellers leave Paris and cross the forest of Fontainebleau. Faraday thinks he never saw a more beautiful scene than the forest dressed in an airy garment of crystalline hoar frost. They pass through Lyons, Montpellier, Aix, Nice, searching on the way for iodine in the sea-plants of the Mediterranean. At the end of January, 1814, they cross the Col de Tende over the snow at an elevation of 6,000 feet into Italy, and find themselves in the midst of the Carnival at Turin. They reach Genoa, and go to the house of a chemist to make experiments on the raia torpedo, the electric skate,21 trying to ascertain whether water could be decomposed by the electrical discharges of these singular fishes. From Genoa they go by sea to Lerici in an open boat, with much discomfort and fear of ship-wreck; and thence by land to Florence.

WITH DAVY IN ITALY.

At Florence he goes with Davy to the Accademia del Cimento. He sees the library, the gardens, the museum. Here is Galileo’s own telescope—a simple tube of paper and wood, with lenses at each end—with which he discovered Jupiter’s satellites. Here is the great burning glass of the Grand Duke of Tuscany. And here is a numerous collection of magnets, including one enormous loadstone supporting a weight of 150 pounds. They make “the grand experiment of burning the diamond” in oxygen by the sun’s heat concentrated through the Grand Duke’s burning glass. They find the diamond to be pure carbon. Then early in April they depart for Rome.

From Rome Faraday wrote to his mother a long chatty letter summarising his travels, and sending messages of kindly remembrance to his old master Riebau and others. He tells how, in spite of political troubles, Sir Humphry Davy’s high name has procured them free admission everywhere, and how they have just heard that Paris has been taken by the Allied troops.

At Rome they witness unconvinced some attempts of Morichini to impart magnetism to steel needles by the solar rays. They pass the Colosseum by moonlight, making an early morning start across the Campagna, on the road to Naples, with an armed guard for fear of brigands. Twice, in the middle of22 May, they ascend Vesuvius, the second time during a partial eruption rendered all the more vivid by the lateness of the hour—half-past seven—at which the edge of the crater was reached. In June they visit Terni, and note the nearly circular rainbow visible in the spray of the cataract; and so across the Apennines to Milan.

At Milan occurs the following entry:—

Friday 17th [June, 1814], Milan. Saw M. Volta, who came to Sir H. Davy, an hale elderly man, bearing the red ribbon, and very free in conversation.

He does not record how the ceremonious old Count, who had specially attired himself in his Court uniform to welcome the illustrious chemist, was horrified at the informal manners and uncourtly dress of the tourist philosopher.

So, travelling by Como and Domo d’Ossola, they come to Geneva, and here remain a long time; and Faraday writes again to his mother and to Abbott. He can even find time to discuss with the latter the relative merits of the French and Italian languages, and the trend of civilisation in Paris and in Rome. Twice he sends messages to Riebau. One of his letters to Abbott, in September, contains passages of more than transient interest:—

Some doubts have been expressed to me lately with respect to the continuance of the Royal Institution; Mr. Newman can probably give a guess at the issue of them. I have three boxes of books, &c., there, and I should be sorry if they were lost by the turning up of unforeseen circumstances; but I hope all will end well (you will not read this out aloud). Remember23 me to all friends, if you please. And “now for you and I to ourselves.”...

In passing through life, my dear friend, everyone must expect to receive lessons, both in the school of prosperity and in that of adversity; and, taken in a general sense, these schools do not only include riches and poverty, but everything that may cause the happiness and pleasure of man, and every feeling that may give him pain. I have been in at the door of both these schools; nor am I so far on the right hand at present that I do not get hurt by the thorns on my left. With respect to myself, I have always perceived (when, after a time, I saw things more clearly) that those things which at first appeared as misfortunes or evils ultimately were actually benefits, and productive of much good in the future progress of things. Sometimes I compared them to storms and tempests, which cause a temporary disarrangement to produce permanent good; sometimes they appeared to me like roads—stony, uneven, hilly, and uncomfortable, it is true—but the only roads to a good beyond them; and sometimes I said they were clouds which intervened between me and the sun of prosperity, but which I found were refreshing, reserving to me that tone and vigour of mind which prosperity alone would enervate and ultimately destroy....

HINTS OF DISCOMFORT.

You talk of travelling, and I own the word is seducing, but travelling does not secure you from uneasy circumstances. I by no means intend to deter you from it; for though I should like to find you at home when I come home, and though I know how much the loss would be felt by our friends, yet I am aware that the fund of knowledge and of entertainment opened would be almost infinite. But I shall set down a few of my own thoughts and feelings, &c., in the same circumstances. In the first place, then, my dear B., I fancy that when I set my foot in England I shall never take it out again; for I find the prospect so different from what it at first appeared to be, that I am certain, if I could have foreseen the things that have passed, I should never have left London. In the second place, enticing as travelling is—and I appreciate fully its advantages and pleasures—I have several times been24 more than half decided to return hastily home; but second thoughts have still induced me to try what the future may produce, and now I am only retained by the wish of improvement. I have learned just enough to perceive my ignorance, and, ashamed of my defects in everything, I wish to seize the opportunity of remedying them. The little knowledge I have gained in languages makes me wish to know more of them, and the little I have seen of men and manners is just enough to make me desirous of seeing more; added to which, the glorious opportunity I enjoy of improving in the knowledge of chemistry and the sciences continually determines me to finish this voyage with Sir Humphry Davy. But if I wish to enjoy those advantages, I have to sacrifice much; and though those sacrifices are such as an humble man would not feel, yet I cannot quietly make them. Travelling, too, I find, is almost inconsistent with religion (I mean modern travelling), and I am yet so old-fashioned as to remember strongly (I hope perfectly) my youthful education; and upon the whole, malgré the advantages of travelling, it is not impossible but that you may see me at your door when you expect a letter.

You will perceive, dear B., that I do not wish you hastily to leave your present situation, because I think that a hasty change will only make things worse. You will naturally compare your situation with others you see around you, and by this comparison your own will appear more sad, whilst the others seem brighter than in truth they are; for, like the two poles of a battery, the ideas of each will become exalted by approaching them. But I leave you, dear friend, to act in this case as your judgment may direct, hoping always for the best.

* * * * *

Sir Humphry works often on iodine, and has lately been making experiments on the prismatic spectrum at M. Pictet’s. They are not yet perfected, but from the use of very delicate air thermometers, it appears that the rays producing most heat are certainly out of the spectrum and beyond the red rays. Our time has been employed lately in fishing and shooting; and many a quail has been killed in the plains of25 Geneva, and many a trout and grayling have been pulled out of the Rhone.

* * * * *

I need not say, dear Ben, how perfectly I am yours,

M. Faraday.

ARISTOCRATIC HAUTEUR.

This letter reveals, what the diary of travel so scrupulously hides, the existence of circumstances which were hardly tolerable in Faraday’s position. To make the reference intelligible it should be remembered that Davy, who had come up to London in 1801 as a raw youth, of immense ability but very uncouth exterior, had developed into a fashionable person, had become the idol of the hour, had married a very wealthy widow, had been knighted, and had given himself up very largely to the pursuits of fashionable society and to the company of the aristocratic beau monde. Lady Davy accompanied Sir Humphry in this Continental tour; and though Faraday had been taken with them as secretary and scientific assistant, it would seem that he had not always been treated with the respect due to one in that position. The above letter evidently disquieted Abbott, for he wrote back to Faraday to inquire more closely into his personal affairs, telling him he was sure he was not happy, and asking him to share his difficulties. Faraday, who was now back in Rome, replied in January in a long letter of twelve pages,926 which he says he had intended to fill with an account of the waterfalls he had seen, but which gives instead a detailed account of his vexations. He had, he said, written his former letter when in a ruffled state of mind. He now gives the explanation. Before, however, this letter could reach Abbott, the latter had written yet more urgently to know what was the matter. To this Faraday replied on February 23rd. As this shorter letter summarises the previous one it may be given here. Both are printed in Bence Jones’s “Life and Letters”:—

Rome, February 23, 1815.

Dear B——,—In a letter of above twelve pages I gave answers to your question respecting my situation. It was a subject not worth talking about, but I consider your inquiries as so many proofs of your kindness and the interest you take in my welfare, and I thought the most agreeable thanks I could make you would be to answer them. The same letter also contained a short account of a paper written by Sir Humphry Davy on ancient colours, and some other miscellaneous matters.

SECRET OF MORTIFICATION.

I am quite ashamed of dwelling so often on my own affairs, but as I know you wish it, I shall briefly inform you of my situation. I do not mean to employ much of this sheet of paper on the subject, but refer you to the before-mentioned long letter for clear information. It happened a few days before we left England, that Sir H.’s valet declined going with him, and in the short space of time allowed by circumstances another could not be got. Sir H. told me he was very sorry, but that, if I would do such things as were absolutely necessary for him until he got to Paris, he should there get another. I murmured, but agreed. At Paris he could not get one. No Englishmen were there, and no Frenchman fit for the place could talk English to me. At Lyons he could not get one; at Montpellier he could not get one; nor at Genoa, nor at27 Florence, nor at Rome, nor in all Italy; and I believe at last he did not wish to get one: and we are just the same now as we were when he left England. This of course throws things into my duty which it was not my agreement, and is not my wish, to perform, but which are, if I remain with Sir H., unavoidable. These, it is true, are very few; for having been accustomed in early years to do for himself, he continues to do so at present, and he leaves very little for a valet to perform; and as he knows that it is not pleasing to me, and that I do not consider myself as obliged to do them, he is always as careful as possible to keep those things from me which he knows would be disagreeable. But Lady Davy is of another humour. She likes to show her authority, and at first I found her extremely earnest in mortifying me. This occasioned quarrels between us, at each of which I gained ground, and she lost it; for the frequency made me care nothing about them, and weakened her authority, and after each she behaved in a milder manner. Sir H. has also taken care to get servants of the country, ycleped lacquais de place, to do everything she can want, and now I am somewhat comfortable; indeed, at this moment I am perfectly at liberty, for Sir H. has gone to Naples to search for a house or lodging to which we may follow him, and I have nothing to do but see Rome, write my journal, and learn Italian.

But I will leave such an unprofitable subject, and tell you what I know of our intended route. For the last few weeks it has been very undecided, and at this moment there is no knowing which way we shall turn. Sir H. intended to see Greece and Turkey this summer, and arrangements were half made for the voyage; but he has just learned that a quarantine must be performed on the road there, and to do this he has an utter aversion, and that alone will perhaps break up the journey.

* * * * *

Since the long letter I wrote you, Sir H. has written two short papers for the Royal Society—the first on a new solid compound of iodine and oxygen, and the second a new gaseous28 compound of chlorine and oxygen, which contains four times as much oxygen as euchlorine.

The discovery of these bodies contradicts many parts of Gay-Lussac’s paper on iodine, which has been very much vaunted in these parts. The French chemists were not aware of the importance of the subject until it was shown to them, and now they are in haste to reap all the honours attached to it; but their haste opposes their aim. They reason theoretically, without demonstrating experimentally, and errors are the result.

* * * * *

I am, my dear Friend, yours ever and faithfully,
M. Faraday.

The equivocal position thus forced upon Faraday by the hauteur of Lady Davy nearly caused a contretemps during the stay at Geneva, which lasted from the end of June, 1814, to about the middle of September. Bence Jones’s account, derived from Faraday himself, is as follows:—Professor G. de la Rive, undazzled by the brilliancy of Davy’s reputation, was able to see the true worth of his assistant. Davy was fond of shooting, and Faraday, who accompanied them, used to load Davy’s gun for him, while De la Rive loaded his own. Entering into conversation with Faraday, De la Rive was astonished to find that the intelligent and charming young man whom he had taken hitherto for a domestic was really préparateur de laboratoire in the Royal Institution. This led him to place Faraday, in one respect, on an equality with Davy. Whilst they were staying in his house, he wished them to dine together at his table. Davy, it is said, declined, because Faraday acted in some things as his servant. De la Rive expressed29 his feelings strongly, and ordered dinner in a separate room for Faraday. A rumour spread years after that De la Rive gave a dinner in Faraday’s honour: this is not so, however.

VISIT TO GENEVA.

Of that Geneva visit Faraday says, in 1858, to M. A. de la Rive:—

I have some such thoughts (of gratitude) even as regards your own father, who was, I may say, the first who personally at Geneva, and afterwards by correspondence, encouraged and by that sustained me.

This correspondence, which began with the father and was continued with the son, lasted altogether nearly fifty years.

From Geneva the travellers went northward, by Lausanne, Vevay, Bern, Zürich, and Schaffhausen, across Baden and Würtemburg to Munich. After visiting this and other German towns, they crossed Tyrol southwards to Vicenza, halting in the neighbourhood of the Pietra Mala to collect the inflammable gas which there rises from the soil. They spent a day in Padua, and three days in Venice; and on by Bologna to Florence, where Davy completed his analysis of the gas collected at Pietra Mala. Early in November they were again in Rome. He writes once and again to his mother, while his anxiety about the Royal Institution makes him send inquiries to Abbott as to what is going to happen there, and to charge him, “if any change should occur in Albemarle Street,” not to forget his books which are lying there. “I prize them now more than ever.”

To his former master, Riebau, he wrote from Rome as follows:—

30

Rome, Jan. 5th, 1815.

Honoured Sir,

It is with very peculiar but very pleasing and indeed flattering sentiments that I commence a letter intended for you, for I esteem it as a high honour that you should not only allow but even wish me to write to you. During the whole of the short eight years that I was with you, Sir, and during the year or two that passed afterwards before I left England, I continually enjoyed your goodness and the effects of it; and it is gratifying to me in the highest degree to find that even absence has not impaired it, and that you are willing to give me the highest proof of (allow me to say) friendship that distance will admit. I have received both the letters that you have wrote to me, Sir, and consider them as far from being the least proofs of your goodwill and remembrance of me. Allow me to thank you humbly but sincerely for these and all other kindness, and I hope that at some future day an opportunity will occur when I can express more strongly my gratitude.

I beg leave to return a thousand thanks to my kind Mistress, to Mr. and Mrs. Paine and George for their remembrances, and venture to give mine with respect in return. I am very glad to hear that all are well. I am very much afraid you say too much of me to Mr. Dance, Mr. Cosway, Mrs. Udney, etc., for I feel unworthy of what you have said of me formerly, and what you may say now. Since I have left England, the experience I have gained in more diversified and extended life, and the knowledge I have gained of what is to be learned and what others know, have sufficiently shown me my own ignorance, the degree in which I am surpassed by all the world, and my want of powers; but I hope that at least I shall return home with an addition to my self-knowledge. When speaking of those who are so much my superiors, as Mr. Dance, Mr. Cosway, and Mrs. Udney, etc., I feel a continual fear that I should appear to want respect, but the manner in which you mention their names in your letter emboldens me to beg that you will give my humblest respects 31to those honored persons, if, and only if (I am afraid of intruding) they should again speak of me to you. Mr. Dance’s kindness claims my gratitude, and I trust that my thanks, the only mark that I can give, will be accepted.

BOOKS AND BOOKSELLERS.

Since I have been abroad, my old profession of books has oftentimes occurred to my mind and been productive of much pleasure. It was my wish at first to purchase some useful book at every large town we came to, but I found my stock increase so fast that I was obliged to alter my plan and purchase only at Capital Cities. The first books that I wanted were grammars and dictionaries, but I found few places like London where I could get whatever I wanted. In France (at the time we were there) English books were very scarce, and also English and French books; and a French grammar for an Englishman was a thing difficult to find. Nevertheless the shops appeared well stocked with books in their own language, and the encouragement Napoleon gave to Arts and Sciences extended its influence even to the printing and binding of books. I saw some beautiful specimens in both these branches at the Bibliothèque Impériale at Paris, but I still think they did not exceed or even equal those I had seen in London before. We have as yet seen very little of Germany, having passed rapidly through Switzerland and stopping but a few days at Munich, but that little gave me a very favorable idea of the Booksellers’ shops. I got an excellent English and German dictionary immediately I asked for it, and other books I asked for I found were to be had, but E. and G. Grammars were scarce, owing to the little communication between the two Empires, and the former power of the French in Germany. Italy I have found the country furnished with the fewest means—if books are the means of disseminating knowledge, and even Venice which is renowned for Printing appeared to me bare and little worthy of its character. It is natural to suppose that the great and most estimable use of printing is to produce those books which are in most general use and which are required by the world at large; it is those books which form this branch of trade, and consequently every shop in it gives an account of the more valuable state of the art (i.e.) the32 use made of it. In Italy there are many books, and the shelves of the shops there appear full, but the books are old, or what is new have come from France; they seem latterly to have resigned printing and to have become satisfied with the libraries their forefathers left them. I found at Florence an E. and I. Grammar (Veneroni’s), which does a little credit to Leghorn; but I have searched unsuccessfully at Rome, Naples, Milan, Bologna, Venice, Florence, and in every part of Italy for and E. and I. Dictionary, and the only one I could get was Rollasetti in 8vo. E. F. and I. A circumstance still more singular is the want of bibles; even at Rome, the seat of the Roman Catholic faith, a bible of moderate size is not to be found, either Protestant or Catholic. Those which exist are large folios or 4tos and in several volumes, interspersed with the various readings and commentaries of the fathers, and they are in the possession of the Priests and religious professors. In all shops at Rome where I ask for a small pocket bible the man seemed afraid to answer me, and some Priest in the shop looked at me in a very inquisitive way.

I must now, Kind Sir, put an end to this letter, which I fear you will think already too long. I beg you will have the goodness to send to my Mother and say I am well, and give my duty to her and my love to my brother and sisters. I have wrote four or five times lately from Rome to various friends. Remember me, if you please, to Mr. Kitchen, and others who may enquire after me. I thank you for your concluding wishes and am, Sir,

Your most dutifully,
Faraday.

To his sisters he wrote also. To the elder, on the Church festivals, the Carnival, and the ruins of the Colosseum. To the younger, on the best way of learning French. His diary is full of the Carnival, the foolishness of which afforded him much amusement. He witnessed the horse-races in the Corso, went four times to masked balls, where his boyish33 love of uproarious fun broke out beyond restraint, for to the last one he went disguised in a night-gown and night-cap. Between gaieties in the evenings and chemical experiments with Davy in the day, his time must have been pretty fully occupied. They had had the intention of going on to Greece and Turkey, but owing to dread of quarantine these projects were abandoned, and at the end of February, 1815, they moved southwards to Naples. Here is a characteristic entry:—

Tuesday, March 7th.—I heard for news that Bonaparte was again at liberty. Being no politician, I did not trouble myself much about it, though I suppose it will have a strong influence on the affairs of Europe.

He went with Sir Humphry to explore Monte Somma, and ventured to make another ascent of the cone of Vesuvius, with the gratification of finding the crater in much greater activity than during the visits of the preceding year.

THE END OF THE TOUR.

Then, for reasons not altogether clear, the tour was suddenly cut short. Naples was left on March 21st, Rome on 24th, Mantua was passed on 30th. Tyrol was recrossed, Germany traversed by Stuttgardt, Heidelberg, and Cologne. Brussels was reached on 16th April, whence London was regained viâ Ostend and Deal. A letter written from Brussels to his mother positively overflows with the joy of expected return. He does not want his mother to be inquiring at Albemarle Street as to when he is expected:—

You may be sure that my first moments will be in your company. If you have opportunities, tell some of my dearest34 friends, but do not tell everybody—that is, do not trouble yourself to do it. I am of no consequence except to a few, and there are but a few that are of consequence to me, and there are some whom I should like to be the first to tell myself—Mr. Riebau for one. However, let A. know, if you can...

Adieu till I see you, dearest Mother; and believe me ever your affectionate and dutiful son,

M. Faraday.

[P.S.] ’Tis the shortest and (to me) the sweetest letter I ever wrote you.

A fortnight after his return to London, Faraday was re-engaged, at a salary of thirty shillings a week, at the Royal Institution as assistant in the laboratory and mineralogical collection. He returned to the scene of his former labours; but with what widened ideas! He had had eighteen months of daily intercourse with the most brilliant chemist of the age. He had seen and conversed with Ampère, Arago, Gay-Lussac, Chevreul, Dumas, Volta, De la Rive, Biot, Pictet, De Saussure, and De Stael. He had formed a lasting friendship with more than one of these. He had dined with Count Rumford, the founder of the Royal Institution. He had gained a certain mastery over foreign tongues, and had seen the ways of foreign society. Though it was many years before he again quitted England for a foreign tour, he cherished the most lively recollection of many of the incidents that had befallen him.


Amongst the scientific societies of Great Britain, the Royal Institution of London occupies a conspicuous place. It has had many imitators in its time, yet it remains unique. A “learned society” it may claim to be, in the sense that it publishes scientific transactions, and endeavours to concentrate within itself and promote the highest science, within a certain range of subjects. In some respects it resembles a college; for it appoints professors, and provides them with space, appliances, and materials for research, and a theatre wherein to lecture. For its members it provides a comfortable, well-stocked library, and a reading-room where daily and periodic journals may be consulted. But it has achieved a reputation far in excess of any it would have held, had that reputation depended solely on its publications, or on the numerical strength of its membership.

Founded in the year 1799 by that erratic genius Count Rumford, as a sort of technical school,10 it would speedily have come to an end had not others stepped in to develop it in new ways. From the certain ruin which seemed impending in 1801, it was36 saved by the appearance upon the scene of the brilliant youth Humphry Davy, whose lectures made it for ten years the resort of fashion. In 1814 it was again in such low water that Faraday, travelling on the Continent at that time as amanuensis to Sir Humphry, was every month expecting to hear of its collapse. Until about 1833, when the two Fullerian Professorships were founded, it was continually in financial difficulties. The persistent and extraordinary efforts made by Faraday from 1826 to 1839, and the reputation of the place which accrued by his discoveries, were beyond all question its salvation from ruin. When it was founded it was located in two private houses in Albemarle Street, then regarded as quite out of town, if not almost suburban; the premises being altered and an entrance hall with staircase added. A little later the lecture-theatre, much as it still exists, was constructed. The exterior at first remained unchanged. The stucco pilasters of Grecian style, which give it its air of distinction, were not erected until 1838. The fine rooms of the Davy-Faraday laboratory at the south end were only added in 1896 by the liberality of Mr. Ludwig Mond. Besides the laboratories for research in physical chemistry, which have thus been associated with the older part of the Institution, additional rooms for the library have been provided in this munificent gift to science. The older laboratories of the Institution, though they retain some features from Rumford’s time, have been considerably remodelled. The old rooms where Davy, Young, Brande, Faraday, Frankland, and Tyndall conducted their researches are still37 in existence; but the chief laboratory was reconstructed in 1872 in Tyndall’s time; and it has been quite recently enlarged and reconstructed to accommodate the heavy machinery required in Professor Dewar’s researches on liquid air and the properties of bodies at low temperatures.

The spirit of the place may be summed up very briefly. It has existed for a century as the home of the highest kind of scientific research, and of the best and most specialised kind of scientific lectures. It was here that Davy first showed the electric arc lamp; that he astonished the world by decomposing potash and producing potassium; that he invented the safety lamp. It was here that Faraday worked and laboured for nearly fifty years. Here that Tyndall’s investigations on radiant heat and diamagnetism were carried on. Here that Brande, Frankland, Odling, Gladstone, and Dewar have handed on the torch of chemistry from the time of Davy. Professorships, of which the educational duties are restricted to a few lectures in the year, giving leisure and scope for research as the main duty, are not to be found anywhere else in the British Islands; those at colleges and universities being invariably hampered with educational and administrative duties.

ROYAL INSTITUTION LABORATORIES.

As for the lectures at the Royal Institution, they may be divided under three heads: the afternoon courses; the juvenile lectures at Christmas; the Friday night discourses. The afternoon lectures are thrice a week at three o’clock, and consist usually of short courses, from three lectures to as many as twelve, by eminent scientific and literary men. Invariably38 one of these courses during the season, either before or after Easter, is given by one of the regular Professors; the remaining lecturers are paid professional fees in proportion to the duration of their course. The Christmas lectures, always six in number, are given, sometimes by one of the Professors, sometimes by outside lecturers of scientific reputation. But the Friday night discourses, given at nine o’clock, during the season from January till June, are unique. No fee is paid to the lecturer, save a contribution toward expenses if applied for, and it is considered to be a distinct honour to be invited to give such a discourse. There is no scientific man of any original claim to distinction; no chemist, engineer, or electrician; no physiologist, geologist, or mineralogist, during the last fifty years, who has not been invited thus to give an account of his investigations. Occasionally a wider range is taken, and the eminent writer of books, dramatist, metaphysician, or musician has taken his place at the lecture-table. The Friday night gathering is always a brilliant one. From the salons of society, from the world of politics and diplomacy, as well as from the ranks of the learned professions and of the fine arts, men and women assemble to listen to the exposition of the latest discoveries or the newest advances in philosophy by the men who have made them. Every discourse must, so far as the subject admits, be illustrated in the best possible way by experiments, by diagrams, by the exhibition of specimens. Not infrequently, the person invited to give a Friday evening discourse at the Royal Institution will begin his preparations five or six months39 beforehand. At least one instance is known—the occasion being a discourse by the late Mr. Warren De la Rue—where the preparations were begun more than a year beforehand, and cost several hundreds of pounds. And this was to illustrate a research already made and completed, of which the bare scientific results had already been communicated in a memoir to the Royal Society. A mere enumeration of the eminent men who have thus given their time and labours to the Royal Institution would fill many pages. It is little cause for wonder then that the lecture-theatre at Albemarle Street is crowded week after week in the pursuit of science under conditions like these; or that every lecturer is spurred on by the spirit of the place to do his subject the utmost justice by the manner in which he handles it. There are no lectures so famous, in the best sense of the word so popular, certainly none sustained at so high a level, as the lectures of the Royal Institution.

THE FAMOUS LECTURES.

But it was not always thus. Davy’s brilliant but ill-balanced genius had drawn fashionable crowds to the morning lectures which he gave. Brande proved to be a much more humdrum lecturer; and though with young Faraday at his elbow he found his work of lecturing a task “on velvet,” he was not exactly an inspiring person. During Davy’s protracted tour abroad things had not altogether prospered, and his return was none too soon. Faraday threw himself whole-heartedly into the work of the Institution, not only helping as lecture assistant, but giving a hand also in the preparation of the Quarterly40 Journal of Science, which had been established as a kind of journal of proceedings.

But now Faraday was to take a quiet step forward. He appears at the City Philosophical Society in the character of lecturer. He gave seven lectures there, in 1816, on chemistry, the fourth of them being “On Radiant Matter.” Extracts are given from most of these lectures in Bence Jones’s “Life and Letters of Faraday”; they show all that love of accuracy, that philosophic suspense of judgment in matters of hypothesis, which in after years were so characteristic of the man.

He also kept a commonplace book filled with notes of scientific matters, with literary excerpts, anagrams, epitaphs, algebraic puzzles, varieties of spelling of his own name, and personal experiences, including a poetical diatribe against falling in love, together with the following more prosaic aphorism:—

What is Love?—A nuisance to everybody but the parties concerned. A private affair which every one but those concerned wishes to make public.

It also includes a piece in verse, by a member of the City Philosophical Society—a Mr. Dryden—called “Quarterly Night,” which is interesting as embalming a portrait of the youthful Faraday as he appeared to his comrades:—

Neat was the youth in dress, in person plain;
His eye read thus, Philosopher in grain;
Of understanding clear, reflection deep;
Expert to apprehend, and strong to keep.
His watchful mind no subject can elude,
Nor specious arts of sophists ere delude;
41
His powers, unshackled, range from pole to pole;
His mind from error free, from guilt his soul.
Warmth in his heart, good humour in his face,
A friend to mirth, but foe to vile grimace;
A temper candid, manners unassuming,
Always correct, yet always unpresuming.
Such was the youth, the chief of all the band;
His name well known, Sir Humphry’s right hand.

At this date there were no evening duties at the Royal Institution, but Faraday found his evenings well occupied, as he explains to Abbott when rallied about his having deserted his old friend. Monday and Thursday evenings he spent in self-improvement according to a regular plan. Wednesdays he gave to “the Society” (i.e. the City Philosophical). Saturdays he spent with his mother at Weymouth Street; leaving only Tuesdays and Fridays for his own business and friends.

CITY PHILOSOPHICAL SOCIETY.

And so the busy months pass, and he gives more lectures in the privacy of the City Society, one of them, “On some Observations on the Means of obtaining Knowledge,” attaining the dignity of print at the hands of Effingham Wilson, the enterprising City publisher, who a few years later printed Browning’s “Paracelsus” and Alfred Tennyson’s first volume, “Poems: Chiefly Lyrical.” By the time he has given nine lectures he has gained confidence. The discourses had all been written out beforehand, though never literally “read.” For the tenth lecture—on Carbon—he wrote notes only. This is in July, 1817, and in these notes he touches on a matter in which he had been very busily aiding Sir Humphry Davy, the invention of42 the safety lamp. Many of the early forms of experimental apparatus constructed, and some of the early lamps, are still preserved in the museum of the Royal Institution. Dr. Clanny had, in 1813, proposed an entirely closed lamp, supplied with air from the mine, through water, by bellows. After many experiments on explosive mixtures of gas and air, and on the properties of flame, Davy adopted an iron-wire gauze protector for his lamp, which was introduced into coal mining early in 1816. In Davy’s preface to his work describing it, he says: “I am myself indebted to Mr. Michael Faraday for much able assistance in the prosecution of my experiments.”

A RIFT WITHIN THE LUTE.

And well might Davy be grateful. With all his immense ability, he was a man almost destitute of the faculties of order and method. He had little self-control, and the fashionable dissipations which he permitted himself lessened that little. Faraday not only kept his experiments going, but made himself responsible for their records. He preserved every note and manuscript of Davy’s with religious care. He copied out Davy’s scrawled researches in a neat clear delicate handwriting, begging only for his pains to be allowed to keep the originals, which he bound in two quarto volumes. Faraday has been known to remark to an intimate friend that amongst his advantages he had had before him a model to teach him what he should avoid. But he was ever loyal to Davy, earnest in his praise, and frank in his acknowledgment of his debt to his master in science. Still there arose the little rift within the lute. The safety lamp, great as was the practical advantage it brought43 to the miner, is not safe in all circumstances. Davy did not like to admit this, and would never acknowledge it. Examined before a Parliamentary Committee as to whether under a certain condition the safety lamp would become unsafe, Faraday admitted that this was the case. Not even his devotion to his master would induce him to hide the truth. He was true to himself in making the acknowledgment, though it angered his master. One Friday evening at the Royal Institution—probably about 1826—there was exhibited an improved Davy lamp with a eulogistic inscription; Faraday added in pencil the words: “The opinion of the inventor.”

At this time he began to give private lessons in chemistry to a pupil to whom he had been recommended by Davy. His lectures at the City Society in Dorset Street were continued in 1818, and at the conclusion of those on chemistry he delivered one on “Mental Inertia,” which has been recorded at some length by Bence Jones.

In 1818 he attended a course of lessons on oratory by the elocutionist Mr. B. H. Smart, paying out of his slender resources half a guinea a lesson, so anxious was he to improve himself, even in his manner of lecturing. His notes on these lessons fill 133 manuscript pages.

His other notes now begin to partake less of the character of quotations and excerpts, and more of the nature of queries or problems for solution. Here are some examples:—

“Do the pith balls diverge by the disturbance of electricity in consequence of mutual induction or not?”

44

“Distil oxalate of ammonia. Query, results?”

“Query, the nature of the body Phillips burns in his spirit lamp?”

The Phillips here mentioned was the chemist Richard Phillips (afterwards President of the Chemical Society), one of his City friends, whose name so frequently occurs in the correspondence of Faraday’s middle life. Phillips busied himself to promote the material interests of his friend who—to use his own language—was “constantly engaged in observing the works of Nature, and tracing the manner in which she directs the arrangement and order of the world,” on the splendid salary of £100 per annum. The following note in a letter to Abbott, dated February 27, 1818, reveals new professional labours:—

I have been more than enough employed. We have been obliged even to put aside lectures at the Institution; and now I am so tired with a long attendance at Guildhall yesterday and to-day, being subpœnaed, with Sir H. Davy, Mr. Brande, Phillips, Aikin, and others, to give chemical information on a trial (which, however, did not come off), that I scarcely know what I say.

Shortly afterwards Davy again went abroad, but Faraday remained in England. From Rome Davy wrote a note, the concluding sentence of which shows how Faraday was advancing in his esteem:—

Rome: October, 1818.

Mr. Hatchett’s letter contained praises of you which were very gratifying to me; for, believe me, there is no one more interested in your success and welfare than your sincere well-wisher and friend,

H. Davy.

45

In the next year Davy wrote again, suggesting to Faraday that he might possibly be asked to come to Naples as a skilled chemist to assist in the unrolling of the Herculaneum manuscripts. In May he wrote again, from Florence:—

It gives me great pleasure to hear that you are comfortable at the Royal Institution, and I trust that you will not only do something good and honourable for yourself, but likewise for science.

I am, dear Mr. Faraday, always your sincere friend and well-wisher,

H. Davy.

The wish that Davy expressed that Faraday might “do something” for himself and likewise for science was destined soon to come to fulfilment. But in the case of one who had worked so closely and had been so intimately associated as an assistant, it must necessarily be no easy matter always to draw a distinction between the work of the master and that of the assistant. Ideas suggested by one might easily have occurred to the other, when their thoughts had so long been directed to the same ends. And so it proved.

BEGINS ORIGINAL RESEARCHES.

Reference to Chapter III. will show that already, beginning in 1816 with a simple analysis of caustic lime for Sir Humphry Davy, Faraday had become an active worker in the domain of original research. The fascination of the quest of the unknown was already upon him. While working with and for Davy on the properties of flame and its non-transmission through iron gauze, in the investigation of the safety lamp, other problems of a kindred nature had arisen. One46 of these, relating to the flow of gases through capillary tubes, Faraday had attacked by himself in 1817. The subject formed one of the six original papers which he published that year. In the next two years he contributed in all no fewer than thirty-seven papers or notes to the Quarterly Journal of Science. In 1819 began a long research on steel which lasted over the year 1820. He had already given evidence of that dislike of half-truths, that aversion for “doubtful knowledge” which marked him so strongly. He had exposed, with quiet but unsparing success, the emptiness of the claim made by an Austrian chemist to have discovered a new metal, “Sirium,” by the simple device of analysing out from the mass all the constituents of known sorts, leaving behind—nothing.

HE FALLS IN LOVE.

And now, Faraday being twenty-nine years of age, a new and all-important episode in his life occurred. Amongst the members of the little congregation which met on Sundays at Paul’s Alley, Red Cross Street, was a Mr. Barnard, a working silversmith of Paternoster Row, an elder in the Sandemanian body. He had two sons, Edward Barnard, a friend of Faraday’s, and George, who became a well-known water-colour artist; and three daughters; one who was already at this time married; Sarah, now twenty-one years of age; and Jane, who was still younger. Edward had seen in Faraday’s note-book those boyish tirades against falling in love, and had told his sister Sarah of them. Nevertheless, in spite of all such misogynistic fancies, Faraday woke up one day to find that the large-eyed, clear-browed girl had grown to a place in his heart that he had thought barred47 against the assaults of love. She asked him on one occasion to show her the rhymes against love in his note-book. In reply he sent her the hitherto unpublished poem:—

R. I.
Oct. 11th, 1819.

You ask’d me last night for the lines which I penn’d,
When, exulting in ignorance, tempted by pride,
I dared torpid hearts and cold breasts to commend,
And affection’s kind pow’r and soft joys to deride.
If you urge it I cannot refuse your request:
Though to grant it will punish severely my crime:
But my fault I repent, and my errors detest;
And I hoped to have shown my conversion in time.
Remember, our laws in their mercy decide
That no culprit be forced to give proof of his deed:
They protect him though fall’n, his failings they hide,
And enable the wretch from his crimes to receed (sic).
The principle’s noble! I need not urge long
Its adoption; then turn from a judge to a friend.
Do not ask for the proof that I once acted wrong,
But direct me and guide me the way to amend.

M. F.

What other previous passages between them are hinted at in the letter which he sent her, is unknown; but on July 5, 1820, he wrote:—

Royal Institution.

You know me as well or better than I do myself. You know my former prejudices, and my present thoughts—you know my weaknesses, my vanity, my whole mind; you have converted me from one erroneous way, let me hope you will attempt to correct what others are wrong.

* * * * *

Again and again I attempt to say what I feel, but I cannot.48 Let me, however, claim not to be the selfish being that wishes to bend your affections for his own sake only. In whatever way I can best minister to your happiness either by assiduity or by absence, it shall be done. Do not injure me by withdrawing your friendship, or punish me for aiming to be more than a friend by making me less; and if you cannot grant me more, leave me what I possess, but hear me.

Sarah Barnard showed the letter to her father. She was young, and feared to accept her lover. All her father would say by way of counsel was that love made philosophers say many foolish things. The intensity of Faraday’s passion proved for the time a bar to his advance. Fearing lest she should be unable to return it with equal force, Miss Barnard shrank from replying. To postpone an immediate decision, she went away with her sister, Mrs. Reid, to Ramsgate. Faraday followed to press his suit, and after several happy days in her company, varied with country walks and a run over to Dover, he was able to say: “Not a moment’s alloy of this evening’s happiness occurred. Everything was delightful to the last moment of my stay with my companion, because she was so.”

Of the many letters that Faraday wrote to his future wife a number have been preserved. They are manly, simple, full of quiet affection, but absolutely free from gush or forced sentiment of any kind. Extracts from several of them are printed by Bence Jones. One of these, written early in 1821, runs as follows:—

I tied up the enclosed key with my books last night, and make haste to return it lest its absence should occasion49 confusion. If it has, it will perhaps remind you of the disorder I must be in here also for the want of a key—I mean the one to my heart. However, I know where my key is, and hope soon to have it here, and then the Institution will be all right again. Let no one oppose my gaining possession of it when unavoidable obstacles are removed.

Ever, my dear girl, one who is perfectly yours,
M. Faraday.

Faraday obtained leave of the managers to bring his wife to live in his rooms at the Institution; and in May, 1821, his position was changed from that of lecture assistant to that of superintendent of the house and laboratory. In these changes Sir Humphry Davy gave him willing assistance. But his salary remained £100 a year.

Obstacles being now removed, Faraday and Miss Barnard were married on June 12. Few persons were asked to the wedding, for Faraday wished it to be “just like any other day.” “There will,” he wrote, “be no bustle, no noise, no hurry ... it is in the heart that we expect and look for pleasure.”

A HAPPY MARRIAGE.

His marriage, though childless, was extremely happy. Mrs. Faraday proved to be exactly the true helpmeet for his need; and he loved her to the end of his life with a chivalrous devotion which has become almost a proverb. Little indications of his attachment crop up in unexpected places in his subsequent career; but as with his religious views so with his domestic affairs, he never obtruded them upon others, nor yet shrank from mentioning them when there was cause. Tyndall, in after years, made the intensity of Faraday’s attachment to his wife the50 subject of a striking simile: “Never, I believe, existed a manlier, purer, steadier love. Like a burning diamond, it continued to shed, for six and forty years, its white and smokeless glow.”

In his diploma-book, now in possession of the Royal Society, in which he carefully preserved all the certificates, awards, and honours bestowed upon him by academies and universities, there may be found on a slip inserted in the volume this entry:—

25th January, 1847.

Amongst these records and events, I here insert the date of one which, as a source of honour and happiness, far exceeds the rest. We were married on June 12, 1821.

M. Faraday.

And two years later, in the autobiographical notes he wrote:—

On June 12, 1821, he married—an event which more than any other contributed to his earthly happiness and healthful state of mind. The union has continued for twenty-eight years, and has nowise changed, except in the depth and strength of its character.

When near the close of his life, he presented to the Royal Institution the bookcase with the volumes of notes of Davy’s lectures and of books bound by himself, the inscription recorded that they were the gift of “Michael and Sarah Faraday.”

Every Saturday evening he used to take his wife to her father’s house at Paternoster Row, so that on Sunday they should be nearer to the chapel at Paul’s Alley. And in after years, when he was away on scientific work, visiting lighthouses, or attending51 meetings of the British Association, he always tried to return for the Sunday.

A letter from Liebig in 1844 (see p. 225) gives one of the very few glimpses of contemporary date of the impression made by Mrs. Faraday upon others.

One month after his marriage Faraday made his profession of faith before the Sandemanian church, to which his wife already belonged, and was admitted a member. To his religious views, and his relations to the body he thus formally joined, reference will be found later.

FIRST ELECTRICAL DISCOVERY.

Faraday now settled down to a routine life of scientific work. His professional reputation was rising, and his services as analyst were being sought after. But in the midst of this he was pursuing investigations on his own account. In the late summer of this year he made the discovery of the electro-magnetic rotations described in Chapter III.—his first important piece of original research—and had in consequence a serious misunderstanding with Dr. Wollaston. On September 3rd, working with George Barnard in the laboratory, he saw the electric wire for the first time revolve around the pole of the magnet. Rubbing his hands as he danced around the table with beaming face, he exclaimed: “There they go! there they go! we have succeeded at last.” Then he gleefully proposed that they should wind up the day by going to one of the theatres. Which should it be? “Oh, to Astley’s, to see the horses.” And to Astley’s they went. On Christmas Day he called his young wife to see something new: an electric conducting-wire revolving under the influence of the52 magnetism of the earth alone. He also read two chemical papers at the Royal Society, announcing new discoveries; one of them in conjunction with his friend Phillips. In July, 1822, he took his wife and her mother to Ramsgate, whilst he went off with Phillips to Swansea to try a new process in Vivian’s copper works. During this enforced parting, Faraday wrote his wife three letters from which the following are extracts:—-

“A MERE LOVE-LETTER.”

(July 21, 1822).

I perceive that if I give way to my thoughts, I shall write you a mere love-letter, just as usual, with not a particle of news in it: to prevent which I will constrain myself to a narrative of what has happened since I left you up to the present time, and then indulge my affection.

Yesterday was a day of events—little, but pleasant. I went in the morning to the Institution, and in the course of the day analysed the water, and sent an account of it to Mr. Hatchett. Mr. Fisher I did not see. Mr. Lawrence called in, and behaved with his usual generosity. He had called in the early part of the week, and, finding that I should be at the Institution on Saturday only, came up, as I have already said, and insisted on my accepting two ten-pound bank-notes for the information he professed to have obtained from me at various times. Is not this handsome? The money, as you know, could not have been at any time more acceptable; and I cannot see any reason, my dear love, why you and I should not regard it as another proof, among many, that our trust should without a moment’s reserve be freely reposed on Him who provideth all things for His people. Have we not many times been reproached, by such mercies as these, for our caring after food and raiment and the things of this world? On coming home in the evening, i.e., coming to Paternoster Row home, I learned that Mr. Phillips had seen C., and had told her we should not leave London until Monday evening.53 So I shall have to-morrow to get things ready in, and I shall have enough to do. I fancy we are going to a large mansion and into high company, so I must take more clothes. Having the £20, I am become bold....

And now, how do my dear wife and mother do? Are you comfortable? are you happy? are the lodgings convenient, and Mrs. O. obliging? Has the place done you good? Is the weather fine? Tell me all things as soon as you can. I think if you write directly you get this it will be best, but let it be a long letter. I do not know when I wished so much for a long letter as I do from you now. You will get this on Tuesday, and any letter from you to me cannot reach Swansea before Thursday or Friday—a sad long time to wait. Direct to me, Post Office, Swansea; or perhaps better, to me at — Vivian Esq., Marino, near Swansea, South Wales....

And now, my dear girl, I must set business aside. I am tired of the dull detail of things, and want to talk of love to you; and surely there can be no circumstances under which I can have more right. The theme was a cheerful and delightful one before we were married, but it is doubly so now. I now can speak, not of my own heart only, but of both our hearts. I now speak, not with any doubt of the state of your thoughts, but with the fullest conviction that they answer to my own. All that I can now say warm and animated to you, I know that you would say to me again. The excess of pleasure which I feel in knowing you mine is doubled by the consciousness that you feel equal joy in knowing me yours.

FROM HUSBAND TO WIFE.

Marino: Sunday, July 28, 1822.

My Dearly Beloved Wife,—I have just read your letter again, preparatory to my writing to you, that my thoughts might be still more elevated and quickened than before. I could almost rejoice at my absence from you, if it were only that it has produced such an earnest and warm mark of affection from you as that letter. Tears of joy and delight fell from my eyes on its perusal. I think it was last Sunday evening, about this time, that I wrote to you from London; and I again resort to this affectionate conversation with you,54 to tell you what has happened since the letter which I got franked from this place to you on Thursday I believe.

* * * * *

We have been working very hard here at the copper works, and with some success. Our days have gone on just as before. A walk before breakfast; then breakfast; then to the works till four or five o’clock, and then home to dress, and dinner. After dinner, tea and conversation. I have felt doubly at a loss to-day, being absent from both the meeting and you. When away from London before, I have had you with me, and we could read and talk and walk; to-day I have had no one to fill your place, so I will tell you how I have done. There are so many here, and their dinner so late and long, that I made up my mind to avoid it, though, if possible, without appearing singular. So, having remained in my room till breakfast time, we all breakfasted together, and soon after Mr. Phillips and myself took a walk out to the Mumbles Point, at the extremity of this side of the bay. There we sat down to admire the beautiful scenery around us, and, after we had viewed it long enough, returned slowly home. We stopped at a little village in our way, called Oystermouth, and dined at a small, neat, homely house about one o’clock. We then came back to Marino, and after a little while again went out—Mr. Phillips to a relation in the town, and myself for a walk on the sands and the edge of the bay. I took tea in a little cottage, and, returning home about seven o’clock, found them engaged at dinner, so came up to my own room, and shall not see them again to-night. I went down for a light just now, and heard them playing some sacred music in the drawing-room; they have all been to church to-day, and are what are called regular people.

The trial at Hereford is put off for the present, but yet we shall not be able to be in town before the end of this week. Though I long to see you, I do not know when it will be; but this I know, that I am getting daily more anxious about you. Mr. Phillips wrote home to Mrs. Phillips from here even before I did—i.e. last Wednesday. This morning he received a letter55 from Mrs. Phillips (who is very well) desiring him to ask me for a copy of one of my letters to you, that he may learn to write love-letters of sufficient length. He laughs at the scolding, and says that it does not hurt at a distance....

It seems to me so long since I left you that there must have been time for a great many things to have happened. I expect to see you with such joy when I come home that I shall hardly know what to do with myself. I hope you will be well and blooming, and animated and happy, when you see me. I do not know how we shall contrive to get away from here. We certainly shall not have concluded before Thursday evening, but I think we shall endeavour earnestly to leave this place on Friday night, in which case we shall get home late on Saturday night. If we cannot do that, as I should not like to be travelling all day on Sunday, we shall probably not leave until Sunday night; but I think the first plan will be adopted, and that you will not have time to answer this letter. I expect, nevertheless, an answer to my last letter—i.e. I expect that my dear wife will think of me again. Expect here means nothing more than I trust and have a full confidence that it will be so. My kind girl is so affectionate that she would not think a dozen letters too much for me if there were time to send them, which I am glad there is not.

Give my love to our mothers as earnestly as you would your own, and also to Charlotte or John, or any such one that you may have with you. I have not written to Paternoster Row yet, but I am going to write now, so that I may be permitted to finish this letter here. I do not feel quite sure, indeed, that the permission to leave off is not as necessary from my own heart as from yours.

With the utmost affection—with perhaps too much—I am, my dear wife, my Sarah, your devoted husband,

M. Faraday.

Faraday’s next scientific success was the liquefaction of chlorine (see Chapter III., p. 93). This discovery, which created much interest in the scientific56 world, was the occasion of a serious trouble with Sir Humphry Davy; for doubtless Davy was annoyed that he had left such a simple experiment to a mere assistant. Writing on the matter years after, Faraday said:—

When my paper was written, it was, according to a custom consequent upon our relative positions, submitted to Sir H. Davy (as were all my papers for the “Philosophical Transactions” up to a much later period), and he altered it as he thought fit. This practice was one of great kindness to me, for various grammatical mistakes and awkward expressions were from time to time thus removed, which might else have remained.

In point of fact, Davy on this occasion added a note (which was duly printed) saying precisely how far he had any share in suggesting the experiment, but in no wise traversing any of Faraday’s claims. Although he thus acted generously to the latter, there can be no question that he began to be seriously jealous of Faraday’s rising fame. The matter was the more serious because some who did not have a nice appreciation of the circumstances chose to rake up a charge which had been raised two years before against Faraday by some of Dr. Wollaston’s friends—in particular by Dr. Warburton—about the discovery of the electro-magnetic rotations, a charge which Faraday’s straightforward action and Wollaston’s frank satisfaction ought to have dissipated for ever. And all this was doubly aggravating because Faraday was now expecting to be proposed as a candidate for the Fellowship of the Royal Society, of which Sir Humphry was President.

57

PROPOSED FOR THE FELLOWSHIP.

At that time, as now, the proposal paper or “certificate” of a candidate for election must be presented, signed by a number of influential Fellows. Faraday’s friend Phillips took in hand the pleasant task of drawing up this certificate and of collecting the necessary signatures. The rule then was that the certificate so presented must be read out at ten successive meetings of the Society; after which a ballot took place. Faraday’s certificate bears twenty-nine names. The very first is that of Wollaston, and it is followed by those of Children, Babington, Sir John Herschel, Babbage, Phillips, Roget, and Sir James South.

On the 5th of May, 1823, Faraday wrote to Phillips:—

A thousand thanks to you for your kindness—I am delighted with the names—Mr. Brande had told me of it before I got your note and thought it impossible to be better. I suppose you will not be in Grosvenor Street this Evening, so I will put this in the post.

Our Best remembrances to Mrs. Phillips.

Yours Ever,
M. Faraday.

The certificate was read for the first time on May 1st. The absence of the names of Davy and Brande is accounted for by the one being President and the other Secretary. Bence Jones gives the following account of what followed:—

That Sir H. Davy actively opposed Faraday’s election is no less certain than it is sad.

Many years ago, Faraday gave a friend the following facts,58 which were written down immediately:—“Sir H. Davy told me I must take down my certificate. I replied that I had not put it up; that I could not take it down, as it was put up by my proposers. He then said I must get my proposers to take it down. I answered that I knew they would not do so. Then he said, I as President will take it down. I replied that I was sure Sir H. Davy would do what he thought was for the good of the Royal Society.”

Faraday also said that one of his proposers told him that Sir H. Davy had walked for an hour round the courtyard of Somerset House, arguing that Faraday ought not to be elected. This was probably about May 30.

Faraday also made the following notes on the circumstance of the charge made by Wollaston’s friends:—

1823. In relation to Davy’s opposition to my election at the Royal Society.

Sir H. Davy angry, May 30.

Phillips’ report through Mr. Children, June 5.

Mr. Warburton called first time, June 5 (evening).

I called on Dr. Wollaston, and he not in town, June 9.

I called on Dr. Wollaston, and saw him, June 14.

I called at Sir H. Davy’s, and he called on me, June 17.

On July 8 Dr. Warburton wrote that he was satisfied with Faraday’s explanation, and added that he would tell his friends that “my objections to you as a Fellow are and ought to be withdrawn, and that I now wish to forward your election.”

Bence Jones adds:—

On June 29, Sir H. Davy ends a note, “I am, dear Faraday, very sincerely your well wisher and friend.” So that outwardly the storm rapidly passed away; and when the ballot was taken, after the certificate had been read at ten meetings, there was only one black ball.

59

FELLOWSHIP AND MAGNANIMITY.

The election took place January 8, 1824.

Of this unfortunate misunderstanding,11 Davy’s biographer, Dr. Thorpe, writes:—

The jealousy thus manifested by Davy is one of the most pitiful facts in his history. It was a sign of that moral weakness which was at the bottom of much of his unpopularity, and which revealed itself in various ways as his physical strength decayed....

Faraday allowed himself in after days no shade of resentment against Davy; though he confessed rather sadly that after his election as F.R.S. his relations with his former master were never the same as before. If anyone recurred to the old scandal, he would fire with indignation. Dumas in his “Éloge Historique” has given the following anecdote:—

Faraday never forgot what he owed to Davy. Visiting him at the family lunch, twenty years after the death of the latter, he noticed evidently that I responded with some coolness to the praises which the recollection of Davy’s great discoveries had evoked from him. He made no comment. But, after the meal, he simply took me down to the library of the Royal Institution, and stopping before the portrait of Davy he said: “He was a great man, wasn’t he?” Then, turning round, he added, “It was here12 that he spoke to me for the first time.” I bowed. We went down to the laboratory. Faraday took60 out a note-book, opened it and pointed out with his finger the words written by Davy, at the very moment when by means of the battery he had just decomposed potash, and had seen the first globule of potassium ever isolated by the hand of man. Davy had traced with a feverish hand a circle which separates them from the rest of the page: the words, “Capital Experiment,” which he wrote below, cannot be read without emotion by any true chemist. I confessed myself conquered, and this time, without hesitating longer, I joined in the admiration of my good friend.

Dr. Thorpe in his life of Davy adds:—

... To the end of his days he [Faraday] regarded Davy as his true master, preserving to the last, in spite of his knowledge of the moral frailties of Davy’s nature, the respect and even reverence which is to be seen in his early lecture notes and in his letters to his friend Abbott.

In 1823 the Athenæum Club was started by J. Wilson Croker, Sir H. Davy, Sir T. Lawrence, Sir F. Chantrey, and others, as a resort for literary and scientific men. Faraday was made Club Secretary; but he found the duties totally uncongenial, and in 1824 resigned the post to his friend Magrath.

Faraday was advanced in 1825 to the position of Director of the Laboratory of the Royal Institution, Brande remaining Professor of Chemistry. One of the first acts of the new Director was to hold evening meetings of the members in the laboratory, when experiments were shown and some demonstration was given. There were three or four of these informal gatherings that year. In the next year these Friday evening meetings were held more systematically. There were seventeen during the season, at six of61 which Faraday gave discourses (see p. 100). In 1827 there were nineteen, of which he delivered three. By this time the gatherings were held in the theatre as at present, save that ladies were only admitted at that date, and for many years, to the upper gallery. He also originated the Christmas lectures to juveniles, while continuing to give regular courses of morning lectures, as his predecessors Young and Davy had done. His activity for the Royal Institution was incessant.

FEES FOR PROFESSIONAL WORK.

Down to the year 1830 Faraday continued to undertake, at professional fees, chemical analyses and expert work in the law-courts, and thereby added considerably to the very slender emolument of his position; but, finding this work to make increasing demands on his time, which he could ill spare from the absorbing pursuit of original researches, he decided to abandon a practice which would have made him rich, and withdrew from expert practice. The following letter to Phillips was written only a few weeks before this determination:—

[M. Faraday to Richard Phillips.]

Royal Institution,
June 21, 1831.

My dear Phillips,—I have been trying hard to get time enough to write to you by post to-night, but without success; the bell has rung, and I am too late. However, I am resolved to be ready to-morrow. We have been very anxious and rather embarrassed in our minds about your anxiety to know how things were proceeding, and uncertain whether reference to them would be pleasant, and that has been the cause why I62 have not written to you, for I did not know what character your connexion with Badams had. I was a little the more embarrassed because of my acquaintance with Mr. Rickard and his family, and, of course with his brother-in-law, Dr. Urchell, of whom I have made numerous enquiries to know what Mr. Rickard intended doing at Birmingham. He (expressed a) hope it would be nothing unpleasant to you, but was not sure. Our only bit of comfort in the matter was on hearing from Daniell about you a little; he was here to-day, and glad to hear of you through me. But now that I may write, let me say that Mrs. Faraday has been very anxious with myself, and begs me earnestly to remember her to Mrs. Phillips. We have often wished we could have had you here for an hour or two, to break off what we supposed might be the train of thoughts at home.

With regard to the five guineas, do not think of it for a moment. Whilst I supposed a mercantile concern wanted my opinion for its own interested uses, I saw no reason why it should not pay me; but it is altogether another matter when it becomes your affair. I do not think you would have wished me to pay you five guineas for anything you might have done personally for me. “Dog don’t eat dog,” as Sir E. Home said to me in a similar case. The affair is settled.

I have no doubt I shall be amused and, as you speak of new facts, instructed by your letter to Dr. Reid, as I am by all your letters. Daniell says he thinks you are breaking a fly upon the wheel. You know I consider you as the Prince of Chemical critics.

Pearsall has been working, as you know, on red manganese solutions. He has not proved, but he makes out a strong case for the opinion, that they owe their colour and other properties to manganesic acid. This paper will be in the next number of the Journal.

With regard to the gramme, wine-pint, etc., etc., in the manipulation I had great trouble about them, for I could find no agreement, and at last resolved to take certain conclusions from Capt. Kater’s paper and the Act of Parliament, and calculate the rest. I think I took the data at page 67,63 paragraph 119, as the data, but am not sure, and cannot go over them again.

My memory gets worse and worse daily. I will not, therefore, say I have not received your Pharmacopœia—that of 1824 is what I have at hand and use. I am not aware of any other. I have sent a paper to the R. S., but not chemical. It is on sound, etc., etc. If they print it, of course you will have a copy in due time.

I am, my dear Phillips,
Most faithfully and sincerely yours,
M. Faraday.

Is it right to ask what has become of Badams? I suppose he is, of course, a defaulter at the R. S.

SACRIFICES FOR SCIENCE.

This sacrifice for science was not small. He had made £1,000 in 1830 out of these professional occupations, and in 1831 would have made more but for his own decision. In 1832 some Excise work that he had retained brought him in £155 9s.; but in no subsequent year did it bring in so much. He might easily have made £5,000 a year had he chosen to cultivate the professional connection thus formed; and as he continued, with little intermission, in activity till 1860, he might have died a wealthy man. But he chose otherwise; and his first reward came in the autumn of 1831, in the great discovery of magneto-electric currents—the principle upon which all our modern dynamos and transformers are based, the foundation of all the electric lighting and electric transmission of power. From this work he went on to a research on the identity of all the kinds of electricity, until then supposed to be of separate sorts, and from this to electro-chemical work of the very64 highest value. Of all these investigations some account will be found in the chapters which follow.

But the immense body of patient scientific work thus done for the love of science was not accomplished without sacrifices of a more than pecuniary kind. He withdrew more and more from society, declined to dine in company, ceased to give dinners, withdrew from all social and philanthropic organisations; even withdrew from taking any part in the management of any of the learned societies. The British Association for the Advancement of Science was started in 1831. Faraday took no part in that movement, and did not attend the inaugural meeting at York. The next year, however, he attended the second meeting of that body at Oxford. Here he “had the pleasure”—it is his own phrase—of making an experiment on the great magnet in the University museum, drawing a spark by induction in a coil of wire. This was a coil 220 feet long, wound on a hollow cylinder of pasteboard, which had been used in the classical experiments of the preceding year. He also showed that the induced currents could heat a thin wire connected to the terminals of this coil. These experiments, which were made in conjunction with Mr. (afterwards Sir William Snow) Harris, Professor Daniell, and Mr. Duncan, seem to have excited great attention at the time. The theologians of Oxford appear to have been mightily distressed both by the success of the spark experiment and by the welcome shown by the University to the representatives of science. The following passage from Pusey’s65 life13 reveals the rampant clericalism which then and for a score of years sought to put back the clock of civilisation.

During the Long Vacation of 1832 Pusey had plenty of work on hand. The British Association had held its first meeting in Oxford during the month of June, and on the 21st the honorary degree of D.C.L. was bestowed on four of its distinguished members: Brewster, Faraday, Brown, and Dalton. Keble, who was now Professor of Poetry, was angry at the “temper and tone of the Oxford doctors”; they had “truckled sadly to the spirit of the times” in receiving “the hodge-podge of philosophers” as they did. Dr. L. Carpenter had assured Dr. Macbride that “the University had prolonged her existence for a hundred years by the kind reception he and his fellows had received.”

THE HODGE-PODGE OF PHILOSOPHERS.

It is not without significance, perhaps, that all the four men thus contemptuously labelled by Keble as the “hodge-podge of philosophers” were Dissenters. Brewster and Brown (the great botanist and discoverer of the “Brownian” motion of particles) belonged to the Presbyterian Church of Scotland, Dalton was a Member of the Society of Friends, and Faraday a Sandemanian. Newman appears to have been equally discomposed by the circumstance, for he got his friend Mr. Rose to write an article—a long and weary diatribe—against the British Association, which he inserted in the British Critic for 1839. Its slanders, assumptions, suppressions, and suggestions are in a very unworthy temper.

Faraday’s devotion to the Royal Institution and its operations was marvellous. He had already66 abandoned outside professional work. From 1838 he refused to see any callers except three times a week. His extreme desire was to give himself uninterruptedly to research. His friend A. de la Rive says:—

Every morning Faraday went into his laboratory as the man of business goes to his office, and then tried by experiment the truth of the ideas which he had conceived overnight, as ready to give them up if experiment said no as to follow out the consequences with rigorous logic if experiment answered yes.

He had in 1827 declined the appointment of Professor of Chemistry in the University (afterwards called University College) of London, giving as his reason the interests of the Royal Institution. He wrote:—

I think it a matter of duty and gratitude on my part to do what I can for the good of the Royal Institution in the present attempt to establish it firmly. The Institution has been a source of knowledge and pleasure to me for the last fourteen years; and though it does not pay me in salary what I now strive to do for it, yet I possess the kind feelings and goodwill of its authorities and members, and all the privileges it can grant or I require; and, moreover, I remember the protection it has afforded me during the past years of my scientific life. These circumstances, with the thorough conviction that it is a useful and valuable establishment, and the strong hopes that exertions will be followed with success, have decided me in giving at least two years more to it, in the belief that after that time it will proceed well, into whatever hands it may pass.

In 1829, however, he was asked to become lecturer on chemistry at the Royal Academy at Woolwich. As this involved only twenty lectures a year he agreed,67 the salary being fixed at £200 a year. These lectures were continued until 1849.

TRINITY HOUSE APPOINTMENT.

In 1836 the whole course of his scientific work was changed by his appointment as scientific adviser to Trinity House, the body which has official charge of the lighthouse service in Great Britain. To the Deputy-master he wrote:—

I consider your letter to me as a great compliment, and should view the appointment at the Trinity House, which you propose, in the same light; but I may not accept even honours without due consideration.

In the first place, my time is of great value to me; and if the appointment you speak of involved anything like periodical routine attendances, I do not think I could accept it. But if it meant that in consultation, in the examination of proposed plans and experiments, in trials, etc., made as my convenience would allow, and with an honest sense of a duty to be performed, then I think it would consist with my present engagements. You have left the title and the sum in pencil. These I look at mainly as regards the character of the appointment; you will believe me to be sincere in this when you remember my indifference to your proposition as a matter of interest, though not as a matter of kindness.

In consequence of the goodwill and confidence of all around me, I can at any moment convert my time into money, but I do not require more of the latter than is sufficient for necessary purposes. The sum, therefore, of £200 is quite enough in itself, but not if it is to be the indicator of the character of the appointment; but I think you do not view it so, and that you and I understand each other in that respect; and your letter confirms me in that opinion. The position which I presume you would wish me to hold is analogous to that of a standing counsel.

As to the title, it might be what you pleased almost. Chemical adviser is too narrow, for you would find me venturing into parts of the philosophy of light not chemical.68 Scientific adviser you may think too broad (or in me too presumptuous); and so it would be, if by it was understood all science.

He held the post of scientific adviser for nearly thirty years. The records of his work are to be found in nineteen large portfolios full of manuscripts, all indexed with that minute and scrupulous attention to order and method which characterised all his work.

He also held nominally the post of scientific adviser to the Admiralty, at a salary of £200 a year. But this salary he never drew. Once the officials of the Admiralty requested his opinion upon a printed advertising pamphlet of somebody’s patent disinfecting powder and anti-miasma lamp. Faraday returned it, with a quietly indignant protest that it was not such a document as he could be expected to give an opinion upon.

Faraday’s hope, expressed in 1827, that in two years the Royal Institution might be restored to a financially sound position, was not realised. He worked with the most scrupulous economy, noting down every detail of expenditure even in farthings. “We were living on the parings of our own skin,” he once told the managers. In 1832 the financial question became acute. At the end of that year a committee of investigation reported as follows:—

The Committee are certainly of opinion that no reduction can be made in Mr. Faraday’s salary—£100 per annum, house, coals, and candles; and beg to express their regret that the circumstances of the Institution are not such as to justify their proposing such an increase of it as the variety of duties69 which Mr. Faraday has to perform, and the zeal and ability with which he performs them, appear to merit.

A HUNDRED A YEAR, AND TWO ROOMS.

A hundred a year, the use of two rooms, and coals! Such was the stipend of the man who had just before been made D.C.L. of Oxford, and had received from the Royal Society the highest award it can bestow—the Copley Medal! True, he made £200 by the Woolwich lectures; but he had a wife to maintain, his aged mother was entirely dependent upon him, and there were many calls upon his private exercise of charity.

About the year 1835 it was the intention of Sir Robert Peel to confer upon him a pension from the Civil List, but he went out of office before this could be arranged, and Lord Melbourne became Prime Minister. Sir James South had in March written to Lord Ashley, afterwards the well-known Earl of Shaftesbury, asking him to place a little historiette of Faraday in Sir Robert Peel’s hands. The said historiette14 contained an account of Faraday’s early career and a description of the electrical machine which he had constructed as a lad. “Now that his pecuniary circumstances,” it went on, “were improved, he sent his younger sister to boarding-school, but to enable him to defray the expense, to deprive himself of dinner every other day was absolutely indispensable.” Peel expressed to Ashley lively regret at not having received the historiette earlier when he was still in office. To Ashley, later, he wrote the following hitherto unpublished letter:—

70

Drayton Manor,
May 3, 1835.

My Dear Ashley,—You do me but justice in entertaining the belief that had I remained in office one of my earliest recommendations to his Majesty would have been to grant a pension to Mr. Faraday, on the same principles precisely upon which one was granted to Mr. Airy. If there had been the means, I would have made the offer before I left office.

I was quite aware of Mr. Faraday’s high eminence as a man of science, and the valuable practical service he has rendered to the public in that capacity; but I was to blame in not having ascertained whether his pecuniary circumstances made an addition to his income an object to him.

I am sure no man living has a better claim to such a consideration from the State than he has, and I trust the principle I acted on with regard to the award of civil pensions will not only remove away impediments of delicacy and independent feeling from the acceptance of them, but will add a higher value to the grant of a pension as an honourable distinction than any that it could derive from its pecuniary amount.

Ever, my dear Ashley,
Most faithfully yours,
Robert Peel.

LORD MELBOURNE’S PARTICIPLE.

Sir James South still endeavoured to bring about the grant thus deferred, and wrote to the Hon. Caroline Fox, asking her to put the historiette of Faraday in the hands of Lord Holland, for him to lay before Melbourne. Faraday at first demurred to Sir James South’s action, but on the advice of his father-in-law, Barnard, withdrew his demurrer. Later in the year he was asked to wait on Lord Melbourne at the Treasury. He has left a diary of the events of the day, October 26th. According to these notes it71 appears that Faraday first had a long talk with Melbourne’s secretary, Mr. Young, about his first demurring on religious grounds to accept the pension, about his objection to savings’ banks, and the laying-up of wealth. Later in the day he had a short interview with the First Lord of the Treasury, when Lord Melbourne, utterly mistaking the nature of the man before him, inveighed roundly upon the whole system of giving pensions to scientific and literary persons, which he described as a piece of humbug. He prefixed the word “humbug” with a participle which Faraday’s notes describe as “theological.” Faraday, with an instant flash of indignation, bowed and withdrew. The same evening he left his card and the following note at the Treasury:—

To the Right Hon. Lord Viscount Melbourne, First Lord of the Treasury.

October 26.

My Lord,—The conversation with which your Lordship honoured me this afternoon, including, as it did, your Lordship’s opinion of the general character of the pensions given of late to scientific persons, induces me respectfully to decline the favour which I believe your Lordship intends for me; for I feel that I could not, with satisfaction to myself, accept at your Lordship’s hands that which, though it has the form of approbation, is of the character which your Lordship so pithily applied to it.

Faraday’s diary says:—

Did not like it much, and, on the whole, regret that friends should have placed me in the situation in which I found myself. Lord Melbourne said that “he thought there had been a great deal of humbug in the whole affair. He did not72 mean my affair, of course, but that of the pensions altogether.”... I begged him to understand that I had known nothing of the matter until far advanced, and, though grateful to those friends who had urged it forward, wished him to feel at perfect liberty in the affair as far as I was concerned.... In the evening I wrote and left a letter. I left it myself at ten o’clock at night, being anxious that Lord Melbourne should have it before anything further was done in the affair.

MICHAEL’S PENSION.

However, the matter did not end here. Faraday’s friends were indignant. A caustic, and probably exaggerated, account—for which Faraday disclaimed all responsibility—of the interview appeared in Fraser’s Magazine, and was copied into The Times of November 28th, with the result that, had it not been for the personal intervention of the King, the pension might have been refused. The storm, however, passed away, and the pension of £300 per annum was granted on December 24th. Years afterwards, writing to Mr. B. Bell, Faraday said, “Lord Melbourne behaved very handsomely in the matter.”

In Fraser’s Magazine for February, 1836 (vol. xiii., p. 224), is a portrait of Faraday by Maclise, accompanied by a very amusing biographical notice by Dr. Maginn. The picture represents Faraday lecturing, and surrounded by his apparatus. The article begins thus:—

Here you have him in his glory—not that his position was inglorious when he stood before Melbourne, then decorated with a blue velvet travelling cap, and lounging with one leg over the chair of Canning!—and distinctly gave that illustrious despiser of “humbug” to understand that he had mistaken his lad. No! but here you have him as he first73 flashed upon the intelligence of mankind the condensation of the gases, or the identity of the five electricities.

After a lively summary of his career, and the jocular suggestion that, as the successor of Sir Humphry Davy, Far-a-day must be near-a-knight the article continues:—

The future Baronet is a very good little fellow ... playing a fair fork over a leg of mutton, and devoid of any reluctance to partake an old friend’s third bottle. We know of few things more agreeable than a cigar and a bowl of punch (which he mixes admirably) in the society of the unpretending ex-bookbinder....

Well, although Young got Broderip to write a sort of defence of his master, and “Justice B——”—mirabile dictu!—got Hook to print it in the John Bull, the current of public feeling could not be stopped: Regina spoke out—William Rex, as in duty bound, followed—Melbourne apologised—and “Michael’s pension, Michael’s pension” is all right.

In one of his note-books of this period is found the following entry:—

15 January, 1834.

Within the last week have observed twice that a slight obscurity of the sight of my left eye has happened. It occurred on reading the letters of a book held about fourteen inches from the eye, being obscured as by a fog over a space about half an inch in diameter. This space was a little to the right and below the axes of the eye. Looking for the effect now and other times, I cannot perceive it. I note this down that I may hereafter trace the progress of the effect if it increases or becomes more common.

Happily, the trouble did not recur; but the entry is characteristic of the habits of accuracy of the man. Loss of memory, unfortunately, early set in. There is74 actually a hint of this in the first of his letters to Abbott (p. 7), and references to the trouble and to dizziness in the head recur perpetually in his correspondence. Whenever these brain-troubles threatened, he was compelled to drop all work and seek rest and change of scene. He often ran down to Brighton, which he thought, however, a poor place. He constructed for himself a velocipede15 on which to take exercise. Two or three times he went to Switzerland for a longer holiday, usually accompanied by his wife and her brother, George Barnard.

“Physically,” says Tyndall, “Faraday was below the middle size, well set, active, and with extraordinary animation of countenance. His head from forehead to back was so long that he had usually to bespeak his hats.” In youth his hair was brown, curling naturally; later in life it approached to white, and he always parted it down the middle. His voice was pleasant, his laugh was hearty, his manners when with young people, or when excited by success in the laboratory, were gay to boyishness. Indeed, until the end of the active period of his life he never lost the capacity for boyish delight, or for unbending in fun after the stress of severe labour.


From first to last the original scientific researches of Faraday extend over a period of forty-four years, beginning with an analysis of caustic lime, published in the Quarterly Journal of Science in 1816, and ending with his last unfinished researches of 1860 to 1862, on the possible existence of new relations between magnetism and gravity and between magnetism and light. The mere list of their titles fills several pages in the catalogue of scientific papers published by the Royal Society.

For convenience of description, these forty-four years may be divided into three periods: the first lasting from 1816 to 1830, a period of miscellaneous and in some respects preliminary activity; the second from 1831 to the end of 1839, the period of the classical experimental researches in electricity down to the time when they were temporarily suspended by the serious state of his health; the third from 1844, when he was able to resume work, down to 1860, a period which includes the completion of the experimental researches on electricity, the discovery of the76 relations between light and magnetism, and that of diamagnetism.

RESEARCHES BEGINNING.

Faraday’s first research was an analysis for Sir Humphry Davy of a specimen of caustic lime which had been sent to him by the Duchess of Montrose from Tuscany. The Quarterly Journal of Science, in which it appeared, was a precursor of the Proceedings of the Royal Institution, and was indeed edited by Professor W. F. Brande. Faraday frequently wrote for it during these years, and took editorial charge of it on more than one occasion during Brande’s holidays. The paper on caustic lime was reprinted by Faraday in the volume of his “Experimental Researches on Chemistry and Physics,” prefaced by the following note:—

I reprint this paper at full length; it was the beginning of my communications to the public, and in its results very important to me. Sir Humphry Davy gave me the analysis to make as a first attempt in chemistry, at a time when my fear was greater than my confidence, and both far greater than my knowledge; at a time also when I had no thought of ever writing an original paper on science. The addition of his own comments, and the publication of the paper, encouraged me to go on making, from time to time, other slight communications, some of which appear in this volume. Their transference from the Quarterly into other journals increased my boldness, and now that forty years have elapsed, and I can look back on what successive communications have led to, I still hope, much as their character has changed, that I have not either now or forty years ago been too bold.

For the next two or three years Faraday was very closely occupied in the duties of assisting Sir Humphry Davy in his researches, and in helping to77 prepare the lectures for both Davy and Brande. Yet he found time still to work on his own account. In 1817 he had six papers and notes in the Quarterly Journal of Science, including one on the escape of gases through capillary tubes, and others on wire-gauze safety lamps and Davy’s experiments on flame. In 1818 he had eleven papers in the Journal; the most important being on the production of sound in tubes by flames, while another was on the combustion of the diamond. In 1819 he had nineteen papers in the Quarterly Journal, chiefly of a chemical nature. These related to boracic acid, the composition of steels, the separation of manganese from iron, and on the supposed new metal, “Sirium” or “Vestium,” which he showed to be only a mixture of iron and sulphur with nickel, cobalt, and other metals.

OERSTED’S DISCOVERY.

The year 1820 was marked in the annals of science by the discovery, by Oersted of Copenhagen, of the prime fact of electromagnetism, the deflexion which is produced upon a magnetic needle by an electric current that passes either under or over the needle. Often had it been suspected that there must be some connection between the phenomena of electricity and those of magnetism. The similarities between the attractions and repulsions caused by electrified bodies, and those due to the magnet when acting on iron, had constantly suggested the possibility that there was some real connection. But, as had been pointed out centuries before by St. Augustine, while the rubbed amber will attract any substance if only small or light enough, being indifferent to its material, the magnet will only attract iron or compounds of iron, and is totally78 inoperative16 on all other substances. Again, while it had been noticed that in houses which had been struck by lightning knives, needles, and other steel objects near the path of the electric flash had become magnetised, no one had been able, by using the most powerful electric machines, to repeat with certainty the magnetisation of needles. In vain they had tried to magnetise knives and wires by sending sparks through them. Sometimes they showed a trace of magnetism, sometimes none. And in the cases where some slight magnetisation resulted, the polarity could not be depended upon. Van Swinden had written a whole treatise in two volumes on the analogies between electricity and magnetism, but left the real relation between the two more obscure than ever. After the invention, in 1800, of the voltaic pile, which for the first time provided a means of generating a steady flow or current of electricity, several experimenters, including Oersted himself, had again essayed to discover the long-suspected connection, but without success. Oersted was notoriously a poor experimenter, though a man of great philosophical genius. Having in 1820 a more powerful voltaic battery in operation than previously, he repeated17 the operation of bringing near to the compass needle the copper wire that conveyed the current; and, laying it parallel to the needle’s direction, and over or under it, found that the needle tended to turn into a direction at right79 angles to the line of the current, the sense of the deviation depending upon the direction of flow of the current, and also on the position of the wire as to whether it were above or below the needle. A current flowing from south to north over the needle caused the north-pointing end of the needle to be deflected westwards. If the wire were vertical, so that the current flowed downwards, and a compass needle was brought near the wire on the south side, therefore tending under the earth’s directive influence to point northwards toward the wire, it was observed that the effect of the current flowing in the wire was to cause the north-pointing end of the needle to turn westwards. Or, reversing the flow of current, the effect on the needle was reversed; it now tended eastwards. All these things Oersted summed up in the phrase that “the electric conflict acts in a revolving manner” around the wire.18 In modern phraseology the whole of the actions are explained if one can conceive that the effect of the electric flow in the wire is to tend to make the north pole of a magnet revolve in one sense around the wire, whilst it also tends to make the south pole of the magnet revolve around the wire in the other sense. The nett result in most cases is that80 the magnetic needle tends to set itself square across the line of the current. Oersted himself was not too clear in his explanations, and seems, in his later papers, to have lost sight of the circular motion amidst repulsions and attractions.

This discovery, which showed what was the geometrical relation between the magnet and the current, also showed why the earlier attempts had failed. It was requisite that the electricity should be in a state of steady flow; neither at rest as in the experiments with electric charges, nor yet in capricious or oscillatory rush as in those with spark-discharges. Faraday, adverting a quarter of a century later to Oersted’s discovery, said: “It burst open the gates of a domain in science, dark till then, and filled it with a flood of light.”

The very day that Oersted’s memoir was published in England, Davy brought a copy down into the laboratory of the Royal Institution, and he and Faraday at once set to work to repeat the experiments and verify the facts.

It is a matter of history how, on the publication of Oersted’s discovery, Ampère leaped forward to generalise on electromagnetic actions, and discovered the mutual actions that may exist between two currents, or rather between two conducting wires that carry currents. They are found to experience mutual mechanical forces urging them into parallel proximity. Biot and Laplace added to these investigations, as also did Arago. Davy discovered that the naked copper wire, while carrying a current, could attract iron filings to itself—not end-ways in adherent81 tufts, as the pole of a magnet does, but laterally, each filing or chainlet of filings tending to set itself tangentially at right angles to the axis of the wire.

A PARADOXICAL PHENOMENON.

This curious right-angled relation between electric flow and magnetic force came as a complete paradox or puzzle to the scientific world. It had taken centuries to throw off the strange unmechanical ideas of force which had dominated the older astronomy. The epicyclic motions of the planets postulated by the Ptolemaic system were in no way to be accounted for upon mechanical principles. Kepler’s laws of planetary motion were merely empirical, embodying the results of observation, until Newton’s discovery of the laws of circular motion and of the principle of universal gravitation placed the planetary theory on a rational basis. Newton’s laws required that forces should act in straight lines, and that to every action there should be an equal and opposite reaction. If A attracted B, then B attracted A with an equal force, and the mutual force must be in the line drawn from A to B. The discovery by Oersted that the magnet pole was urged by the electric wire in a direction transverse to the line joining them, appeared at first sight to contravene the ideas of force so thoroughly established by Newton. How could this transversality be explained? Some sought to explain the effect by considering the conducting wire to operate as if made up of a number of short magnets set transversely across the wire, all their north poles being set towards the right, and all their south poles towards the left. Ampère took the alternative view82 that the magnet might be regarded as equivalent to a number of electric currents circulating transversely around the core as an axis. In neither case was the explanation complete.

TWO YEARS WASTED.

Faraday’s scientific activities in the year 1820 were very marked. New researches on steel had been going on for some months. It had been hoped that by alloying iron with some other metals, such as silver, platinum, or nickel, a non-rusting alloy might be found. This idea took its rise from the erroneous notion that meteoric iron, which is richly alloyed with nickel, does not rust. Faraday found nickel steel to be more readily oxidised, not less, than ordinary steel. The platinum steel was also a failure. Silver steel was of more interest, though it was found impossible to incorporate in the alloy more than a small percentage of silver. Nevertheless, silver steel was used for some time by a Sheffield firm for manufacture of fenders. The alloys of iron with platinum, iridium, and rhodium were also of no great use. But the research demonstrated the surprising effects which minute quantities of other metals may have upon the quality of steel. Occasionally in later life Faraday would present one of his friends with a razor made from his own special steel. A paper on the use of alloys of steel in surgical instrument making was published in the Quarterly Journal in collaboration with Mr. Stodart. Faraday also read his first paper before the Royal Society on two new compounds of chlorine and carbon, and on a new compound of iodine, carbon, and hydrogen. He also succeeded in83 making artificial plumbago from charcoal. In writing to his friend Professor G. de la Rive, he gives a long and chatty abstract of his researches on the alloys of steel. They appear to have originated in some analyses of wootz or Indian steel, a material which, when etched with acid, shows a beautifully damascened or reticulated surface. This effect Faraday never found with pure steel, but imitated it successfully with a steel alloyed with “the metal of alumine,” an element which down to that time had not been isolated. He then describes the rhodium, silver, and nickel steels, and mentions incidentally how he has been surprised to discover that he can volatilise silver, and that he cannot reduce the metal titanium. He is doubtful whether this metal “ever has been reduced at all in the pure state.” [It can now be readily reduced either in the electric arc or by the use of metallic aluminium.] He winds up the letter with the words: “Pray pity us that, after two years’ experiments, we have got no further; but I am sure, if you knew the labour of the experiments, you would applaud us for our perseverance at least.”

In 1821, the year of his marriage, came the first of the important scientific discoveries which brought him international fame. This was the discovery of the electromagnetic rotations. It appears that Oersted’s brilliant flash of insight that the “electric conflict acts in a revolving manner” upon the pole of the neighbouring compass needle had been lost sight of in the discussions which followed, and to which allusion has been made above. All the world was thinking about attractions and repulsions. Two men,84 however, seem to have gone a little further in their ideas. Dr. Wollaston had suggested that there ought to be a tendency, when a magnet pole was presented towards a straight conducting wire carrying a current, for that conducting wire to revolve around its own axis. This effect—though in recent years it has been observed by Mr. George Gore—he unsuccessfully tried to observe by experiments. He came in April, 1821, to the laboratory of the Royal Institution to make an experiment, but without result. Faraday, at the request of his friend Phillips, who was editor of the Annals of Philosophy, wrote for that magazine in July, August, and September a historical sketch of electromagnetism down to date. This was one of the very few of Faraday’s writings that was anonymous. It was simply signed “M.” This is in vol. iii. p. 107. On p. 117 the editor says: “To the historical sketch of electromagnetism with which I have been favoured by my anonymous correspondent, I shall add a sketch of the discoveries that have been made by Mr. Faraday of the Royal Institution.” In the course of this work Faraday repeated for his own satisfaction almost all the experiments that he described. This led him to discover that a wire, included in the circuit, but mounted so as to hang with its lower end in a pool of quicksilver, could rotate around the pole of a magnet; and conversely that if the wire were fixed and the pole of the magnet free to move, the latter would rotate around the former. “I did not realise,” he wrote, “Dr. Wollaston’s expectation of the rotation of the electromagnetic wire around its axis.” As was so often his custom, he had no sooner finished the85 research for publication than he dashed off a brief summary of it in a letter to one of his friends. On this occasion it was Professor G. de la Rive, of Geneva, who was the recipient of his confidences. On September 12 he wrote:—

LETTER TO DE LA RIVE.

I am much flattered and encouraged to go on by your good opinion of what little things I have been able to do in science, and especially as regards the chlorides of carbon.

* * * * *

You partly reproach us here with not sufficiently esteeming Ampère’s experiments on electromagnetism. Allow me to extenuate your opinion a little on this point. With regard to the experiments, I hope and trust that due weight is allowed to them; but these you know are few, and theory makes up the great part of what M. Ampère has published, and theory in a great many points unsupported by experiments when they ought to have been adduced. At the same time, M. Ampère’s experiments are excellent, and his theory ingenious; and, for myself, I had thought very little about it before your letter came, simply because, being naturally sceptical on philosophical theories, I thought there was a great want of experimental evidence. Since then, however, I have engaged on the subject, and have a paper in our “Institution Journal,” which will appear in a week or two, and that will, as it contains experiment, be immediately applied by M. Ampère in support of his theory, much more decidedly than it is by myself. I intend to enclose a copy of it to you with the other, and only want the means of sending it.

I find all the usual attractions and repulsions of the magnetic needle by the conjunctive wire are deceptions, the motions being not attractions or repulsions, nor the result of any attractive or repulsive forces, but the result of a force in the wire, which instead of bringing the pole of the needle nearer to, or further from the wire, endeavours to make it move round it in a never ending circle and motion whilst the86 battery remains in action. I have succeeded not only in showing the existence of this motion theoretically, but experimentally, and have been able to make the wire revolve round a magnetic pole, or a magnetic pole round the wire, at pleasure. The law of revolution, and to which all the other motions of the needle and wire are reducible, is simple and beautiful.

Conceive a portion of connecting wire north and south, the north end being attached to the positive pole of a battery, the south to the negative. A north magnetic pole would then pass round it continually in the apparent direction of the sun, from east to west above, from west to east below.

Reverse the connections with the battery, and the motion of the pole is reversed; or if the south pole be made to revolve, the motions will be in the opposite directions, as with the north pole.

If the wire be made to revolve round the pole, the motions are according to those mentioned. In the apparatus I used there were but two plates, and the directions of the motions were of course19 the reverse of those with a battery of several pairs of plates, and which are given above. Now I have been able, experimentally, to trace this motion into its various forms as exhibited by Ampère’s, Nelice’s, &c., and in all cases to show that the attractions and repulsions are only appearances due to this circulation of the pole, to show that dissimilar poles repel as well as attract, and that similar poles attract as well as repel, and to make, I think, the analogy between the helix and common bar magnet far stronger than before. But yet I am by no means decided that there are currents of electricity in the common magnet.

I have no doubt that electricity puts the circles of the helix into the same state as those circles are in, that may be conceived in the bar magnet, but I am not certain that this state is directly dependant on the electricity, or that it cannot be produced by other agencies; and therefore, until the presence of electrical currents be proved in the magnet by other than87 magnetical effects, I shall remain in doubt about Ampère’s theory.

* * * * *

Wishing you all health and happiness, and waiting for news from you,

I am, my dear Sir, your very obliged and grateful

M. Faraday.

The reference at the beginning of this letter to the chlorides of carbon has to do with his discovery communicated to the Royal Society. Later in the year, a joint paper on another compound of carbon and chlorine, by himself and his friend Richard Phillips, was sent in. Both were printed together in the Philosophical Transactions of 1821.

LEAVES FROM THE NOTE-BOOK.

The following is an extract from Faraday’s laboratory book relating to the discovery. The account is incomplete, a leaf having been torn out:—

1821, Sept. 3.

The effort of the wire is always to pass off at a right angle from the pole, indeed to go in a circle round it, so when either pole was brought up to the wire perpendicular to it and to the radius of the circle it described, there was neither attraction nor repulsion, but the moment the pole varied in the slightest manner either in or out, the wire moved one way or the other.

The poles of the magnet act on the bent wire in all positions and not in the direction only of any axis of the magnet, so that the current can hardly be cylindrical or arranged round the axis of a cylinder?

From the motion above a north magnet pole in the centre of one of the circles should make the wire continually turn round. Arranged a magnet needle in a glass tube with mercury about it, and by a cork, water, &c., supported a connecting wire so that the upper end should go into the silver cup and its mercury, and the lower move in a channel of mercury round88 the pole of the needle. The battery arranged with the wire as before. In this way got the revolution of the wire round the pole of the magnet. The direction was as follow, looking from above down:—

Fig. 2. (Facsimile of Original Sketch.)

Very satisfactory, but make more sensible apparatus.

Tuesday, Sept. 4.

Apparatus for revolution of wire and magnet. A deep basin with bit of wax at bottom and then filled with mercury. A magnet stuck upright in wax so that pole just above the surface of mercury. Then piece of wire floated by cork at lower end dipping into mercy and above into silver cup as before:—

Fig. 3. (facsimile of Original Sketch.)

The research on the electromagnetic rotations, which was published in the Quarterly Journal of Science for October, 1821 (and reprinted in the second volume of the “Experimental Researches in Electricity”), was the occasion of a very serious misunderstanding with Dr. Wollaston and his friends, which at one time threatened to cause Faraday’s exclusion89 from the Royal Society. Faraday’s prompt and frank action in appealing to Dr. Wollaston saved him in a very unpleasant crisis; and the latter came three or four times to the laboratory to witness the experiments. On Christmas Day of the same year, Faraday succeeded in making a wire through which an electric current is passing move under the influence of the earth’s magnetism alone. His brother-in-law, George Barnard, who was in the laboratory at the time, wrote:—“All at once he exclaimed, ‘Do you see, do you see, do you see, George?’ as the wire began to revolve. One end I recollect was in the cup of quicksilver, the other attached above to the centre. I shall never forget the enthusiasm expressed in his face and the sparkling in his eyes!”

SCENES IN THE LABORATORY.

In 1822 little was added to Faraday’s scientific work. He had a joint paper with Stodart on steel before the Royal Society, and in the Quarterly Journal two short chemical papers and four on electromagnetical motions and magnetism. He had long kept a commonplace book in which he entered notes and queries as well as extracts from books and journals; but this year he began a fresh manuscript volume, into which he transferred many of the queries and suggestions of his own originating. This volume he called “Chemical Notes, Hints, Suggestions, and Objects of Pursuit.” It contains many of the germs of his own future discoveries, as the following examples show:—

Convert magnetism into electricity.

Do pith balls diverge by disturbance of electricities in consequence of induction or not?

90

General effects of compression, either in condensing gases, or producing solutions, or even giving combinations at low temperatures.

Light through gold leaf on to zine or most oxidable metals, these being poles—or on magnetic bars.

Transparency of metals. Sun’s light through gold leaf. Two gold leaves made poles—light passed through one to the other.

Whenever any query found an answer, he drew his pen through it and added the date. In front of the book—probably at some later time—he wrote these words:—

I already owe much to these notes, and think such a collection worth the making by every scientific man. I am sure none would think the trouble lost after a year’s experience.

A striking example had already occurred of similar suggestive notes in the optical queries of Sir Isaac Newton.

In another manuscript notebook occur the following entries under date of September 10, 1821:—

2 similar poles though they repell at most distances attract at very small distances and adhere. Query why....

Could not magnetise a plate of steel so as to resemble flat spiral. Either the magnetism would be very weak and irregular or there would be none at all.

These are interesting as showing how Faraday was educating himself by continual experiment. The explanation of each of these paradoxes has long passed into the commonplace of physics; but they would still puzzle many who have learned their science bookishly at second-hand.

91

It will be noted that amongst the entries cited above there are two of absolutely capital importance, one foreshadowing the great discovery of magneto-electric induction, the other indicating how the existence of electro-optical relations was shaping itself as a possibility in Faraday’s mind. An entry in his laboratory book of September 10 is of great interest:—

Polarised a ray of lamp-light by reflection, and endeavoured to ascertain whether any depolarising action [is] exerted on it by water placed between the poles of a voltaic battery in a glass cistern; one Wollaston’s trough used; the fluids decomposed were pure water, weak solution of sulphate of soda, and strong sulphuric acid: none of them had any effect on the polarised light, either when out of or in the voltaic circuit, so that no particular arrangement of particles could be ascertained in this way.

AN UNSUCCESSFUL EXPERIMENT.

It may be added that no such optical effect of electrolytic conduction as that here looked for has yet been discovered. The experiment, unsuccessful at that day, remains still an unsuccessful one. A singular interest attaches to it, however, and it was repeated several times by Faraday in subsequent years, in hope of some results.

In 1823 Faraday read two papers to the Royal Society, one on Liquid Chlorine, the other on the Condensation of several Gases into Liquids. No sooner was the work completed than he dashed off a letter to De la Rive to tell him what he had accomplished. Under date March 24, 1823, he writes:—

I have been at work lately, and obtained results which I hope you will approve of. I have been interrupted twice in92 the course of experiments by explosions, both in the course of eight days—one burnt my eyes, the other cut them; but fortunately escaped with slight injury only in both cases, and am now nearly well. During the winter I took the opportunity of examining the hydrate of chlorine, and analysing it; the results, which are not very important, will appear in the next number of the Quarterly Journal, over which I have no influence. Sir H. Davy, on seeing my paper, suggested to me to work with it under pressure, and see what would happen by heat, &c. Accordingly I enclosed it in a glass tube hermetically sealed, heated it, obtained a change in the substance, and a separation into two different fluids; and upon further examination I found that the chlorine and water had separated from each other, and the chlorine gas, not being able to escape, had condensed into the liquid form. To prove that it contained no water, I dried some chlorine gas, introduced it into a long tube, condensed it, and then cooled the tube, and again obtained fluid chlorine. Hence what is called chlorine gas is the vapour of a fluid....

* * * * *

I expect to be able to reduce many other gases to the liquid form, and promise myself the pleasure of writing you about them. I hope you will honour me with a letter soon.

I am, dear Sir, very faithfully, your obedient servant,

M. Faraday.

CHLORINE LIQUEFIED.

The work of liquefying the gases had been taken up by Faraday during his hours of liberty from other duties. It was probably his characteristic dislike to “doubtful knowledge” which prompted him to re-examine a substance which had at one time been regarded as chlorine in a solid state, but which Davy in 1810 had demonstrated to be a hydrate of that element. The first work was, as narrated above, to make a new analysis of the supposed substance. This analysis, duly written out, was submitted to Sir93 Humphry, who, without stating precisely what results he anticipated might follow, suggested heating the hydrate under pressure in a hermetically sealed glass tube. This Faraday did. When so heated, the tube filled with a yellow atmosphere, and on cooling was found to contain two liquids, one limpid and colourless like water, the other of an oily appearance. Concerning this research a curious story is told in the life of Davy. Dr. Paris, Davy’s friend and biographer, happened to visit the laboratory while Faraday was at work on these tubes. Seeing the oily liquid, he ventured to rally the young assistant upon his carelessness in employing greasy tubes. Later in the day, Faraday, on filing off the end of the tube, was startled by finding the contents suddenly to explode; the oily matter completely disappearing. He speedily ascertained the cause. The gas, liberated from combination with water by heat, had under the pressure of its own evolution liquefied itself, only to re-expand with violence when the tube was opened. Early the next day Dr. Paris received the following laconic note:—

Dear Sir,—

The oil you noticed yesterday turns out to be liquid chlorine.

Yours faithfully,
M. Faraday.

Later he adopted a compressing syringe to condense the gas, and again succeeded in liquefying it. Davy, who added a characteristic note to Faraday’s published paper, immediately applied the same method of liquefaction by its own pressure to hydrochloric acid94 gas; and Faraday reduced a number of other gases by the same means. These researches were not without danger. In the preliminary experiments an explosion of one of the tubes drove thirteen fragments of glass into Faraday’s eye. At the end of the year he drew up a historical statement on the liquefaction of gases, which was published in the Quarterly Journal for January, 1824. A further statement by him was published in the Philosophical Magazine for 1836; and in 1844 his further researches on the liquefaction of gases were published in the Philosophical Transactions.

In 1824 Faraday again brought to the Royal Society a chemical discovery of first importance. The paper was on some new compounds of carbon and hydrogen, and on certain other products obtained during decomposition of oil by heat. From condensed oil-gas, so obtained, Faraday succeeded in separating the liquid known as benzin or benzol, or, as he named it at the time, bicarburet of hydrogen. It has since its discovery formed the basis of several great chemical industries, and is manufactured in vast quantities. Prior to the reading of this paper he had, as we have already related, been elected a Fellow of the Royal Society, an honour to which he had for some years aspired, and which stood alone in his regard above the scientific honours of later years.

In this year he tried, amongst his unsuccessful experiments, two of singular interest. One was an attempt to find whether two crystals (such as nitre) exercised upon one another any polar attractions like those of two lodestones. He suspended them by95 fibres of cocoon silk, and, finding this material not delicate enough, by spider-lines. The other was an attempt to discover magneto-electricity. For various reasons he concluded that the approximation of the pole of a powerful magnet to a conductor carrying a current would have the effect of diminishing the amount of that current. He placed magnets within a copper wire helix, and observed with a galvanometer whether the current sent through the circuit of the helix by a given battery was less when the magnet was absent. The result was negative.

RESEARCH ON OPTICAL GLASS.

In this year also began the laborious researches on optical glass, which though in themselves leading to no immediate success of commercial value, nevertheless furnished Faraday with the material essential at the time for the making of the most momentous of all his discoveries. A committee had been appointed by the President and Council of the Royal Society for the improvement of glass for optical purposes, and Faraday was amongst those chosen to act upon it.

In 1825 the Royal Society Committee delegated the investigation of optical glass to a sub-committee of three, Herschel (afterwards Sir John), Dollond (the optician), and Faraday. The chemical part, including the experimental manufacture, was entrusted to Faraday. Dollond was to work the glass and test its qualities from the instrument maker’s point of view, whilst Herschel was to examine its refraction, dispersion, and other physical properties. This sub-committee worked for nearly five years, though by the removal of Herschel from England its number was96 reduced to two. In 1827 the work became more arduous. Faraday thus writes:—

The President and Council of the Royal Society applied to the President and Managers of the Royal Institution for leave to erect on their premises an experimental room with a furnace, for the purpose of continuing the investigation on the manufacture of optical glass. They were guided in this by the desire which the Royal Institution has always evinced to assist in the advancement of science; and the readiness with which the application was granted showed that no mistaken notion had been formed in this respect. As a member of both bodies, I felt much anxiety that the investigation should be successful. A room and furnaces were built at the Royal Institution in September, 1827, and an assistant was engaged, Sergeant Anderson, of the Royal Artillery. He came on the 3rd of December.

Anderson, who was thus made assistant to Faraday, remained in that capacity till his death in 1866. He was a most devoted servant. In a footnote to the “Experimental Researches” (vol. iii. p. 3) Faraday in 1845 wrote of him:—

I cannot resist the occasion that is thus offered me of mentioning the name of Mr. Anderson, who came to me as an assistant in the glass experiments, and has remained ever since in the laboratory of the Royal Institution. He assisted me in all the researches into which I have entered since that time; and to his care, steadiness, exactitude, and faithfulness in the performance of all that has been committed to his charge, I am much indebted.—M. F.

Tyndall, who had a great admiration for Anderson, declared that his merits as an assistant might be summed up in one phrase—blind obedience. The story is told of him by Benjamin Abbott:—

97

ANDERSON’S OBEDIENCE.

Sergeant Anderson ... was chosen simply because of the habits of strict obedience his military training had given him. His duty was to keep the furnaces always at the same heat, and the water in the ashpit always at the same level. In the evening he was released, but one night Faraday forgot to tell Anderson he could go home, and early next morning he found his faithful servant still stoking the glowing furnace, as he had been doing all night long.

The research on optical glass was viewed askance by several parties. The expenditure of money which it involved was one of the “charges” hurled against the Council of the Royal Society by Sir James South in 1830. Nevertheless it was deemed sufficiently important to receive powerful support, as the following letter shows:—

Admiralty, 20 Dec., 1827.

Sir,

I hereby request, on behalf of the Board of Longitude, that you will continue, in the furnace built at the Royal Institution, the experiments on glass, directed by the joint Committee of the Royal Society and the Board of Longitude and already sanctioned by the Treasury and the Board of Excise.

I am, Sir,
Your obedient servant,
Thomas Young, M.D.,
Sec. Bd. Long.

Michael Faraday, Esq.,
Royal Institution.

In February, 1825, Faraday’s duties towards the Royal Institution were somewhat modified. Hitherto he had been nominally a mere assistant to Davy and Brande, though he had occasionally undertaken lectures for the latter. Now, on Davy’s recommendation, he was, as we have seen, appointed by the98 managers Director of the Laboratory under the superintendence of the Professor of Chemistry. He was relieved, “because of his occupation in research,” from his duty as chemical assistant at the lectures.

The research on optical glass was not concluded till 1829, when its results were communicated to the Royal Society in the Bakerian lecture of that year—a memoir so long that it is said three sittings were occupied in its delivery. It is printed in extenso in the Philosophical Transactions of 1830. It opens as follows:—

When the philosopher desires to apply glass in the construction of perfect instruments, and especially the achromatic telescope, its manufacture is found liable to imperfections so important and so difficult to avoid, that science is frequently stopped in her progress by them—a fact fully proved by the circumstance that Mr. Dollond, one of our first opticians, has not been able to obtain a disc of flint glass 4½ inches in diameter, fit for a telescope, within the last five years; or a similar disc, of 5 inches, within the last ten years.

This led to the appointment by Sir H. Davy of the Royal Society Committee, and the Government removed the excise restrictions, and undertook to bear all the expenses as long as the investigation offered a reasonable hope of success.

The experiments were begun at the Falcon Glass Works, three miles from the Royal Institution, and continued there in 1825, 1826, and to Sept., 1827, when a room was built at the Institution. At first the inquiry was pursued principally as related to flint and crown glass; but in September, 1828, it was directed exclusively to the preparation and perfection of peculiar heavy and fusible glasses, from which time continued progress has been made.

In 1830 the experiments on glass-making were stopped.

In 1831 the Committee for the Improvement of99 Glass for Optical Purposes reported to the Royal Society Council that the telescope made with Mr. Faraday’s glass had been examined by Captain Kater and Mr. Pond. “It bears as great a power as can reasonably be expected, and is very achromatic. The Committee therefore recommend that Mr. Faraday be requested to make a perfect piece of glass of the largest size that his present apparatus will admit, and also to teach some person to manufacture the glass for general sale.”

GLASS-MAKING LAID ASIDE.

In answer to this Faraday sent the following letter to Dr. Roget, Sec. R.S.:—

[M. Faraday to P. M. Roget.]

Royal Institution, July 4, 1831.

Dear Sir,—I send you herewith four large and two small manuscript volumes relating to optical glass, and comprising the journal book and sub-committee book, since the period that experimental investigations commenced at the Royal Institution.

With reference to the request which the Council of the Royal Society have done me the honour of making—namely, that I should continue the investigation—I should, under circumstances of perfect freedom, assent to it at once; but obliged as I have been to devote the whole of my spare time to the experiments already described, and consequently to resign the pursuit of such philosophical inquiries as suggested themselves to my own mind, I would wish, under the present circumstances, to lay the glass aside for a while, that I may enjoy the pleasure of working out my own thoughts on other subjects.

If at a future time the investigation should be renewed, I must beg it to be clearly understood I cannot promise full success should I resume it: all that industry and my abilities can effect shall be done; but to perfect a manufacture, not being a manufacturer, is what I am not bold enough to promise.

I am, &c.,
M. Faraday.

100

The optical glass was a failure, so far as concerned the original hope that it would lead to great improvements in telescopes. Nevertheless it furnished scientific men with a new material, the “heavy glass” consisting essentially of boro-silicate of lead, for which sundry uses in spectroscopy and other optical instruments have since been found.

In 1845 Faraday added this note:—

I consider our results as negative, except as regards any good that may have resulted from my heavy glass in the hands of Amici (who applied it to microscopes) and in my late experiments on light.

These were the famous experiments on magneto-optics and diamagnetism. Incidentally the research had led also to the permanent engagement of Sergeant Anderson as assistant to Faraday.

RESEARCHES AND LECTURES.

During these years, from 1825 to 1829, which had been thus occupied in an apparently fruitless quest, he had been far from idle. He had gone on contributing chemical papers to the Philosophical Transactions and to the Quarterly Journal. These dealt with sulpho-naphthalic acid, with the limits of vaporisation, with caoutchouc, bisulphide of copper, the fluidity of sulphur and phosphorus, the diffusion of gases, and the relation of water to hot polished surfaces. He had also originated at the Royal Institution the Friday evening discourses (see p. 33), the first of which he held in 1826. For some years he himself delivered no inconsiderable portion of these discourses every session. In 1826 he gave six, in 1827 three, in 1828 five, in 1829 six, and these in addition to his regular afternoon courses of six or101 eight lectures on some connected subject. He had also, in 1826, begun the Christmas lectures adapted to a juvenile audience, and had in 1827 given a course of twelve lectures at the London Institution in Finsbury Circus. In addition to these labours he had, in 1827, brought out the first edition of his book on “Chemical Manipulation.” In 1829 he began his lectures at the Royal Military Academy at Woolwich, which continued till 1849.

The year 1830 may be regarded as the close of the first period of Faraday’s researches, during which time, though much of his labour had been of a preparatory and even desultory kind, it had been a training for the higher work to come. He had made three notable discoveries in chemistry, the new substances benzol and butylene, and the solubility of naphthalene in sulphuric acid forming the first of a new class of bodies, the sulpho-acids. He had also made an important discovery in physics, that of the electromagnetic rotations. He had already published sixty original papers, besides many notes of lesser importance, nine of these papers being memoirs in the Philosophical Transactions. He had already begun to receive from learned societies, academies, and universities the recognition of his scientific attainments, and he had established firmly both his own reputation as a lecturer, and the reputation of the Royal Institution, which was the scene of his lectures.


With the year 1831 begins the period of the celebrated “Experimental Researches in Electricity and Magnetism.” During the years which had elapsed since his discovery of the electromagnetic rotations in 1823, Faraday, though occupied, as we have seen, with other matters, had not ceased to ponder the relation between the magnet and the electric current. The great discoveries of Oersted, Ampère, and Arago had culminated in England in two results: in Faraday’s discovery that the wire which carries an electric current tends to revolve around the pole of a neighbouring magnet; and in Sturgeon’s invention of the soft-iron electromagnet, a core of iron surrounded by a coil of copper wire, capable of acting as a magnet at will when the electric current is transmitted to the coil and so caused to circulate around the iron core.

FORESHADOWINGS.

This production of magnetism from electricity, at will, and at a distance, by the simple device of sending the electricity to circulate as a current around the central core of iron was then, as now, a cause of much speculation. The iron core which is to be made temporarily into a magnet stands alone, isolated.103 Though surrounded outwardly by the magnetising coil of copper wire, it does not touch it; nay, must be screened from contact with it by appropriate insulation. The electric current entering the copper coil at one end is confined from leaving the copper wire by any lateral path: it must circulate around each and every convolution, nor be permitted to flow back by the return-wire until it has performed the required amount of circulation. That the mere external circulation of electric current around a totally disconnected interior core of iron should magnetise that core; that the magnetisation should be maintained so long as the circulation of electricity is maintained; and that the magnetising forces should cease so soon as the current is stopped, are facts, familiar enough to every beginner in the science, but mysterious enough from the abstract point of view. Faraday was firmly persuaded that, great as had been these discoveries of the production of magnetism and magnetic motions from electricity, there remained other relations of no less importance to be discovered. Again and again his mind recurred to the subject. If it were possible to use electricity to produce magnetism, why should not the converse be true? In 1822 his notebook suggestion was, as we have seen, “Convert magnetism into electricity.” Yes, but how?

He possessed an intuitive bent of mind to inquire about the relations of facts to one another. Convinced by sheer converse with nature in the laboratory, of the correlation of forces and of the conservation of energy long before either of those doctrines had received distinct enunciation as principles of natural philosophy,104 he seems never to have viewed an action without thinking of the necessary and appropriate reaction; never to have deemed any physical relation complete in which discovery had not been made of the converse relations for which instinctively he sought. So in December, 1824, we find him experimenting on the passage of a bar magnet through a helix of copper wire (see Quarterly Journal for July, 1825), but without result. In November, 1825, he sought for evidence that might prove an electric current in a wire to exercise an influence upon a neighbouring wire connected to a galvanometer. But again, and yet again in December of the same year, the entry stands “No result.” A third failure did not convince him that the search was hopeless: it showed him that he had not yet found the right method of experimenting. It is narrated of him how at this period he used to carry in his waistcoat pocket a small model of an electromagnetic circuit—a straight iron core about an inch long, surrounded by a few spiral turns of copper wire—which model he at spare moments would take out and contemplate, using it thus objectively to concentrate his thoughts upon the problem to be solved. A copper coil, an iron core. Given that electricity was flowing through the one, it evoked magnetism in the other. What was the converse? At first sight it might seem simple enough. Put magnetism from some external source into the iron core, and then try whether on connecting the copper coil to a galvanometer there was any indication of an electric current. But this was exactly what was found not to result.

OTHER MEN’S FAILURES.

And not Faraday alone, but others, too, were foiled105 in the hope of observing the expected converse. Not all who tried were as wise or as frank as Faraday in confessing failure. Fresnel, in the height of the fever of Oersted’s discovery, had announced to the Academy of Sciences at Paris, on the 6th of November, 1820, that he had decomposed water by means of a magnet which was laid motionless within a spiral of wire. Emboldened by this announcement, Ampère remarked that he too had noticed something in the way of production of currents from a magnet. But before the end of the year both these statements were withdrawn by their authors. Again, in the year 1822, Ampère, being at Geneva, showed to Professor A. de la Rive in his laboratory a number of electromagnetic experiments from his classical researches; and amongst them one20 which has been almost forgotten, but which, had it been followed up, would assuredly have led Ampère to the discovery of the induction of currents. In the experiment in question a thin copper ring, made of a narrow strip folded into a circle, was hung inside a circular coil of wire, traversed by a current. To this apparatus a powerful horse-shoe magnet was presented; and De la Rive states that, when the magnet was brought up, the suspended ring was observed sometimes to move between the two limbs of the magnet, and sometimes to be repelled from between them according to the sense of the current in the surrounding coil. He and Ampère both attributed the effect to temporary magnetism conferred upon the copper ring. Ampère himself was106 at the time disposed to attribute it to the possible presence of a little iron as an impurity in the copper. There are, however, some discrepancies in the three published versions of the story. According to Becquerel, Ampère had by 1825 satisfied himself of the non-existence of induction currents.

A PUZZLING EXPERIMENT.

Quite independently, the question of the possibility of creating currents by magnets was raised by another discovery, that of the so-called “magnetism of rotation.” In 1824 Arago had observed that a fine magnetic compass constructed for him by Gambey, having the needle suspended in a cell, the base of which was a plate of pure copper, was thereby damped in its oscillations, and instead of making two or three hundred vibrations before it came to rest, as would be the case in the open air, executed only three or four of rapidly decreasing amplitude.21 In vain did Dumas at the request of Arago analyse the copper, in the supposition that iron might be present. Inquiry compelled the conclusion that some other explanation must be sought. And, reasoning from the apparent action of stationary copper in bringing a moving magnetic needle to rest, he conjectured that a moving mass of copper might produce motion in a stationary magnetic needle. Accordingly he set into revolution, beneath a compass needle, a flat disc of copper, and found that, even when a sheet of card or glass was interposed to cut off all air-currents, the needle tended to follow the moving copper disc, turning as if dragged107 by some invisible influence. To the suggestion that mere rotation conferred upon copper a sort of temporary magnetism Arago listened with some impatience. All theories proposed to account for the phenomenon he discredited, even though emanating from the great mathematician Poisson. He held his judgment in absolute suspense. Babbage and Herschel measured the amount of retarding force exerted on the needle by different materials, and found the most effective to be silver and copper (which are the two best conductors of electricity), after them gold and zinc, whilst lead, mercury, and bismuth were inferior in power. The next year the same experimenters announced the successful inversion of Arago’s experiment; for by spinning the magnet underneath a pivoted copper disc they caused the latter to rotate briskly. They also made the notable observation that if slits are cut radially in the copper disc they diminish its tendency to be dragged by the spinning magnet. Sturgeon showed that the damping effect of a moving copper disc was diminished by the presence of a second magnet pole of contrary kind placed beside the first. All these things were most suggestive of the real explanation. It clearly had something to do with the electric conductivity of the metal disc, and therefore with electric currents. Sturgeon five years later came very near to the explanation: after repeating the experiments he concluded that the effect was an electric disturbance in the copper disc, “a kind of reaction to that which takes place in electromagnetism.”

Faraday knew of all the discussions which had108 arisen respecting Arago’s rotations. They may have been the cause of his unsuccessful attempts of 1824 and 1825. In April, 1828, for the fourth time he tried to discover the currents which he was convinced must be producible by the magnet, and for the fourth time without result. The cause of failure was that both magnet and coil were at rest.

Fig. 4.

The summer of 1831 witnessed him for the fifth time making the attack on the problem thus persistently before him. In his laboratory note-book he heads the research “Experiments on the production of electricity from magnetism.” The following excellent summary of the laboratory notes is taken from Bence Jones’s “Life and Letters”:—

I have had an iron ring made (soft iron), iron round and ⅞ths of an inch thick, and ring six inches in external diameter. Wound many coils of copper round, one half of the coils being separated by twine and calico; there were three lengths of109 wire, each about twenty-four feet long, and they could be connected as one length, or used as separate lengths. By trials with a trough each was insulated from the other. Will call this side of the ring A. On the other side, but separated by an interval, was wound wire in two pieces, together amounting to about sixty feet in length, the direction being as with the former coils. This side call B.22

Charged a battery of ten pairs of plates four inches square. Made the coil on B side one coil, and connected its extremities by a copper wire passing to a distance, and just over a magnetic needle (three feet from wire ring), then connected the ends of one of the pieces on A side with battery: immediately a sensible effect on needle. It oscillated and settled at last in original position. On breaking connection of A side with battery, again a disturbance of the needle.

SUCCESS IN SIGHT.

In the seventeenth paragraph, written on the 30th of August, he says, “May not these transient effects be connected with causes of difference between power of metals at rest and in motion in Arago’s experiments?” After this he prepared fresh apparatus.

As was his manner, he wrote off to one of his friends a letter telling what he was at work upon. On this occasion the recipient of his confidences was his friend Phillips:—

[Michael Faraday to Richard Phillips.]

Royal Institution.
Sept. 23, 1831.

My Dear Phillips,

I write now, though it may be some time before I send my letter, but that is of no great consequence. I received110 your letter to Dr. Reid and read it on the coach going to Hastings, where I have been passing a few weeks, and I fancy my fellow passengers thought I had got something very droll in hand; they sometimes started at my sudden bursts, especially when I had the moment before been very grave and serious amongst the proportions. As you say in the letter there are some new facts and they are always of value; otherwise I should have thought you had taken more trouble than the matter deserved. Your quotation from Boyle has nevertheless great force in it.

I shall send with this a little thing in your own way “On the Alleged decline of science in England.” It is written by Dr. Moll of Utrecht, whose name may be mentioned in conversation though it is not printed in the pamphlet. I understand the view taken by Moll is not at all agreeable to some. “I do not know what business Moll had to interfere with our scientific disputes” is however the strongest observation I have heard of in reply.

I do not think I thanked you for your last Pharmacopœia. I do so now very heartily. I shall detain this letter a few days that I may send a couple of my papers (i.e. a paper and appendix) with it, for though not chemical I think you will like to have them. I am busy just now again on Electro-Magnetism, and think I have got hold of a good thing, but can’t say; it may be a weed instead of a fish that after all my labour I may at last pull up. I think I know why metals are magnetic when in motion though not (generally) when at rest.

We think about you all very much at times, and talk over affairs of Nelson Square, but I think we dwell more upon the illnesses and nursings and upon the sudden calls and chats rather than the regular parties. Pray remember us both to Mrs. Phillips and the damsils—I hope the word is not too familiar.

I am Dear Phillips,
Most Truly Yours,
M. Faraday.

R. Phillips, Esq.,
&c., &c., &c.

111

TEN DAYS OF SPLENDID WORK.

September 24 was the third day of his experiments. He began (paragraph 21) by trying to find the effect of one helix of wire, carrying the voltaic current of ten pairs of plates, upon another wire connected with a galvanometer. “No induction sensible.” Longer and different metallic helices (paragraph 22) showed no effect; so he gave up those experiments for that day, and tried the effects of bar magnets instead of the ring magnet he had used on the first day.

Fig. 5.

In paragraph 33 he says:—

An iron cylinder had a helix wound on it. The ends of the wires of the helix were connected with the indicating helix at a distance by copper wire. Then the iron placed between the poles of bar magnets as in accompanying figure (Fig. 5). Every time the magnetic contact at N or S was made or broken, there was magnetic motion at the indicating helix—the effect being, as in former cases, not permanent, but a mere momentary push or pull. But if the electric communication (i.e. by the copper wire) was broken, then the disjunction and contacts produced no effect whatever. Hence here distinct conversion of magnetism into electricity.

The fourth day of work was October 1. Paragraphs 36, 37, and 38 describe the discovery of induced voltaic currents:—

36. A battery of ten troughs, each of ten pairs of plates four inches square, charged with good mixture of sulphuric and nitric acid, and the following experiments made with it in the following order.

37. One of the coils (of a helix of copper wire 203 feet long) was connected with the flat helix, and the other (coil of same112 length round same block of wood) with the poles of the battery (it having been found that there was no metallic contact between the two); the magnetic needle at the indicating flat helix was affected, but so little as to be hardly sensible.

38. In place of the indicating helix, our galvanometer was used, and then a sudden jerk was perceived when the battery communication was made and broken, but it was so slight as to be scarcely visible. It was one way when made, the other when broken, and the needle took up its natural position at intermediate times.

Hence there is an inducing effect without the presence of iron, but it is either very weak or else so sudden as not to have time to move the needle. I rather suspect it is the latter.

The fifth day of experiment was October 17. Paragraph 57 describes the discovery of the production of electricity by the approximation of a magnet to a wire:—

A cylindrical bar magnet three-quarters of an inch in diameter, and eight inches and a half in length, had one end just inserted into the end of the helix cylinder (220 feet long); then it was quickly thrust in the whole length, and the galvanometer needle moved; then pulled out, and again the needle moved, but in the opposite direction. This effect was repeated every time the magnet was put in or out, and therefore a wave of electricity was so produced from mere approximation of a magnet, and not from its formation in situ.

The cause of all the earlier failures was, then, that both magnet and coil were at rest. The magnet might lie in or near the coil for a century and cause no effect. But while moving towards the coil, or from it, or by spinning near it, electric currents were at once induced.

The ninth day of his experiments was October 28,113 and this day he “made a copper disc turn round between the poles of the great horse-shoe magnet of the Royal Society. The axis and edge of the disc were connected with a galvanometer. The needle moved as the disc turned.” The next day that he made experiments, November 4, he found “that a copper wire one-eighth of an inch drawn between the poles and conductors produced the effect.” In his paper, when describing the experiment, he speaks of the metal “cutting” the magnetic curves, and in a note to his paper he says, “By magnetic curves I mean lines of magnetic forces which would be depicted by iron filings.”

SUCCESS AND ITS SECRET.

We here come upon those “lines of force” which played so important a part in these and many of Faraday’s later investigations. They were known before Faraday’s time—had, in fact, been known for two hundred years. Descartes had seen in them evidence for his hypothetical vortices. Musschenbroek had mapped them. But it was reserved to Faraday to point out their true significance. To the very end of his life he continued to speculate and experiment upon them.

All this splendid work had occupied but a brief ten days. Then he rearranged the facts which he had thus harvested, and wrote them out in corrected form as the first series of his “Experimental Researches in Electricity.” The memoir was read to the Royal Society on November 24, 1831, though it did not appear in printed form until January, 1832—a delay which gave rise to serious misunderstandings. The paper having been read, he went away to Brighton to114 take a holiday, and in the exuberance of his heart penned the following letter23 to Phillips:—

[M. Faraday to R. Phillips.]

Brighton: November 29, 1831.

Dear Phillips,—For once in my life I am able to sit down and write to you without feeling that my time is so little that my letter must of necessity be a short one and accordingly I have taken an extra large sheet of paper intending to fill it with news and yet as to news I have none for I withdraw more and more from Society, and all I have to say is about myself.

But how are you getting on? are you comfortable? and how does Mrs. Phillips do; and the girls? Bad correspondant as I am, I think you owe me a letter and as in the course of half an hour you will be doubly in my debt pray write us, and let us know all about you. Mrs. Faraday wishes me not to forget to put her kind remembrances to you and Mrs. Phillips in my letter.

To-morrow is St. Andrew’s day,24 but we shall be here until Thursday. I have made arrangements to be out of the Council and care little for the rest although I should as a matter of curiosity have liked to see the Duke in the chair on such an occasion.

We are here to refresh. I have been working and writing a paper and that always knocks me up in health, but now I feel well again and able to pursue my subject and now I will tell you what it is about. The title will be, I think, Experimental Researches in Electricity: §I. On the induction of electric currents. § II. On the evolution of Electricity from magnetism. § III. On a New electrical condition of matter. § IV. On Arago’s magnetic phenomena. There is a bill of fare for you; and what is more I hope it will not disappoint you.115 Now the pith of all this I must give you very briefly; the demonstrations you shall have in the paper when printed—

THE PITH OF THE DISCOVERY.

§ I. When an electric current is passed through one of two parallel wires it causes at first a current in the same direction25 through the other, but this induced current does not last a moment, notwithstanding the inducing current (from the Voltaic battery) is continued all seems unchanged except that the principal current continues its course, but when the current is stopped then a return current occurs in the wire under induction of about the same intensity and momentary duration but in the opposite direction to that first found. Electricity in currents therefore exerts an inductive action like ordinary electricity but subject to peculiar laws: the effects are a current in the same direction when the induction is established: a reverse current when the induction ceases and a peculiar state in the interim. Common electricity probably does the same thing but as it is at present impossible to separate the beginning and the end of a spark or discharge from each other, all the effects are simultaneous and neutralise each other—

§ II. Then I found that magnets would induce just like voltaic currents and by bringing helices and wires and jackets up to the poles of magnets, electrical currents were produced in them these currents being able to deflect the galvanometer, or to make, by means of the helix, magnetic needles, or in one case even to give a spark. Hence the evolution of electricity from magnetism. The currents were not permanent, they ceased the moment the wires ceased to approach the magnet because the new and apparently quiescent state was assumed just as in the case of the induction of currents. But when the magnet was removed, and its induction therefore ceased, the return currents appeared as before. These two kinds of induction I have distinguished by the terms Volta-electric and Magneto-electric induction. Their identity of action and116 results is, I think, a very powerful proof of the truth of M. Ampère’s theory of magnetism.

A JUBILANT EPISTLE.

§ III. The new electrical condition which intervenes by induction between the beginning and end of the inducing current gives rise to some very curious results. It explains why chemical action or other results of electricity have never been as yet obtained in trials with the magnet. In fact, the currents have no sensible duration. I believe it will explain perfectly the transference of elements between the poles of the pile in decomposition but this part of the subject I have reserved until the present experiments are completed and it is so analogous, in some of its effects to those of Ritter’s secondary piles, De la Rive and Van Beck’s peculiar properties of the poles of a voltaic pile, that I should not wonder if they all proved ultimately to depend on this state. The condition of matter I have dignified by the term Electrotonic, The Electrotonic State. What do you think of that? Am I not a bold man, ignorant as I am, to coin words but I have consulted the scholars,26 and now for § IV. The new state has enabled me to make out and explain all Arago’s phenomena of the rotating magnet or copper plate, I believe, perfectly; but as great names are concerned Arago, Babbage, Herschel, &c., and as I have to differ from them, I have spoken with that modesty which you so well know you and I and John Frost27 have in common, and for which the world so justly commends us. I am even half afraid to tell you what it is. You will think I am hoaxing you, or else in your compassion you may conclude I am deceiving myself. However, you need do neither, but had better laugh, as I did most heartily when I found that it was neither attraction nor repulsion, but just one of my old rotations in a new form. I cannot explain to you all the actions, which are very curious; but in consequence of the117 electrotonic state being assumed and lost as the parts of the plate whirl under the pole, and in consequence of magneto-electric induction, currents of electricity are formed in the direction of the radii; continuing, for simple reasons, as long as the motion continues, but ceasing when that ceases. Hence the wonder is explained that the metal has powers on the magnet when moving, but not when at rest. Hence is also explained the effect which Arago observed, and which made him contradict Babbage and Herschel, and say the power was repulsive; but, as a whole, it is really tangential. It is quite comfortable to me to find that experiment need not quail before mathematics, but is quite competent to rival it in discovery; and I am amused to find that what the high mathematicians have announced as the essential condition to the rotation—namely, that time is required—has so little foundation, that if the time could by possibility be anticipated instead of being required—i.e. if the currents could be formed before the magnet came over the place instead of after—the effect would equally ensue. Adieu, dear Phillips.

Excuse this egotistical letter from yours very faithfully,

M. Faraday.

The second section shows that Faraday had discovered the cause of all the previous failures to evoke electric currents in wires by means of a magnet: it required relative motion. What the magnet at rest fails to do, the magnet in motion accomplishes. This crucial point is admirably commemorated in the following impromptu given by Mr. Herbert Mayo to Sir Charles Wheatstone:—

Around the magnet Faraday
Was sure that Volta’s lightnings play:
But how to draw them from the wire?
He took a lesson from the heart:
’Tis when we meet, ’tis when we part,
Breaks forth the electric fire.

118

Faraday’s holiday was brief; by December 5 he was again at work on his researches. He re-observed the directions of the induced currents about which, as the slip in his letter to Phillips shows, his mind was in some doubt. Then on December 14th comes the entry:—“Tried the effects of terrestrial magnetism in evolving electricity. Obtained beautiful results.”

“The helix had the soft iron cylinder (freed from magnetism by a full red heat and cooling slowly) put into it, and it was then connected with the galvanometer by wires eight foot long; then inverted the bar and helix, and immediately the needle moved; inverted it again, the needle moved back; and, by repeating the motion with the oscillations of the needle, made the latter vibrate 180°, or more.”

The same day he “made Arago’s experiment with the earth magnet, only no magnet used, but the plate put horizontal and rotated. The effect at the needle was slight but very distinct.... Hence Arago’s plate a new electrical machine.”

POINTS IN THE DISCOVERY.

When we compare these manuscript notes, recording the experiments in the order in which they were made with the published account of them in the “Experimental Researches,” we find many of them transcribed almost verbatim. But there is a difference in the order of their arrangement. In point of time the experiments on the evolution of electricity from magnetism, beginning with the ring (p. 108), preceded those on the induction of a current by another current. In the printed “Researches” the experiments on the induction of currents are put first, with an introductory paragraph on the general phenomenon119 of induction.28 Faraday’s habit of working up an experiment—whether successful or unsuccessful—by increasing the power to the maximum available is illustrated in the course of the experiments on the iron ring. At first he used a battery of ten pairs of plates four inches square. Then, having been eminently successful in producing deflexions of his galvanometer, he increased the battery to one hundred pairs of plates, with the result that when contact was completed or broken in the primary circuit the impulse on the galvanometer in the secondary circuit was so great as to make the needle spin round rapidly four or five times before its motion was reduced to a mere oscillation. Then he removed the galvanometer and fixed small pencils of charcoal to the ends of the secondary helix; and to his great joy perceived a minute spark between the lightly touching charcoal points whenever the contact of the battery to the primary helix was completed. This was the first120 transformer, for the first time set—on a small scale—to produce a tiny electric light. The spark he regarded as a precious indication that what he was producing really was an electric current. Using the great compound steel magnet of the Royal Society (constructed by Dr. Gowin Knight) at Christie’s house at Woolwich he had, as narrated above, also obtained a spark from the induced current. For some time he failed to obtain either physiological or chemical effects. But upon repeating the experiments more at leisure at the Royal Institution, with Daniell’s armed loadstone capable of lifting thirty pounds, a frog was found to be convulsed very strongly each time magnetic contact between the magnet and the iron core of the experimental coil was made or broken.

The absence of evidence as to chemical action seemed still to disquiet him. He wanted to be sure that his induced currents would do everything that ordinary voltaic currents would do. Failing the final proof from chemical action, he rested the case on the other identical properties. “But an agent,” he says, “which is conducted along metallic wires in the manner described; which, whilst so passing, possesses the peculiar magnetic actions and force of a current of electricity; which can agitate and convulse the limbs of a frog; and which, finally, can produce a spark by its discharge through charcoal, can only be electricity. As all the effects can be produced by ferruginous electro-magnets, there is no doubt that arrangements like the magnets of Professors Moll, Henry, Ten Eyke, and others, in which as many as two thousand pounds have been lifted, may be used121 for these experiments; in which case not only a brighter spark may be obtained, but wires also ignited, and as the currents can pass liquids, chemical action be produced. These effects are still more likely to be obtained when the magneto-electric arrangements, to be explained in the fourth section, are excited by the powers of such apparatus.” The apparatus described in the fourth section comprised several forms of magneto-electric machines, that is to say, primitive kinds of dynamos. Having in his mind the phenomenon discovered by Arago, and the experiments of Babbage and Herschel on the so-called magnetism of rotation, he followed up the idea that these effects might be due to induced currents eddying round in the copper disc. No sooner had he obtained electricity from magnets than he attempted to make Arago’s experiment a new source of electricity, and, as he himself says, “did not despair” “of being able to construct a new electrical machine.”

Fig. 6. (Facsimile of Original Sketch.)

122

A NEW ELECTRICAL MACHINE.

The “new electrical machine” was an exceedingly simple contrivance. A disc of copper, twelve inches in diameter (Fig. 6), and about one-fifth of an inch in thickness, fixed upon a brass axle, was mounted in frames, so as to allow of revolution, its edge being at the same time introduced between the magnetic poles of a large compound permanent magnet, the poles being about half an inch apart.29 The magnet first used was the historical magnet of Gowin Knight. The edge of the plate was well amalgamated, for the purpose of obtaining a good but movable contact, and a part round the axle was also prepared in a similar manner. Conducting strips of copper and lead, to serve as electric collectors, were prepared, so as to be placed in contact with the edge of the copper disc; one of these was held by hand to touch the edge of the disc between the magnet poles. The wires from a galvanometer were connected, the one to the collecting-strip, the other to the brass axle; then on revolving the disc a deflexion of the galvanometer was obtained, which was reversed in direction when the direction of the rotation was reversed. “Here, therefore, was demonstrated the production of a permanent current of electricity by ordinary magnets.” These effects were also obtained from the poles of electro-magnets, and from copper helices without iron cores. Several other forms of magneto-electric machines were tried by Faraday.

123

NEW FORMS OF APPARATUS.
Fig. 7.

In one,30 a flat ring of twelve inches’ external diameter, and one inch broad, was cut from a thick copper plate, and mounted to revolve between the poles of the magnet, two conductors being applied to make rubbing contact at the inner and outer edge at the part which passed between the magnetic poles. In another,31 a disc of copper, one-fifth of an inch thick and only 1½ inch in diameter (Fig. 7), was amalgamated at the edge, and mounted on a copper axle. A square piece of sheet metal had a circular hole cut in it, into which the disc fitted loosely; a little mercury completed communication between the disc and its surrounding ring. The latter was connected by wire to a galvanometer; the other wire being connected from the instrument to the end of the axle. Upon rotating the disc in a horizontal plane, currents were obtained, though the earth was the only magnet employed.

Fig. 8.

Faraday also proposed a multiple machine32 having several discs, metallically connected alternately at the124 edges and centres by means of mercury, which were then to be revolved alternately in opposite directions, In another apparatus,33 a copper cylinder (Fig. 8), closed at one extremity, was put over a magnet, one half of which it enclosed like a cap, and to which it was attached without making metallic contact. The arrangement was then floated upright in a narrow jar of mercury, so that the lower edge of the copper cap touched the fluid. On rotating the magnet and its attached cap, a current was sent through wires from the mercury to the top of the copper cap. In another apparatus,34 still preserved at the Royal Institution, a cylindrical bar magnet, half immersed in mercury, was made to rotate, and generated a current, its own metal serving as a conductor. In another form,35 the cylindrical magnet was rotated horizontally about its own axis, and was found to generate currents which125 flowed from the middle to the ends, or vice versâ, according to the rotation. The description of these new electrical machines is concluded with the following pregnant words:—

AN EARTH-INDUCTOR.

I have rather, however, been desirous of discovering new facts and relations dependent on magneto-electric induction, than of exalting the force of those already obtained; being assured that the latter would find their full development hereafter.

Fig. 9.

In yet another machine (Fig. 9), constructed by Faraday some time later,36 a simple rectangle of copper wire w, attached to a frame, was rotated about a horizontal axis placed east and west, and generated alternate currents, which could be collected by a simple commutator c.

Within a few months machines on the principle of magneto-induction had been devised by Dal Negro, and by Pixii. In the latter’s apparatus a steel horseshoe magnet, with its poles upwards, was caused to rotate about a vertical shaft, inducing alternating currents in a pair of bobbins fixed above it, and126 provided with a horseshoe core of soft iron. Later, in 1832, Pixii produced, at the suggestion of Ampère,37 a second machine, provided with mercury cup connections to rectify the alternations of the current. One of these machines was shown at the British Association meeting at Oxford in the same year (p. 64).

The idea developed in the third part of this research was intensely original and suggestive. Faraday’s own statement is as follows:—

THE ELECTROTONIC STATE.

Whilst the wire is subject to either volta-electric or magneto-electric induction, it appears to be in a peculiar state; for it resists the formation of an electrical current in it, whereas, if left in its common condition, such a current would be produced; and when left uninfluenced it has the power of originating a current, a power which the wire does not possess under common circumstances. This electrical condition of matter has not hitherto been recognised, but it probably exerts a very important influence in many, if not most, of the phenomena produced by currents of electricity. For reasons which will immediately appear, I have, after advising with several learned friends, ventured to designate it as the electrotonic state.

This peculiar condition shows no known electrical effects whilst it continues; nor have I yet been able to discover any peculiar powers exerted or properties possessed by matter whilst retained in this state.

* * * * *

This state is altogether the effect of the induction exerted, and ceases as soon as the inductive force is removed.... The state appears to be instantly assumed, requiring hardly a sensible portion of time for that purpose.... In all those cases where the helices or wires are advanced towards or taken from the magnet, the direct or inverted current of127 induced electricity continues for the time occupied in the advance or recession; for the electro-tonic state is rising to a higher or falling to a lower degree during that time, and the change is accompanied by its corresponding evolution of electricity; but these form no objections to the opinion that the electro-tonic state is instantly assumed.

This peculiar state appears to be a state of tension, and may be considered as equivalent to a current of electricity, at least equal to that produced either when the condition is induced or destroyed.

Faraday further supposed that the formation of this state in the neighbourhood of a coil would exert a reaction upon the original current, giving rise to a retardation of it; but he was unable at the time to ascertain experimentally whether this was so. He even looked—though also unsuccessfully—for a self-induced return current from a conductor of copper through which a strong current was led and then suddenly interrupted, the expected current of reaction being “due to the discharge of its supposed electrotonic state.”

If we would understand the rather obscure language in which this idea of an electrotonic state is couched, we must try to put ourselves back to the epoch when it was written. At that date the only ideas which had been formulated to explain magnetic and electric attractions and repulsions were founded upon the notion of action at a distance. Michell had propounded the view that the electric and magnetic forces vary, like gravity, according to a law of the inverse squares of the distances. Coulomb, in a series of experiments requiring extraordinary patience as well as delicacy of manipulation, had shown—by an128 application of Michell’s torsion balance—that in particular cases where the electric charges are concentrated on small spheres, or where the magnetic poles are small, so as to act as mere points, this law—which is essentially a geometric law of point-action—is approximately fulfilled. The mathematicians, Laplace and Poisson at their head, had seized on this demonstration and had elaborated their mathematical theories. Before them, though the research lay for a century unpublished, Cavendish had shown that the only law of force as between one element of an electric charge and another compatible with a charge being in equilibrium was the law of inverse squares. But in all these mathematical reasonings one thing had been quite left out of sight—namely, the possible properties of the intervening medium. Faraday, to whom the idea of mere action at a distance was abhorrent, if not unthinkable, conceived of all these forces of attraction and repulsion as effects taking place by something going on in the intervening medium, as effects propagated from point to point continuously through space. In his earlier work on the electromagnetic rotations he had grown to regard the space around the conducting wire as being affected by the so-called current; and the space about the poles of a magnet he knew to be traversed by curved magnetic lines, invisible indeed, but real, needing only the simplest of expedients—the sprinkling of iron filings—to reveal their existence and trend. When therefore he found that these new effects of the induction of one electric current by another could likewise cross an intervening space, whether empty or filled with material bodies,129 he instinctively sought to ascribe this propagation of the effect to a property or state of the medium. And finding that state to be different from any state previously known, different from the state existing between two magnets at rest or between two stationary electric charges, he followed the entirely philosophical course of exploring its properties and of denoting it by a name which he deemed appropriate. As we shall see, this idea of an electrotonic state recurred in his later researches with new and important connotations.

Fig. 10.

He was soon at work again, as we have seen.

He experimented, in January, 1832, on the currents produced by the earth’s rotation—on the 10th at the round pond in Kensington Gardens, and on the 12th and 13th at Waterloo Bridge.

A SPARK FROM A MAGNET.

“This evening,” he writes in his notebook under date February 8, “at Woolwich, experimenting with magnet,38 and for the first time got the magnetic spark myself. Connected ends of a helix into two general ends, and then crossed the wires in such a way that a blow at a b would open them a little [Fig. 10]. Then130 bringing a b against the poles of a magnet, the ends were disjoined, and bright sparks resulted.”

From succeeding with a steel magnet it was but a short step to succeed when a natural loadstone was used. The next day we find this entry:—“At home succeeded beautifully with Mr. Daniell’s magnet. Amalgamation of wires very needful. This is a natural loadstone, and perhaps the first used for the spark.”

He sent to the Royal Society an account of these and the earlier experiments; his paper on terrestrial magneto-electric induction, and on the force and direction of magneto-electric induction, received the distinction of being read as the Bakerian lecture of the year.

TYNDALL’S SUMMARY.

The following summary of this second paper is from the pen of Professor Tyndall:—

He placed a bar of iron in a coil of wire, and lifting the bar into the direction of the dipping needle, he excited by this action a current in the coil. On reversing the bar, a current in the opposite direction rushed through the wire. The same effect was produced, when, on holding the helix in the line of dip, a bar of iron was thrust into it. Here, however, the earth acted on the coil through the intermediation of the bar of iron. He abandoned the bar, and simply set a copper plate spinning in a horizontal plane; he knew that the earth’s lines of magnetic force then crossed the plate at an angle of about 70°. When the plate spun round, the lines of force were intersected and induced currents generated, which produced their proper effect when carried from the plate to the galvanometer. “When the plate was in the magnetic meridian, or in any other plane coinciding with the magnetic dip, then its rotation produced no effect upon the galvanometer.”

131

At the suggestion of a mind fruitful in suggestions of a profound and philosophic character—I mean that of Sir John Herschel—Mr. Barlow, of Woolwich, had experimented with a rotating iron shell. Mr. Christie had also performed an elaborate series of experiments on a rotating iron disc. Both of them had found that when in rotation the body exercised a peculiar action upon the magnetic needle, deflecting it in a manner which was not observed during quiescence; but neither of them was aware at the time of the agent which produced this extraordinary deflection. They ascribed it to some change in the magnetism of the iron shell and disc.

But Faraday at once saw that his induced currents must come into play here, and he immediately obtained them from an iron disc. With a hollow brass ball, moreover, he produced the effects obtained by Mr. Barlow. Iron was in no way necessary; the only condition of success was that the rotating body should be of a character to admit of the formation of currents in its substance; it must, in other words, be a conductor of electricity. The higher the conducting power, the more copious were the currents. He now passes from his little brass globe to the globe of the earth. He plays like a magician with the earth’s magnetism. He sees the invisible lines along which its magnetic action is exerted, and, sweeping his wand across these lines, he evokes this new power. Placing a simple loop of wire round a magnetic needle, he bends its upper portion to the west; the north pole of the needle immediately swerves to the east; he bends his loop to the east, and the north pole moves to the west. Suspending a common bar magnet in a vertical position, he causes it to spin round its own axis. Its pole being connected with one end of a galvanometer wire, and its equator with the other end, electricity rushes round the galvanometer from the rotating magnet. He remarks upon the “singular independence” of the magnetism and the body of the magnet which carries it. The steel behaves as if it were isolated from its own magnetism.

And then his thoughts suddenly widen, and he asks himself whether the rotating earth does not generate induced currents as it turns round its axis from west to east. In his experiment132 with the twirling magnet the galvanometer wire remained at rest; one portion of the circuit was in motion relatively to another portion. But in the case of the twirling planet the galvanometer wire would necessarily be carried along with the earth; there would be no relative motion. What must be the consequence? Take the case of a telegraph wire with its two terminal plates dipped into the earth, and suppose the wire to lie in the magnetic meridian. The ground underneath the wire is influenced, like the wire itself, by the earth’s rotation; if a current from south to north be generated in the wire, a similar current from south to north would be generated in the earth under the wire; these currents would run against the same terminal plate, and thus neutralise each other.

This inference appears inevitable, but his profound vision perceived its possible invalidity. He saw that it was at least possible that the difference of conducting power between the earth and the wire might give one an advantage over the other, and that thus a residual or differential current might be obtained. He combined wires of different materials, and caused them to act in opposition to each other, but found the combination ineffectual. The more copious flow in the better conductor was exactly counterbalanced by the resistance of the worst. Still, though experiment was thus emphatic, he would clear his mind of all discomfort by operating on the earth itself. He went to the round lake near Kensington Palace, and stretched 480 feet of copper wire, north and south, over the lake, causing plates soldered to the wire at its ends to dip into the water. The copper wire was severed at the middle, and the severed ends connected with a galvanometer. No effect whatever was observed. But though quiescent water gave no effect, moving water might. He therefore worked at Waterloo Bridge for three days, during the ebb and flow of the tide, but without any satisfactory result. Still he urges, “Theoretically it seems a necessary consequence, that where water is flowing there electric currents should be formed. If a line be imagined passing from Dover to Calais through the sea and returning through the land, beneath the water, to Dover, it traces out a circuit of conducting matter, one part of which,133 when the water moves up or down the Channel, is cutting the magnetic curves of the earth, whilst the other is relatively at rest.... There is every reason to believe that currents do run in the general direction of the circuit described, either one way or the other, according as the passage of the waters is up or down the Channel.” This was written before the submarine cable was thought of, and he once informed me that actual observation upon that cable had been found to be in accordance with his theoretic deduction.

Fig. 11.

It may here be apposite to discuss a fundamental question raised in these researches. In Faraday’s mind there arose the conviction of a connection between the induction of currents by magnets and the magnetic lines which invisibly fill all the space in the neighbourhood of the magnet. That relation he discovered and announced in the following terms:—

THE LAW OF INDUCTION.

“The relation which holds between the magnetic pole, the moving wire or metal, and the direction of the current evolved—i.e. the law which governs the evolution of electricity by magneto-electric induction, is very simple, though rather difficult to express. If in Fig. 11, P N represent a horizontal wire passing by a marked [i.e. ‘north-seeking’] magnetic pole, so that the direction of its motion shall coincide with the curved line proceeding from below upwards; or if134 its motion parallel to itself be in a line tangential to the curved line, but in the general direction of the arrows; or if it pass the pole in other directions, but so as to cut the magnetic curves39 in the same general direction, or on the same side as they would be cut by the wire if moving along the dotted curved line; then the current of electricity in the wire is from P to N. If it be carried in the reverse direction, the electric current will be from N to P. Or if the wire be in the vertical position, figured P´ N´, and it be carried in similar directions, coinciding with the dotted horizontal curve so far as to cut the magnetic curves on the same side with it, the current will be from to .”

CUTTING THE MAGNETIC LINES.

When resuming the research in December, Faraday investigated the point whether it was essential or not that the moving wire should, in “cutting” the magnetic curves, pass into positions of greater or lesser magnetic force; or whether, always intersecting curves of equal magnetic intensity, the mere motion sufficed for the production of the current. He found the latter to be true. This notion of cutting the invisible magnetic lines as the essential act necessary and sufficient for induction was entirely original with Faraday. For long it proved a stumbling-block to the abstract mathematicians, since there was, in most cases, no direct or easy way in which to express the number of magnetic lines that were cut. Neither had any convention been adopted up to that time as135 to how to reckon numerically the number of magnetic lines in any given space near a magnet. Later, in 1851, Faraday himself gave greater precision to these ideas. He found that the current was proportional to the velocity, when the conductor was moving in a uniform magnetic field with a uniform motion. Also, that the quantity of electricity thrown by induction into the circuit was directly proportional to the “amount of curves intersected.” The following passage, from Clerk Maxwell’s article on Faraday in the “Encyclopædia Britannica,” admirably sums up the matter:—

The magnitude and originality of Faraday’s achievement may be estimated by tracing the subsequent history of his discovery. As might be expected, it was at once made the subject of investigation by the whole scientific world, but some of the most experienced physicists were unable to avoid mistakes in stating, in what they conceived to be more scientific language than Faraday’s, the phenomena before them. Up to the present time the mathematicians who have rejected Faraday’s method of stating his law as unworthy of the precision of their science, have never succeeded in devising any essentially different formula which shall fully express the phenomena without introducing hypotheses about the mutual action of things which have no physical existence, such as elements of currents which flow out of nothing, then along a wire, and finally sink into nothing again.

After nearly half a century of labour of this kind, we may say that, though the practical applications of Faraday’s discovery have increased and are increasing in number and value every year, no exception to the statement of these laws as given by Faraday has been discovered, no new law has been added to them, and Faraday’s original statement remains to this day the only one which asserts no more than can be verified by experiment, and the only one by which the theory136 of the phenomena can be expressed in a manner which is exactly and numerically accurate, and at the same time within the range of elementary methods of exposition.

In the year 1831, which witnessed this masterpiece of scientific research, Faraday was busy in many other ways. He was still undertaking chemical analyses and expert work for fees, as witness his letter to Phillips on p. 62. He was also, until November, on the Council of the Royal Society. To the “Philosophical Transactions” he contributed a paper “On Vibrating Surfaces,” in which he solved a problem in acoustics which had previously gone without explanation. It had long been known that in the experiments of obtaining the patterns called “Chladni’s figures,” by strewing powders upon vibrating plates, while the heavier powders, such as sand, moved into the nodal lines, lighter substances, such as lycopodium dust, collected in little circular heaps over the parts where the vibration was most energetic. Faraday’s explanation was that these lighter powders were caught and whirled about in little vortices which formed themselves at spots where the motions were of greatest amplitude.

He also wrote a paper “On a Peculiar Class of Optical Deceptions,” dealing with the illusions that result from the eye being shown in successive glimpses, as between the teeth of a revolving wheel, different views of a moving body. This research was, in effect, the starting point of a whole line of optical toys, beginning with the phenakistiscope or stroboscope, which developed through the zoetrope and praxino-scope into the kinematograph and animatograph of recent date.

137

LECTURES ON PHYSICAL SUBJECTS.

He gave four afternoon lectures at the Royal Institution and five Friday evening discourses. These were on optical deceptions, on light and phosphorescence, being an account of experiments recently made by Mr. Pearsall, chemical assistant in the Institution; on oxalamide, then recently discovered by M. Dumas; on Trevelyan’s experiments about the production of sound by heated bodies; and on the arrangements assumed by particles upon vibrating surfaces.

In 1832 he gave five Friday evening discourses, four of which related to his own researches. In August he entered upon the third series of “Experimental Researches in Electricity,” which was devoted to the identity of electricities derived from different sources, and on the relation by measure of common [i.e. frictional] and voltaic electricity. He did not like any doubt to hang about as to whether the electricity obtained from magnets by induction was really the same as that obtainable from other sources. Possibly he had in his mind the difficulties which had arisen thirty years before over the discoveries of Galvani and Volta, when it was so far doubted whether the electricity in currents from piles and batteries of cells was the same as the electricity evoked by friction, that the distinctive and misleading name of “galvanism” was assigned to the former. He commented on the circumstance that many philosophers—and he included Davy by name in an explicit reference—were vainly drawing distinctions40 between138 electricities from different sources, or at least doubting whether their identity were proven. His first point was to consider whether “common electricity,” “animal electricity,” and “magneto-electric currents” could, like “voltaic electricity,” produce chemical decompositions. He began by demonstrating that an ordinary electric discharge from a friction machine can affect a suitably disposed galvanometer. One of his instruments of sufficient sensitiveness was surrounded by an enclosing cage of double metal foil and wire-work, duly connected to “earth,” so as to render it independent of all disturbances by external electric charges in its neighbourhood. His “earth” for this purpose consisted of a stout metal wire connected through the pipes in the house to the metallic gas-pipes belonging to the public gas works of London, and also with the metallic water-pipes of London—an effectual “discharging train.” He used a friction electric machine with a glass plate 50 inches in diameter, and a Leyden-jar battery of fifteen jars, each having about 84 square inches of coated glass. This battery of jars was first charged from the machine and then discharged through a wet thread four feet long, and through the galvanometer to earth viâ the “discharging train.” Having by this means satisfied himself that these electric discharges could deflect a galvanometer, whether through the wet thread, a copper wire, or through water, or rarefied air, or by connection through points in air, he went on to the question of chemical decomposition. Dipping two silver wires into a drop of solution of sulphate of copper, he found that one of them became copper-plated139 by the electricity that was evolved by 100 or 200 turns of the disc machine. He bleached indigo, turned starch purple with iodine liberated from iodide of potassium, exactly as might have been done by a “volta-electric current” from a battery of cells. He also decomposed water, giving due recognition to the antecedent experiments of Van Troostwyk, Pearson, and Wollaston.

IDENTITY OF ELECTRICITIES.

In the paper which he drew up he compares these results with others made with electric discharges from an electric kite and with those of the torpedo and other electric fishes. He recapitulates the properties of magneto-electricity and the proofs now accumulating that it can decompose water. He drew up a schedule of the different effects which electricity can produce, and of the different sources of electricity, showing in tabular form how far each so-called kind of electricity had been found to produce each effect. The conclusion was that there is no philosophical difference between the different cases; since the phenomena produced by the different kinds of electricity differ not in their character but only in degree. “Electricity, whatever may be its source, is identical in its nature.” On comparing the effects produced by different discharges, he concludes that “if the same absolute quantity41 of electricity pass through the galvanometer, whatever may be its intensity, the deflecting force upon the magnetic needle is the same.” He was then able to go on to a140 quantitative comparison between the “quantity” of electricity from different sources, and came to the conclusion that both in magnetic deflection and in chemical force the current of electricity given by his standard battery for eight beats of his watch was equal to that of the friction machine evolved by thirty revolutions; further, that “the chemical power, like the magnetic force, is in direct proportion to the absolute quantity of electricity which passes.”

ELECTRO-CHEMICAL WORK.

This series of researches was published in January, 1833. In April of the same year he sent to the Royal Society another paper—the fourth series—on electric conduction. It arose from the surprising observation that, though water conducts, ice acts as a complete non-conductor. This led to an examination of the conducting power of fusible solids in general. He found that as a rule—excepting on the one hand the metals, which conduct whether solid or liquid, and on the other hand fatty bodies, which are always non-conductors—they assume conducting power when liquefied, and lose it when congealed. Chloride of lead, of silver, of potassium, and of sodium, and many chlorates, nitrates, sulphates, and many other salts and fusible substances were found to follow this rule. All the substances so found to act were compound bodies, and capable of decomposition by the current. When conduction ceased, decomposition ceased also. An apparent exception was found in sulphide of silver, which, when heated, acquired conducting powers even before it assumed the liquid state, yet decomposed in the solid state. This led him on to study electro-chemical141 decompositions more closely. Here he was following directly in the footsteps of his master Davy, whose discovery of the decomposition of potash and soda by the electric current had been one of the most prominent scientific advances resulting from the invention of the voltaic cell. The fifth series of researches, published in June, 1833, embodies the work. He first combats the prevailing opinion that the presence of water is necessary for electro-chemical decomposition; then analyses the views of various philosophers—Grotthuss, Davy, De la Rive, and others—who had discussed the question whether the decompositions are due to attractions exercised by the two poles of the electric circuit. This he contests in the most direct manner. Already he has reason to believe that for a given quantity of electricity passed through the liquid the amount of electro-chemical action is a constant quantity, and depends in no way on the distance of the particles of the decomposable substance from the poles. He regards the elements as progressing in two streams in opposite directions parallel to the current, while the poles “are merely the surfaces or doors by which the electricity enters into or passes out of the substance suffering decomposition.”

Amongst the laboratory notes of this time are many which were never published in the “Experimental Researches,” or of which only brief abstracts appeared. Some of these are of great interest.

Here is one literally transcribed:—

142

26 Feb. 1833.

Chloride Magnesium.—When solid and wire fuzed in non-conductor—When fuzed conducted very well and was decomposed A and P Pole much action and gas—chlorine? At N Pole Magnesium separated and no gas. Sometimes Magnesium burnt flying off in globules burning brilliantly. When wire at that pole put in water or white M A [muriatic acid] matter round it acted powerfully evolving hydrogen and forming Magnesia; and when wire and surrounding matter heated in spirit lamp Magnesium burnt with intense light into Magnesia. VERY GOOD EXPT.

This recalls the “capital experiment” entry which Sir Humphry Davy wrote after the account of his decomposition of caustic potash. On the 7th of April we come to a marvellous page of speculations. He has seen that liquids, both solutions and fused salts, can be decomposed by the current, and that at least one solid is capable of electrolysis. But he finds that alloys and metals are not decomposed. He finds that electrolysis is easiest for those compounds that consist of the most diverse elements, and is led on to speculate as to the possible constitution of those conductors that the current does not decompose. This may involve a recasting of accepted ideas; but from such a step he does not shrink, as the following extracts show:—

Metals may not be compounds of elements most frequently combined, but rather of such as are so similar to each other as to pass out of the limit of voltaic decomposition.

13th April (same page).

If voltaic decomposition of the kind I believe then review all substances upon the new view to see if they may not be decomposable, &c. &c. &c.

143

ATTRACTION BY POLES DOUBTED.

He has now found that the facts observed do not admit of being explained on the supposition that the motion of the ions is due to the attraction of the poles, and accordingly there follows the entry:—

(Ap. 13, 1833.)

A single element is never attracted by a pole, i.e. without attraction of other element at other pole. Hence doubt Mr. Brande’s Expts on attraction of gases and vapours. Doubt attraction by poles altogether.

To this subject he returned in 1834; an intervening memoir—the sixth—being taken up with the power of metals and solids to bring about the combination of gaseous bodies. In the seventh series, published in January, 1834, his first work is to explain the new terms which he has adopted, on the advice of Whewell, to express the facts. The so-called poles, being in his view merely doors or ways by which the current passes, he now terms electrodes, distinguishing the entrance and exit respectively as anode and cathode,42 while the decomposable liquid is termed an electrolyte, and the decomposing process electrolysis. “Finally,” he says, in a passage (here italicised) worthy to be engraved in gold for the essential truth it enunciates on a question of terminology, “I require a term to express those bodies which can pass to the electrodes, or,144 as they are usually called, the poles. Substances are frequently spoken of as being electronegative, or electropositive, according as they go under the supposed influence of a direct attraction to the positive or negative pole. But these terms are much too significant for the use to which I should have to put them; for though the meanings are perhaps right, they are only hypothetical, and may be wrong; and then, through a very imperceptible but still very dangerous, because continual, influence, they do great injury to science, by contracting and limiting the habitual views of those engaged in pursuing it. I propose to distinguish such bodies by calling those anions which go to the anode of the decomposing body; and those passing to the cathode, cations; and when I shall have occasion to speak of these together, I shall call them ions.43 Thus, the chloride of lead is an electrolyte, and when electrolyzed evolves the two ions, chlorine and lead, the former being an anion and the latter a cation.” In Faraday’s own bound volume of the “Experimental Researches” he has illustrated these terms by the sketch here reproduced. (Fig. 12.)

Faraday’s letter to Whewell when he consulted him as to the new words has not been preserved. He discarded, when the paper was printed, the terms he had first used. Whewell’s replies of April 25th and May 5th, 1834, have been preserved and are printed in Todhunter’s biography of Whewell. From the later of the two the following passage is extracted:—

145

NEW NOMENCLATURE.

[Whewell to Faraday], May 5, 1834.

If you take anode and cathode, I would propose for the two elements resulting from electrolysis the terms anion and cation, which are neuter participles signifying that which goes up, and that which goes down; and for the two together you might use the term ions.... The word is not a substantive in Greek, but it may easily be so taken, and I am persuaded that the brevity and simplicity of the terms you will thus have will in a fortnight procure their universal acceptation. The anion is that which goes to the anode, the cation is that which goes to the cathode. The th in the latter word arises from the aspirate in hodos (way), and therefore is not to be introduced in cases where the second term has not an aspirate, as ion has not.

Fig. 12.

On May 15th Faraday replied as follows:—

[Faraday to Whewell.]

I have taken your advice and the names, and use anode, cathode, anions, cations and ions; the last I shall have but little occasion for. I had some hot objections made to them here, and found myself very much in the condition of the man with his Son and Ass, who tried to please everybody; but when I held up the shield of your authority it was wonderful to observe how the tone of objection melted away. I am quite146 delighted with the facility of expression which the new terms give me, and shall ever be your debtor for the kind assistance you have given me.

As though to prepare the way for a still further cutting of himself adrift from the slavery of using terms that might be found misleading, he added the following note:—

It will be well understood that I am giving no opinion respecting the nature of the electric current now, beyond what I have done on former occasions; and that though I speak of the current as proceeding from the parts which are positive to those which are negative, it is merely in accordance with the conventional, though in some degree tacit, agreement entered into by scientific men, that they may have a constant, certain, and definite means of referring to the direction of the forces of that current.

The “former occasions” is a reference to an earlier suggestion that a current might mean anything progressive, whether a flow in one direction or two fluids moving in opposite directions, or merely vibrations, or, still more generally, progressive forces. He had expressly said that what we call the electric current “may perhaps best be conceived of as an axis of power having contrary forces, exactly equal in amount, in contrary directions.”

ELECTRO-CHEMICAL LAWS.

He then suggests as a measurer of current the standard form of electrolytic cell ever since known as the voltameter. He preferred that kind in which water is decomposed, the quantity of electricity which had flowed through it being measured by the quantity of the gas or gases evolved during the operation. Before adopting this he undertook careful experiments147 in which his fine manipulative skill, no less than his chemical experience, was called into service to verify the fact that the quantity of water decomposed was really proportionate to the quantity of electricity which has been passed through the instrument. Having this standard, he investigated numerous other cases of decomposition by the current, and so arrived at a substantial basis for the doctrine of definite electro-chemical action. Speaking of the substances into which electrolytes are divided by the current, and which he had called ions, he says: “They are combining bodies; are directly associated with the fundamental parts of the doctrine of chemical affinity; and have each a definite proportion, in which they are always evolved during electrolytic action.... I have proposed to call the numbers representing the proportions in which they are evolved electro-chemical equivalents. Thus hydrogen, oxygen, chlorine, iodine, lead, tin are ions; the three former are anions, the two metals cations, and 1, 8, 36, 125, 104, 58, are their electro-chemical equivalents nearly.”

This fundamental law being set upon an impregnable basis of facts, he goes on to speculate upon the absolute quantity of electricity or electric power belonging to different bodies; a notion which only within the last few years has found general acceptance.

In developing this theory he uses the following language:—

According to it [i.e. this theory], the equivalent weights of bodies are simply those quantities of them which contain equal quantities of electricity, or have naturally equal electric powers; it being the ELECTRICITY which determines the148 equivalent number, because it determines the combining force. Or, if we adopt the atomic theory or phraseology, then the atoms of bodies which are equivalents to each other in their ordinary chemical action, have equal quantities of electricity naturally associated with them. But I must confess I am jealous of the term atom....

Here we find the modern doctrine of electrons or unitary atomic charges, clearly formulated in 1834. In the course of this speculation he remarks that “if the electrical power which holds the elements of a grain of water in combination, or which makes a grain of oxygen or hydrogen in the right proportions unite into water when they are made to combine, could be thrown into the condition of a current, it would exactly equal the current required for the separation of that grain of water into its elements again.” And all this years before there was any doctrine of the conservation of energy to guide the mind of the philosopher! The passage just cited contains the germs of the thermodynamic theory of electromotive forces worked out a dozen years later by Sir William Thomson (now Lord Kelvin), by which theory we can predict the electromotive forces of any given chemical combination from a knowledge of the heat evolved by a given mass of the product in the act of combining.

ANOTHER UNSUCCESSFUL QUEST.

The eighth series of the researches, which was read in June, 1834, deals chiefly with voltaic cells and batteries of cells. He is now applying to the operations inside the primary cell the electrochemical principles learned by the study of electrolysis in secondary cells. His thoughts have been incessantly playing around the problem of electrolytic conduction.149 He was convinced that the forces which shear the anions from combination with the cations and transfer them in opposite directions must be inherent before the circuit is completed, and therefore before any actual transfer or movement takes place. “It seems to me impossible,” he says, “to resist the idea that it [the “transfer,” or “what is called the voltaic current”] must be preceded by a state of tension in the fluid. I have sought carefully for indications of a state of tension in the electrolytic conductor; and conceiving that it might produce something like structure, either before or during its discharge, I endeavoured to make this evident by polarised light.” He used a solution of sulphate of soda, but without the slightest trace of optical action in any direction of the ray. He repeated the experiment, using a solid electrolyte, borate of lead, in its non-conducting state, but equally without result.

During the time of these electrochemical researches in 1833 and 1834, Faraday’s activities for the Royal Institution were undiminished. In 1833 he gave seven Friday discourses, three of them on the researches in hand, one on Wheatstone’s investigation of the velocity of the electric spark, and one on the practical prevention of dry rot in timber, which was afterwards republished as a pamphlet, and ran to two editions. In 1834 he gave four Friday discourses; two on his electrochemical researches, one on Ericsson’s heat-engine, and the other on caoutchouc.

The ninth series of electrical researches occupied the autumn of 1834. In it he returns to the study of the magnetic and inductive actions of the current,150 investigating the self-induced spark at the break of the circuit, to which his attention had been directed by Mr. W. Jenkin. Several points in this research are little known even now to electricians, the laboratory notes being much more detailed than the published paper. He describes an exceedingly neat high-speed break for producing rapid interruptions, using for that purpose stationary ripples on the surface of a pool of mercury. In a wonderful day’s work on 13th November, filling thirty-four pages of the laboratory book, illustrated with numerous unpublished sketches, he tracks out the properties of self-induction. He proves that the spark (on breaking circuit) from a wire coiled up in a helix is far brighter than that from an identical wire laid out straight. He finds that a non-inductive and, therefore, sparkless coil can be made by winding the wire in two opposite helices. “Thus the whole [inductive] effect of the length of wire was neutralised by the reciprocal and contrary action of the two halves which constituted the helices in contrary directions.” The next day he writes: “These effects show that every part of an electric circuit is acting by induction on the neighbouring parts of the same current, even in the same wire and the same part of the wire.”

EFFECTS OF SELF-INDUCTION.

On 22nd November he is trying another set of experiments, also never fully published. They relate to the diminution of self-induction of a straight conductor by dividing it into several parallel strands at a small distance apart from one another. The note in the laboratory book runs thus:—

151

Copper wire 1/23 of inch in diameter. Six lengths of five feet each, soldered at ends to piece of copper plate so as form terminations, and these amalgamated. When this bundle was used to connect the electro-motor it gave but very feeble spark on breaking contact, but the spark was sensibly better when the wires are held together so as to act laterally than when they were opened out from each other, thus showing lateral action.

Made a larger bundle of the same fine copper wire. There were 20 lengths of 18 feet 2 inches each and the thick terminal pieces of copper wire 6 inches long and ⅓ of inch thick.

Fig. 13.

This bundle he compared with a length of 19 feet 6 inches of a single copper wire ⅕ inch in diameter, having about equal sectional area. The latter gave decidedly the largest sparks on breaking circuit.

Faraday did not see fit at this time to accept the idea, suggested indeed by himself in 1831, that these effects of self-induction were the analogue of momentum or inertia. That explanation he set aside on finding that the same wire when coiled had greater self-inductive action than when straight. Had he at that time grasped this analogy, he would have seen that the very property which gives rise to the spark at break of circuit also retards the rapid growth of a current; and then the experiment described above would have shown him that Sir W. Snow Harris was right in preferring flat copper ribbon to a round wire of equivalent section as a152 material for lightning conductors. He was, however, disappointed to find so small a difference between round wires and parallel strands. The memoir as published contains an exceedingly interesting conclusion:—

Notwithstanding that the effects appear only at the making and breaking of contact (the current, remaining unaffected, seemingly, in the interval,) I cannot resist the impression that there is some connected and correspondent effect produced by this lateral action of the elements of the electric stream during the time of its continuance. An action of this kind, in fact, is evident in the magnetic relations of the parts of the current. But admitting (as we may do for the moment) the magnetic forces to constitute the power which produces such striking and different results at the commencement and termination of a current, still there appears to be a link in the chain of effects—a wheel in the physical mechanism of the action, as yet unrecognised.

The tenth series of researches, on the voltaic battery, though completed in October, 1834, was not published till June, 1835.

ACTION IN A MEDIUM.

The next research, begun in the autumn of 1835, after a lull of about eight months, lasted over two years. It was not completed till December, 1837. This investigation took Faraday away from magnetic and electrochemical matters to the old subject of statical electric charges, a subject hitherto untouched in his researches. But he had long brooded over the question as to the nature of an electric charge. Over and over again, as he had watched the inductive effect of electric currents acting from wire to wire, his mind turned to the old problem of the inductive influence—discovered eighty years before, by John153 Canton—exerted, apparently at a distance, by electric charges. He had learned to distrust action at a distance, and now the time was ripe for a searching inquiry as to whether electric influence, or induction44 as it was then called, was also an action propagated by contiguous actions in the intervening medium.

Faraday had done no special electric work during the first nine months of 1835. He had worked at a chemical investigation of fluorine through the spring, and in July took a hurried tour in Switzerland, and returned to work at fluorine. Not till November 3rd does he turn to the subject over which he had been brooding. On that date, intercalated between notes of his chemical studies, filling a dozen pages of the laboratory book, are a magnificent series of speculations as to the nature of charges, and on the part played by the electric—or, as we should now say, the dielectric—medium. They begin thus:—

“Have been thinking much lately of the relation of common and voltaic electricity, of induction by the former and decomposition by the latter, and am quite convinced that there must be the closest connection. Will be first needful to make out the true character”—note the phrase—“of ordinary electrical phenomena.”154 The following notes are for experiment and observation.

“Does common electricity reside upon the surface of a conductor or upon the surface of the [di-]electric in contact with it?”

He goes on to consider the state of a dielectric substance, such as glass, when situated between a positively charged and a negatively charged surface, as in a charged Leyden jar, and argues from analogy thus:—

“Hence the state of the plate [of glass] under induction is the same as the state of a magnet, and if split or broken would present new P[ositive] and N[egative] surfaces before not at all evident.” This speculation was later verified by Matteucci.

“Probable that phenomena of induction prove more decidedly than anything else that the electricity is in the [di-]electric not in the conductor.”

He still worked for a week or two on fluorine, interposing some experiments on the temperature-limit of magnetisation, but on December 4th decides not to go on with fluorine at present. Then, beginning on December 5th, there follow twenty-nine pages of the laboratory diary, illustrated with sketches. He had borrowed from a Mr. Kipp a large deep copper pan thirty-five inches in diameter, and he set to work electrifying it and exploring the distribution of the charges, inside and out, and the inductive effect on objects placed within. Everywhere he is mentally comparing the distribution of the effects with that of the flow of currents in an electrolyte. Before many days he writes:—

155

PREGNANT SUGGESTIONS.

“It appears to me at present that ordinary and electrolytic induction are identical in their first nature, but that the latter is followed by an effect which cannot but from the nature and state of the substances take place with the former.” Then comes this pregnant suggestion:—

“Try induction through a solid crystalline body as to the consequent action on polarized light.”

By the end of a week he had begun to suspect that his magnet analogy went farther than he was at first prepared to hold. The action of a magnet was along curved lines of force. So he asks:—

“Can induction through air take place in curves or round a corner—can probably be found experimentally—if so not a radiating effect.”

After ten days more he has made another step.

“Electricity appears to exist only in polarity as in air, glass, electrolytes, etc. Now metals, being conductors, cannot take up that polar state of their own power, or rather retain it, and hence probably cannot retain developed electric forces.

* * * * *

“Metals, however, probably hold it for a moment, as other things do for a longer time; an end coming at last to all.”

This, it will be observed, is nothing more or less than Clerk Maxwell’s theory of conduction as being the breaking down of an electrostatic strain.

In January, 1836, followed the famous experiment of building a twelve-foot cube, which when electrified exteriorly to the utmost extent, showed inside no trace of electric forces. The account in the unpublished156 MS. of the laboratory book is, as is the case with so many of these middle-period researches, much fuller than the published résumé of them in the “Experimental Researches.” All through 1836 he was still at work. Even when on a holiday in the Isle of Wight, in August, he took his notebook with him, and writes:—

“After much consideration (here at Ryde) of the manner in which the electric forces are arranged in the various phenomena generally, I have come to certain conclusions which I will endeavour to note down without committing myself to any opinion as to the cause of electricity, i.e. as to the nature of the power. If electricity exist independently of matter, then I think that the hypothesis of one fluid will not stand against that of two fluids. There are, I think, evidently, what I may call two elements of power of equal force and acting towards each other. These may conventionally be represented by oxygen and hydrogen, which represent them in the voltaic battery. But these powers may be distinguished only by direction, and may be no more separate than the north and south forces in the elements of a magnetic needle. They may be the polar points of the forces originally placed in the particles of matter; and the description of the current as an axis of power which I have formerly given suggests some similar general impression for the forces of quiescent electricity. Law of electric tension might do, and though I shall use the terms positive and negative, by them I merely mean the termini of such lines.”

Right on until November 30th, 1837, this research157 was continued. The summary of this and the succeeding researches of 1838 on the same subject, drawn up by Professor Tyndall,45 is at once so masterly and so impartial that it cannot be bettered. It is therefore here transcribed without alteration.

ACTION AT A DISTANCE UNTHINKABLE.

His first great paper on frictional electricity was sent to the Royal Society on November 30, 1837. We here find him face to face with an idea which beset his mind throughout his whole subsequent life—the idea of action at a distance. It perplexed and bewildered him. In his attempts to get rid of this perplexity he was often unconsciously rebelling against the limitations of the intellect itself. He loved to quote Newton upon this point: over and over again he introduces his memorable words, “That gravity should be innate, inherent, and essential to matter, so that one body may act upon another at a distance through a vacuum and without the mediation of anything else, by and through which this action and force may be conveyed from one to another, is to me so great an absurdity, that I believe no man who has in philosophical matters a competent faculty of thinking can ever fall into it. Gravity must be caused by an agent acting constantly according to certain laws; but whether this agent be material or immaterial I have left to the consideration of my readers.”46

Faraday does not see the same difficulty in his contiguous particles. And yet by transferring the conception from masses to particles we simply lessen size and distance, but we do not alter the quality of the conception. Whatever difficulty the mind experiences in conceiving of action at sensible distances, besets it also when it attempts to conceive of action at insensible distances. Still the investigation of the point whether electric and magnetic effects were wrought out through the intervention of contiguous particles or not, had a physical interest altogether apart from the metaphysical difficulty. Faraday grapples with the subject experimentally. By simple intuition he sees that158 action at a distance must be exerted in straight lines. Gravity, he knows, will not turn a corner, but exerts its pull along a right line; hence his aim and effort to ascertain whether electric action ever takes place in curved lines. This once proved, it would follow that the action is carried on by means of a medium surrounding the electrified bodies. His experiments in 1837 reduced, in his opinion, this point to demonstration. He then found that he could electrify by induction an insulated sphere placed completely in the shadow of a body which screened it from direct action. He pictured the lines of electric force bending round the edges of the screen, and reuniting on the other side of it; and he proved that in many cases the augmentation of the distance between his insulated sphere and the inducing body, instead of lessening, increased the charge of the sphere. This he ascribed to the coalescence of the lines of electric force at some distance behind the screen.

SPECIFIC INDUCTIVE CAPACITY.

Faraday’s theoretic views on this subject have not received general acceptance, but they drove him to experiment, and experiment with him was always prolific of results. By suitable arrangements he places a metallic sphere in the middle of a large hollow sphere, leaving a space of something more than half an inch between them. The interior sphere was insulated, the external one uninsulated. To the former he communicated a definite charge of electricity. It acted by induction upon the concave surface of the latter, and he examined how this act of induction was affected by placing insulators of various kinds between the two spheres. He tried gases, liquids, and solids, but the solids alone gave him positive results. He constructed two instruments of the foregoing description, equal in size and similar in form. The interior sphere of each communicated with the external air by a brass stem ending in a knob. The apparatus was virtually a Leyden jar, the two coatings of which were the two spheres, with a thick and variable insulator between them. The amount of charge in each jar was determined by bringing a proof-plane into contact with its knob, and measuring by a torsion balance the charge taken away. He first charged one of his instruments, and then dividing the charge with the other, found that when air intervened in both159 cases, the charge was equally divided. But when shell-lac, sulphur, or spermaceti was interposed between the two spheres of one jar, while air occupied this interval in the other, then he found that the instrument occupied by the “solid dielectric” took more than half the original charge. A portion of the charge was absorbed in the dielectric itself. The electricity took time to penetrate the dielectric. Immediately after the discharge of the apparatus no trace of electricity was found upon its knob. But after a time electricity was found there, the charge having gradually returned from the dielectric in which it had been lodged. Different insulators possess this power of permitting the charge to enter them in different degrees. Faraday figured their particles as polarised, and he concluded that the force of induction is propagated from particle to particle of the dielectric from the inner sphere to the outer one. This power of propagation possessed by insulators he calls their “Specific Inductive Capacity.”

Fig. 14.

Faraday visualises with the utmost clearness the state of his contiguous particles; one after another they become160 charged, each succeeding particle depending for its charge upon its predecessor. And now he seeks to break down the wall of partition between conductors and insulators. “Can we not,” he says, “by a gradual chain of association carry up discharge from its occurrence in air through spermaceti and water to solutions, and then on to chlorides, oxides, and metals, without any essential change in its character?” Even copper, he urges, offers a resistance to the transmission of electricity. The action of its particles differs from those of an insulator only in degree. They are charged like the particles of the insulator, but they discharge with greater ease and rapidity; and this rapidity of molecular discharge is what we call conduction. Conduction, then, is always preceded by atomic induction; and when through some quality of the body, which Faraday does not define, the atomic discharge is rendered slow and difficult, conduction passes into insulation.

Though they are often obscure, a fine vein of philosophic thought runs through these investigations. The mind of the philosopher dwells amid those agencies which underlie the visible phenomena of induction and conduction; and he tries by the strong light of his imagination to see the very molecules of his dielectrics. It would, however, be easy to criticise these researches, easy to show the looseness, and sometimes the inaccuracy, of the phraseology employed; but this critical spirit will get little good out of Faraday. Rather let those who ponder his works seek to realise the object he set before him, not permitting his occasional vagueness to interfere with their appreciation of his speculations. We may see the ripples, and eddies, and vortices of a flowing stream, without being able to resolve all these motions into their constituent elements; and so it sometimes strikes me that Faraday clearly saw the play of fluids and ethers and atoms, though his previous training did not enable him to resolve what he saw into its constituents, or describe it in a manner satisfactory to a mind versed in mechanics. And then again occur, I confess, dark sayings, difficult to be understood, which disturb my confidence in this conclusion. It must, however, always be remembered that he works at the very boundaries of our knowledge, and161 that his mind habitually dwells in the “boundless contiguity of shade” by which that knowledge is surrounded.

CABLE RETARDATION PREDICTED.

In the researches now under review the ratio of speculation and reasoning to experiment is far higher than in any of Faraday’s previous works. Amid much that is entangled and dark we have flashes of wondrous insight and utterances which seem less the product of reasoning than of revelation. I will confine myself here to one example of this divining power:—By his most ingenious device of a rapidly rotating mirror, Wheatstone had proved that electricity required time to pass through a wire, the current reaching the middle of the wire later than its two ends. “If,” says Faraday, “the two ends of the wire in Professor Wheatstone’s experiments were immediately connected with two large insulated metallic surfaces exposed to the air, so that the primary act of induction, after making the contact for discharge, might be in part removed from the internal portion of the wire at the first instance, and disposed for the moment on its surface jointly with the air and surrounding conductors, then I venture to anticipate that the middle spark would be more retarded than before. And if those two plates were the inner and outer coatings of a large jar or Leyden battery, then the retardation of the spark would be much greater.” This was only a prediction, for the experiment was not made. Sixteen years subsequently, however, the proper conditions came into play, and Faraday was able to show that the observations of Werner Siemens and Latimer Clark on subterraneous and submarine wires were illustrations, on a grand scale, of the principle which he had enunciated in 1838. The wires and the surrounding water act as a Leyden jar, and the retardation of the current predicted by Faraday manifests itself in every message sent by such cables.

The meaning of Faraday in these memoirs on induction and conduction is, as I have said, by no means always clear; and the difficulty will be most felt by those who are best trained in ordinary theoretic conceptions. He does not know the reader’s needs, and he therefore does not meet them. For instance, he speaks over and over again of the162 impossibility of charging a body with one electricity, though the impossibility is by no means evident. The key to the difficulty is this. He looks upon every insulated conductor as the inner coating of a Leyden jar. An insulated sphere in the middle of a room is to his mind such a coating; the walls are the outer coating, while the air between both is the insulator, across which the charge acts by induction. Without this reaction of the walls upon the sphere, you could no more, according to Faraday, charge it with electricity than you could charge a Leyden jar, if its outer coating were removed. Distance with him is immaterial. His strength as a generaliser enables him to dissolve the idea of magnitude; and if you abolish the walls of the room—even the earth itself—he would make the sun and planets the outer coating of his jar. I dare not contend that Faraday in these memoirs made all these theoretic positions good. But a pure vein of philosophy runs through these writings; while his experiments and reasonings on the forms and phenomena of electrical discharge are of imperishable importance.

In another part of the twelfth memoir, not included in the above summary, Faraday deals with the disruptive discharge, and with the nature of the spark under varying conditions. This is continued on into the thirteenth memoir, read February, 1838, and is extended to the cases of “brush” and “glow” discharges. He discovered the existence of the very remarkable phenomenon of the “dark” discharge near the cathode in rarefied air. He sought to correlate all the various forms of discharge, as showing the essential nature of an electric current. “If a ball be electrified positively,” he says, “in the middle of a room, and be then moved in any direction, effects will be produced, as if a current in the same direction (to use the conventional mode163 of expression) had existed.” This is the theory of convection currents later adopted by Maxwell, and verified by experiment by Rowland in 1876.

COINAGE OF NEW WORDS.

In the course of this research on induction, Faraday had, as we have seen, been compelled to adopt new ideas, and therefore to adopt new names to denote them. The term dielectric for the medium in or across which the electric forces operate was one of these. As in previous cases, he consulted with his friends as to suitable terms. In this instance the following letter from Whewell explains itself. The letter to which it is a reply has not been preserved, but the reference to Faraday’s objection to the word current may be elucidated by a comparison with what Faraday wrote in criticism of that word on pages 146 and 212.

[Rev. W. Whewell to M. Faraday.]

Trin. Coll., Cambridge, Oct. 14, 1837.

My dear Sir,—I am always glad to hear of the progress of your researches, and never the less so because they require the fabrication of a new word or two. Such a coinage has always taken place at the great epochs of discovery; like the medals that are struck at the beginning of a new reign:—or rather like the change of currency produced by the accession of a new sovereign; for their value and influence consists in their coming into common circulation. I am not sure that I understand the views which you are at present bringing into shape sufficiently well to suggest any such terms as you think you want. I think that if I could have a quarter of an hour’s talk with you I should probably be able to construct terms that would record your new notions, so far as I could be made to understand them better than I can by means of letters: for it is difficult164 without question and discussion to catch the precise kind of relation which you want to express. However, by way of beginning such a discussion, I would ask you whether you want abstract terms to denote the different and related conditions of the body which exercises and the body which suffers induction? For though both are active and both passive it may still be convenient to suppose a certain ascendancy on one side. If so would two such words as inductricity and inducteity answer your purpose? They are not very monstrous in their form; and are sufficiently distinct. And if you want the corresponding adjectives you may call the one the inductric, and the other the inducteous body. This last word is rather a startling one; but if such relations are to be expressed, terminations are a good artifice, as we see in chemistry: and I have no doubt if you give the world facts and laws which are better expressed with than without such solecisms, they will soon accommodate to the phrases, as they have often done to worse ones. But I am rather in the dark as to whether this is the kind of relation which you want to indicate. If not, the attempt may perhaps serve to shew you where my dulness lies. I do not see my way any better as to the other terms, for I do not catch your objection to current, which appears to me to be capable of jogging on very well from cathode to anode, or vice versa. As for positive and negative, I do not see why cathodic and anodic should not be used, if they will do the service you want of them.

I expect to be in London at the end of the month, and could probably see you for half an hour on the 1st of November, say at 10, 11, or 12. But in the mean time I shall be glad to hear from you whether you can make anything of such conundrums as I have mentioned, and am always yours very truly,

W. Whewell.

M. Faraday Esqre.
Royal Institution.

165

LATERAL ACTIONS OF CURRENT.

The concluding part of the thirteenth memoir, in which these new terms are used, is an exceedingly striking speculation on the lateral or transverse effects of the current. In calling special attention to them, he says: “I refer of course to the magnetic action and its relations; but though this is the only recognised lateral action of the current, there is great reason for believing that others exist and would by their discovery reward a close search for them.” He seems to have had an instinctive perception of something that eluded his grasp. Not until after Maxwell had given mathematical form to Faraday’s own suggestions was this vision to be realised. He is dimly aware that there appears to be a lateral tension or repulsion possessed by the lines of electric inductive action; and onward runs his thought in free speculation:—

When current or discharge occurs between two bodies, previously under inductrical relations to each other, the lines of inductive force will weaken and fade away, and, as their lateral repulsive tension diminishes, will contract and ultimately disappear in the line of discharge. May not this be an effect identical with the attractions of similar currents? i.e. may not the passage of static electricity into current electricity, and that of the lateral tension of the lines of the inductive force into the lateral attraction of lines of similar discharge, have the same relation and dependences, and run parallel to each other?

Series fourteen of the memoirs is on the nature of the electric force and on the relation of the electric and magnetic forces, and comprises an inconclusive inquiry as to a possible relation between166 specific inductive capacity and axes of crystallisation in crystalline dielectrics—a relation later assumed as true by Maxwell even before it was demonstrated by Von Boltzmann. In this memoir, too, occurs a description of a simple but effective induction balance. Then he asks what happens to insulating substances, such as air or sulphur, when they are put in a place where the magnetic forces are varying; they ought, he thinks, to undergo some state or condition corresponding to the state that causes currents in metals and conductors, and, further, that state ought to be one of tension. “I have,” he says, “by rotating non-conducting bodies near magnetic poles, and poles near them, and also by causing powerful electric currents to be suddenly formed and to cease around and about insulators in various directions, endeavoured to make some such state sensible, but have not succeeded.” In short, he was looking for direct evidence of the existence of what Maxwell called “displacement currents”—evidence which was later found independently by the author and by Röntgen. And, again, there rises in his mind a perception of that electrotonic state which had haunted his earlier researches as a something imposed upon the surrounding medium during the growth or dying of an electric current.

INCESSANT ACTIVITIES.

In these years (1835–1838) Faraday was still indefatigable in his lecture duties. In 1835 he gave four Friday discourses, and in May and June eight afternoon lectures at the Royal Institution on the metals; also a course of fourteen lectures on electricity to the medical students at St. George’s167 Hospital. In 1836 he published in the Philosophical Magazine a paper on the magnetism of the metals—notable as containing the still unverified speculation that all metals would become magnetic in the same way as iron if only cooled to a sufficiently low temperature—and three other papers, including one on the “passive” state of iron. He gave four Friday discourses and six afternoon lectures on heat. In 1837 also four Friday night discourses and six afternoon lectures were delivered. In 1838 three Friday discourses and eight afternoon lectures on electricity, ending in June with a distinct enunciation of the doctrine of the transformations of “force” (i.e. energy) and its indestructibility, afforded evidence of his industry in this respect. At the same time he was giving scientific advice to the authorities of Trinity House as to their lighthouses.

The laboratory notebook for March to August, 1838, shows a long research, occupying nearly 100 folio pages, on the relation of specific inductive capacity to crystalline structure. This is followed by some experiments upon an electric eel, at the Royal Adelaide Gallery, with some unpublished sketches of the distribution in the water of the currents it emits. He proved, with great satisfaction, that the currents it gave were capable of producing magnetic effects, sparks, and chemical decomposition. These observations were embodied in the fifteenth series of memoirs.

One entry in the laboratory book, of date April 5th, 1838, is of great interest, as showing how his mind ever recurred to the possibility of finding a168 connection between optical and electric phenomena: “Must try polarized light across a crystalline dielectric under charge. Good reasons perhaps now evident why a non-crystalline dielectric should have no effect.”

Faraday was now feeling greatly the strain of all these years of work, and in 1839 did little research until the autumn. Then he returned to the question of the origin of the electromotive force of the voltaic cell, and by the end of the year completed two long papers on this vexed question; they formed the sixteenth and seventeenth series, and conclude the memoirs of this second period.

THE CONTACT THEORY OF ELECTRICITY.

In the eighth series, completed in April, 1834, on the “Electricity of the Voltaic Pile,” Faraday had dealt with the question—at that time a topic of excited controversy—of the origin of the electromotive force in a cell, Volta, who knew nothing of the chemical actions, ascribed it to the contact of dissimilar metals, whilst Wollaston, Becquerel, and De la Rive considered it the result of chemical actions. The controversy has long ceased to interest the scientific world; for, with the recognition of the principle of the conservation of energy, it became evident that mere contact cannot provide a continuing supply of energy. It would now be altogether dead but for the survival of a belief in the contact theory on the part of one of the most honoured veterans in science. But in the years 1834 to 1840 it was of absorbing interest. Faraday’s work quietly removed the props which supported the older theory, and it crumbled away. He found169 that the chemical and electrical effects in the cell were proportional one to the other, and inseparable. He discovered a way of making a cell without any metallic contacts. He showed that without chemical action there was no current produced. But his results were ignored for the time. After six years Faraday reopened the question. Again the admirable summary of Professor Tyndall is drawn upon for the following account:—

The memoir on the “Electricity of the Voltaic Pile,” published in 1834, appears to have produced but little impression upon the supporters of the contact theory. These indeed were men of too great intellectual weight and insight lightly to take up, or lightly to abandon, a theory. Faraday therefore resumed the attack in two papers communicated to the Royal Society on February 6 and March 19, 1840. In these papers he hampered his antagonists by a crowd of adverse experiments. He hung difficulty after difficulty about the neck of the contact theory, until in its efforts to escape from his assaults it so changed its character as to become a thing totally different from the theory proposed by Volta. The more persistently it was defended, however, the more clearly did it show itself to be a congeries of devices, bearing the stamp of dialectic skill rather than that of natural truth.

In conclusion, Faraday brought to bear upon it an argument which, had its full weight and purport been understood at the time, would have instantly decided the controversy. “The contact theory,” he urged, “assumes that a force which is able to overcome powerful resistance, as for instance that of the conductors, good or bad, through which the current passes, and that again of the electrolytic action where bodies are decomposed by it, can arise out of nothing; that without any change in the acting matter, or the consumption of any generating force, a current shall be produced which shall170 go on for ever against a constant resistance, or only be stopped, as in the voltaic trough, by the ruins which its exertion has heaped up in its own course. This would indeed be a creation of power, and is like no other force in nature. We have many processes by which the form of the power may be so changed, that an apparent conversion of one into the other takes place. So we can change chemical force into the electric current, or the current into chemical force. The beautiful experiments of Seebeck and Peltier show the convertibility of heat and electricity; and others by Oersted and myself show the convertibility of electricity and magnetism. But in no case, not even in those of the gymnotus and torpedo, is there a pure creation or a production of power without a corresponding exhaustion of something to supply it.

In 1839 Faraday gave five Friday discourses and a course of eight afternoon lectures on the non-metallic elements. In 1840 he gave three Friday discourses and seven lectures on chemical affinity. But in the summer came the serious breakdown alluded to on page 75. He did no experimental work after September 14th, nor indeed for nearly two years. Even then it was only a temporary return to research to investigate the source of the electrification produced by steam in the remarkable experiments of Mr. (afterwards Lord) Armstrong. He proved it to be due to friction. This done, he continued to rest from research until the middle of 1844, though he lectured a little for the Royal Institution. In 1841 he gave the juvenile lectures. In 1842 he gave two Friday discourses, one of them being on the lateral discharge in lightning-rods. He also gave the Christmas lectures on electricity.

END OF SECOND ACTIVE PERIOD.

In 1843 he gave three Friday discourses, one171 of which was on the electricity generated by a jet of steam; and repeated the eight afternoon lectures he had given in 1838. In 1844 he gave eight lectures on heat and two Friday discourses. He also resumed research on the condensation of gases, and vainly tried to liquefy oxygen and hydrogen, though he succeeded with ammonia and nitrous oxide.

During these years of rest he also did a little work for Trinity House, chiefly concerning lighthouses and their ventilation.


Throughout the fruitful ten years of Faraday’s middle period two magistral ideas had slowly grown up in his mind, and as he let his thought play about the objects of his daily activities, these ideas possessed and dominated him as no newly suggested idea could have done. They were the correlation and inter-convertibility of the forces of nature, and the optical relations of magnetism and electricity.

During the period of enforced rest, from 1839 to 1844, these ideas had been ever with him. His was a mind which during times of quiet brooding did not cease to advance. In silence his thoughts arranged themselves in readiness for the next period of activity, and his work, when it began again, was all the more fruitful for the antecedent period of cogitation.

OPTICAL ANALYSIS.

On August 30th, 1845, Faraday for the sixth time set to work in his laboratory to search for the connection between light and electricity for which he had so often looked, and about which he had so boldly speculated. He began by looking for some effect to be produced on polarised light by passing it through a liquid which was undergoing electrolysis. What effect precisely he expected to observe is173 unknown. Doubtless he had an open mind to perceive effects of any kind had such occurred. Earlier in the century the phenomena of polarised light had been worked out in great detail, through a host of beautiful phenomena, by Arago, Biot, Brewster, and others; and their discoveries had shown that this agent is capable of revealing in transparent substances details of structure which otherwise would be quite invisible. Placed between two Nicol prisms or two slices of tourmaline, to serve respectively as “polariser” and “analyser,” thin sheets of transparent crystal—selenite or mica—were made to reveal the fact that they possessed an axis of maximum elasticity. For when the analyser and polariser were set in the “crossed” position, where the one would cut off all the luminous vibrations that the other would transmit, no light would be visible to the observer, unless in the intervening space there were interposed some substance endowed with one of two properties, either that of resolving some part of the vibrations into an oblique direction or else that of rotating the plane of the vibrations to right or to left. If either of these things is done, light appears through the analyser. It is thus that structure is observed in horn and in starch grains. It is thus that the strains in a piece of compressed glass are made visible. It is thus that crystalline structures generally can be studied. It is thus that the discovery was made of the substances which possess the strange property of twisting or rotating the plane of polarisation of light—namely, quartz crystal, solutions of sugar and of certain alkaloids, and certain other174 liquids, such as turpentine. Such was the agent which Faraday proposed to employ to detect whether electric forces impress any quality resembling that of structure upon transparent materials.

The notes begin with the words:—

“I have had a glass trough made 24 inches long, 1 inch wide and about 1½ deep, in which to decompose electrolites and, whilst under decomposition, along which I could pass a ray of light in different conditions and afterwards examine it.”

He put into this trough two platinum electrodes and a solution of sulphate of soda, but could find no effects. Eight pages of the notebook are filled with details all leading to negative results. For ten days he worked at these experiments with liquid electrolytes. The substances used were distilled water, solution of sugar, dilute sulphuric acid, solution of sulphate of soda (using platinum electrodes), and solution of sulphate of copper (using copper electrodes). The current was sent along the ray, and perpendicular to it in two directions at right angles with each other. The ray was made to rotate, by altering the position of the polariser (in this case a black-glass mirror at the proper angle), so that the plane of polarisation might be varied. The current was used as a continuous current, as a rapidly intermitting current, and as a rapidly alternating induction current; but in no case was any trace of action perceived.

A DIFFICULT RESEARCH.

Then he turned to solid dielectrics to see if under electric strain they would yield any optical effect. He had indeed so far back as 1838 tried the experiment of coating two opposite faces of a glass cube175 with metal foil plates that were then electrified by a powerful electric machine. But the experiment had no result. This experiment he now repeats with a score of elaborate variations, trying both crystalline and non-crystalline dielectrics. Rock-crystal, Iceland spar, flint glass, heavy-glass, turpentine, and air, had a beam of polarised light passed through them, and at the same time “lines of electrostatic tension” were, by means of the coatings, Leyden jars, and the electric machine, directed across these bodies, both parallel to the polarised ray and across it, both in and across the plane of polarisation; but again without any visible effect. Then he tries on the same bodies, and on water, the “tension” of a rapidly alternating induced current, but still with the same negative result. Professor Tyndall stated that from conversation with Faraday, and with his faithful assistant Anderson, he inferred that the labour expended on this preliminary and apparently fruitless research was very great. It occupies many pages of the laboratory notebook. That thirty-two years later Dr. Kerr succeeded in finding this optical effect of electrostatic strain for which Faraday vainly sought, is no reflection upon Faraday’s powers of observation. Had there been no Faraday there had doubtless been no discovery by Kerr.

So far the quest had been carried on either with electric currents flowing through the transparent substance or else with mere statical electric forces, and a whole fortnight had been spent without result. Now another track is taken, and it leads straight to success. He substitutes magnetic for electric forces.

176

MAGNETO-OPTIC DISCOVERY.

“13th Sept. 1845.

Fig. 15.

“To-day worked with lines of magnetic force, passing them across different bodies transparent in different directions, and at the same time passing a polarized ray of light through them, and afterwards examining the ray by a Nichol’s Eye-piece or other means. The magnets were Electro-magnets one being our large cylinder Electro-magnet and the other a temporary iron core put into the helix on a frame. This was not nearly so strong as the former. The current of 5 cells of Grove’s battery was sent through both helices at once and the magnets were made and unmade by putting in or stopping off the electric current.” Air, flint-glass, rock-crystal, calcareous spar, were examined, but without effect. And so he worked on through the morning, trying first one specimen, then another, altering the directions of the poles of his magnets, reversing their polarity, changing the position of his optical apparatus, increasing the battery-power of his magnetising current. Then he bethinks him of that “heavy-glass”—the boro-silicate of lead—which had cost him nearly four years of precious labour during the first period of his177 scientific life. The entry in the notebook is characteristic.

Fig. 16.

“A piece of heavy glass, which was 2 inches by 1·8 inches and 0·5 of an inch thick, being a silico-borate of lead, was experimented with. It gave no effects when the same magnetic poles or the contrary poles were on opposite sides (as respects the course of the polarised ray);—nor when the same poles were on the same side either with the constant or intermitting current; BUT when contrary magnetic poles were on the same side there was an effect produced on the polarised ray, and thus magnetic force and light were proved to have relations to each other. This fact will most likely prove exceedingly fertile, and of great value in the investigation of conditions of natural force.

“The effect was of this kind. The glass, a result of one of my old experiments on optical glass, had178 been exceedingly well annealed so that it did not in any degree affect the polarized ray. The two magnetic poles were in a horizontal plane, and the piece of glass put up flat against them so that the polarized ray could pass through its edges and be examined by the eye at a Nicholl’s eye piece. In its natural state the glass had no effect on the polarized ray but on making contact at the battery so as to render the cores N and S magnets instantly the glass acquired a certain degree of power of depolarizing the ray which it retained steadily as long as the cores were magnets but which it lost the instant the electric current was stopped. Hence it was a permanent condition and as was expected did not sensibly appear with an intermitting current.

Fig. 17.

“The effect was not influenced by any jogging motion or any moderate pressure of the hands on the glass.

“The heavy glass had tinfoil coatings on its two sides but when these were taken off the effect remained exactly the same.

“A mass of soft iron on the outside of the heavy glass greatly diminished the effect [see Fig. 17]....

“All this shews that it is when the polarized ray passes parallel to the lines of magnetic induction179 or rather to the direction of the magnetic curves, that the glass manifests its power of affecting the ray. So that the heavy glass in its magnetized state corresponds to the cube of rock crystal: the direction of the magnetic curves in the piece of glass corresponding to the direction of the optic axis in the crystal (see Exp. Researches 1689–1698)....

Fig. 18.

“Employed our large ring electro-magnet which is very powerful and has of course the poles in the right [position] only they are very close not more than [0·5] of an inch apart. When the heavy glass was put up against it the effect was produced better than in any former case....

ENOUGH FOR TO-DAY.

“Have got enough for to-day.”

The description which he published in the “Researches” of the first successful experiment is as follows:—

“A piece of this glass about 2 inches square and 0·5 of an inch thick, having flat and polished edges, was placed as a diamagnetic47 between the180 poles (not as yet magnetized by the electric current), so that the polarized ray should pass through its length; the glass acted as air, water, or any other indifferent substance would do; and if the eye-piece [i.e. analyzer] were previously turned into such a position that the polarized ray was extinguished, or rather the image produced by it rendered invisible, then the introduction of this glass made no alteration in that respect. In this state of circumstances the force of the electromagnet was developed, by sending an electric current through its coils, and immediately the image of the lamp-flame became visible, and continued so as long as the arrangement continued magnetic. On stopping the electric current, and so causing the magnetic force to cease, the light instantly disappeared; these phænomena could be renewed at pleasure, at any instant of time, and upon any occasion, showing a perfect dependence of cause and effect.”

He paused for four days in order to procure more powerful electromagnets, for the effect which he had observed was exceedingly slight: “A person looking for the phænomenon for the first time would not be able to see it with a weak magnet.”

The entry in the notebook begins again:—

“18th Sept. 1845.

“Have now borrowed and received the Woolwich magnet.”

181

AN EXCELLENT DAY’S WORK.

This was a more powerful electromagnet than that at the Institution. With this he sets to work with such energy that twelve pages of the laboratory book are filled in one day. His thoughts had ripened during the five days, and he advanced rapidly from point to point. The first experiment with the Woolwich magnet brings out another point, of which at once he grasped the significance:—

“Heavy Glass (original, or 17448) when placed thus produced a very fine effect. The brightness of the image produced rose gradually not instantly, due to this that the iron cores do not take their full intensity of magnetic state at once but require time, and so the magnetic curves rise in intensity. In this way the effect is one by which an optical examination of the electromagnet can be made—and the time necessary clearly shewn.”

He next ascertains definitely that the phenomenon is one of rotatory polarisation—that is to say, the action of the magnet is to twist and rotate the plane of polarisation through a definite angle depending on the strength of the magnet and the direction of the exciting current. He finds the direction of the rotation, and verifies it by comparison with the ordinary optical rotation produced by turpentine and by a solution of sugar, winding up with the words:—

An excellent day’s work.

For four days he went on accumulating proofs, and now succeeding with the very substances with182 which he formerly failed. On September 26th he tried the conjoint effect of a magnetic and an electric field. He also tried the effect of a current running along a transparent liquid electrolytically whilst the magnet was in operation. The only results appeared to be those due to the magnet alone. For six days in October the experiments were continued. He noted, as a desideratum, a transparent oxide of iron. “With some degree of curiosity and hope” he “put gold leaf into the magnetic lines, but could perceive no effect.” He was instinctively looking for the phenomenon which Kundt later discovered as a property of thin transparent films of iron. He entered amongst the speculative suggestions in his notebook the query: “Does this [magnetic] force tend to make iron and oxide of iron transparent?” On October 3rd he tried experiments on light reflected from the surface of metals placed in the magnetic field. He indeed obtained an optical rotation by reflection at the surface of a polished steel button, but the results were inconclusive owing to imperfection of the surface. It was reserved for Dr. Kerr to rediscover and follow up this effect. On October 6th he looked for mechanical and magnetic effects on pieces of heavy-glass and on liquids in glass bulbs placed between the poles of his magnet, but found none. He also looked for possible effects of rapid motion given to the diamagnetic while jointly subject to the action of magnetism and the light, but found none.

UNFULFILLED EXPECTATIONS.

On October 11th he thinks he has got hold of another new fact when experimenting on liquids in a183 long glass tube, the record of it filling three pages. But two days afterwards he finds it only a disturbing effect due to the communication of heat to the liquid from the surrounding magnetising coil. He seems to regret the loss of the new fact, but adds: “As to the other phenomenon of circular polarization, that comes out constant, clear, and beautiful.”

Then, with that idea of the correlation of forces always in his head, there recurs to him the notion that if magnetism or electric currents can affect a beam of light, there must be some sort of converse phenomenon, and that in some way or other light must be able to electrify or to magnetise. Thirty-one years before, when visiting Rome with Davy, he had witnessed the experiments of Morichini on the alleged magnetic effect of violet light, and had remained unconvinced. His own idea is very different. And October 14th being a bright day with good sunlight, he makes the attempt. Selecting a very sensitive galvanometer, he connects it to a spiral of wire 1 inch in diameter, 4·2 inches long, of 56 convolutions, and then directs a beam of sunlight along its axis. He tries letting the beam pass alternately through the coil while the outside is covered, and then along the exterior while the interior is shaded. But still there is no effect. Then he inserts an unmagnetised steel bar within the coil, and rotates it while it is exposed to the sun’s rays. Still there is no effect, and the sun goes down on another of the unfulfilled expectations. But had he lived to learn of the effect of light in altering the electric resistance of selenium discovered by Mayhew, of the184 photoelectric currents discovered by Becquerel, of the discharging action of ultra-violet light discovered by Hertz, of the revivifying effect of light on recently demagnetised iron discovered by Bidwell, he would have rejoiced that such other correlations should have been found, though different from that which he sought. On November 3rd he receives a new horseshoe magnet, with which he hoped to find some optical effect on air and other gases, but again without result. That the magnetism of the earth does actually rotate the plane of polarisation of sky light was the discovery of Henri Becquerel so late as 1878.

Faithful to his own maxim: “Work, finish, publish,” Faraday lost no time in writing out his research. It was presented to the Royal Society on November 6th, but the main result was verbally mentioned on November 3rd at the monthly meeting of the Royal Institution, and reported in the Athenæum of November 8th, 1845.

But even before the memoir was thus given to the world another discovery had been made. For on November 4th with the new magnet he repeated an experiment which a month previously had been without result. So preoccupied was he over the new event that he did not even go to the meeting of the Royal Society on November 20th, when his paper on the “Action of Magnets on Light” was read. What that new discovery was is well told by Faraday himself in the letter which he sent to Professor A. de la Rive on December 4th:—

185

FRESH MAGNETIC DISCOVERY.

[Faraday to Professor Aug. de la Rive.]

Brighton, December 4, 1845.

My Dear Friend,— * * * I count upon you as one of those whose free hearts have pleasure in my success, and I am very grateful to you for it. I have had your last letter by me on my desk for several weeks, intending to answer it; but absolutely I have not been able, for of late I have shut myself up in my laboratory and wrought, to the exclusion of everything else. I heard afterwards that even your brother had called on one of these days and been excluded.

Well, a part of this result is that which you have heard, and my paper was read to the Royal Society, I believe, last Thursday, for I was not there; and I also understand there have been notices in the Athenæum, but I have not had time to see them, and I do not know how they are done. However, I can refer you to the Times of last Saturday (November 29th) for a very good abstract of the paper. I do not know who put it in, but it is well done, though brief. To that account, therefore, I will refer you.

For I am still so involved in discovery that I have hardly time for my meals, and am here at Brighton both to refresh and work my head at once, and I feel that unless I had been here, and been careful, I could not have continued my labours. The consequence has been that last Monday I announced to our members at the Royal Institution another discovery, of which I will give you the pith in a few words. The paper will go to the Royal Society next week, and probably be read as shortly after as they can there find it convenient.

Many years ago I worked upon optical glass, and made a vitreous compound of silica, boracic acid, and lead, which I will now call heavy glass, and which Amici uses in some of his microscopes; and it was this substance which enabled me first to act on light by magnetic and electric forces. Now, if a square bar of this substance, about half an inch thick and two inches long, be very freely suspended between the poles of a powerful horse-shoe electro-magnet, immediately that the magnetic force is developed, the bar points; but it does not186 point from pole to pole, but equatorially or across the magnetic lines of force—i.e. east and west in respect of the north and south poles. If it be moved from this position it returns to it, and this continues as long as the magnetic force is in action. This effect is the result of a still simpler action of the magnet on the bar than what appears by the experiment, and which may be obtained at a single magnetic pole. For if a cubical or rounded piece of the glass be suspended by a fine thread six or eight feet long, and allowed to hang very near a strong magneto-electric pole (not as yet made active), then on rendering the pole magnetic the glass will be repelled, and continue repelled until the magnetism ceases. This effect or power I have worked out through a great number of its forms and strange consequences, and they will occupy two series of the “Experimental Researches.” It belongs to all matter (not magnetic, as iron) without exception, so that every substance belongs to the one or the other class—magnetic or diamagnetic bodies. The law of action in its simple form is that such matter tends to go from strong to weak points of magnetic force, and in doing this the substance will go in either direction along the magnetic curves, or in either direction across them. It is curious that amongst the metals are found bodies possessing this property in as high a degree as perhaps any other substance. In fact, I do not know at present whether heavy glass, or bismuth, or phosphorus is the most striking in this respect. I have very little doubt that you have an electro-magnet strong enough to enable you to verify the chief facts of pointing equatorially and repulsion, if you will use bismuth carefully examined as to its freedom from magnetism, and making of it a bar an inch and a half long, and one-third or one-fourth of an inch wide. Let me, however, ask the favour of your keeping this fact to yourself for two or three weeks, and preserving the date of this letter as a record. I ought (in order to preserve the respect due to the Royal Society) not to write a description to anyone until the paper has been received or even read there. After three weeks or a month I think you may use it, guarding, as I am sure you will do, my right.187 And now, my dear friend, I must conclude, and hasten to work again. But first give my kindest respects to Madame de la Rive, and many thanks to your brother for his call.

Ever your obedient and affectionate friend,

M. Faraday.

MAGNETIC EXPERIMENTS.

The discovery of diamagnetism which Faraday thus announced was in itself a notable achievement. As Tyndall points out, the discovery itself was in all probability due to Faraday’s habit of not regarding as final any negative result of an experiment until he had brought to bear upon it the most powerful resources at his command. He had tried the effects of ordinary magnets on brass and copper and other materials commonly considered as non-magnetic. But when, for the purpose of the preceding research on the relation of magnetism to light, he had deliberately procured electromagnets of unusual power, he again tried what their effect might be upon non-magnetic stuffs. Suspending a piece of his heavy glass near the poles in a stirrup of writing-paper slung upon the end of a long thread of cocoon silk, he found it to experience a strong mechanical action when the magnet was stimulated by turning on the current. His precision of description is characteristic:—

I shall have such frequent occasion to refer to two chief positions of position across the magnetic field, that, to avoid periphrasis, I will here ask leave to use a term or two conditionally. One of these directions is that from pole to pole, or along the lines of magnetic force, I will call it the axial direction; the other is the direction perpendicular to this, and across the line of magnetic force and for the time,188 and as respects the space between the poles, I will call it the equatorial direction.

Note the occurrence in the above passage for the first time of the term “the magnetic field.” Faraday’s description of the discovery continues as follows:—

The bar of silicated borate of lead or heavy glass already described as the substance in which magnetic forces were first made effectually to bear on a ray of light, and which is 2 inches long, and about 0·5 inch wide and thick, was suspended centrally between the magnetic poles, and left until the effect of torsion was over. The magnet was then thrown into action by making contact at the voltaic battery. Immediately the bar moved, turning round its point of suspension, into a position across the magnetic curve or line of force, and, after a few vibrations, took up its place of rest there. On being displaced by hand from this position it returned to it, and this occurred many times in succession.

Fig. 19.

Either end of the bar indifferently went to either side of the axial line. The determining circumstance was simply inclination of the bar one way or the other to the axial line at the beginning of the experiment. If a particular or marked end of the bar were on one side of the magnetic or axial line when the magnet was rendered active, that end went further outwards until the bar had taken up the equatorial position....

Here, then, we have a magnetic bar which points east and west in relation to north and south poles—i.e. points perpendicularly to the lines of magnetic force....

189

DIAMAGNETIC LAWS.

To produce these effects of pointing across the magnetic curves, the form of the heavy glass must be long. A cube or a fragment approaching roundness in form will not point, but a long piece will. Two or three rounded pieces or cubes, placed side by side in a paper tray, so as to form an oblong accumulation, will also point.

Portions, however, of any form are repelled; so if two pieces be hung up at once in the axial line, one near each pole, they are repelled by their respective poles, and approach, seeming to attract each other. Or if two pieces be hung up in the equatorial line, one on each side of the axis, then they both recede from the axis, seeming to repel each other.

From the little that has been said, it is evident that the bar presents in its motion a complicated result of the force exerted by the magnetic power over the heavy glass, and that when cubes or spheres are employed a much simpler indication of the effect may be obtained. Accordingly, when a cube was thus used with the two poles, the effect was repulsion or recession from either pole, and also recession from the magnetic axis on either side.

So the indicating particle would move either along the magnetic curves or across them, and it would do this either in one direction or the other, the only constant point being that its tendency was to move from stronger to weaker places of magnetic force.

This appeared much more simply in the case of a single magnetic pole, for then the tendency of the indicating cube or sphere was to move outwards in the direction of the magnetic lines of force. The appearance was remarkably like a case of weak electric repulsion.

The cause of the pointing of the bar, or any oblong arrangement of the heavy glass, is now evident. It is merely a result of the tendency of the particles to move outwards, or into the positions of weakest magnetic action.

* * * * *

When the bar of heavy glass is immersed in water, alcohol, or æther, contained in a vessel between the poles, all190 the preceding effects occur—the bar points and the cube recedes exactly in the same manner as in air.

The effects equally occur in vessels of wood, stone, earth, copper, lead, silver, or any of those substances which belong to the diamagnetic class.

I have obtained the same equatorial direction and motions of the heavy glass bar as those just described, but in a very feeble degree, by the use of a good common steel horseshoe magnet.

Then he goes on to enumerate the many bodies of all sorts: crystals, powders, liquids, acids, oils; organic bodies such as wax, olive-oil, wood, beef (fresh and dry), blood, apple, and bread, all of which were found to be diamagnetic. On this he remarks:—

It is curious to see such a list as this of bodies presenting on a sudden this remarkable property, and it is strange to find a piece of wood, or beef, or apple, obedient to or repelled by a magnet. If a man could be suspended with sufficient delicacy after the manner of Dufay, and placed in the magnetic field, he would point equatorially, for all the substances of which he is formed, including the blood, possess this property.

THE MAGNETIC BRAKE.

A few bodies were found to be feebly magnetic, including paper, sealing-wax, china ink, asbestos, fluorspar, peroxide of lead, tourmaline, plumbago, and charcoal. As to the metals, he found iron, cobalt, and nickel to stand in a distinct class. A feeble magnetic action in platinum, palladium, and titanium was suspected to be due to traces of iron in them. Bismuth proved to be the most strongly diamagnetic, and was specially studied. The repellent effect between bismuth and a magnet had indeed been casually observed twice in the prior history of191 science, first by Brugmans, then by Le Baillif. Faraday, with characteristic frankness, refers to his having a “vague impression” that the repulsion of bismuth by a magnet had been observed before, though unable at the time of writing to recollect any reference. His own experiments ran over the whole range of substances, however, and demonstrated the universal existence in greater or less degree of this magnetic nature. Certain differences observed between the behaviour of bismuth and of heavy glass on the one hand, and of copper on the other hand, though all are diamagnetic, led him to note and describe some of the pseudo-diamagnetic effects which occur in copper and silver, in consequence of the induction in them of eddy-currents, from which heavy-glass and bismuth are, by their inferior electric conductivity, comparatively free. He described the beautiful and now classical experiment of arresting, by turning on the exciting current, the rotation of a copper cylinder spinning between the poles of an electromagnet.

Faraday continued to prosecute this newest line of research, and at the end of December, 1845, presented another memoir (the twenty-first series of the Experimental Researches) to the Royal Society. He had now examined the salts of iron, and had found that every salt and compound containing iron in the basic part was magnetic, both in the solid and in the liquid state. Even prussian-blue and green bottle-glass were magnetic. The solutions of the salts of iron were of special importance, since they furnish the means of making a magnet which is for the time192 liquid, transparent, and, within certain limits, adjustable in strength. His next step was to examine how bodies behaved when immersed in some surrounding medium. A weak solution of iron, enclosed in a very thin glass tube, though it pointed axially when hung in air, pointed equatorially when immersed in a stronger solution. A tube full of air pointed axially, and was attracted as if magnetic when surrounded with water. Substances such as bismuth, copper, and phosphorus are, however, highly diamagnetic when suspended in vacuo. Such a view would make mere space magnetic. Hence Faraday inclined at first to the opinion that diamagnetics had a specific action antithetically distinct from ordinary magnetic action. Several times he pointed out that all the phenomena resolve themselves simply into this, that a portion of such matter as is termed diamagnetic tends to move from stronger to places or points of weaker force in the magnetic field. He does, indeed, hazard the suggestion that the phenomena might be explained on the assumption that there was a sort of diamagnetic polarity—that magnetic induction caused in them a contrary state to that which it produced in ordinary magnetic matter. But his own experiments failed to support this view, and, in opposition to Weber and Tyndall, he maintained afterwards the non-polar nature of diamagnetic action.

In 1846 Faraday gave two Friday night discourses on these magnetic researches, one on the cohesive force of water, and one on Wheatstone’s electromagnetic chronoscope. At the conclusion of the193 last-named he said that he was induced to utter a speculation which had long been gaining strength in his mind, that perhaps those vibrations by which radiant energies, such as light, heat, actinic rays, etc., convey their force through space are not mere vibrations of an æther, but of the lines of force which, in his view, connect different masses, and so was inclined, in his own phrase, “to dismiss the æther.” In one of his other discourses he made the suggestion that we might “perhaps hereafter obtain magnetism from light.”

THOUGHTS ON RAY VIBRATIONS.

The speculation above referred to is of such intrinsic importance, in view of the developments of the last decade, that it compels further notice. Faraday himself further expanded it in a letter to Richard Phillips, which was printed in the Philosophical Magazine for May, 1846, under the title “Thoughts on Ray-vibrations.” In this avowedly speculative paper Faraday touched the highest point in his scientific writings, and threw out, though in a tentative and fragmentary way, brilliant hints of that which his imagination had perceived, as in a vision;—the doctrine now known as the electromagnetic theory of light. At the dates when the earlier biographies of Faraday appeared, neither that doctrine nor this paper had received the recognition due to its importance. Tyndall dismisses it as “one of the most singular speculations that ever emanated from a scientific man.” Bence Jones just mentions it in half a line. Dr. Gladstone does not allude to it. It therefore seems expedient to give here some extracts from the letter itself:—

194

THOUGHTS ON RAY-VIBRATIONS.

To Richard Phillips, Esq.

Dear Sir,—At your request, I will endeavour to convey to you a notion of that which I ventured to say at the close of the last Friday evening meeting ...; but, from first to last, understand that I merely threw out, as matter for speculation, the vague impressions of my mind, for I gave nothing as the result of sufficient consideration, or as the settled conviction, or even probable conclusion at which I had arrived.

The point intended to be set forth for the consideration of the hearers was whether it was not possible that the vibrations—which in a certain theory are assumed to account for radiation and radiant phenomena—may not occur in the lines of force which connect particles, and consequently masses, of matter together—a notion which, as far as it is admitted, will dispense with the æther, which, in another view, is supposed to be the medium in which these vibrations take place.

* * * * *

Another consideration bearing conjointly on the hypothetical view, both of matter and radiation, arises from the comparison of the velocities with which the radiant action and certain powers of matter are transmitted. The velocity of light through space is about 190,000 miles49 a second. The velocity of electricity is, by the experiments of Wheatstone, shown to be as great as this, if not greater. The light is supposed to be transmitted by vibrations through an æther which is, so to speak, destitute of gravitation, but infinite in elasticity; the electricity is transmitted through a small metallic wire, and is often viewed as transmitted by vibrations also. That the electric transference depends on the forces or powers of the matter of the wire can hardly be doubted when195 we consider the different conductibility of the various metallic and other bodies, the means of affecting it by heat or cold, the way in which conducting bodies by combination enter into the constitution of non-conducting substances, and the contrary, and the actual existence of one elementary body (carbon) both in the conducting and non-conducting state. The power of electric conduction, being a transmission of force equal in velocity to that of light, appears to be tied up in and dependent upon the properties of the matter, and is, as it were, existent in them.

* * * * *
LATERAL VIBRATIONS.
Fig. 20.

In experimental philosophy we can, by the phenomena presented, recognise various kinds of lines of force. Thus there are the lines of gravitating force, those of electrostatic induction, those of magnetic action, and others partaking of a dynamic character might be perhaps included. The lines of electric and magnetic action are by many considered as exerted through space like the lines of gravitating force. For my own part, I incline to believe that when there are intervening particles of matter—being themselves only centres of force—they take part in carrying on the force through the line, but that when there are none the line proceeds through space. Whatever the view adopted respecting them may be, we can, at all events, affect these lines of force in a manner which may be conceived as partaking of the nature of a shake or lateral vibration. For suppose two bodies, A B, distant from each other, and under mutual action,50 and therefore196 connected by lines of force, and let us fix our attention upon one resultant of force having an invariable direction as regards space; if one of the bodies move in the least degree right or left, or if its power be shifted for a moment within the mass (neither of these cases being difficult to realise if A or B be either electric or magnetic bodies), then an effect equivalent to a lateral disturbance will take place in the resultant upon which we are fixing our attention, for either it will increase in force whilst the neighbouring resultants are diminishing, or it will fall in force while they are increasing.

* * * * *

The view which I am so bold as to put forth considers, therefore, radiation as a high species of vibration in the lines of force which are known to connect particles, and also masses, of matter together. It endeavours to dismiss the æther, but not the vibrations. The kind of vibration which, I believe, can alone account for the wonderful, varied, and beautiful phenomena of polarisation is not the same as that which occurs on the surface of disturbed water or the waves of sound in gases or liquids, for the vibrations in these cases are direct, or to and from the centre of action, whereas the former are lateral. It seems to me that the resultant of two or more lines of force is in an apt condition for that action, which may be considered as equivalent to a lateral vibration; whereas a uniform medium like the æther does not appear apt, or more apt than air or water.

The occurrence of a change at one end of a line of force easily suggests a consequent change at the other. The propagation of light, and therefore probably of all radiant action, occupies time; and that a vibration of the line of force should account for the phenomena of radiation, it is necessary that such vibration should occupy time also.

* * * * *
THE SHADOW OF A SPECULATION.

And now, my dear Phillips I must conclude. I do not think I should have allowed these notions to have escaped from me had I not been led unawares, and without previous consideration, by the circumstances of the evening on which197 I had to appear suddenly51 and occupy the place of another. Now that I have put them on paper, I feel that I ought to have kept them much longer for study, consideration, and perhaps final rejection; and it is only because they are sure to go abroad in one way or another, in consequence of their utterance on that evening, that I give them a shape, if shape it may be called, in this reply to your inquiry. One thing is certain, that any hypothetical view of radiation which is likely to be received or retained as satisfactory must not much longer comprehend alone certain phenomena of light, but must include those of heat and of actinic influence also, and even the conjoined phenomena of sensible heat and chemical power produced by them. In this respect a view which is in some degree founded upon the ordinary forces of matter may perhaps find a little consideration amongst the other views that will probably arise. I think it likely that I have made many mistakes in the preceding pages, for even to myself my ideas on this point appear only as the shadow of a speculation, or as one of those impressions on the mind which are allowable for a time as guides to thought and research. He who labours in experimental inquiries knows how numerous these are, and how often their apparent fitness and beauty vanish before the progress and development of real, natural truth.

I am, my dear Phillips,
Ever truly yours,
M. Faraday.

Royal Institution,
April 15, 1846.

If it be thought that too high a value has here been set upon a document which its author himself only claimed to be “the shadow of a speculation,” let that value be justified out of the198 mouth of the man who eighteen years later enriched the world with the mathematical theory of the propagation of electric waves, the late Professor Clerk Maxwell. In 1864 he published in the Philosophical Transactions a “Dynamical Theory of the Electromagnetic Field,” in which the following passages occur:—

We have therefore reason to believe, from the phenomena of light and heat, that there is an æthereal medium filling space and permeating bodies capable of being set in motion, and of transmitting that motion to gross matter, so as to heat it and affect it in various ways.... Hence the parts of this medium must be so connected that the motion of one part depends in some way on the motion of the rest; and at the same time these connections must be capable of a certain kind of elastic yielding, since the communication of motion is not instantaneous, but occupies time. The medium is therefore capable of receiving and storing up two kinds of energy—namely, the “actual” energy depending on the motion of its parts, and “potential” energy, consisting of the work which the medium will do in recovering from displacement in virtue of its elasticity.

The propagation of undulations consists in the continual transformation of one of these forms of energy into the other alternately, and at any instant the amount of energy in the whole medium is equally divided, so that half is energy of motion and half is elastic resilience.

* * * * *

In order to bring these results within the power of symbolic calculation, I then express them in the form of the general equations of the electromagnetic field.

* * * * *

The general equations are next applied to the case of a magnetic disturbance propagated through a non-conducting field, and it is shown that the only disturbances which can be so propagated are those which are transverse to the direction199 of propagation, and that the velocity of propagation is the velocity v, found from experiments such as those of Weber, which expresses the number of electrostatic units of electricity which are contained in one electromagnetic unit. This velocity is so nearly that of light, that it seems we have strong reason to conclude that light itself (including radiant heat and other radiations, if any) is an electromagnetic disturbance in the form of waves propagated through the electromagnetic field according to electromagnetic laws.... Conducting media are shown to absorb such radiations rapidly, and therefore to be generally opaque.

ELECTROMAGNETIC THEORY OF LIGHT.

The conception of the propagation of transverse magnetic disturbances to the exclusion of normal ones is distinctly set forth by Professor Faraday in his “Thoughts on Ray Vibrations.” The electromagnetic theory of light, as proposed by him, is the same in substance as that which I have begun to develop in this paper,52 except that in 1846 there were no data to calculate the velocity of propagation.

During the rest of this year (1846) and the next Faraday did very little research, though he continued his Royal Institution lectures and his reports for Trinity House. Amongst the latter in 1847 was one on a proposal to light buoys by incandescent electric lamps containing a platinum wire spiral. He was compelled, indeed, to rest by a recurrence of brain troubles, giddiness, and loss of memory. Honours however, continued to be heaped upon him both abroad and at home, as the following extract from Bence Jones shows:—

In 1846, for his two great discoveries, the Rumford and the Royal Medals were both awarded to him. This double honour will probably long be unique in the annals of the200 Royal Society. In former years he had already received the Copley and Royal Medals for his experimental discoveries. As his medals increased it became remarkable that he—who kept his diploma-book, his portraits and letters of scientific men, and everything he had in the most perfect order—seemed to take least care of his most valuable rewards. They were locked up in a box, and might have passed for old iron. Probably he thought, as others did afterwards, that their value, if seen, might lead to their loss.

CRYSTALLINE FORCES.

Between the twenty-first and twenty-second series of “Experimental Researches” nearly three years elapsed. In the autumn of 1848 the matter which claimed investigation was the peculiar behaviour of bismuth in the magnetic field. Certain anomalies were observed which were finally traced to the crystalline nature of the metal, for it appeared that when in that state the crystals themselves—to adopt modern phraseology—showed a greater magnetic permeability in a direction perpendicular to their planes of cleavage than in any direction parallel to those planes. Hence when a crystalline fragment was hung in a uniform magnetic field (where the diamagnetic tendency to move from a strong to a weak region of the field was eliminated), it tended to point in a determinate direction. Faraday expressed it that the structure of the crystal showed a certain “axiality,” and he regarded these effects as presenting evidence of a “magnecrystallic” force, the law of action being that the line or axis of magnecrystallic force tended to place itself parallel to the lines of the magnetic field in which the crystal was placed. Arsenic, antimony, and other crystalline metals were201 similarly examined. The subject was an intricate one, and there are frequent obscurities in the phraseology tentatively adopted for explaining the phenomena. In one place Faraday rather pathetically laments his imperfect mathematical knowledge. This seems like an echo of his inability to follow the analytical reasoning of Poisson, who, starting from a hypothesis about the supposed “magnetic fluids” being movable within the particles of a body, supposing that these particles were non-spherical and were symmetrically arranged, had predicted (in 1827) that a portion of such a substance would, when brought into the neighbourhood of a magnet, act differently, according to the different positions in which it might be turned about its centre. But this very inability to follow Poisson’s refined analysis gave a new direction to Faraday’s thoughts, and caused him to conceive the idea of magnetic permeabilities differing in different directions, an idea which, as Sir William Thomson (the present Lord Kelvin) showed in 1851,53 is equally susceptible of mathematical treatment by appropriate symbols. Lord Kelvin has also spoken (op. cit., p. 484) of the matter as follows: “The singular combination of202 mathematical acuteness with experimental research and profound physical speculation which Faraday, though not a ‘mathematician,’ presented is remarkably illustrated by his use of the expression ‘conducting power of a magnetic medium for lines of force.’” Tyndall has given a succinct summary of these researches—in which also he took a part—from which the following extract must suffice:—

And here follows one of those expressions which characterise the conceptions of Faraday in regard to force generally: “It appears to me impossible to conceive of the results in any other way than by a mutual reaction of the magnetic force, and the force of the particles of the crystal upon each other.” He proves that the action of the force, though thus molecular, is an action at a distance. He shows that a bismuth crystal can cause a freely-suspended magnetic needle to set parallel to its magnecrystallic axis. Few living men are aware of the difficulty of obtaining results like this, or of the delicacy necessary to their attainment. “But though it thus takes up the character of a force acting at a distance, still it is due to that power of the particles which makes them cohere in regular order and gives the mass its crystalline aggregation, and so often spoken of as acting at insensible distances.” Thus he broods over this new force, and looks at it from all points of inspection. Experiment follows experiment, as thought follows thought. He will not relinquish the subject as long as a hope exists of throwing more light upon it. He knows full well the anomalous nature of the conclusion to which his experiments lead him. But experiment to him is final, and he will not shrink from the conclusion. “This force,” he says, “appears to me to be very strange and striking in its character. It is not polar, for there is no attraction or repulsion.” And then, as if startled by his own utterance, he asks: “What is the nature of the mechanical force which turns the crystal round and makes it affect a magnet?”... “I do not203 remember,” he continues, “heretofore such a case of force as the present one—where a body is brought into position only without attraction or repulsion.”

Plücker, the celebrated geometer already mentioned, who pursued experimental physics for many years of his life with singular devotion and success, visited Faraday in those days, and repeated before him his beautiful experiments on magneto-optic action. Faraday repeated and verified Plücker’s observations, and concluded, what he at first seemed to doubt, that Plücker’s results and magnecrystallic action had the same origin.

MAGNETISM AND CRYSTALLISATION.

At the end of his papers, when he takes a last look along the line of research, and then turns his eyes to the future, utterances quite as much emotional as scientific escape from Faraday. “I cannot,” he says at the end of his first paper on magnecrystallic action, “conclude this series of researches without remarking how rapidly the knowledge of molecular forces grows upon us, and how strikingly every investigation tends to develop more and more their importance and their extreme attraction as an object of study. A few years ago magnetism was to us an occult power, affecting only a few bodies. Now it is found to influence all bodies, and to possess the most intimate relations with electricity, heat, chemical action, light, crystallisation, and through it with the forces concerned in cohesion. And we may, in the present state of things, well feel urged to continue in our labours, encouraged by the hope of bringing it into a bond of union with gravity itself.”

In 1848 Faraday gave five Friday night discourses, three of them on the “Diamagnetic Condition of Flame and Gases.” In 1849 he gave two, one of them on Plücker’s researches. In 1850 he gave two, one of them being on the electricity of the air, the other on certain conditions of freezing water. He had meanwhile continued to work at magnetism. The twenty-third series dealt with the204 supposed diamagnetic polarity. It incidentally discussed the distortion produced in a magnetic field by a mass of copper in motion across it. The twenty-fourth series was on the possible relation of gravity to electricity. The paper concludes with the words: “Here end my trials for the present. The results are negative. They do not shake my strong feeling of the existence of a relation between gravity and electricity, though they give no proof that such a relation exists.” The next series (the twenty-fifth) was on the “Non-expansion of Gases by Magnetic Force” and on the “Magnetic Characters of Oxygen [which he had found to be highly magnetic], Nitrogen, and Space.” He had found that magnetically substances must be classed either along with iron and the materials that point axially, or else with bismuth and those that point equatorially, in the magnetic field. The best vacuum he could procure he regarded as the zero of these tests; but before adopting it as such, he verified by experiment that even in a vacuum a magnetic body still tends from weaker to stronger places in the magnetic field; while diamagnetic bodies tend from stronger to weaker. He then says we must consider the magnetic character and relation of space free from any material substance. “Mere space cannot act as matter acts, even though the utmost latitude be allowed to the hypothesis of an ether.” He then proceeds as follows:—

MORE NEW WORDS.

Now that the true zero is obtained, and the great variety of material substances satisfactorily divided into two general classes, it appears to me that we want another name for the magnetic class, that we may avoid confusion. The word205 magnetic ought to be general, and include all the phenomena and effects produced by that power. But then a word for the subdivision opposed to the diamagnetic class is necessary. As the language of this branch of science may soon require general and careful changes, I, assisted by a kind friend, have thought that a word—not selected with particular care—might be provisionally useful; and as the magnetism of iron, nickel, and cobalt when in the magnetic field is like that of the earth as a whole, so that when rendered active they place themselves parallel to its axes or lines of magnetic force, I have supposed that they and their similars (including oxygen now) might be called paramagnetic bodies, giving the following division:—

{ paramagnetic
Magnetic  {
{ diamagnetic. 

The “kind friend” alluded to was Whewell, as the following letter shows:—

[Rev. W. Whewell to M. Faraday.]

July, 1850.

I am always glad to hear of your wanting new words, because the want shows that you are pursuing new thoughts—and your new thoughts are worth something—but I always feel also how difficult it is for one who has not pursued the train of thought to suggest the right word. There are so many relations involved in a new discovery, and the word ought not glaringly to violate any of them. The purists would certainly object to the opposition, or co-ordination, of ferromagnetic and diamagnetic, not only on account of the want of symmetry in the relation of ferro and dia, but also because the one is Latin and the other Greek.... Hence it would appear that the two classes of magnetic bodies are those which place their length parallel, or according, to the terrestrial magnetic lines, and those which place their length transverse to such lines. Keeping the preposition dia for the latter, the preposition para, or ana, might be used for the former. Perhaps para would be best, as the word parallel, in which it is involved, would be a technical memory for it.... I206 rejoice to hear that you have new views of discovery opening to you. I always rejoice to hail the light of such when they dawn upon you.

The twenty-sixth series of researches opened with a consideration of magnetic “conducting power,” or permeability as we should now term it, and then branched off into a lengthy discussion of atmospheric magnetism. The subject was continued through the twenty-seventh series, which was completed in November, 1850. The gist of this is summed up in one of his letters to Schönbein:—

Royal Institution, November 19, 1850.

My Dear Schönbein,—I wish I could talk with you, instead of being obliged to use pen and paper. I have fifty matters to speak about, but either they are too trifling for writing, or too important, for what can one discuss or say in a letter?... By the bye, I have been working with the oxygen of the air also. You remember that three years ago I distinguished it as a magnetic gas in my paper on the diamagnetism of flame and gases founded on Bancalari’s experiment. Now I find in it the cause of all the annual and diurnal, and many of the irregular, variations in the terrestrial magnetism. The observations made at Hobarton, Toronto, Greenwich, St. Petersburg, Washington, St. Helena, the Cape of Good Hope, and Singapore, all appear to me to accord with and support my hypothesis. I will not pretend to give you an account of it here, for it would require some detail, and I really am weary of the subject. I have sent in three long papers to the Royal Society, and you shall have copies of them in due time....

Ever, my dear Schönbein, most truly yours,
M. Faraday.

PAPERS TO BE LET LOOSE.

While writing out these researches for the Royal Society, he had been staying in Upper Norwood. He207 wrote thus of himself to Miss Moore at the end of August:—

We have taken a little house here on the hill-top, where I have a small room to myself, and have, ever since we came here, been deeply immersed in magnetic cogitations. I write, and write, and write, until three papers for the Royal Society are nearly completed, and I hope that two of them will be good if they justify my hopes, for I have to criticise them again and again before I let them loose. You shall hear of them at some of the Friday evenings. At present I must not say more. After writing, I walk out in the evening, hand-in-hand with my dear wife, to enjoy the sunset; for to me, who love scenery, of all that I have seen or can see there is none surpasses that of Heaven. A glorious sunset brings with it a thousand thoughts that delight me.

To De la Rive he wrote later as follows:—

[M. Faraday to A. de la Rive.]

Royal Institution, February 4, 1851.

My Dear de la Rive,—My wife and I were exceedingly sorry to hear of your sad loss. It brought vividly to our remembrance the time when we were at your house, and you, and others with you, made us so welcome. What can we say to these changes but that they show by comparison the vanity of all things under the sun? I am very glad that you have spirits to return to work again, for that is a healthy and proper employment of the mind under such circumstances.

With respect to my views and experiments, I do not think that anything shorter than the papers (and they will run to a hundred pages in the “Transactions”) will give you possession of the subject, because a great deal depends upon the comparison of observations in different parts of the world with the facts obtained by experiment, and with the deductions drawn from them; but I will try to give you an idea of the root of the matter. You are aware that I use the phrase208 line of magnetic force, to represent the presence of magnetic force, and the direction (of polarity) in which it is exerted; and by the idea which it conveys one obtains very well, and I believe without error, a notion of the distribution of the forces about a bar magnet, or between near flat poles presenting a field of equal force, or in any other case. Now, if circumstances be arranged so as to present a field of equal force, which is easily done, as I have shown by the electro-magnet, then if a sphere of iron or nickel be placed in the field, it immediately disturbs the direction of the lines of force, for they are concentrated within the sphere. They are, however, not merely concentrated, but contorted, for the sum of forces in any one section across the field is always equal to the sum of forces in any other section, and therefore their condensation in the iron or nickel cannot occur without this contortion. Moreover, the contortion is easily shown by using a small needle (one-tenth of an inch long) to examine the field, for, as before the introduction of the sphere of iron or nickel, it would always take up a position parallel to itself. Afterwards it varies in position in different places near the sphere. This being understood, let us then suppose the sphere to be raised in temperature. At a certain temperature it begins to lose its power of affecting the lines of magnetic force, and ends by retaining scarcely any. So that as regards the little needle mentioned above, it now stands everywhere parallel to itself within the field of force. This change occurs with iron at a very high temperature, and is passed through within the compass, apparently, of a small number of degrees. With nickel it occurs at much lower temperatures, being affected by the heat of boiling oil.

Now take another step. Oxygen, as I showed above, three years ago in the Philosophical Magazine for 1847, vol. xxxi., pp. 410, 415, 416, is magnetic in relation to nitrogen and other gases. E. Becquerel, without knowing of my results, has confirmed and extended them in his paper of last year, and given certain excellent measures. In my paper of 1847 I showed also that oxygen (like iron and nickel) lost its magnetic power and its ability of being attracted by the209 magnet when heated (p. 417). And I further showed that the temperatures at which this took place were within the range of common temperature, for the oxygen of the air—i.e. the air altogether—is increased in magnetic power when cooled to 0° F. (p. 406). Now I must refer you to the papers themselves for the (to me) strange results of the incompressibility (magnetically speaking) of oxygen and the inexpansibility of nitrogen and other gases; for the description of a differential balance by which I can compare gas with gas, or the same gas at different degrees of rarefaction; for the determination of the true zero, or point between magnetic and diamagnetic bodies; and for certain views of magnetic conduction and polarity. You will there find described certain very delicate experiments upon diamagnetic and very weak magnetic bodies concerning their action on each other in a magnetic field of equal force. The magnetic bodies repel each other, and the diamagnetic bodies repel each other; but a magnetic and a diamagnetic body attract each other. And these results, combined with the qualities of oxygen as just described, convince me that it is able to deflect the lines of magnetic force passing through it just as iron or nickel is, but to an infinitely smaller amount, and that its power of deflecting the lines varies with its temperature and degree of rarefaction.

ATMOSPHERIC MAGNETISM.

Then comes in the consideration of the atmosphere, and the manner in which it rises and falls in temperature by the presence and absence of the sun. The place of the great warm region nearly in his neighbourhood; of the two colder regions which grow up and diminish in the northern and southern hemispheres as the sun travels between the tropics; the effect of the extra warmth of the northern hemisphere over the southern; the effect of accumulation from the action of preceding months; the effect of dip and mean declination at each particular station; the effects that follow from the non-coincidence of magnetic and astronomical conditions of polarity, meridians, and so forth; the results of the distribution of land and water for any given place—for all these and many other things I must refer you to the papers. I could not do them justice in any account that a letter could contain,210 and should run the risk of leading you into error regarding them. But I may say that, deducing from the experiments and the theory what are the deviations of the magnetic needle at any given station, which may be expected as the mean result of the heating and cooling of the atmosphere for a given season and hour, I find such a general accordance with the results of observations, especially in the direction and generally in the amount for different seasons of the declination variation, as to give me the strongest hopes that I have assigned the true physical cause of those variations, and shown the modus operandi of their production.

And now, my dear de la Rive, I must leave you and run to other matters. As soon as I can send you a copy of the papers I will do so, and can only say I hope that they will meet with your approbation. With the kindest remembrances to your son,

Believe me to be, my dear friend, ever truly yours,

M. Faraday.

This hope of explaining the variations of terrestrial magnetism by the magnetic properties of the oxygen of the air was destined to be illusory. At that time the cosmical nature of magnetic storms was unknown and unsuspected. To this matter we may well apply Faraday’s own words addressed to Tyndall respecting the alleged diamagnetic polarity, and the conflict of views between himself on the one hand and Weber and Tyndall on the other:—“It is not wonderful that views differ at first. Time will gradually sift and shape them. And I believe that we have little idea at present of the importance they may have ten or twenty years hence.”

LINES OF MAGNETIC FORCE.

In 1851, from July to December, Faraday was actively at work in the laboratory. The results211 constitute the material for the twenty-eighth and twenty-ninth (the last) series of the “Experimental Researches.” In these he returned to the subject with which the first series had opened in 1831: the induction of electric currents by the relative motion of magnets and conducting wires. These two memoirs, together with his Royal Institution lecture of January, 1852, “On the Lines of Magnetic Force,” and the paper “On the Physical Character of the Lines of Magnetic Force” (which he sent to the Philosophical Magazine, as containing “so much of a speculative and hypothetical nature”), should be read, and re-read, and read again, by every student of physics. They are reprinted at the end of the third volume of the “Experimental Researches.”

In the opening of the twenty-eighth memoir he says:—

From my earliest experiments on the relation of electricity and magnetism, I have had to think and speak of lines of magnetic force as representations of the magnetic power—not merely in the points of quality and direction, but also in quantity.... The direction of these lines about and amongst magnets and electric currents is easily represented and understood in a general manner by the ordinary use of iron filings.

A point equally important to the definition of these lines is, that they represent a determinate and unchanging amount of force. Though, therefore, their forms, as they exist between two or more centres or sources of power, may vary very greatly, and also the space through which they may be traced, yet the sum of power contained in any one section of a given portion of the lines is exactly equal to the sum of power in any other section54 of the same lines, however altered in form212 or however convergent or divergent they may be at the second place.... Now, it appears to me that these lines may be employed with great advantage to represent the nature, condition, and comparative amount of the magnetic forces, and that in many cases they have, to the physical reasoner, at least, a superiority over that method which represents the forces as concentrated in centres of action, such as the poles of magnets or needles; or some other methods, as, for instance, that which considers north or south magnetisms as fluids diffused over the end, or amongst the particles, of a bar. No doubt any of these methods which does not assume too much will, with a faithful application, give true results. And so they all ought to give the same results, as far as they can respectively be applied. But some may, by their very nature, be applicable to a far greater extent, and give far more varied results, than others. For, just as either geometry or analysis may be employed to solve correctly a particular problem, though one has far more power and capability, generally speaking, than the other; or, just as either the idea of the reflexion of images or that of the reverberation of sounds may be used to represent certain physical forces and conditions, so may the idea of the attractions and repulsions of centres, or that of the disposition of magnetic fluids, or that of lines of force, be applied in the consideration of magnetic phenomena. It is the occasional and more frequent use of the latter which I at present wish to advocate.... When the natural truth, and the conventional representation of it, most closely agree, then are we most advanced in our knowledge. The emission and æther theories present such cases in relation to light. The idea of a fluid or of two fluids is the same for electricity; and there the further idea of a current has been raised, which, indeed, has such hold on the mind as occasionally to embarrass the science as respects the true character of the physical agencies, and may be doing so even now to a degree which we at present little suspect. The same is the case with the idea of a magnetic fluid or fluids, or with the assumption of magnetic centres of action of which the resultants are at the poles.

213

THE FUNCTIONS OF THE ÆTHER.

How the magnetic force is transferred through bodies or through space we know not—whether the result is merely action at a distance, as in the case of gravity, or by some intermediate agency, as in the cases of light, heat, the electric current, and, as I believe, static electric action. The idea of magnetic fluids, as applied by some, or of magnetic centres of action, does not include that of the latter kind of transmission, but the idea of lines of force does. Nevertheless, because a particular method of representing the forces does not include such a mode of transmission, the latter is not disproved, and that method of representation which harmonises with it may be the most true to nature. The general conclusion of philosophers seems to be that such cases are by far the most numerous. And for my own part, considering the relation of a vacuum to the magnetic force, and the general character of magnetic phenomena external to the magnet, I am more inclined to the notion that in the transmission of the force there is such an action, external to the magnet, than that the effects are merely attraction and repulsion at a distance. Such an action may be a function of the æther, for it is not at all unlikely that if there be an æther, it should have other uses than simply the conveyance of radiations.55

He then proceeds to recount the experimental evidence of revolving magnets and loops of wire. Following out the old lines of so moving the parts of the system that the magnetic lines were “cut” by the copper conductors, and connecting the latter with a slow-period galvanometer, to test the resultant induction, he found that “the amount of magnetic force” [or flux, as we should nowadays call it] “is determinate for the same lines of force, whatever the distance of the point or plane at which their power is exerted is from the magnet.” The convergence or divergence of the lines of force caused, per se, no214 difference in their amount. Obliquity of intersection caused no difference, provided the same lines of force were cut. If a wire was moving in a field of equal intensity, and with a uniform motion, then the current produced was proportional to the velocity of motion. The “quantity of electricity thrown into a current” was, ceteris paribus, “directly as the amount of curves intersected.” Within the magnet, running through its substance, existed lines of force of the same nature as those without, exactly equal in amount to those without, and were, indeed, continuous with them. The conclusion must logically be that every line of force is a closed circuit.

Having thus established the exact quantitative laws of magneto-electric induction, he then advanced to make use of the induced current as a means of investigating the presence, direction, and amount of magnetic forces—in other words, to explore and measure magnetic fields. He constructed revolving rectangles and rings furnished with a simple commutator, to measure inductively the magnetic forces of the earth. Then he employed the induced current to test the constancy of magnets when placed near to other magnets in ways that might affect their power. Next he considers the fields of magnetic force of two or more associated magnets, and notes how their magnetic lines may coalesce when they are so placed as to constitute parts of a common magnetic circuit. The twenty-ninth series is brought to a close by a discussion of the experimental way of delineating lines of magnetic force by means of iron filings.

THE ELECTROTONIC STATE.

The paper on the “Physical Character of the215 Lines of Magnetic Force” recapitulated the points established in the twenty-ninth series of “Researches,” and emphasis is laid upon the logical necessity that time must be required for their propagation. The physical effects in a magnetic field, as equivalent to a tendency for the magnetic lines to shorten themselves, and to repel one another laterally, are considered, and are contrasted with the effects of parallel electric currents. Commenting on the mutual relation between the directions of an electric current and of its surrounding magnetic lines, he raises the question whether or not they consist in a state of tension of the æther. “Again and again,” he says, “the idea of an electrotonic state has been forced on my mind. Such a state would coincide and become identified with that which would then constitute the physical lines of magnetic force.” Then he traces out the analogy between a magnet, with its “sphondyloid” (or spindle-form field) of magnetic lines, and a voltaic battery immersed in water, with its re-entrant lines of flow of circulating current. Incidentally, while discussing the principle of the magnetic circuit, he points out that when a magnet is furnished at its poles with masses of soft iron, it can both receive and retain a higher magnetic charge than it does without them, “for these masses carry on the physical lines of force, and deliver them to a body of surrounding space, which is either widened, and therefore increased, in the direction across the lines of force, or shortened in that direction parallel to them, or both; and both are circumstances which facilitate the conduction from pole to pole.”

216

NOVELTY OF FARADAY’S VIEWS.

Thus closed, with the exception of two fragmentary papers, one on “Physical Lines of Force,” and the other on “Some Points in Magnetic Philosophy,” in the years 1853 and 1854 respectively, the main life-work of Faraday, his “Experimental Researches.” Their effect in revolutionising electric science, if slow, was yet sure. Though the principle of the dynamo was discovered and published in 1831, nearly forty years elapsed before electric-lighting machinery became a commercial product. Though the dependence of inductive actions, both electromagnetic and electrostatic, upon the properties of the intervening medium was demonstrated and elaborated in these “Researches,” electricians for many years continued to propound theories which ignored this fundamental fact. French and German writers continued to publish treatises based on the ancient doctrines of action at a distance, and of imaginary electric and magnetic fluids. Von Boltzmann, a typical German of the first rank in science, says that until there came straight from England the counter-doctrines amidst which Faraday had lived, “we (in Germany and France) had all more or less imbibed with our mothers’ milk the ideas of magnetic and electric fluids acting direct at a distance.” And again, “The theory of Maxwell”—that is, Faraday’s theory thrown by Maxwell into mathematical shape—“is so diametrically opposed to the ideas which have become customary to us, that we must first cast behind us all our previous views of the nature and operation of electric forces before we can enter into its portals.” The divergence of view between Faraday and the217 Continental electricians is nowhere more clearly stated than by Faraday’s great interpreter, Maxwell, in the apologia which he prefixed in 1873 to his “Treatise on Electricity and Magnetism,” wherein, speaking of the differences between this work and those recently published in Germany, he wrote:—

One reason of this is that before I began the study of electricity I resolved to read no mathematics on the subject till I had first read through Faraday’s “Experimental Researches on Electricity.” I was aware that there was supposed to be a difference between Faraday’s way of conceiving phenomena and that of the mathematicians. So that neither he nor they were satisfied with each other’s language. I had also the conviction that this discrepancy did not arise from either party being wrong. I was first convinced of this by Sir William Thomson [Lord Kelvin], to whose advice and assistance, as well as to his published papers, I owe most of what I have learned on this subject.

As I proceeded with the study of Faraday, I perceived that his method of conceiving the phenomena was also a mathematical one, though not exhibited in the conventional form of mathematical symbols. I also found that these methods were capable of being expressed in the ordinary mathematical forms, and thus compared with those of the professed mathematicians.

For instance, Faraday, in his mind’s eye, saw lines of force traversing all space where the mathematicians saw centres of force attracting at a distance. Faraday saw a medium where they saw nothing but distance. Faraday sought the seat of the phenomena in real actions going on in the medium; they were satisfied that they had found it in a power of action at a distance impressed on electric fluids.

When I had translated what I considered to be Faraday’s ideas into a mathematical form, I found that in general the results of the two methods coincided, so that the same phenomena were accounted for and the same laws of action218 deduced by both methods, but that Faraday’s methods resembled those in which we begin with the whole and arrive at the parts by analysis, while the ordinary mathematical methods were founded on the principle of beginning with the parts and building up the whole by synthesis.

I found, also, that several of the most fertile methods of research discovered by the mathematicians could be expressed much better in terms of ideas derived from Faraday than in their original form.

The whole theory, for instance, of potential, considered as a quantity which satisfies a certain partial differential equation, belongs essentially to the method which I have called of Faraday....

If by anything I have here written I may assist any student in understanding Faraday’s modes of thought and expression, I shall regard it as the accomplishment of one of my principal aims: to communicate to others the same delight which I have found myself in reading Faraday’s “Researches.”

Clerk Maxwell may also be credited with the remark that Faraday’s work had had the result of banishing the term “the electric fluid” into the limbo of newspaper science.

ELECTRIC LIGHT IN LIGHTHOUSES.

Faraday’s work for Trinity House continued during these last years of research work. He reported on such subjects as adulteration of white lead, impure oils, Chance’s lenses, lighthouse ventilation, and fog signals. Two systems of electric arc lighting for lighthouses—one by Watson, using batteries, the other by Holmes, using a magneto-electric machine—were examined in 1853 and 1854, but his report on them was adverse. He “could not put up in a lighthouse what has not been established beforehand, and is only experimental.” In 1856 he made five reports, in 1857 six, and in 1858 twelve219 reports to Trinity House, one of these being on the electric light at the South Foreland. In 1859 he reported on further trials in which Duboscq’s lamps were used. In 1860 he gave a final report on the practicability and utility of magneto-electric lighting, and expressed the hope it would be applied, as there was now no difficulty. In 1861 he inspected the machinery as established at the Dungeness lighthouse. In 1862 he gave no fewer than seventeen reports, visiting Dungeness, Grisnez, and the South Foreland. In 1863 he again visited Dungeness. In 1864 he made twelve reports, and examined the drawings and estimates for establishing the electric light at Portland. His last report was in 1865, upon the St. Bees’ light, and he then retired from this service.

His Friday night discourses were still continued during these years. In 1855 he gave one on “Ruhmkorff’s Induction-coil.” In 1856 he gave one on a process for silvering glass, and on finely divided gold. This latter subject, the optical properties of precipitated gold, formed the topic of the Bakerian lecture of that year—his last contribution to the Royal Society. He gave another discourse on the same subject in 1857, and also one on the conservation of force. In 1856, when investigating the crystallisation of water, he discovered the phenomenon of regelation of ice. In virtue of this property two pieces of ice will freeze solidly together under pressure, even when the temperature of the surrounding atmosphere is above the freezing point. This discovery led on the one hand to the220 explanation of glacier motions; on the other to important results in thermodynamic theory. In 1859 he gave two discourses, one on ozone, the other on phosphorescence and fluorescence. He also gave two in 1860, on lighthouse illumination by electric light, and on the electric silk-loom. In 1861 he discoursed on platinum and on De la Rue’s eclipse photographs. The last of his Friday night discourses was given on June 20th, 1862. It was on Siemens’s gas furnaces. He had been down at Swansea watching the furnaces in operation, and now proposed to describe their principle. It was rather a sad occasion, for it was but too evident that his powers were fast waning. Early in the evening he had the misfortune to burn the notes he had prepared, and became confused. He concluded with a touching personal explanation how with advancing years his memory had failed, and that in justice to others he felt it his duty to retire.

At intervals he still attempted to work at research. In 1860 he sent a paper to the Royal Society on the relations of electricity to gravity, but, on the advice of Professor (afterwards Sir George) Stokes, it was withdrawn. He had also in contemplation some experiments upon the time required in the propagation of magnetism, and began the construction of a complicated instrument, which was never finished.

HYPOTHESIS AND EXPERIMENT.

His very last experiment, as recorded in his laboratory notebook, is of extraordinary interest, as showing how his mind was still at work inquiring into the borderland of possible phenomena. It was on March 12th, 1862. He was inquiring into the effect of a221 magnetic field upon a beam of light, which he was observing with a spectroscope to ascertain whether there was any change produced in the refrangibility of the light. The entry concludes: “Not the slightest effect on the polarised or unpolarised ray was observed.” The experiment is of the highest interest in magneto-optics. The effect for which Faraday looked in vain in 1862 was discovered in 1897 by Zeeman. That Faraday should have conceived the existence of this obscure relation between magnetism and light is a striking illustration of the acuteness of mental vision which he brought to bear. Living and working amongst the appliances of his laboratory, letting his thoughts play freely around the phenomena, incessantly framing hypotheses to account for the facts, and as incessantly testing his hypotheses by the touchstone of experiment, never hesitating to push to their logical conclusion the ideas suggested by experiment, however widely they might seem to lead from the accepted modes of thought, he worked on with a scientific prevision little short of miraculous. His experiments, even those which at the time seemed unsuccessful, in that they yielded no positive result, have proved to be a mine of amazing richness. The volumes of his “Experimental Researches” are a veritable treasure-house of science.


Although to avoid discontinuity the account of Faraday’s researches has in the previous chapter been followed to their close in 1862, we must now return to his middle period of life, when his activities at the Royal Institution were at their zenith.

BREAKDOWN OF HEALTH.

Mention has been made of the serious breakdown of Faraday’s health at the close of 1839. Dr. Latham, whom he consulted as to his attacks of giddiness, wrote to Brande:—

Grosvenor Street,
December 1, 1839.

Dear Brande,—I have been seeing our friend Faraday these two or three days, and been looking after his health. I trust he has no ailment more than rest of body and mind will get rid of. But rest is absolutely necessary for him. Indeed, I think it would be hardly prudent for him to lecture again for the present. He looks up to his work; but, in truth, he is not fit, and if he is pressed he will suddenly break down. When we meet, I will talk the matter over with you.

Yours most sincerely,
P. M. Latham.

The advice was taken. He gave up nearly all research work, but tried to go on with Friday night223 discourses and afternoon lectures in 1840. Then came a more serious breakdown, and he rested for nearly four years, with the exception of the Christmas lectures in 1841 and a few Friday discourses in 1842 and 1843. This illness caused him great distress of mind, mainly due to an idea that the physicians did not understand his condition. When in this state he sometimes set down pencil notes on scraps of paper to relieve his feelings. One such is the following:—

Whereas, according to the declaration of that true man of the world Talleyrand, the use of language is to conceal the thoughts; this is to declare in the present instance, when I say I am not able to bear much talking, it means really, and without any mistake, or equivocation, or oblique meaning, or implication, or subterfuge, or omission, that I am not able; being at present rather weak in the head, and able to work no more.

During these times of enforced idleness he used to amuse himself with games of skill, with paperwork, and with visits to the theatre and to the Zoological Gardens. Mrs. Faraday left the following note:—

Michael was one of the earliest members of the Zoological Society, and the Gardens were a great resource to him when overwrought and distressed in the head. The animals were a continual source of interest, and we, or rather I, used to talk of the time when we should be able to afford a house within my walking distance of the entrance; for I much feared he could not continue to live in the Institution with the continual calls upon his time and thought; but he always shrank from the notion of living away from the R. I.

His niece, Miss Reid, told how fond he was of seeing acrobats, tumblers, dwarfs and giants; even224 a Punch and Judy show was an unfailing source of delight. When travelling in Switzerland, as he did on several occasions, accompanied by Mrs. Faraday and her brother, George Barnard, the artist, he kept a journal, which reveals his simple pleasures and enthusiasms. He is delighted with waterfalls and avalanches, watches the cowherd collecting his cows and the shepherd calling the sheep, which followed him, leaving the goats to straggle. On one such visit (in 1841), in order that he might not be absent on Sunday from his wife, he walked the whole distance from Leukerbad to Thun, over the Gemmi—a distance of 45 miles—in one day. At Interlaken, observing that clout-nail-making was practised as a local industry, he wrote: “I love a smith’s shop and everything relating to smithery. My father was a smith.”

IMPRESSIONS OF LIEBIG.

In 1844 he was well enough to attend the British Association meeting at York. Liebig, who had also been there, wrote to him three months later with some reminiscences. What had struck him most was the tendency in England to ignore the more purely scientific works and to value only those with a “practical” bearing. “In Germany it is quite the contrary. Here, in the eyes of scientific men, no value, or at least but a trifling one, is placed on the practical results. The enrichment of science is alone considered worthy of attention.” Liebig further expressed himself dissatisfied with the meeting at York. He had been interested to make the acquaintance of so many celebrated men, but it was, strictly, “a feast given to the geologists, the other sciences serving only225 to decorate the table.” Then came a more personal note:—

Often do my thoughts wander back to the period which I spent in England, among the many pleasant hours of which the remembrance of those passed with you and your amiable wife is to me always the dearest and most agreeable. With the purest pleasure I bring to mind my walk with her, in the botanical garden at York, when I was afforded a glance of the richness of her mind; what a rare treasure you possess in her! The breakfast in the little house with Snow Harris, and Graham, and our being together at Bishopthorpe, are still fresh in my memory.

If Liebig was disposed to underrate the useful applications of science, Faraday certainly was not. Though his own research work was carried on with the single aim of scientific progress; though he himself never swerved aside into any branch research that might have yielded money; yet he was ever ready to examine, and even to lecture upon, the inventions of others. He accepted for the subjects of his Friday night discourses all sorts of topics—artificial stone, machinery for pen-making, lithography, Ruhmkorff’s induction coil, a process for silvering mirrors, and lighthouse illumination by electric light. His very last lecture was on Siemens’s gas-furnaces. He could be just as enthusiastic over the invention of another as over some discovery of his own. With respect to his lecture on the Ruhmkorff coil, Tyndall describes him in a passage which is interesting, as containing an epithet since adopted for another great man for whom Tyndall had less respect than for Faraday:—

226

I well remember the ecstasy and surprise of the grand old man, evoked by effects which we should now deem utterly insignificant.

Bence Jones says:—

When he brought the discoveries of others before his hearers, one object, and one alone, seemed to determine all he said and did, and that was, “without commendation and without censure,” to do the utmost that could be done for the discoverer.

In so perfect a character it would be marvellous if there were not some flaw. His persistent ignoring of Sturgeon, and his attribution of the invention of the electromagnet to Moll and Henry, whose work was frankly based on Sturgeon’s, is simply inexplicable. He failed to appreciate the greatness of Dalton, and thought him an overrated man.

PERSONAL CHARACTERISTICS.

Amid all his overflowing kindliness of heart, Faraday preserved other less obvious traits of character. Any act of injustice or meanness called forth an almost volcanic burst of indignation. Hot flashes of temper, fierce moments of wrath were by no means unknown. But he exercised a most admirable self-control, and a habitual discipline of soul that kept his temper under. Grim and forbidding, and even exacting he could show himself to an idle or unfaithful servant. There were those who feared as well as those who loved and admired him. Dr. Gladstone says of him that he was no “model of all the virtues,” dreadfully uninteresting, and discouraging to those who feel calm perfection out of their reach. “His inner life was a battle, with its wounds as well as its227 victory.” “It is true also,” he adds, “that with his great caution and his repugnance to moral evil, he was more disposed to turn away in disgust from an erring companion than to endeavour to reclaim him.”

For thirty years Faraday was the foremost of lecturers on science in London. From the first occasion when, in 1823, as Sir Roderick Murchison narrates, he was called upon unexpectedly to act as substitute for Professor Brande at one of his morning lectures at the Royal Institution (then held in the subterranean laboratory), down to the time of his latest appearance as a lecturer in 1862, he was without a rival as the exponent of natural science.

As no man could achieve and retain such a position without possessing both natural gifts and appropriate training, it is fitting to inquire what were those gifts and what the training which were so happily united in him.

I was (he said) a very lively, imaginative person, and could believe in the Arabian Nights as easily as in the Encyclopædia; but facts were important to me, and saved me. I could trust a fact, and always cross-examined an assertion.

From the very first Faraday had an appreciation of the way in which public lectures should be given. In his notes of Davy’s fourth lecture of April, 1812, he wrote:—

During the whole of these observations his delivery was easy, his diction elegant, his tone good, and his sentiments sublime.

His own first lecture was given in the kitchen of Abbott’s house, with home-made apparatus placed on228 the kitchen table. To Abbott, after only a few weeks of experience at the Royal Institution, he wrote the letters upon lectures and lecturers, to which allusion was made on p. 15. These show a most remarkably sound perception of the material and mental furniture requisite for success. From the third and fourth of them are culled the following excerpts:—

QUALIFICATIONS OF A LECTURER.

The most prominent requisite to a lecturer, though perhaps not really the most important, is a good delivery; for though to all true philosophers science and nature will have charms innumerable in every dress, yet I am sorry to say that the generality of mankind cannot accompany us one short hour unless the path is strewed with flowers. In order, therefore, to gain the attention of an audience (and what can be more disagreeable to a lecturer than the want of it?), it is necessary to pay some attention to the manner of expression. The utterance should not be rapid and hurried, and consequently unintelligible, but slow and deliberate, conveying ideas with ease from the lecturer, and infusing them with clearness and readiness into the minds of the audience. A lecturer should endeavour by all means to obtain a facility of utterance, and the power of clothing his thoughts and ideas in language smooth and harmonious, and at the same time simple and easy.

With respect to the action of the lecturer, it is requisite that he should have some, though it does not here bear the importance that it does in other branches of oratory; for though I know of no species of delivery (divinity excepted) that requires less motion, yet I would by no means have a lecturer glued to the table or screwed on the floor. He must by all means appear as a body distinct and separate from the things around him, and must have some motion apart from that which they possess.

A lecturer should appear easy and collected, undaunted and unconcerned, his thoughts about him, and his mind clear and free for the contemplation and description of his subject. His action should not be hasty and violent, but slow, easy, and229 natural, consisting principally in changes of the posture of the body, in order to avoid the air of stiffness or sameness that would otherwise be unavoidable. His whole behaviour should evince respect for his audience, and he should in no case forget that he is in their presence. No accident that does not interfere with their convenience should disturb his serenity, or cause variation in his behaviour; he should never, if possible, turn his back on them, but should give them full reason to believe that all his powers have been exerted for their pleasure and instruction.

Some lecturers choose to express their thoughts extemporaneously immediately as they occur to the mind, whilst others previously arrange them and draw them forth on paper. But although I allow a lecturer to write out his matter, I do not approve of his reading it—at least, not as he would a quotation or extract.

A lecturer should exert his utmost effort to gain completely the mind and attention of his audience, and irresistibly to make them join in his ideas to the end of the subject. He should endeavour to raise their interest at the commencement of the lecture, and by a series of imperceptible gradations, unnoticed by the company, keep it alive as long as the subject demands it. A flame should be lighted at the commencement, and kept alive with unremitting splendour to the end. For this reason I very much disapprove of breaks in a lecture, and where they can by any means be avoided they should on no account find place.... For the same reason—namely, that the audience should not grow tired—I disapprove of long lectures; one hour is long enough for anyone. Nor should they be allowed to exceed that time.

A lecturer falls deeply beneath the dignity of his character when he descends so low as to angle for claps and asks for commendation. Yet have I seen a lecturer even at this point. I have heard him causelessly condemn his own powers. I have heard him dwell for a length of time on the extreme care and niceness that the experiment he will make requires. I have heard him hope for indulgence when no indulgence was wanted, and I have even heard him declare that the experiment230 now made cannot fail, from its beauty, its correctness, and its application, to gain the approbation of all.... I would wish apologies to be made as seldom as possible, and generally only when the inconvenience extends to the company. I have several times seen the attention of by far the greater part of the audience called to an error by the apology that followed it.

’Tis well, too, when the lecturer has the ready wit and the presence of mind to turn any casual circumstance to an illustration of his subject. Any particular circumstance that has become table-talk for the town, any local advantages or disadvantages, any trivial circumstance that may arise in company, give great force to illustrations aptly drawn from them, and please the audience highly, as they conceive they perfectly understand them.

Apt experiments (to which I have before referred) ought to be explained by satisfactory theory, or otherwise we merely patch an old coat with new cloth, and the whole [hole] becomes worse. If a satisfactory theory can be given, it ought to be given. If we doubt a received opinion, let us not leave the doubt unnoticed and affirm our own ideas, but state it clearly, and lay down also our objections. If the scientific world is divided in opinion, state both sides of the question, and let each one judge for himself by noticing the most striking and forcible circumstances on each side. Then, and then only, shall we do justice to the subject, please the audience, and satisfy our honour, the honour of a philosopher.

USE OF CRITICISM.

One who already had set before himself such high ideals could not fail at least to attempt to fulfil them. Accordingly, when in 1816 he began to lecture to the City Philosophical Society, he began to attend an evening class on elocution conducted by Mr. B. H. Smart, though the pinch of poverty made it difficult to him to afford the needful fees. Again, in 1823, previous to taking part in Brande’s laboratory lectures,231 he took private lessons in elocution from Smart, at the rate of half-a-guinea a lesson. After 1827, when he was beginning his regular courses of lectures in the theatre, he often used to get Mr. Smart to attend in order to criticise his delivery.

Amongst the rules found in his manuscript notes were the following:—

Never to repeat a phrase.

Never to go back to amend.

If at a loss for a word, not to ch-ch-ch or eh-eh-eh, but to stop and wait for it. It soon comes, and the bad habits are broken and fluency soon acquired.

Never doubt a correction given to me by another.

His niece, Miss Reid, who lived from 1830 to 1840 at the Institution with the Faradays, gave the following amongst her recollections:—

Mr. Magrath used to come regularly to the morning lectures, for the sole purpose of noting down for him any faults of delivery or defective pronunciation that could be detected. The list was always received with thanks; although his corrections were not uniformly adopted, he was encouraged to continue his remarks with perfect freedom. In early days he always lectured with a card before him with Slow written upon it in distinct characters. Sometimes he would overlook it and become too rapid; in this case, Anderson had orders to place the card before him. Sometimes he had the word Time on a card brought forward when the hour was nearly expired.

AS LECTURER.

In spite of his recourse to aids in acquiring elocutionary excellence, his own style remained simple and unspoiled. “His manner,” says Bence Jones, “was so natural, that the thought of any art in his lecturing never occurred to anyone. For his Friday232 discourses, and for his other set lectures in the theatre, he always made ample preparation beforehand. His matter was always over-abundant. And, if his experiments were always successful, this was not solely attributable to his exceeding skill of hand. For, unrivalled as he was as a manipulator, in the cases in which he attempted to show complicated or difficult experiments, that which was to be shown was always well rehearsed beforehand in the laboratory. He was exceedingly particular about small and simple illustrations. He never merely told his hearers about an experiment, but showed it to them, however simple and well known it might be. To a young lecturer he once remarked: ‘If I said to my audience, “This stone will fall to the ground if I open my hand,” I should open my hand and let it fall. Take nothing for granted as known; inform the eye at the same time as you address the ear.’ He always endeavoured at the outset to put himself en rapport with his audience by introducing his subject on its most familiar side, and then leading on to that which was less familiar. Before the audience became aware of any transition, they were already assimilating new facts which were thus brought within their range. Nor did he stay his discourse upon the enunciation of facts merely. Almost invariably, as his allotted hour drew towards its close, he gave rein to his imagination. Those who had begun with him on the lower plane of simple facts and their correlations were bidden to consider the wider bearings of scientific principles and their relations to philosophy, to life, or to ethics. While he never forced a peroration, nor dragged in a quotation from233 the poets, his own scientific inspiration, as he outlined some wide-sweeping speculation or suggestion for future discoveries, amply supplied the fitting finale. If the rush of his ideas might sometimes be compared to tearing through a jungle, it at least never degenerated into sermonising; and never, save when he was physically ill, failed to arouse an enthusiastic glow of response in his hearers. ‘No attentive listener,’ says Mrs. Crosse, ‘ever came away from one of Faraday’s lectures without having the limits of his spiritual vision enlarged, or without feeling that his imagination had been stimulated to something beyond the mere expression of physical facts.’”

He was not one who let himself dwell in illusions. When he did well he was perfectly conscious of the fact, and enjoyed a modest satisfaction. If he had failed of his best, he was conscious too of that. His deliberate act in giving up all other lectures at the time when his brain-troubles were gaining upon him, while retaining the Christmas lectures to juveniles, was thoroughly characteristic. Of one of his earlier courses of lectures he himself made—about 1832—the following note:—

The eight lectures on the operations of the laboratory at the Royal Institution, April, 1828, were not to my mind. There does not appear to be that opportunity of fixing the attention of the audience by a single clear, consistent, and connected chain of reasoning which occurs when a principle (sic) or one particular application is made.... I do not think the operations of the laboratory can be rendered useful and popular in lectures....

The matter of these same lectures was, however, the basis of his book on Chemical Manipulation234 published in 1827. It went through three editions, and was reprinted in America. But in 1838 he declined to let a new edition be issued, as he considered the work out of date.

Besides the note quoted above from the Faraday MS. occurs the following:—

The six juvenile lectures given Christmas, 1827, were just what they ought to have been, both in matter and manner; but it would not answer to give an extended course in the same spirit.

Nineteen times did Faraday give the Christmas lectures. Those on the Chemistry of a Candle were given more than once; and were the last he gave, in 1860. They have been published, as were those on the Forces of Nature. The lectures on Metals he was urged to publish, but declined in the following terms:—

Royal Institution, January 3, 1859.

Dear Sir,—Many thanks to both you and Mr. Bentley. Mr. Murray made me an unlimited offer like that of Mr. Bentley’s many years ago, but for the reasons I am about to give you I had to refuse his kindness. He proposed to take them by shorthand, and so save me trouble, but I knew that would be a thorough failure; even if I cared to give time to the revision of the MS., still the lectures without the experiments and the vivacity of speaking would fall far behind those in the lecture-room as to effect. And then I do not desire to give time to them, for money is no temptation to me. In fact, I have always loved science more than money; and because my occupation is almost entirely personal I cannot afford to get rich. Again thanking you and Mr. Bentley, I remain,

Very truly yours,
M. Faraday.

235

AN INSPIRED CHILD.

Of his lectures Lady Pollock wrote:—

He would play with his subject now and then, but very delicately; his sport was only just enough to enliven the attention. He never suffered an experiment to allure him away from his theme. Every touch of his hand was a true illustration of his argument.... But his meaning was sometimes beyond the conception of those whom he addressed. When, however, he lectured to children he was careful to be perfectly distinct, and never allowed his ideas to outrun their intelligence. He took great delight in talking to them, and easily won their confidence. The vivacity of his manner and of his countenance, and his pleasant laugh, the frankness of his whole bearing, attracted them to him. They felt as if he belonged to them; and indeed he sometimes, in his joyous enthusiasm, appeared like an inspired child.

... His quick sympathies put him so closely in relation with the child that he saw with the boy’s new wonder, and looked, and most likely felt for the moment, as if he had never seen the thing before. Quick feelings, quick movement, quick thought, vividness of expression and of perception, belonged to him. He came across you like a flash of light, and he seemed to leave some of his light with you. His presence was always stimulating.—St. Paul’s Magazine, June, 1870.

A writer in the British Quarterly Review says:—

He had the art of making philosophy charming, and this was due in no little measure to the fact that to grey-headed wisdom he united wonderful juvenility of spirit.... Hilariously boyish upon occasion he could be, and those who knew him best knew he was never more at home, that he never seemed so pleased, as when making an old boy of himself, as he was wont to say, lecturing before a juvenile audience at Christmas.

Caroline Fox (in “Memories of Old Friends”), under date June 13th, 1851, wrote in her journal:—

236

We went to Faraday’s lecture on “Ozone.” He tried the various methods of making ozone which Schönbein had already performed in our kitchen, and he did them brilliantly. He was entirely at his ease, both with his audience and his chemical apparatus.

In the diary of H. Crabb Robinson is an appreciation of Faraday of some interest:—

May 8th, 1840.... Attended Carlyle’s second lecture. It gave great satisfaction, for it had uncommon thoughts and was delivered with unusual animation.... In the evening heard a lecture by Faraday. What a contrast to Carlyle! A perfect experimentalist with an intellect so clear. Within his sphere un uomo compito.

Many references to Faraday’s lectures occur in the life of Sir Richard Owen (published 1894), chiefly extracted from Mrs. Owen’s diary. Two or three extracts must suffice:—

1839, Jan. 8th. At eight o’clock with R. to the Royal Institution to hear Faraday lecture on electricity, galvanism, and the electric eel. Faraday is the beau idéal of a popular lecturer.

1845, Jan. 31. To Faraday’s lecture at the Royal Institution. The largest crowd I have ever seen there. Many gentlemen were obliged to come into the ladies’ gallery, as they could not get seats elsewhere. After an exceedingly interesting lecture, Faraday said he had a few remarks to make on some new reform laws for the Institution. These remarks were admirably made, and no one could feel offended, although it was a direct attack on those gentlemen who helped to render the ladies very uncomfortable, sometimes by filling seats, and often front seats, in the part intended only for ladies. Wearing a hat in the library was one of the delinquencies, likewise sitting in the seats reserved for the directors, who were obliged by their office and duties to be last in. Mr.237 Faraday also remarked that the formation of two currents caused by certain gentlemen rushing upstairs the instant the lecture was over to fetch their lady friends was not conducive to the comfort of those coming downstairs. Everything taken very well.

ROYAL INSTITUTION LECTURES.

1849, May 28th. With R. to Royal Institution. We got there just before three, and there was a crowded audience as usual to hear Faraday’s lecture. The poor man entered and attempted to speak, but he was suffering from inflammation or excessive irritation of the larynx, and after some painful efforts to speak, a general cry arose of “Postpone,” and someone, apparently in authority, made a short speech from the gallery. Mr. Faraday still wished to try and force his voice, saying he was well aware of the difficulty of getting back the carriages, etc., before the time for the lecture had elapsed, to say nothing of the disappointment to some; but every moment the cry increased. “No, no; you are too valuable to be allowed to injure yourself. Postpone, postpone.” Poor Faraday was quite overcome.

The interrupted lecture was resumed after a fortnight’s interval; and he made up the full number of lectures by giving two extra discourses, at one of which the Prince Consort was present.

At another lecture [in 1856] Faraday explained the magnet and strength of attraction. He made us all laugh heartily; and when he threw a coalscuttle full of coals, a poker, and a pair of tongs at the great magnet, and they stuck there, the theatre echoed with shouts of laughter.

His friend De la Rive testified in striking terms to Faraday’s power as a speaker.

Nothing can give a notion of the charm which he imparted to these improvised lectures, in which he knew how to combine animated, and often eloquent, language with a judgment and art in his experiments which added to the238 clearness and elegance of his exposition. He exerted an actual fascination upon his auditors; and when, after having initiated them into the mysteries of science, he terminated his lecture, as he was in the habit of doing, by rising into regions far above matter, space, and time, the emotion which he experienced did not fail to communicate itself to those who listened to him, and their enthusiasm had no longer any bounds.

Faraday remained all his life a keen observer of other lecturers. Visiting France in 1845, he went to hear Arago give an astronomical lecture. “He delivered it in an admirable manner to a crowded audience,” was his comment.

To the Secretary of the Institution, who in 1846 consulted him regarding evening lectures, he said:

I see no objection to evening lectures if you can find a fit man to give them. As to popular lectures (which at the same time are to be respectable and sound), none are more difficult to find. Lectures which really teach will never be popular; lectures which are popular will never really teach. They know little of the matter who think science is more easily to be taught or learned than A B C; and yet who ever learned his A B C without pain and trouble? Still, lectures can (generally) inform the mind, and show forth to the attentive man what he really has to learn, and in their way are very useful, especially to the public. I think they might be useful to us now, even if they only gave an answer to those who, judging by their own earnest desire to learn, think much of them. As to agricultural chemistry, it is no doubt an excellent and a popular subject, but I rather suspect that those who know least of it think that most is known about it.

USE OF MODELS AND CARDS.

His fondness for illustrating obscure points in his lectures by models has been more than once alluded to. He would improvise these out of wood, paper,239 wire, or even out of turnips or potatoes, with much dexterity of hand. In one of his unpublished manuscripts, dating about 1826, dealing with the then recently discovered phenomena of electromagnetism, occurs the following note:—

It is best for illustration to have a model of the constant position which the needle takes across the wire: le voila (Fig. 21).

Fig. 21.

Many such simple models were used in his lectures. He leaned upon them to aid his defective memory; but they helped his audience quite as much as they aided him. Reference was made on p. 7 to his use of cards, on which to jot down notes of thoughts that occurred to him. One such runs as follows:—

Remember to do one thing at once.
Also to finish a thing.
Also to do a little if I could not do much.

Pique about mathematics in chemists, and resolution to support the character of experiment—as better for the mass. Hence origin of the title Exp. researches.

Influence of authority. Davy and difficulty of steering between self-sufficiency and dependance (sic) on others.

240

Aim at high things, but not presumptuously.

Endeavour to succeed—expect not to succeed.

Criticise one’s own view in every way by experiment—if possible, leave no objection to be put by others.

Faraday’s enthusiasm about experimental researches was at times unrestrained, and always contagious. Dumas describes how Faraday repeated for him the experimental demonstration of the action of magnetism on light. Having come to the final experiment, Faraday rubbed his hands excitedly, while his eyes lit up with fire, and his animated countenance told the passionate feelings which he brought to the discovery of scientific truth. On another occasion Plücker, of Bonn, then on a visit to London, showed Faraday in his own laboratory the action of a magnet upon the luminous electric discharge in vacuum tubes. “Faraday danced round them; and as he saw the moving arches of light, he cried: ‘Oh, to live always in it!’” Once a friend met him at Eastbourne in the midst of a tremendous storm, rubbing his hands together gleefully because he had been fortunate enough to see the lightning strike the church tower. To the Baroness Burdett-Coutts he once wrote inviting her to see some experiments upon spectrum analysis in his private room. The experiments, he wrote, will not be beautiful except to the intelligent.

Yet another reminiscence is to be found in the Memorials of Joseph Henry. It relates, probably, to the date of 1837, when Henry visited Europe.

241

Henry loved to dwell on the hours that he and Bache had spent in Faraday’s society. I shall never forget Henry’s account of his visit to King’s College, London, where Faraday, Wheatstone, Daniell, and he had met to try and evolve the electric spark from the thermopile. Each in turn attempted it and failed. Then came Henry’s turn. He succeeded, calling in the aid of his discovery of the effect of a long interpolar wire wrapped around a piece of soft iron. Faraday became as wild as a boy, and, jumping up, shouted: “Hurrah for the Yankee experiment!”

The following memorandum was found on a slip of paper in Faraday’s “research drawer”:—

THE FOUR DEGREES.

The discoverer of a fact.

The reconciling of it to known principles.

Discovery of a fact not reconcilable.

He who refers all to still more general principles.

M.F.

FREEDOM OF SPECULATION.

Faraday’s mind was of a very individual turn; he could not walk along the beaten tracks, but must pursue truth wherever it led him. His dogged tenacity for exact fact was accompanied by a perfect fearlessness of speculation. He would throw overboard without hesitation the most deeply-rooted notions if experimental evidence pointed to newer ideas. He had learned to doubt the idea of poles; so he outgrew the idea of atoms, which he considered an arbitrary conception. Many who heard his bold speculations and his free coinage of new terms deemed him vague and loose in thought. Nothing could be more untrue. He let his mind play freely about the facts; he framed thousands of hypotheses,242 only to let them go by if they were not supported by facts. “He is the wisest philosopher,” he said in a lecture on the nature of matter, “who holds his theory with some doubt—who is able to proportion his judgment and confidence to the value of the evidence set before him, taking a fact for a fact and a supposition for a supposition, as much as possible keeping his mind free from all source of prejudice; or, where he cannot do this (as in the case of a theory), remembering that such a source is there.”

In one of his later experimental researches he wrote:—

As an experimentalist, I feel bound to let experiment guide me into any train of thought which it may justify; being satisfied that experiment, like analysis, must lead to strict truth if rightly interpreted; and believing also that it is in its nature far more suggestive of new trains of thought and new conditions of natural power.

WHY NO SUCCESSOR.

Perhaps it was this very freedom of thought which debarred him from enlisting other men as collaborators in his researches. His one assistant for thirty years, Sergeant Anderson, was indeed invaluable to him for his quality of implicit obedience. Other helpers in the laboratory he had none. Apparently he found his researches to be of too individual a character to permit him to deputise any part of his work. He was never satisfied when told about another’s experiment; he must perform it for himself. Often a discovery arose from some chance or trivial incident of an otherwise unsuccessful experiment. The power of “lateral vision,” which Tyndall has so strongly emphasised, was a prime factor in his243 successes. That power could not be delegated to any mere assistant. Many times did outsiders approach him, thinking to bring new facts to his notice; never, save on the solitary occasion when a Mr. William Jenkin drew his attention to the “extra-current” spark seen on the breaking of an electric circuit, did such novelties turn out to be really new. Alleged discoveries thus brought to him merely plagued him. He thought that anyone who had the wit to observe any really new phenomenon would be the person best qualified to work it out. His method was to work on alone, dwelling amidst his experiments until the mind, familiarising itself with the facts, was ready to suggest their correlations. It was sometimes urged against him as a complaint that he never took up any younger man to train him as his successor, even as Davy had taken up himself and trained him in scientific work. One of the miscellaneous notes, found after his death, throws some light on this:—

It puzzles me greatly to know what makes the successful philosopher. Is it industry and perseverance with a moderate proportion of good sense and intelligence? Is not a modest assurance or earnestness a requisite? Do not many fail because they look rather to the renown to be acquired than to the pure acquisition of knowledge, and the delight which the contented mind has in acquiring it for its own sake? I am sure I have seen many who would have been good and successful pursuers of science, and have gained themselves a high name, but that it was the name and the reward they were always looking forward to—the reward of the world’s praise. In such there is always a shade of envy or regret over their minds, and I cannot imagine a man making discoveries in science under these feelings. As to Genius and its power,244 there may be cases; I suppose there are. I have looked long and often for a genius for our Laboratory, but have never found one. But I have seen many who would, I think, if they had submitted themselves to a sound self-applied discipline of mind, have become successful experimental Philosophers.

To Dr. Becker he wrote:

I was never able to make a fact my own without seeing it; and the descriptions of the best works altogether failed to convey to my mind such a knowledge of things as to allow myself to form a judgment upon them. It was so with new things. If Grove, or Wheatstone, or Gassiot, or any other told me a new fact, and wanted my opinion either of its value, or the cause, or the evidence it could give on any subject, I never could say anything until I had seen the fact. For the same reason I never could work, as some Professors do most extensively, by students or pupils. All the work had to be my own.

INCOME AND EXPENDITURE.

Of Faraday’s social life and surroundings during his meridional and later period much might be written. After his great researches of 1831 to 1836 scientific honours flowed in freely upon him, especially from foreign academies and universities; and the fame he won at home would have brought him, had he been so minded, an ample professional fortune and all the artificial amenities of Society which follow the successful money-maker. From all such mundane “success” he cut himself off when in 1831 he decided to abandon professional fee-earning, and to devote himself to the advancement of science. Probably the tenets of the religious body to which he belonged were a leading factor in compelling this decision. Not having laid upon him the necessity of providing for a family, and accustomed to live in an unostentatious245 style, he could contemplate the future without anxiety. With his pension, his Woolwich lectures, and his Trinity House appointment, Faraday was in no sense poor, though his Royal Institution professorship never brought him so much as £300 a year until after he was over sixty years of age; but on the other hand, his private charities were very numerous. How much of his income was spent in that way can never be known; for the very privacy of his deeds of kindness prevented any record from being kept. Certain it is that his gifts to the aged poor and sick must have amounted to several hundreds of pounds a year; for while his income for many years must have averaged at least £1,000 or £1,100, and his domestic expenditure could not have much exceeded half that sum, he does not seem to have attempted to save anything. Nor did he grudge time or strength to do kindly charitable acts in visiting the sick.

From about the year 1834 he resolutely declined invitations to dinners and such social gaieties; not, as some averred, from any religious asceticism, but that he might the more unrestrainedly devote himself to his researches. “If,” says Mrs. Crosse, “Babbage, Wheatstone, Grove, Owen, Tyndall, and a host of other distinguished scientists, were to be met very generally in the society of the day, there was one man who was very conspicuous by his absence—this was Faraday! His biographers say that in earlier years he occasionally accepted Lady Davy’s invitations to dinner; but I never heard of his going anywhere, except in obedience to the commands of royalty.” He did indeed occasionally dine quietly with Sir Robert246 Peel or Earl Russell; and of the few public dinners he attended, he enjoyed most the annual banquet of the Royal Academy of Arts.

Faraday does not, however, appear to have had any very direct relations with the world of art. Once he was consulted by Lord John Russell as to the removal of Raphael’s cartoons from Hampton Court to the National Gallery. His advice was adverse, on account of the penetrating power of dust. Though a sufficiently good draughtsman to prepare his own drawings, he had little or no knowledge of the technicalities of painting. Yet his sensitive and enthusiastic temperament had much in common with that of the artist, and he enjoyed music, especially good music, greatly. In early life he played the flute and knew many songs by heart. He took bass parts in concerted singing, and is said to have sung correctly in time and tune. In his circle of acquaintanceship were numbered several painters of eminence—Turner, Landseer, and Stanfield. His brother-in-law, Mr. George Barnard, the late well-known water-colour artist, has written the following note:—

My first and many following sketching trips were made with Faraday and his wife. Storms excited his admiration at all times, and he was never tired of looking into the heavens. He said to me once, “I wonder you artists don’t study the light and colour in the sky more, and try more for effect.” I think this quality in Turner’s drawings made him admire them so much. He made Turner’s acquaintance at Hullmandel’s, and afterwards often had applications from him for chemical information about pigments. Faraday always impressed upon Turner and other artists the great necessity there was to247 experiment for themselves, putting washes and tints of all their pigments in the bright sunlight, covering up one half, and noticing the effect of light and gases on the other....

Faraday did not fish at all during these country trips, but just rambled about geologising or botanising.

SCIENCE, LITERATURE, AND ART.

Earlier in his career, Faraday and his brother-in-law used to enjoy conversaziones of artists, actors, and musicians at Hullmandel’s. Sometimes they went up the river in Hullmandel’s eight-oar boat, camping gipsy-wise on the banks for dinner, and enjoying the singing of Signor Garcia and his wife and of his daughter, afterwards Madame Malibran. From these things, too, he withdrew very largely when he ceased to dine out, though he still liked to hear the opera and to visit the theatre. Curiously enough, he seems to have had very little in common with literary men. In the last half of the previous century there had been many intimate relations between the leaders of literature and those of science. The circle which included Watt, Boulton, and Wedgwood included also Priestley and Erasmus Darwin. In our own time the names of Darwin, Huxley, Hooker, and Tyndall are to be found in conjunction with those of Tennyson, Browning, and Jowett. But the biographies of literary men and artists of the period from 1830 to 1850 bear few references to Faraday. He moved in his own world, and that a world very much apart from literature or art. In his method of working he was indeed an artist, often feeling his way rather than calculating it, and arriving at his conclusions by what seemed insight rather than by any direct process of reasoning. The discovery of truth comes about in248 many ways; and if Faraday’s method in science was artistic rather than scientific, it was amply justified by the brilliant harvest of discoveries which it enabled him to reap.

As is well known, Faraday never took out any patents for his discoveries; indeed, whenever in his investigations he seemed to come near to the point where they began to possess a marketable value from their application to the industries, he left them, to pursue his pioneering inquiries in other branches. He sought, indeed, for principles rather than for processes, for facts new to science rather than for merchantable inventions. When he had made the discovery of magneto-electric induction—the basis of all modern electric engineering—he carried the research to the point of constructing several experimental machines, and then abruptly turned away with these memorable words:—

I have rather, however, been desirous of discovering new facts and new relations dependent on magneto-electric induction than of exalting the force of those already obtained; being assured that the latter would find their full development hereafter.

PRACTICAL UTILITIES.

Several times was Faraday known, when asked about the possible utility of some new scientific discovery, to quote Franklin’s rejoinder: “What is the use of a baby?”

It is narrated of him that on one occasion, at a Trinity House dinner, he and the Duke of Wellington had a little friendly chat, in the course of which the Duke advised Faraday to give his speculations “a practical turn as far as possible”—“a suggestion,”249 said Faraday, who always spoke of the veteran with pleasure, “full of weight, coming from such a man.” Faraday was, however, the last to despise the importance of industrial applications of science. In his unpublished manuscripts at the Royal Institution there are some curious references to trials which he made of a meat-canning process, invented about 1848 by a Mr. Goldner, of Finsbury. He also had fancies for other domestic applications, including wine-making. He used himself to bind his own note-books. To a Mr. Woolnough, who had written a book on the marbling of paper, he wrote a letter saying how much interest he felt in the subject, “because of its associations with my early occupation of bookbinding; and also because of the very beautiful principles of natural philosophy which it involves.” He even, on one occasion, produced a home-made pair of boots. His devotion to the practical applications of science is attested by his untiring work for improving the lighthouses of our coast. It is believed that his death was accelerated by a severe cold caught when on a visit of lighthouse inspection during stormy weather.

Faraday was never ashamed of the circumstance of his having risen from a humble origin. In his letters he not unfrequently alludes to things that remind him of his bookbinding experiences, or of boyish episodes in his father’s smithy. Yet he had none of the vulgar pride of ascent which too often dogs the path of the self-made man. Severe self-discipline and genuine humility prevented either undue proclamation or awkward reticence respecting his early life. His elder brother Robert was a gasfitter.250 Faraday was not ashamed to help him to secure work in his trade, nor to give him the benefit of his scientific aid in perfecting appliances for ventilating by gas-burners. The following characteristic story was told by Frank Barnard:—

Robert was throughout life a warm friend and admirer of his younger brother, and not a whit envious at seeing himself passed in the social scale by him. One day he was sitting in the Royal Institution just previous to a lecture by the young and rising philosopher, when he heard a couple of gentlemen behind him descanting on the natural gifts and rapid rise of the lecturer. The brother—perhaps not fully apprehending the purport of their talk—listened with growing indignation while one of them dilated on the lowness of Faraday’s origin. “Why,” said the speaker, “I believe he was a mere shoeblack at one time.” Robert could endure this no longer; but turning sharply round he demanded: “Pray, sir, did he ever black your shoes?” “Oh! dear no, certainly not,” replied the gentleman, much abashed at the sudden inquisition into the facts of the case.

SPIRIT MEDIUMS EXPOSED.

In 1853 Faraday came before the public in a novel manner—as the exposer of the then rampant charlatanry of table-turning and spirit-rapping. The Athenæum for July 2nd contains a long letter from him on table-turning. He experimentally investigated the alleged phenomena as produced by three skilful mediums in séances at the house of a friend. His mechanical skill was more than a match, however, for that of the supposed spirits. When the observers assembled around the table placed their hands in the orthodox way upon the table-top, the table turned, apparently without any effort on the part of any one of the party. This was eminently251 satisfactory for the spirits. But when Faraday interposed between each hand and the table-top a simple roller-mechanism which, if any individual in the circle applied muscular forces tending to turn it, instantly indicated the fact, the table remained immovable. Faraday wrote merely describing the facts, and saying that the test apparatus was now on public view at 122, Regent Street. He ends thus:—

I must bring this long description to a close. I am a little ashamed of it, for I think, in the present age, and in this part of the world, it ought not to have been required. Nevertheless, I hope it may be useful. There are many whom I do not expect to convince; but I may be allowed to say that I cannot undertake to answer such objections as may be made. I state my own convictions as an experimental philosopher, and find it no more necessary to enter into controversy on this point than on any other in science, as the nature of matter, or inertia, or the magnetisation of light, on which I may differ from others. The world will decide sooner or later in all such cases, and I have no doubt very soon and correctly in the present instance.

This exposure excited great interest at the time, and there was an active correspondence in The Times. The spiritualists, instead of appreciating the services to truth rendered by the man of science, railed bitterly at him. Even the refined and noble spirit of Mrs. Browning was so dominated by the superstition of the moment that, as shown by her recently published letters, she denounced Faraday in singularly acrimonious terms, and taunted him for shallow materialism! What Faraday thought of the hubbub evoked by his action is best learned from a letter252 which he addressed three weeks later to his friend Schönbein:—

I have not been at work except in turning the tables upon the table-turners, nor should I have done that, but that so many inquiries poured in upon me, that I thought it better to stop the inpouring flood by letting all know at once what my views and thoughts were. What a weak, credulous, incredulous, unbelieving, superstitious, bold, frightened, what a ridiculous world ours is, as far as concerns the mind of man. How full of inconsistencies, contradictions, and absurdities it is. I declare that, taking the average of many minds that have recently come before me (and apart from that spirit which God has placed in each), and accepting for a moment that average as a standard, I should far prefer the obedience, affections, and instinct of a dog before it. Do not whisper this, however, to others. There is One above who worketh in all things, and who governs even in the midst of that misrule to which the tendencies and powers of men are so easily perverted.

He declined an invitation in 1855 to see manifestations by the medium Home, saying that he had “lost too much time about such matters already.” Nine years later the Brothers Davenport invited him to witness their cabinet “manifestations.” Again he declined, and added: “I will leave the spirits to find out for themselves how they can move my attention. I am tired of them.”

In this year he wrote to The Times respecting the disgraceful and insanitary condition of the river Thames. In Punch of the following week appeared a cartoon representing Faraday presenting his card to old Father Thames, who rises holding his nose to avoid the stench.

FAILURE OF MEMORY.

With increasing age the infirmity of loss of253 memory made itself increasingly felt. He alludes frequently to this in his letters. To one friend who upbraided him gently for not having replied to a letter he says: “Do you remember that I forget?” To another he says he is forgetting how to spell such words as “withhold” and “successful.” To Matteucci, in 1849, he bemoans how, after working for six weeks at certain experiments, he found, on looking back to his notes, he had ascertained all the same results eight or nine months before, and had entirely forgotten them! In the same year he wrote to Dr. Percy:—

I cannot be on the Committee; I avoid everything of that kind, that I may keep my stupid head a little clear. As to being on a Committee and not working, that is worse still.

In 1859, in a letter to his niece, Mrs. Deacon, filled mainly with religious thoughts, he says: “My worldly faculties are slipping away day by day. Happy is it for all of us that the true good lies not in them.”

From the journals of Walter White comes the following anecdote under date December 22nd, 1858:—

Mr. Faraday called to enquire on the part of Sir Walter Trevelyan whether a MS. of meteorological observations made in Greenland would be acceptable. The question answered, I expressed my pleasure at seeing him looking so well, and asked him if he were writing a paper for the Royal. He shook his head. “No: I am too old.” “Too old? Why, age brings wisdom.” “Yes, but one may overshoot the wisdom.” “You cannot mean that you have outlived your wisdom?” “Something like it, for my memory is gone. If I make an experiment, I forget before twelve hours are over whether the result was positive or negative; and how can I write a paper254 while that is the case? No, I must content myself with giving my lectures to children.”

From another source we learn of a hitherto unrecorded incident which happened to Mr. Joseph Newton, for some time an assistant in the Royal Mint. While arranging some precious material on the Royal Institution theatre lecture-table, previous to a lecture on the Mint and minting operations by Professor Brande, Mr. Newton noticed an elderly, spare, and very plainly-dressed individual watching his movements. Imagining that this person was a superior messenger of the Institution, Mr. Newton volunteered some information as to the coinage of gold. “I suppose,” said the Mint employee, “you have been some years at the Royal Institution?” “Well, yes, I have, a good many,” responded the dilapidated one. “I hope they treat you pretty liberally—I mean, that they give you a respectable ‘screw,’ for that is the main point.” “Ah! I agree with you there. I think that the labourer is worthy of his hire, and I shouldn’t mind being paid a little better.” Mr. Newton’s surprise, on returning to the Royal Institution in the evening, to find that the man whom he had so recently patronised was none other than the illustrious but modest Michael Faraday can better be imagined than described.

A pretty instance, given on the authority of Lady Pollock, may be recorded of the feeling aroused by Faraday’s presence when he returned to his accustomed seat in the lecture-room of the Royal Institution, after a protracted absence occasioned by illness:—

255

As soon as his presence was recognised, the whole audience rose simultaneously and burst into a spontaneous utterance of welcome, loud and long. Faraday stood in acknowledgment of this enthusiastic greeting, with his fine head slightly bent; and then a certain resemblance to the pictures and busts of Lord Nelson, which was always observable in his countenance, was very apparent. His hair had grown white and long, his face had lengthened, and the agility of his movement was gone. The eyes no longer flashed with the fire of the soul, but they still radiated kindly thought; and ineffaceable lines of intellectual force and energy were stamped upon his face.

HONOURS OFFERED AND DECLINED.

In 1857 he was offered the Presidency of the Royal Society. A painting preserved in the rooms of the Royal Society records the scene when Lord Wrottesley, Grove, and Gassiot waited upon him as a deputation from the Council, to press on him his acceptance of the highest place which science has to offer. He hesitated and finally declined, even as he had declined the suggestion of knighthood years before. “Tyndall,” he said in private to his successor, “I must remain plain Michael Faraday to the last; and let me now tell you, that if I accepted the honour which the Royal Society desires to confer upon me, I could not answer for the integrity of my intellect for a single year.” He also declined the Presidency of the Royal Institution, which he had served for fifty years. His one desire was for rest. “The reverent affection of his friends was,” said Tyndall, “to him infinitely more precious than all the honours of official life.”

Allusion has been made to Faraday’s tender and chivalrous regard for his wife. Extracts from two letters, written in 1849 and 1863 respectively, must here suffice to complete the story:—

256

Birmingham, Dr. Percy’s:
Thursday evening, September 13, 1849.

My Dearest Wife,—I have just left Dr. Percy’s hospitable table to write to you, my beloved, telling you how I have been getting on. I am very well, excepting a little faceache; and very kindly treated here. They all long most earnestly for your presence, for both Mrs. and Dr. Percy are anxious you should come; and this I know, that the things we have seen would delight you, but then I doubt your powers of running about as we do; and though I know that if time were given you could enjoy them, yet to press the matter into a day or two would be a failure. Besides this, after all, there is no pleasure like the tranquil pleasures of home, and here—even here—the moment I leave the table, I wish I were with you IN QUIET. Oh! what happiness is ours! My runs into the world in this way only serve to make me esteem that happiness the more. I mean to be at home on Saturday night, but it may be late first, so do not be surprised at that; for if I can, I should like to go on an excursion to the Dudley caverns, and that would take the day....

Write to me, dearest. I shall get your letter on Saturday morning, or perhaps before.

Love to father, Margery, and Jenny, and a thousand loves to yourself, dearest,

From your affectionate husband,
M. Faraday.

* * * * *

5, Claremont Gardens, Glasgow:
Monday, August 14, 1863.

Dearest,—Here is the fortnight complete since I left you and the thoughts of my return to our home crowd in strongly upon my mind. Not that we are in any way uncared for, or left by our dear friends, save as I may desire for our own retirement. Everybody has overflowed with kindness, but you know their manner, and their desire, by your own experience with me.257 I long to see you, dearest, and to talk over things together, and call to mind all the kindness I have received. My head is full, and my heart also, but my recollection rapidly fails, even as regards the friends that are in the room with me. You will have to resume your old function of being a pillow to my mind, and a rest, a happy-making wife.

My love to my dear Mary. I expect to find you together, but do not assume to know how things may be.

Jeannie’s love with mine, and also Charlotte’s, and a great many others which I cannot call to mind.

Dearest, I long to see and be with you, whether together or separate.

Your husband, very affectionate,
M. Faraday

THE WIFE AND THE QUEEN.

In 1858 the Queen, at the suggestion of Prince Albert, who much esteemed and valued Faraday’s genius, placed at his disposal for life a comfortable house on the green near Hampton Court. Faraday’s only hesitation in accepting the offer was a doubt whether he could afford the needful repairs. On a hint of this reaching the Queen, she at once directed that it should be put into thorough repair inside and out. He still kept his rooms at the Royal Institution, and continued to live there occasionally.

With the increasing infirmities of age, his anxieties for his wife seemed to be the only trouble that marred the serenity of his thought. Lady Pollock’s narrative gives the following particulars:—

Sometimes he was depressed by the idea of his wife left without kin—of the partner of his hopes and cares deprived of him. She had been the first love of his ardent soul; she was the last; she had been the brightest dream of his youth, and she was the dearest comfort of his age; he never ceased for an258 instant to feel himself happy with her; and he never for one hour ceased to care for her happiness. It was no wonder, then, that he felt anxiety about her. But he would rally from such a trouble with his great religious trust, and looking at her with moist eyes, he would say, “I must not be afraid; you will be cared for, my wife; you will be cared for.”

There are some who remember how tenderly he used to lead her to her seat at the Royal Institution when she was suffering from lameness; how carefully he used to support her; how watchfully he used to attend all her steps. It did the heart good to see his devotion, and to think what the man was and what he had been.

Fig. 22.FARADAY’S HOME AT HAMPTON COURT.
CLOSE OF SCIENTIFIC CAREER.

Gradually his powers waned. He gave his last juvenile lectures at Christmas, 1860; and in October, 1861, being now seventy years of age, he resigned his259 Professorship, while retaining the superintendence of the laboratory. “Nothing,” he wrote to the managers, “would make me happier in the things of this life than to make some scientific discovery or development, and by that to justify the Board in their desire to retain me in my position here.” His last research in the laboratory was made on March 12, 1862. On June 20th he gave his last Friday night discourse—on Siemens’s gas furnaces. He had, as his notes show, already made up his mind to announce his retirement, and the lecture was a sad and touching occasion, for the failure of his powers was painfully evident. He continued for two years longer, and with surprising activity, to work for Trinity House on the subject of lighthouse illumination by the electric light. In 1865 he resigned these duties to Dr. Tyndall. In 1864 he resigned his eldership in the Sandemanian church. In March, 1865, he resigned the position of superintendent of the house and laboratories of the Royal Institution. He continued to attend the Friday evening meetings; but his tottering condition of frame and mind was apparent to all. All through the winter of 1865 and 1866 he became very feeble. Yet he took an interest in Mr. Wilde’s description of his new magneto-electric machine. Almost the last pleasure he showed on any scientific matter was when viewing the long spark of a Holtz’s influence machine. He still enjoyed looking at sunsets and storms. All through the summer and autumn of 1866 and the spring of 1867 his physical powers waned. He was faithfully and lovingly tended by his wife and his devoted niece, Jane Barnard. He was scarcely able to move,260 but his mind “overflowed” with the consciousness of the affectionate regard of those around him. He gradually sank into torpor, saying nothing and taking little notice of anything. Sitting in his chair in his study, he died peacefully and painlessly on the 26th of August, 1867. On the 30th of August he was quietly buried in Highgate Cemetery, his remains being committed to the earth, in accordance with the custom of the religious body to which he belonged, in perfect silence. None but personal friends were present, the funeral being by his own verbal and written wishes strictly simple and private. A simple unadorned tombstone marks the last resting-place of Michael Faraday.


Between Faraday and the scientific men of his time there subsisted many various relations. The influence which he exerted as a lecturer and as an experimental investigator was unique; but, apart from such influences, those relations were mainly confined to individual friendships. With the organisation of science he had relatively very little to do. We have seen how highly he prized the honour of admission to the Fellowship of the Royal Society; and it remains to be told of the gratification with which he accepted the scientific honours which he received from almost every academy and university in Europe. Yet he took little part in the work of scientific societies as such. Four years after his election as F.R.S. he served on the Council, and he remained on till 1831. He served again in 1833 and 1835. He was not, however, satisfied with the management of the Royal Society, nor with the way in which its Fellowship was at that time bestowed on men who had no real claims on science, but were nominated through influence. Echoes of this262 discontent are to be found in various pamphlets of the day by Moll, Babbage, South, and others. Faraday, who edited Moll’s pamphlet on the “Decline of Science,” is believed to have had an even larger share in its production. In 1830 the really scientific men amongst the Fellows desired to place Sir John Herschel as President; the less scientific preferred the Duke of Sussex. Faraday took the unusual step of speaking on the question, advocating the principle that eminence in science should be the sole qualification for the Presidency. At the same meeting Herschel moved, and Faraday seconded, a plan for reforming the Council by nominating a list of fifty Fellows from whose number the Council should be chosen. They carried their plan, and Faraday’s name was amongst those so selected to serve. But the presidential election went in favour of the Duke of Sussex by 119 to 110 votes. After 1835 Faraday never served again on the Council. In 1843 he wrote to Matteucci:—

I think you are aware that I have not attended at the Royal Society, either meetings or council, for some years. Ill health is one reason, and another that I do not like the present constitution of it, and want to restrict it to scientific men. As these my opinions are not acceptable, I have withdrawn from any management in it (still sending scientific communications if I discover anything I think worthy). This, of course, deprives me of power there.

REFORM IN THE ROYAL SOCIETY.

Two months earlier he wrote to Grove, who at that time was carrying out the long-needed reforms, sympathising, but declining to co-operate:—

263

Royal Institution,
December 21, 1842.

My dear Grove,—... As to the Royal Society, you know my feeling towards it is for what it has been, and I hope may be. Its present state is not wholesome. You are aware that I am not on the council, and have not been for years, and have been to no meeting there for years; but I do hope for better times. I do not wonder at your feeling—all I meant to express was a wish that its circumstances and character should improve, and that it should again become a desirable reunion of all really scientific men. It has done much, is now doing much, in some parts of science, as its magnetic observations show, and I hope will some day become altogether healthy.

Ever, my dear Grove, yours sincerely,
M. Faraday.

Though he continued down to 1860 to send researches for publication to the Royal Society, he seldom attended its meetings.56 He was not even present in November, 1845, on the occasion of the reading of his paper on the action of the magnet on light. In 1857 he declined the Presidency, though urged by the unanimous wish of the Council, as narrated on p. 225.

Though in the meridian of his active life, he took264 no part in the founding of the British Association in 1831, but was at the Oxford meeting in 1832, being one of the four scientific men (p. 65) selected to receive the honorary degree of D.C.L. on that occasion. He also communicated a paper on Electro-chemical Decomposition to the B.A. meeting at Cambridge in 1833. He acted as president of the Chemical Section of the Association in 1837 at Liverpool, and in 1846 at Southampton; and he was chosen as vice-president of the Association itself in the years 1844, at York (p. 224); 1849, at Birmingham (p. 256); and 1853, at Hull. He delivered evening discourses in 1847, at Oxford, on Magnetic and Diamagnetic Phenomena; and in 1849, at Birmingham, on Mr. Gassiot’s Battery. He also contributed to the proceedings at the meetings at Ipswich in 1851 and at Liverpool in 1854.

His comparative aloofness from scientific organisations arose probably from the exceedingly individual nature of his own researches—to which allusion was made on p. 242—rather than from any lack of sympathy. He had no jealousy of co-operation in science. To Tyndall, then at Marburg, he wrote in 1850 rejoicing at the circumstance that the work on the magnetic properties of crystals was being taken up by others. “It is wonderful,” he says, “how much good results from different persons working at the same matter. Each one gives views and ideas new to the rest. When science is a republic, then it gains; and though I am no republican in other matters, I am in that.” Other causes there were, doubtless, tending to his isolation,265 amongst them an old jealousy, now long dead, against the Royal Institution on the part of some of the Fellows of the Royal Society. Above all, probably, was his detestation of controversy.

PRIORITY IN SCIENTIFIC DISCOVERY.
PRIORITY IN PUBLICATION.

Priority in scientific discovery was a matter which deeply concerned one whose life was devoted to scientific pioneering. To any question as to scientific priority between himself and other workers he was keenly sensitive. This was, indeed, natural in one who had voluntarily relinquished fortune, and retired from lucrative professional work, in the sole and single aim of advancing natural knowledge. His single-minded and sensitive nature made him particularly scrupulous in all such matters, and his early experiences must have added to the almost excessive keenness of his perceptions. Having had in 1823, when still merely assistant to Davy, to bear the double burden of a serious misunderstanding with Dr. Wollaston as to the originality of his discovery of the electro-magnetic rotations, and of a serious estrangement from his master arising out of the liquid chlorine discovery—an estrangement which threatened to cause his election to the Royal Society to be indefinitely postponed—he was in later life especially precise in dating and publishing his own researches. In 1831 there arose, concerning his great discovery of magneto-electric induction, a curious misunderstanding. His discovery was, as we have seen, made in September and October. He collected his results and arranged them in the splendid memoir—the first in the series of “Experimental Researches in Electricity”—which was read at the266 Royal Society on November 24th. The résumé of his work, which he wrote five days later to Phillips, is given on pages 114–117. A fortnight later he wrote a shorter and hasty letter in the same way to his friend, M. Hachette of Paris—a letter which Faraday subsequently well termed “unfortunate,” in view of the consequences that followed. M. Hachette, a week later, communicated Faraday’s letter to the Académie des Sciences on December 26th. It was published in Le Temps of December 28th. At that date the complete memoir read to the Royal Society was not yet printed or circulated. The consequence was that two Italian physicists, MM. Nobili and Antinori, seeing the brief letter, and “considering that the subject was given to the philosophical world for general pursuit,” immediately began researches on magneto-electric induction in ignorance of Faraday’s full work. Their results they embodied in a paper, in which they claimed to have “verified, extended, and, perhaps, rectified the results of the English philosopher,” accusing him of errors both in experiment and theory, and even of a breach of good faith as to what he had said about Arago’s rotations. This paper they dated January 31st, 1832; but it was published in the belated number of the Antologia for November, 1831, where its appearance at an apparently earlier date than Faraday’s original paper in the Philosophical Transactions made many Continental readers suppose that the researches of Nobili and Antinori preceded those of Faraday. In June, 1832, Faraday published in the Philosophical Magazine a translation of Nobili’s memoir, with his267 own annotations; and later in the year he wrote to Gay Lussac a long letter on the errors of Nobili and Antinori. He showed how, in spite of his efforts to clear up the misunderstanding, in spite of his having sent several months previously to MM. Nobili and Antinori copies of his original papers, no correction or retractation had been made by them; and he concluded by a dignified protest that none might say he had been too hasty to write that which might have been avoided. It may be taken that the rule now recognised as to priority of scientific publication—namely, that it dates from the day when the discoverer communicates it formally to any of the recognised learned societies—was virtually established by Faraday’s example. It will be remembered that writing to De la Rive in 1845, to tell him of his diamagnetic discoveries, he begged him to keep the matter secret, adding: “I ought (in order to preserve the respect due to the Royal Society) not to write a description to any one until the paper has been received or even read there.” To younger men he inculcated the necessity of proper and prompt publication of their researches if they would reap the benefit of their work. To Sir William Crookes, then a rising young chemist, he said: “Work, Finish, Publish.” Writing in 1853 to Professor Matteucci, who had been annoyed with him for allowing Du Bois Reymond, with whom Matteucci had had some controversy about priority, to dedicate his book to him, Faraday says: “Who has not to put up in his day with insinuations and misrepresentations in the accounts of his proceedings given by others, bearing for the268 time the present injustice, which is often unintentional, and often originates in hasty temper, and committing his fame and character to the judgment of the men of his own and future time?”... “I see that that moves you which would move me most—namely, the imputation of a want of good faith—and I cordially sympathise with any one who is so charged unjustly. Such cases have seemed to me almost the only ones for which it is worth while entering into controversy.”... “These polemics of the scientific world are very unfortunate things; they form the great stain to which the beautiful edifice of scientific truth is subject. Are they inevitable?

Controversy whether in religion or science was to him alike detestable. He took no part in politics. A letter to Tyndall (see “Faraday as a Discoverer,” p. 39), written after the latter had told him of a rather heated discussion at the British Association meeting in 1855, speaks of his own efforts at forbearance. He says:—

These great meetings, of which I think very well altogether, advance science chiefly by bringing scientific men together and making them to know and be friends with each other; and I am sorry when that is not the effect in every part of their course.... The real truth never fails ultimately to appear.... It is better to be blind to the results of partisanship, and quick to see good will. One has more happiness in oneself in endeavouring to follow the things that make for peace. You can hardly imagine how often I have been heated in private when opposed, as I have thought unjustly and superciliously, and yet I have striven, and succeeded I hope, in keeping down replies of the like kind. And I know I have never lost by it.

269

HATRED OF CONTROVERSY.

During the years when he was examining the apparatus of rival inventors for lighthouse illumination, he could calmly hear them described as Mr. So-and-So’s electric lights, all the while knowing that it was his own discovery of magneto-electric induction which had made the mechanical production of electric light possible. Yet he fired up if anyone dared to revive the priority dispute between Davy and Stephenson as to the invention of the safety lamp. “Disgraceful subject,” was his own comment. In his dispute with Snow Harris as to the design of lightning rods, in which, as it is now known, Snow Harris was right; in his dispute with Airy over the curved lines of force; in his minor difficulties over Hare’s pile and Becquerel’s magnetic observations, none could either assert his own position with more simple dignity, nor admit with greater frankness the rights of his rival.

To Hare he wrote:—

You must excuse me, however, for several reasons from answering it [Hare’s letter] at any length; the first is my distaste for controversy, which is so great that I would on no account our correspondence should acquire that character. I have often seen it do great harm, and yet remember few cases in natural knowledge where it has helped much either to pull down error or advance truth. Criticism, on the other hand, is of much value.

When we reflect how large a part of his experimental researches was devoted to establishing the relations between the various forces of nature, we cannot but think that Faraday must have regarded with somewhat mixed feelings the publication in 1846 of Sir William Grove’s volume on the Correlation of270 Forces. He had, in June, 1834, given a course of lectures on the mutual relation of chemical and electrical phenomena, and had dealt therein with the conversion of chemical and electrical power into heat, and had speculated on the inclusion of gravitation in these mutual relations. In 1853 Faraday marked the old lecture notes of these lectures with his initials, and endorsed them with the words “Correlation of Physical Forces.” Probably none rejoiced more than he that Grove had undertaken the work of popularising the notion which for a score of years had been familiar to himself. Yet he was keen to resent an unjust reflection, as is shown by his letter to Richard Phillips, republished in Vol. II. of the “Experimental Researches,” p. 229, respecting Dr. John Davy’s Life of Sir Humphry.

Faraday has himself left on record (p. 10) that when he wrote to Davy asking to be taken into his employment, his motive was his desire “to escape from trade, which I thought vicious and selfish, and to enter into the service of Science, which, I imagined, made its pursuers amiable and liberal.” Davy had smiled at this boyish notion, and had told him that the experience of a few years would correct his ideas. Years afterwards he spoke of this matter to Mrs. Andrew Crosse in an interview which she has recorded:—

After viewing the ample appliances for experimental research, and feeling much impressed by the scientific atmosphere of the place, I turned and said, “Mr. Faraday, you must be very happy in your position and with your pursuits, which elevate you entirely out of the meaner aspects and lower aims of common life.”

271

He shook his head, and with that wonderful mobility of countenance which was characteristic, his expression of joyousness changed to one of profound sadness, and he replied: “When I quitted business and took to science as a career, I thought I had left behind me all the petty meannesses and small jealousies which hinder man in his moral progress; but I found myself raised into another sphere, only to find poor human nature just the same everywhere—subject to the same weaknesses and the same self-seeking, however exalted the intellect.”

These were his words as well as I can recollect; and, looking at that good and great man, I thought I had never seen a countenance which so impressed me with the characteristic of perfect unworldliness.

HONOURS AND TITLES.

Probably few men have ever been recipients of so many scientific honours as Faraday. Beginning in the year 1823 with his election as a corresponding member of the Académie des Sciences of Paris, and as an honorary member of the Cambridge Philosophical Society, the list of his diplomas and distinctions—some ninety-seven in number—ended in 1864 with his election as Associate of the Royal Academy of Sciences of Naples. It included honours from almost every academy and university of Europe. These honours Faraday valued very highly; and whilst he consigned his various gold medals to a mere wooden box, his diplomas were kept with the utmost care in a special diploma book, in which they were mounted and indexed. To Mr. Spring Rice, who in 1838 asked him for a list of his titles, he replied, enclosing the list, and adding this remark: “One title, namely that of F.R.S., was sought and paid for; all the rest are spontaneous offerings of kindness and goodwill from272 the bodies named.” Years afterwards he was asked by Lord Wrottesley to advise the Government as to how the position of science or of the cultivators of science in England might be improved. The letter is so characteristic that it cannot be spared:—

Royal Institution: March 10, 1854.

My Lord,—I feel unfit to give a deliberate opinion on the course it might be advisable for the Government to pursue if it were anxious to improve the position of science and its cultivators in our country. My course of life, and the circumstances which make it a happy one for me, are not those of persons who conform to the usages and habits of society. Through the kindness of all, from my Sovereign downwards, I have that which supplies all my need; and in respect of honours, I have, as a scientific man, received from foreign countries and sovereigns those which, belonging to very limited and select classes, surpass in my opinion anything that it is in the power of my own to bestow.

I cannot say that I have not valued such distinctions; on the contrary, I esteem them very highly, but I do not think I have ever worked for or sought after them. Even were such to be now created here, the time is past when these would possess any attraction for me....

Without thinking of the effect it might have upon distinguished men of science, or upon the minds of those who, stimulated to exertion, might become distinguished, I do think that a government should, for its own sake, honour the men who do honour and service to the country. I refer now to honours only, not to beneficial rewards. Of such honours, I think, there are none. Knighthoods and baronetcies are sometimes conferred with such intentions, but I think them utterly unfit for that purpose. Instead of conferring distinction, they confound the man who is one of twenty, or perhaps fifty, with hundreds of others. They depress rather than exalt him, for they tend to lower the especial distinction of mind to the commonplace of society. An intelligent country273 ought to recognise the scientific men amongst its people as a class. If honours are conferred upon eminence in any class, as that of the law or the army, they should be in this also. The aristocracy of the class should have other distinctions than those of lowly and high-born, rich and poor, yet they should be such as to be worthy of those whom the sovereign and the country should delight to honour; and, being rendered very desirable, and even enviable, in the eyes of the aristocracy by birth, should be unattainable except to that of science. Thus much, I think, the Government and the country ought to do, for their own sake and the good of science, more than for the sake of the men who might be thought worthy of such distinction. The latter have attained to their fit place, whether the community at large recognise it or not....

I have the honour to be, my lord, your very faithful servant,

M. Faraday.

HOW SCIENCE CAN BE HONOURED.

To Professor Andrews he wrote in 1843 in a similar strain:—

I have always felt that there is something degrading in offering rewards for intellectual exertion, and that societies or academies, or even kings and emperors, should mingle in the matter does not remove the degradation, for the feeling which is hurt is a point above their condition, and belongs to the respect which a man owes to himself.... Still, I think rewards and honours good if properly distributed; but they should be given for what a man has done, and not offered for what he is to do.

When a friend wrote to him on hearing a rumour that he had himself been knighted, his reply, published years after in the London Review, was: “I am happy that I am not a Sir, and do not intend (if it depends upon me) to become one. By the Prussian274 knighthood57 I do feel honoured; in the other I should not.”

On one occasion he commented rather sarcastically upon the British Government and its stinginess as compared with those of all other civilised countries in its aids to scientific progress. This complaint is equally justified to-day. To many it may be news that England pays to its Astronomer Royal—who must obviously be a person of very high scientific qualifications—a salary less than those paid to the five assistant under-secretaries in the Colonial and Foreign Offices; less than that paid to the sergeants-at-arms in the Houses of Parliament; less than that paid to the person appointed Director of Clothing in the War Office. Enlightened England!

Faraday did not deem the pursuit of science to be necessarily incompatible with what he termed “professional business”—that is, expert work. Until the day when he abandoned all professional engagements, so as to devote himself to researches, he had been receiving a considerable and growing income from this source. But he objected to the indignities to which this work exposed him from lawyers, who would not understand that he took no partisan view. He could not endure the browbeating of cross-examining counsel. The late Lord Cardwell was witness to a gentle but crushing reproof which he once administered to a barrister who attempted to bully him. A writer in the British Quarterly Review275 attributes to a specific case his determination to cease expert work.

He gave evidence once in a judicial case, when the scientific testimony, starting from given premises, was so diverse that the presiding judge, in summing up launched something like a reproach at the scientific witnesses. “Science has not shone this day,” was his lordship’s remark. From that time forth no one ever saw Faraday as a scientific witness before a law tribunal.

UNIVERSITY DEGREES IN SCIENCE.

Amongst the honours received by Faraday there was one of which, in 1838, he said that he felt it equal to any other he had received—namely, that of Member of the Senate of the University of London, to which position he was nominated in 1836 by the Crown. For twenty-seven years he remained a senator, and when, in 1859, the project for creating degrees in science was on foot, he was one of the committee who drew up a report and scheme of examination for the Senate. To the Rev. John Barlow he wrote on this matter:—

The Senate of the University accepted and approved of the report of the Committee for Scientific Degrees, so that that will go forward (if the Government approve), and will come into work next year. It seems to give much satisfaction to all who have seen it, though the subject is beset with difficulties; for when the depth and breadth of science came to be considered, and an estimate was made of how much a man ought to know to obtain a right to a degree in it, the amount in words seemed to be so enormous as to make me hesitate in demanding it from the student; and though in the D.S. one could divide the matter and claim eminence in one branch of science, rather than good general knowledge in all, still in the B.S., which is a progressive degree, a more extended though a more superficial acquaintance seemed to be required. In fact, the matter is so new, and there is so little that can276 serve as a previous experience in the founding and arranging these degrees, that one must leave the whole endeavour to shape itself as the practice and experience accumulates.

When, in 1863, his feebleness impelled him to resign this position, he wrote to Dr. Carpenter:—

The position of a senator is one that should not be held by an inactive man to the exclusion of an active one. It has rejoiced my heart to see the progress of the University, and of education under its influence and power; and that delight I hope to have so long as life shall be spared to me.

He had little sympathy with either text-book science or with mere examinations. “I have far more confidence,” he wrote, “in the one man who works mentally and bodily at a matter than in the six who merely talk about it. Nothing is so good as an experiment which, whilst it sets error right, gives an absolute advancement in knowledge.” In another place he wrote:—“Let the imagination go, guarding it by judgment and principles, but holding it in and directing it by experiment.” For book-learned chemistry and mere chemical theory, apart from experimental facts, he had an undisguised contempt. Writing to General Portlock on the subject of chemical education, he stated that he had been one of the Senate of the University of London appointed to consider especially the best method of examination. They had decided on examination by papers, accompanied by vivâ voce. “We think,” he added, “that no numerical value can be attached to the questions, because everything depends on how they are answered.” Then, referring to the teaching at Woolwich, he says, “My instructions always have277 been to look to the note-books for the result.” “Lectures alone cannot be expected to give more than a general idea of this most extensive branch of science, and it would be too much to expect that young men who at the utmost hear only fifty lectures on chemistry should be able to answer with much effect, in writing, to questions set down on paper, when we know by experience that daily work for eight hours in practical laboratories for three months does not go very far to confer such ability.”

SCIENCE AND THE UNIVERSITIES.

He had, at an earlier date, declined to be appointed as examiner in the University. He had previously declined the professorship of chemistry in University College; and he had also declined the chemical chair in the University of Edinburgh. This was not, however, from any want of sympathy with university work, or failure to appreciate the ideal of a university as a seat of learning. Writing to Tyndall, in 1851, about another university—that at Toronto—he said: “I trust it is a place where a man of science and a true philosopher is required, and where, in return, such a man would be nourished and cherished in proportion to his desire to advance natural knowledge.”

At the same time he had an exceeding repugnance to the custom of expecting candidates for professorial chairs to produce “testimonials” of their qualifications. When his intimate friend Richard Phillips was a candidate for the very chair which Faraday refused at University College, Faraday declined on principle to give a testimonial. “I should indeed have thought,” he added, “his character had been278 known to be such that it would rather have been degraded than established by certificates.”

Similarly, in 1851, he told Tyndall, then an applicant for the Chair of Physics at Toronto, that he had in every case refused for many years past to give any on the application of candidates. “Nevertheless,” he added, “I wish to say that when I am asked about a candidate by those who have the choice or appointment, I never refuse to answer.”

SCIENCE IN EDUCATION.

On general education, Faraday’s ideas were much in advance of his time. From the epoch when as a young man he lectured to the City Philosophical Society on the means of obtaining knowledge and on mental inertia, down to the close of his career, he consistently advocated the cultivation of the experimental method and the use of science as a means of training the faculties. A concise account of his views is to be found in the lecture he gave in 1854 before the Prince Consort on “Mental Education,” a lecture which prescribes the self-educating discipline of scientific study and experiment as a means of correcting deficiency of judgment. It included a powerful plea for suspense of judgment and for the cultivation of the faculty of proportionate judgment. In 1862 he was examined at some length by the Royal Commissioners upon Public Schools. With them he pleaded strongly for the introduction of science into the school curricula; and when asked at what age it might be serviceable to introduce science-teaching, replied: “I think one can hardly tell that until after experience for some few years. All I can say is this that at my juvenile lectures at Christmas time I have279 never found a child too young to understand intelligently what I told him; they came to me afterwards with questions which proved their capability.”

One passage from the close of a lecture given in 1858 deserves to be recorded for its fine appreciation of “the kind of education which science offers to man”:—

It teaches us to be neglectful of nothing, not to despise the small beginnings—they precede of necessity all great things.... It teaches a continual comparison of the small and great, and that under differences almost approaching the infinite, for the small as often contains the great in principle as the great does the small; and thus the mind becomes comprehensive. It teaches to deduce principles carefully, to hold them firmly, or to suspend the judgment, to discover and obey law, and by it to be bold in applying to the greatest what we know of the smallest. It teaches us, first by tutors and books, to learn that which is already known to others, and then by the light and methods which belong to science to learn for ourselves and for others; so making a fruitful return to man in the future for that which we have obtained from the men of the past. Bacon in his instruction tells us that the scientific student ought not to be as the ant, who gathers merely, nor as the spider who spins from her own bowels, but rather as the bee who both gathers and produces.

All this is true of the teaching afforded by any part of physical science. Electricity is often called wonderful, beautiful; but it is so only in common with the other forces of nature. The beauty of electricity or of any other force is not that the power is mysterious, and unexpected, touching every sense at unawares in turn, but that it is under law, and that the taught intellect can even now govern it largely. The human mind is placed above, and not beneath it, and it is in such a point of view that the mental education afforded by science is rendered super-eminent in dignity, in practical application and utility; for by enabling the mind to apply the natural power through law, it conveys the gifts of God to man.

280

ON MATHEMATICS.

A peculiar interest attaches to Faraday’s attitude towards the study of mathematics. He who had never had any schooling beyond the common school of his parish had not advanced beyond the simplest algebra in his mastery over symbolic reasoning. Several times in his “Experimental Researches” he deplores what he termed “my imperfect mathematical knowledge.” Of Poisson’s theory of magnetism he said: “I am quite unfit to form a judgment.” Dr. Scoffern repeats a pleasantry of Faraday’s having on a certain occasion boasted that he had once in the course of his life performed a mathematical operation—when he turned the handle of Babbage’s calculating machine. Certain it is that he went through the whole of his magnificent researches without once using even a sine or a cosine, or anything more recondite than the simple rule-of-three. He expressed the same kind of regret at his unfamiliarity with the German language—“the language of science and knowledge,” as he termed it in writing to Du Bois Reymond—which prevented him from reading the works of Professor “Ohms.” Nevertheless he valued the mathematical powers of others, and counselled Tyndall to work out his experimental results, “so that the mathematicians may be able to take it up.” Yet he never relaxed his preference for proceeding along the lines of experimental investigation. His curious phrase (p. 239) as to his pique respecting mathematics is very significant, as is also his note of jubilation in his letter to Phillips (p. 117) at finding that pure experiment can successfully rival mathematics in unravelling the mysteries which had eluded the efforts281 of Poisson and Arago. He himself attributed to his defective memory his want of hold upon symbolic reasoning. To Tyndall he wrote in 1851, when thanking him for a copy of one of his scientific memoirs:—

Such papers as yours make me feel more than ever the loss of memory I have sustained, for there is no reading them, or at least retaining the argument, under such deficiency.

Mathematical formulæ more than anything require quickness and surety in receiving and retaining the true value of the symbols used; and when one has to look back at every moment to the beginning of a paper, to see what H or A or B mean, there is no making way. Still, though I cannot hold the whole train of reasoning in my mind at once, I am able fully to appreciate the value of the results you arrive at, and it appears to me that they are exceedingly well established and of very great consequence. These elementary laws of action are of so much consequence in the development of the nature of a power which, like magnetism, is as yet new to us.

Again to Clerk Maxwell, in 1857, he wrote:—

There is one thing I would be glad to ask you. When a mathematician engaged in investigating physical actions and results has arrived at his own conclusions, may they not be expressed in common language as fully, clearly, and definitely as in mathematical formulæ? If so, would it not be a great boon to such as we to express them so—translating them out of their hieroglyphics that we also might work upon them by experiment? I think it must be so, because I have always found that you could convey to me a perfectly clear idea of your conclusions, which, though they may give me no full understanding of the steps of your process, gave me the results neither above nor below the truth, and so clear in character that I can think and work from them.

If this be possible, would it not be a good thing if mathematicians, writing on these subjects, were to give us their282 results in this popular useful working state as well as in that which is their own and proper to them?

The achievement of Faraday in finding for the expression of electromagnetic laws means which, though not symbolic, were simple, accurate, and in advance of the mathematics of his time, has been alluded to on page 217. Liebig, in his discourse on “Induction and Deduction,” refers to Faraday thus:—

I have heard mathematical physicists deplore that Faraday’s records of his labours were difficult to read and understand, that they often resembled rather abstracts from a diary. But the fault was theirs, not Faraday’s. To physicists who have approached physics by the road of chemistry, Faraday’s memoirs sound like an admirably beautiful music.

MAXWELL AND VON HELMHOLTZ.

Von Helmholtz, in his Faraday lecture of 1881, has also touched on this aspect.

Now that the mathematical interpretation of Faraday’s conceptions regarding the nature of electric and magnetic forces has been given by Clerk Maxwell, we see how great a degree of exactness and precision was really hidden behind the words which to Faraday’s contemporaries appeared either vague or obscure; and it is in the highest degree astonishing to see what a large number of general theorems, the methodical deduction of which requires the highest powers of mathematical analysis, he found by a kind of intuition, with the security of instinct, without the help of a single mathematical formula.

Two other passages from Von Helmholtz are worthy of being added:—

And now, with a quite wonderful sagacity and intellectual precision, Faraday performed in his brain the work of a great mathematician without using a single mathematical formula.283 He saw with his mind’s eye that magnetised and dielectric bodies ought to have a tendency to contract in the direction of the lines of force, and to dilate in all directions perpendicular to the former, and that by these systems of tensions and pressures in the space which surrounds electrified bodies, magnets, or wires conducting electric currents, all the phenomena of electrostatic, magnetic, electromagnetic attraction, repulsion, and induction could be explained, without recurring at all to forces acting directly at a distance. This was the part of his path where so few could follow him; perhaps a Clerk Maxwell, a second man of the same power and independence of intellect, was needed to reconstruct in the normal methods of science the great building the plan of which Faraday had conceived in his mind, and attempted to make visible to his contemporaries.

Nobody can deny that this new theory of electricity and magnetism, originated by Faraday and developed by Maxwell, is in itself well consistent, in perfect and exact harmony with all the known facts of experience, and does not contradict any one of the general axioms of dynamics, which have been hitherto considered as the fundamental truths of all natural science, because they have been found valid, without any exception, in all known processes of nature.

And, after dealing with the phenomena discussed by Faraday, Von Helmholtz adds these pregnant words:—

Nevertheless, the fundamental conceptions by which Faraday was led to these much-admired discoveries have not received an equal amount of consideration. They were very divergent from the trodden path of scientific theory, and appeared rather startling to his contemporaries. His principal aim was to express in his new conceptions only facts, with the least possible use of hypothetical substances and forces. This was really an advance in general scientific method, destined to purify science from the last remnants of metaphysics. Faraday was not the first, and not the only man,284 who had worked in this direction, but perhaps nobody else at his time did it so radically.

Clerk Maxwell said of him:

The way in which Faraday made use of his lines of force in co-ordinating the phenomena of electric induction shows him to have been a mathematician of high order, and one from whom the mathematicians of the future may derive valuable and fertile methods.

It is fitting to include in this review of Faraday’s place in relation to the mathematical side of physics some words of Lord Kelvin, taken from his preface to the English edition of Hertz’s “Electric Waves”:—

Faraday, with his curved lines of electric force, and his dielectric efficiency of air and of liquid and solid insulators, resuscitated the idea of a medium through which, and not only through which but by which, forces of attraction or repulsion, seemingly acting at a distance, are transmitted.

The long struggle of the first half of the eighteenth century was not merely on the question of a medium to serve for gravific mechanism, but on the correctness of the Newtonian law of gravitation as a matter of fact, however explained. The corresponding controversy in the nineteenth century was very short, and it soon became obvious that Faraday’s idea of the transmission of electric force by a medium not only did not violate Coulomb’s law of relation between force and distance, but that, if real, it must give a thorough explanation of that law. Nevertheless, after Faraday’s discovery of the different specific inductive capacities of different insulators, twenty years passed before it was generally accepted in Continental Europe. But before his death, in 1867, he had succeeded in inspiring the rising generation of the scientific world with something approaching to faith that electric force is transmitted by a medium called ether, of which, as had been believed by the whole scientific world for forty years,285 light and radiant heat are transverse vibrations. Faraday himself did not rest with this theory of electricity alone. The very last time I saw him at work at the Royal Institution was in an underground cellar, which he had chosen for freedom from disturbance, and he was arranging experiments to test the time of propagation of magnetic force from an electromagnet through a distance of many yards of air to a fine steel needle, polished to reflect light; but no result came from those experiments. About the same time, or soon after, certainly not long before the end of his working time, he was engaged (I believe at the Shot Tower, near Waterloo Bridge, on the Surrey side) in efforts to discover relations between gravity and magnetism, which also led to no result.

KELVIN’S APPRECIATION.

Lord Kelvin, who was himself the first to perceive that Faraday’s ideas were not inconsistent with mathematical expression, and to direct Clerk Maxwell and others to this view, had, in 1854, delighted the old man by bringing mathematical support to the conception of lines of force. In 1857 he sent to Faraday a copy of one of his papers, and received in acknowledgment a letter of warm encouragement, which, however, does not appear to have been preserved. Lord Kelvin’s reply is its own best commentary:—

Such expressions from you would be more than a sufficient reward for anything I could ever contemplate doing in science. I feel strongly how little I have done to deserve them, but they will encourage me with a stronger motive than I have ever had before to go on endeavouring to see in the direction you have pointed, which I long ago learned to believe is the direction in which we must look for a deeper insight into nature.


The name of Glasites or Sandemanians is given to a small sect of Christians which separated from the Scottish Presbyterian Church about 1730 under the leadership of the Rev. John Glas. Most of the congregations which sprang up in England were formed in consequence of the dissemination of the writings and by the preaching of Robert Sandeman, son-in-law and successor of Glas. Hence the double name. The Sandemanian Church in London was constituted about 1760. It still has a chapel in Barnsbury, though the sect as a whole—never numerous—has dwindled to a small remnant.58 The religious census of 1851 showed but six congregations in England and six in Scotland. As it never was a proselytising body, it is probable that it has diminished since that date. John Glas was deposed in 1728 by the Presbyterian Courts from his position as minister in the Scottish Church, because he taught287 that the Church should be governed only by the doctrines of Christ and His apostles, and not be subject to any League or Covenant. He held that the formal establishment by any nation of a professed religion was the subversion of primitive Christianity; that Christ did not come to establish any worldly authority, but to give a hope of eternal life to His people whom He should choose of His own sovereign will; that “the Bible,” and it alone, with nothing added to it nor taken away from it by man, was the sole and sufficient guide for each individual, at all times and in all circumstances; that faith in the divinity and work of Christ is the gift of God, and that the evidence of this faith is obedience to the commandment of Christ.

THE SANDEMANIAN CREED.

The tenets of Glas are somewhat obscure and couched in mystical language. They prescribe a spiritual union which binds its members into one body as a Church without its being represented by any corresponding outward ecclesiastical polity. He died in 1773. Sandeman, who spent most of his life in preaching these doctrines, died about the same time in New England. He caused to be inscribed on his tomb that “he boldly contended for the ancient faith that the bare death of Jesus Christ, without a deed or thought on the part of man, is sufficient to present the chief of sinners spotless before God.”

A PRIMITIVE CHURCH.

The Sandemanians try—so far as modern conditions permit—to live up to the practice of the Christian Church as it was in the time of the Apostles. At their chapel they “broke bread”288 every Lord’s day in the forenoon, making this a common meal between the morning and afternoon services, and taking their places by casting lots. And weekly, at their simple celebration of the Lord’s Supper at the close of the afternoon service, before partaking, they collect money for the support of the poor and for expenses. In some places they dined together at one another’s houses instead of at the chapel. “They esteem the lot as a sacred thing. The washing of the feet is also retained: not, it would seem, on any special occasion, but the ablution is performed ‘whenever it can be an act of kindness to a brother to do so.’ Another peculiarity of this religious body is their objection to second marriages.”59 Members are received into the Church on the confession of sin and profession of faith made publicly at one of the afternoon services. In admitting a new member they give the kiss of charity. They deem it wrong to save up money; “the Lord will provide” being an essential item of faith. Traces of this curious fatalism may be found in one of Faraday’s letters to his wife (p. 52). He seems always to have spent his surplus income on charity. The Sandemanians have neither ordained ministers nor paid preachers. In each congregation, however, there are chosen elders (presbyters or bishops), of whom there must always be a plurality, and of whom two at least must be present at every act of discipline. The elders take it in turns to preside at the worship, and are elected by the unanimous choice of the congregation. The sole289 qualification for this office, which is unpaid, is that earnestness of purpose and sincerity of life which would have been required in Apostolic times for the office of bishop or presbyter. No difference of opinion is tolerated, but is met by excommunication, which amongst families so connected by marriage produces much unhappiness, since they hold to the Apostle’s injunction, “With such an one, no, not to eat.”

The foregoing summary is needed to enable the reader to comprehend the relationship of Faraday to this body. His father and grandfather had belonged to this sect. In 1763 there was a congregation at Kirkby Stephen (the home of Faraday’s mother) numbering about thirty persons; and there appears to have been a chapel—now used as a barn—in Clapham. A strong religious feeling had been dominant in the Faraday family through the preceding generation. James Faraday, on his removal to London, there joined the Sandemanian congregation, which at that time met in a small chapel in St. Paul’s Alley, Barbican, since pulled down. It had, when founded in 1762, held its first meetings in the hall of the Glovers’ Company, and later in Bull and Mouth Street, till 1778. James Faraday’s wife, mother of Michael Faraday, never formally joined the Sandemanian Church, though a regular attendant of the congregation. Michael Faraday was from a boy brought up in the practice of attending this simple worship, and in the atmosphere of this primitive religious faith. Doubtless such surroundings exercised a moulding influence on his mind and character. The attitude of abstinence from attempts to proselytise, on the part290 of the church, finds its reflex in Faraday’s habitual reticence, towards all save only the most intimate of friends, on matters of religious faith. “Never once,” says Professor Tyndall, “during an intimacy of fifteen years, did he mention religion to me, save when I drew him on to the subject. He then spoke to me without hesitation or reluctance; not with any apparent desire to ‘improve the occasion,’ but to give me such information as I sought. He believed the human heart to be swayed by a power to which science or logic opened no approach; and right or wrong, this faith, held in perfect tolerance of the faiths of others, strengthened and beautified his life.”

HIS PROFESSION OF FAITH.

Of his spiritual history down to the time of his marriage very little is known, for he made no earlier profession of faith. It is not to be supposed that he who was so scrupulous of truth, so single-minded in every relation of life, would accept the religious belief of his fathers without satisfying his conscience as to the rightness of its claims. Yet none of his letters or writings of that period show any trace60 of that stress of soul through which at one time or another every291 sincere and earnest seeker after truth must pass before he finds anchorage. Certain it is that he clung with warm attachment to the little self-contained sect amongst whom he had been brought up. Its influence, though contracting his activities by precluding all Christian communion or effort outside their circle, and cutting him off from so much that other Christian bodies hold good, fenced him effectually from dreams of worldliness, and furnished him with that very detachment which was most essential to his scientific pursuits. One month after his marriage he made his confession of sin and profession of faith before the Sandemanian Church. It was an act of humility the more striking in that it was done without any consultation with his wife, to whom he was so closely attached, and who was already a member of the congregation. When she asked him why he had not told her what he was about to do, he replied: “That is between me and my God.”

In 1844 he wrote to Lady Lovelace as follows:—

“You speak of religion, and here you will be sadly disappointed in me. You will perhaps remember that I guessed, and not very far aside, your tendency in this respect. Your confidence in me claims in return mine to you, which indeed I have no hesitation in giving on fitting occasions, but these I think are very few, for in my mind religious conversation is generally in vain. There is no philosophy in my religion. I am of a very small and despised sect of Christians, known, if known at all, as Sandemanians, and our hope is founded on the faith that is in Christ. But though292 the natural works of God can never by any possibility come in contradiction with the higher things that belong to our future existence, and must with everything concerning Him ever glorify Him, still I do not think it at all necessary to tie the study of the natural sciences and religion together, and, in my intercourse with my fellow creatures, that which is religious and that which is philosophical have ever been two distinct things.”

His own views were stated by himself at the commencement of a lecture on Mental Education in 1854:—

High as man is placed above the creatures around him, there is a higher and far more exalted position within his view; and the ways are infinite in which he occupies his thoughts about the fears, or hopes, or expectations of a future life. I believe that the truth of that future cannot be brought to his knowledge by any exertion of his mental powers, however exalted they may be; that it is made known to him by other teaching than his own, and is received through simple belief of the testimony given. Let no one suppose for a moment that the self-education I am about to commend, in respect of the things of this life, extends to any considerations of the hope set before us, as if man by reasoning could find out God. It would be improper here to enter upon this subject further than to claim an absolute distinction between religious and ordinary belief. I shall be reproached with the weakness of refusing to apply those mental operations which I think good in respect of high things to the very highest. I am content to bear the reproach.

One of his friends wrote: “When he entered the meeting-house he left his science behind, and he would listen to the prayer and exhortation of the most illiterate brother of his sect with an293 attention which showed how he loved the word of truth, from whomsoever it came.”

AS ELDER AND PREACHER.

“The most remarkable event,” says Dr. Bence Jones, “of his life in 1840 was his election as an elder of the Sandemanian Church. During that period when in London he preached on alternate Sundays.” This was not an entirely new duty, for he had been occasionally called upon by the elders, from the date of his admission in 1821, to exhort the brethren at the week-day evening meetings, or to read the Scriptures in the congregation. Bence Jones says that, though no one could lecture like Faraday, many might preach with more effect. The eager and vivacious manner of the lecture-room was exchanged for a devout earnestness that was in complete contrast. His addresses have been described as a patchwork of texts cited rapidly from the Old and New Testaments; and they were always extempore, though he prepared careful notes on a piece of card beforehand. Of these, samples are given in Bence Jones’s “Life and Letters.” His first discourse as an elder was on Matt. xi. 28–30, dilating on Christ’s character and example. “Learn of Me.” The ground of humility of Christians must be the infinite distance between them and their Pattern. He quoted 1 John ii. 6; 1 Peter ii. 21; Phil. iii. 17; 1 Cor. xi. 1; and 1 Cor. xiv. 1.

An exceedingly vivid view of Faraday as elder of the Church was given in 188661 by the late Mr. C. C. Walker, himself at one time a member of294 the Sandemanian congregation in London; a congregation, moreover, which included several persons of distinction—Cornelius Varley, the engraver, and George Barnard, the water-colour painter.

At Faraday’s chapel there was a presiding elder, supported by the rest of the elders on two rows of seats elevated across the end of the chapel, one row above the other. The ground floor was filled with the old-fashioned high pews, and there was a gallery above on both sides, also with pews. Faraday sat in a pew on the ground floor, about the middle. There was a large table on the floor of the chapel in front of the elders’ seats. The presiding elder usually preached. Such was the place Faraday worshipped in, situated at the end of a narrow dirty court, surrounded by squalid houses of the poorest of the poor, and so little known that although I knew every street, lane and alley of the whole district, and this alley itself, at the bottom of which the chapel was, I never knew of the existence of the meeting-house till I learned about thirty-five years ago that there was a chapel there to which the world-renowned Faraday not only went, but where he preached. This led me to make a search, and to my great delight, I found it, though with some difficulty. Although the neighbourhood was uncleanly, not so was the interior of the chapel, nor the dining room, with its tables and forms, all of which were spotless.

Faraday’s father was a blacksmith, and worshipped here. He brought up his family religiously, and Faraday from his earliest days attended the chapel. Here he met Miss Barnard, his future wife. Mr. Barnard was a respectable “working silversmith,” as manufacturing silversmiths were then called, to distinguish them from the shopkeepers who then, as now, called themselves “silversmiths,” though frequently making none of the goods they sell. His manufactory was for a time at Amen Court, Paternoster Row; afterwards it was removed to a large building erected by the firm at Angel Street, near the General Post Office, and the business has since been carried on by the sons and grandsons.

295

RELIGIOUS SERVICE.

Mr. Barnard and his family worshipped at the Sandemanian Chapel. To this chapel Faraday walked every Sunday morning from his earliest days; he never kept a carriage, and on religious principles would not hire a cab or omnibus on the Lord’s day.62

The service commenced at eleven in the morning and lasted till about one, after which the members—“brothers and sisters,” as they called each other—had their midday meal “in common” in the room attached to the chapel, which has already been referred to. The afternoon worship usually ended about five o’clock, after partaking of the Lord’s Supper. The services were very much like those of the Congregationalists, and consisted of extempore prayers, hymns, reading the Scripture, and a sermon, usually by the presiding elder. Faraday had been an elder for a great many years, and for a considerable time was the presiding elder, and consequently preached; but during this time relinquished his office. There was one peculiarity in the service; the Scriptures were not read by the presiding elder, but he called on one of the members to read; and when Faraday was there—which he always was when in London—the presiding elder named “Brother Michael Faraday,” who then left his pew, passing along the aisle, out of the chapel, up the stairs at the back, and reappeared behind the presiding elder’s seat, who had already opened the large Bible in front of him, and pointed out the chapter to be read. It was one of the richest treats that it has been my good fortune to enjoy to hear Faraday read the Bible. The reader was quite unaware what he was to read until it was selected and when one chapter of the Old Testament was finished another would be given, probably from the New Testament. Usually three chapters were read, and sometimes four, in succession; but if it had been half a dozen there would have been no weariness, for the perfection of the reading, with its clearness of pronunciation, its judicious emphasis,296 the rich musical voice, and the perfect charm of the reader, with his natural reverence, made it a delight to listen. I have heard most of those who are considered our best readers in church and chapel, but have never heard a reader that I considered equal to Faraday.

At this distance of time his tones are always in my ears.

* * * * *

I was told by members of the chapel that he was most assiduous in visiting the poorer brethren and sisters at their own homes, comforting them in their sorrows and afflictions, and assisting them from his own purse. Indeed, they said, he was continually pressed to be the guest of the high and noble (which we may well believe), but he would, if possible, decline, preferring to visit some poor sister in trouble, assist her, take a cup of tea with her, read the Bible and pray. Though so full of religion, he was never obtrusive with it; it was too sacred a thing.

Tyndall has preserved another vivid reminiscence of Faraday’s inner life, which he wrote down after one of the earliest dinners which he had in the Royal Institution.

“At two o’clock he came down for me. He, his niece, and myself formed the party. ‘I never give dinners,’ he said; ‘I don’t know how to give dinners; and I never dine out. But I should not like my friends to attribute this to a wrong cause. I act thus for the sake of securing time for work, and not through religious motives as some imagine.’ He said grace. I am almost ashamed to call his prayer a ‘saying’ of grace. In the language of Scripture, it might be described as the petition of a son into whose heart God had sent the Spirit of His Son, and who with absolute trust asked a blessing from his Father. We dined on roast beef, Yorkshire pudding,297 and potatoes, drank sherry, talked of research and its requirements, and of his habit of keeping himself free from the distractions of society. He was bright and joyful—boylike, in fact, though he is now sixty-two. His work excites admiration, but contact with him warms and elevates the heart. Here, surely, is a strong man. I love strength, but let me not forget the example of its union with modesty, tenderness, and sweetness, in the character of Faraday.”

There is a story told by the Abbé Moigno that one day at Faraday’s request he introduced him to Cardinal Wiseman. In the frank interview which followed, the Cardinal did not hesitate to ask Faraday whether, in his deepest conviction, he believed all the Church of Christ, holy, catholic, and apostolic, was shut up in the little sect in which he was officially an elder. “Oh, no!” was Faraday’s reply; “but I do believe from the bottom of my soul that Christ is with us.”

ELDERSHIP INTERRUPTED.

The course of Faraday’s eldership was, however, interrupted. It was expected of an elder that he should attend every Sunday. One Sunday he was absent. When it was discovered that his absence was due to his having been “commanded” to dine with the Queen at Windsor, and that so far from expressing penitence, he was prepared to defend his action, his office became vacant. He was even cut off from ordinary membership. Nevertheless, he continued for years to attend the meetings just as before. He would even return from the provincial meetings of the British Association to London for the Sunday, so as not to be absent. In 1860 he was received back as298 an elder, which office he held again for about three years and a half, and finally resigned it in 1864.

It is doubtful whether Faraday ever attempted to form any connected ideas as to the nature or method of operation of the Divine government of the physical world, in which he had such a whole-souled belief. Newton has left us such an attempt. Kant in his own way has put forward another. So did Herschel; and so in our time have the authors of “The Unseen Universe.” To Faraday all such “natural theology” would have seemed vain and aimless. It was no part of the lecturer on natural philosophy to speculate as to final causes behind the physical laws with which he dealt. Nor, on the other hand, was it the slightest use to the Christian to inquire in what way God ruled the universe: it was enough that He did rule it.

RELIGION AND SCIENCE.

Faraday’s mental organisation, which made it possible for him to erect an absolute barrier between his science and his religion, was an unusual one. The human mind is seldom built in such rigid compartments that a man whose whole life is spent in analysing, testing, and weighing truths in one department of knowledge, can cut himself off from applying the same testing and inquiring processes in another department. The founder of the sect had taught them that the Bible alone, with nothing added to it or taken away from it by man, was the only and sufficient guide for the soul. Apparently Faraday never admitted the possibility of human flaw in the printing, editing, translation, collation, or construction of the Bible. He apparently never even desired to know how it compared with the oldest manuscripts, or what was299 the evidence for the authenticity of the various versions. Having once accepted the views of his sect as to the absolute inspiration of the English Bible as a whole, he permitted no subsequent question to be raised as to its literal authority. Tyndall once described this attitude of mind in his own trenchant way by saying that when Faraday opened the door of his oratory he closed that of his laboratory. The saying may seem hard, but it is essentially true. To few indeed is such a limitation of character possible: possibly it may be unique. We may reverence the frank single-minded simplicity of soul which dwelt in Faraday, and may yet hold that, whatever limitation was right for him, others would do wrong if they refused to bring the powers of the mind—God-given as they believe—to bear upon the discovery of truth in the region of Biblical research. Yet may none of them dream of surpassing in transparent honesty of soul, in genuine Christian humility, in the virtues of kindness, earnestness, and sympathetic devotion, the great and good man who denied himself that freedom.

301

FOOTNOTES

1 Faraday’s usual place of work at bookbinding was a little room on the left of the entrance. (See the story of his visit there with Tyndall in after years, as narrated in Tyndall’s “Faraday,” p. 8.)

2 Still preserved in Faraday’s Diploma-book, now in the possession of the Royal Society.

3 An account of this machine will be found in the Argonaut, vol. ii., p. 33.

4 “When he [Faraday] was young, poor, and altogether unknown, Masquerier was kind to him; and now that he is a great man he does not forget his old friend.”—Diary of H. Crabb Robinson, vol. iii., p. 375.

5 He always sat in the gallery over the clock.

6 See Dr. Paris’s “Life of Davy,” vol. ii., p. 2; or Bence Jones’s “Life and Letters of Faraday,” vol. i., p. 47.

7 His duties as laid down by the managers were these:—“To attend and assist the lecturers and professors in preparing for, and during lectures. Where any instruments or apparatus may be required, to attend to their careful removal from the model-room and laboratory to the lecture-room, and to clean and replace them after being used, reporting to the managers such accidents as shall require repair, a constant diary being kept by him for that purpose. That in one day in each week he be employed in keeping clean the models in the repository, and that all the instruments in the glass cases be cleaned and dusted at least once within a month.”

8 The City Philosophical Society was given up at the time when Mechanics’ Institutes were started in London, Tatum selling his apparatus to that established in Fleet Street, the forerunner of the Birkbeck Institution. Many of the City Society’s members joined the Society of Arts.

9 Two passages may be quoted. “Finally, Sir H. has no valet except myself ... and ’tis the name more than the thing which hurts.” “When I return home, I fancy I shall return to my old profession of bookseller, for books still continue to please me more than anything else.”

10 The meeting at which it was actually originated was held under the presidency of Sir Joseph Banks, P.R.S., nominally as a meeting for the Assistance of the Poor!

11 A writer in the Quarterly Journal of Science for 1868, p. 50, says: “We have reason to know that Davy was slightly annoyed that the certificate proposing Faraday for election should have originated with Richard Phillips, and that he should not have been consulted before that gentleman was allowed to take the matter in hand.” This is absurd, because the President was by long-standing etiquette debarred from signing the certificates of any but foreign members, as the certificate book of the Royal Society attests.

12 See p. 12.

13 Liddon’s “Life of E. B. Pusey” (1893), p. 219.

14 For this information and many particulars of this transaction I am indebted to Dr. J. H. Gladstone, F.R.S.

15 “It was probably in a four-wheeled velocipede that Faraday was accustomed, some thirty years ago, to work his way up and down the steep roads near Hampstead and Highgate. This machine appears to have been of his own construction, and was worked by levers and a crank axle in the same manner as the rest of the four-wheeled class.”—The Velocipede: its past, its present, and its future. By J. F. B. Firth. London, 1869.

16 Except on nickel and cobalt, which are also para-magnetic metals.

17 For a graphic account by Hansteen of the circumstances of Oersted’s discovery, see Bence Jones’s “Life and Letters of Faraday,” vol. ii. p. 390.

18 “To the effect which takes place in this conductor [or uniting wire] and in the surrounding space, we shall give the name of the conflict of electricity.”...

“From the preceding facts we may likewise collect that this conflict performs circles; for without this condition, it seems impossible that the one part of the uniting wire, when placed below the magnetic pole, should drive it towards the east, and when placed above it towards the west; for it is the nature of a circle that the motions in opposite parts should have an opposite direction.”—H. C. Oersted, Ann. of Phil., Oct., 1820, pp. 273–276.

19 This is an error due to haste in writing.

20 See a paper by the author in the Philosophical Magazine for June, 1895, entitled “Note on a Neglected Experiment of Ampère.”

21 Compare Dumas, “Éloge Historique de Michel Faraday,” p. xxxiii., who gives the above statement. Arago’s own account to the Académie differs slightly.

22 This ring Faraday is represented as holding in his hand in the beautiful marble statue by Foley which stands in the Entrance Hall of the Royal Institution. The ring itself is still preserved at the Royal Institution amongst the Faraday relics. The accompanying cut (Fig. 4) is facsimiled from Faraday’s own sketch in his laboratory note-book.

23 Now in the possession of the author, to whom it was given by his kinswoman Lady Wilson, youngest daughter of Richard Phillips.

24 The day of the Annual Meeting and election of Council of the Royal Society.

25 This is a slip in the description; the momentary current induced in the secondary wire on making the current in the primary is inverse: it is succeeded by a momentary direct current when the primary current is stopped.

26 This doubtless refers to Whewell, of Cambridge, whom he was in the habit of consulting on questions of nomenclature.

27 A man of fashion who had, without any claim to distinction, wormed himself into scientific society, posed as a savant, and had delivered a high-flown oration on botany at the Royal Institution.

28 The use of this term, as distinguished from production, to distinguish between the primary generation of a current in a voltaic cell, a thermopile, or a friction-machine, by chemical or molecular action, and its indirect production without contact or communication of any material sort, as by motion of a wire near a magnet or by secondary influence from a neighbouring primary current while that current is varying in strength or proximity, is exceedingly significant. Faraday’s own meaning in adopting it is best grasped by referring to p. 1 of the “Experimental Researches”:—

“On the Induction of Electric Currents.”... The general term induction which, as it has been received into scientific language, may also, with propriety, be used to express the power which electrical currents may possess of inducing any particular state upon matter in their immediate neighbourhood.... I propose to call this action of the current from the voltaic battery volta-electric induction ... but as a distinction in language is still necessary, I propose to call the agency thus exerted by ordinary magnets magneto-electric or magne-electric induction.

29 “Experimental Researches,” i. 25, art. 85. This copper disc is still preserved at the Royal Institution. It was shown in action by the author of this work, at a lecture at the Royal Institution delivered April 11th, 1891. Fig. 6 is reproduced in facsimile from Faraday’s laboratory note-book.

30 “Experimental Researches,” i. art. 135.

31 Ib., art. 155.

32 Ib., art. 158.

33 Ib., art. 219.

34 “Experimental Researches,” i. art. 220.

35 Ib., art. 222.

36 Ib., iii. art. 3192.

37 “Ann. Chim. Phys.,” li. 76, 1832.

38 The great magnet of the Royal Society, which was at this time lent to Mr. Christie.

39 [Original footnote by Faraday.] By magnetic curves, I mean the lines of magnetic force, however modified by the juxtaposition of poles, which would be depicted by iron filings; or those to which a very small magnetic needle would form a tangent.

40 The entire uselessness as well as the misleading effects of such unscientific nomenclature might well be taken to heart by those electrophysiologists and electrotherapeutists who still indulge in the jargon of “franklinisation,” “faradisation,” and “galvanisation.”

41 In modern language this would be called the time-integral of the discharge. The statement is strictly true if the galvanometer (as was the case with Faraday’s) is one of relatively long period of oscillation.

42 From ἄνω upwards and ὁδός a way; and κατά downwards and ὁδός a way. The words cathode and cation are now more usually spelled kathode and kation. Faraday sometimes spelled the word cathion (Exp. Res. Art. 1351), as did also Whewell (Hist. of Ind. Sciences, vol. iii. p. 166).

43 Literally, the travellers, the things which are going.

44 The term induction appears to have been originally used, in contradistinction to contact or conduction, to connote those effects which apparently are in the class of actions at a distance. Thus we may have induction of a charge by a charge, or of a magnet-pole by a magnet-pole. To these Faraday had added the induction of a current by a current, and the induction of a current by a moving magnet. Amid such varying adaptations of the word induction, there is much gain in allotting to the electrostatic induction of charges by charges the distinguishing name of influence, as suggested by Priestley.

45 “Faraday as a Discoverer,” p. 67.

46 Newton’s third letter to Bentley.

47 Faraday’s definition is:—“By a diamagnetic, I mean a body through which lines of magnetic force are passing, and which does not by their action assume the usual magnetic state of iron or loadstone.” It was thus a term strictly analogous to the term dielectric used for bodies through which lines of electric force might pass.

48 i.e. Specimen No. 174. Its composition was equal parts by weight of boracic acid, oxide of lead, and silica.

49 Subsequent investigation has reduced this figure to about 186,400 miles per second, or about 30,000,000,000 centimetres per second.

50 The accompanying diagram (Fig. 20) was not given by Faraday. It was pencilled by the author more than twenty years ago in the margin of his copy of Faraday’s “Experimental Researches,” vol. iii., p. 450, opposite this passage.

51 The discourse was to have been delivered by Wheatstone himself, who, however, at the last moment, overcome by the shyness from which he suffered to an almost morbid degree, quitted the Institution, and left the delivery of the discourse to Faraday.

52 The italics here are mine. S. P. T.

53 It is right to add that what, according to the theory explained in the text, must be the correct explanation of the peculiar phenomena of magnetic induction depending on magnecrystallic properties was clearly stated in the form of a conjecture by Faraday in his twenty-second series in the following terms: “Or we might suppose that the crystal is a little more apt for magnetic induction, or a little less apt for diamagnetic induction, in the direction of the magnecrystallic axis than in other directions” (Sir William Thomson, Philosophical Magazine, 1851, or “Papers on Electrostatics and Magnetism,” p. 476).

54 This is exactly Stokes’s theorem of “tubes” of force. S. P. T.

55 The italics are mine. S. P. T.

56 Once again did Faraday intervene in Royal Society affairs at the crucial time when Lord Rosse was elected President in 1848. The following excerpts from the journals of Walter White show the cause:—

“November 25th.—There have been many secret conferences this week—much trimming and time-serving. Alas for human nature!”

“November 30th.—The eventful day, the ballot begun. Mr. Faraday made some remarks about the list.”

57 He was a Chevalier of the Prussian Order of Merit, also Commander in the Legion of Honour, and Knight Commander of the Order of St. Maurice and St. Lazarus.

58 Faraday’s nephew, Frank Barnard, stated in 1871 that the London congregation included amongst its members not more than twenty men, mostly quite poor, only seven or eight of them being masters of their own businesses, and that Faraday was for some time the wealthiest man of the fraternity.

59 C. M. Davies: “Unorthodox London,” page 284.

60 A letter from his nephew, Frank Barnard, to Dr. Gladstone says: “I believe that in his younger days he had his period of hesitation, of questioning in that great argument. I have heard that, so alive was he to the necessity of investigating anything that seemed important, he visited Joanna Southcote, perhaps to learn what that woman’s pretensions were: I think he was a mere lad at that time. But this period once passed, he questioned no more, for the more he saw that Nature was mighty, the more he felt that God was mightier; and to any cavillings upon the doubts of Colenso or the reality of the Mosaic cosmogony, I believe he would simply have replied in the apostle’s words: ‘Is anything too hard for God?’...

“I once heard him say from the pulpit, ‘I hope none of my hearers will in these matters listen to the thing called philosophy.’”

61 Manchester Guardian, November 27.

62 [This is not altogether accurate. Certainly in his later life Faraday used to hire a cab to take him and Mrs. Faraday to the chapel. S. P. T.]

INDEX

Printed by Cassell & Company, Limited, La Belle Sauvage, London, E.C.

Transcriber’s Notes

Punctuation, some hyphenation, and spelling were made consistent when a predominant preference was found in the original book; otherwise they were not changed. The original book inconsistently followed “electro” with a hyphen, and that has not been changed here.

Simple typographical errors were corrected; unbalanced quotation marks were remedied when the change was obvious, and otherwise left unbalanced.

Illustrations in this eBook have been positioned between paragraphs and outside quotations. In versions of this eBook that support hyperlinks, the page references in the List of Illustrations lead to the corresponding illustrations.

Running page headers in the original book are shown here with a gray background (in ereaders that support shaded backgrounds), placed between paragraphs and near the topics to which they refer.

Footnotes, originally at the bottoms of pages, have been renumbered into a single sequence, collected, and moved to just above the Index.

The index was reformatted slightly and was not checked systematically for proper alphabetization or correct page references.

*** END OF THE PROJECT GUTENBERG EBOOK MICHAEL FARADAY ***
Updated editions will replace the previous one—the old editions will be renamed.
Creating the works from print editions not protected by U.S. copyright law means that no one owns a United States copyright in these works, so the Foundation (and you!) can copy and distribute it in the United States without permission and without paying copyright royalties. Special rules, set forth in the General Terms of Use part of this license, apply to copying and distributing Project Gutenberg™ electronic works to protect the PROJECT GUTENBERG™ concept and trademark. Project Gutenberg is a registered trademark, and may not be used if you charge for an eBook, except by following the terms of the trademark license, including paying royalties for use of the Project Gutenberg trademark. If you do not charge anything for copies of this eBook, complying with the trademark license is very easy. You may use this eBook for nearly any purpose such as creation of derivative works, reports, performances and research. Project Gutenberg eBooks may be modified and printed and given away--you may do practically ANYTHING in the United States with eBooks not protected by U.S. copyright law. Redistribution is subject to the trademark license, especially commercial redistribution.
START: FULL LICENSE
THE FULL PROJECT GUTENBERG LICENSE
PLEASE READ THIS BEFORE YOU DISTRIBUTE OR USE THIS WORK
To protect the Project Gutenberg™ mission of promoting the free distribution of electronic works, by using or distributing this work (or any other work associated in any way with the phrase “Project Gutenberg”), you agree to comply with all the terms of the Full Project Gutenberg™ License available with this file or online at www.gutenberg.org/license.
Section 1. General Terms of Use and Redistributing Project Gutenberg™ electronic works
1.A. By reading or using any part of this Project Gutenberg™ electronic work, you indicate that you have read, understand, agree to and accept all the terms of this license and intellectual property (trademark/copyright) agreement. If you do not agree to abide by all the terms of this agreement, you must cease using and return or destroy all copies of Project Gutenberg™ electronic works in your possession. If you paid a fee for obtaining a copy of or access to a Project Gutenberg™ electronic work and you do not agree to be bound by the terms of this agreement, you may obtain a refund from the person or entity to whom you paid the fee as set forth in paragraph 1.E.8.
1.B. “Project Gutenberg” is a registered trademark. It may only be used on or associated in any way with an electronic work by people who agree to be bound by the terms of this agreement. There are a few things that you can do with most Project Gutenberg™ electronic works even without complying with the full terms of this agreement. See paragraph 1.C below. There are a lot of things you can do with Project Gutenberg™ electronic works if you follow the terms of this agreement and help preserve free future access to Project Gutenberg™ electronic works. See paragraph 1.E below.
1.C. The Project Gutenberg Literary Archive Foundation (“the Foundation” or PGLAF), owns a compilation copyright in the collection of Project Gutenberg™ electronic works. Nearly all the individual works in the collection are in the public domain in the United States. If an individual work is unprotected by copyright law in the United States and you are located in the United States, we do not claim a right to prevent you from copying, distributing, performing, displaying or creating derivative works based on the work as long as all references to Project Gutenberg are removed. Of course, we hope that you will support the Project Gutenberg™ mission of promoting free access to electronic works by freely sharing Project Gutenberg™ works in compliance with the terms of this agreement for keeping the Project Gutenberg™ name associated with the work. You can easily comply with the terms of this agreement by keeping this work in the same format with its attached full Project Gutenberg™ License when you share it without charge with others.
1.D. The copyright laws of the place where you are located also govern what you can do with this work. Copyright laws in most countries are in a constant state of change. If you are outside the United States, check the laws of your country in addition to the terms of this agreement before downloading, copying, displaying, performing, distributing or creating derivative works based on this work or any other Project Gutenberg™ work. The Foundation makes no representations concerning the copyright status of any work in any country other than the United States.
1.E. Unless you have removed all references to Project Gutenberg:
1.E.1. The following sentence, with active links to, or other immediate access to, the full Project Gutenberg™ License must appear prominently whenever any copy of a Project Gutenberg™ work (any work on which the phrase “Project Gutenberg” appears, or with which the phrase “Project Gutenberg” is associated) is accessed, displayed, performed, viewed, copied or distributed:
This eBook is for the use of anyone anywhere in the United States and most other parts of the world at no cost and with almost no restrictions whatsoever. You may copy it, give it away or re-use it under the terms of the Project Gutenberg License included with this eBook or online at www.gutenberg.org. If you are not located in the United States, you will have to check the laws of the country where you are located before using this eBook.
1.E.2. If an individual Project Gutenberg™ electronic work is derived from texts not protected by U.S. copyright law (does not contain a notice indicating that it is posted with permission of the copyright holder), the work can be copied and distributed to anyone in the United States without paying any fees or charges. If you are redistributing or providing access to a work with the phrase “Project Gutenberg” associated with or appearing on the work, you must comply either with the requirements of paragraphs 1.E.1 through 1.E.7 or obtain permission for the use of the work and the Project Gutenberg™ trademark as set forth in paragraphs 1.E.8 or 1.E.9.
1.E.3. If an individual Project Gutenberg™ electronic work is posted with the permission of the copyright holder, your use and distribution must comply with both paragraphs 1.E.1 through 1.E.7 and any additional terms imposed by the copyright holder. Additional terms will be linked to the Project Gutenberg™ License for all works posted with the permission of the copyright holder found at the beginning of this work.
1.E.4. Do not unlink or detach or remove the full Project Gutenberg™ License terms from this work, or any files containing a part of this work or any other work associated with Project Gutenberg™.
1.E.5. Do not copy, display, perform, distribute or redistribute this electronic work, or any part of this electronic work, without prominently displaying the sentence set forth in paragraph 1.E.1 with active links or immediate access to the full terms of the Project Gutenberg™ License.
1.E.6. You may convert to and distribute this work in any binary, compressed, marked up, nonproprietary or proprietary form, including any word processing or hypertext form. However, if you provide access to or distribute copies of a Project Gutenberg™ work in a format other than “Plain Vanilla ASCII” or other format used in the official version posted on the official Project Gutenberg™ website (www.gutenberg.org), you must, at no additional cost, fee or expense to the user, provide a copy, a means of exporting a copy, or a means of obtaining a copy upon request, of the work in its original “Plain Vanilla ASCII” or other form. Any alternate format must include the full Project Gutenberg™ License as specified in paragraph 1.E.1.
1.E.7. Do not charge a fee for access to, viewing, displaying, performing, copying or distributing any Project Gutenberg™ works unless you comply with paragraph 1.E.8 or 1.E.9.
1.E.8. You may charge a reasonable fee for copies of or providing access to or distributing Project Gutenberg™ electronic works provided that:
• You pay a royalty fee of 20% of the gross profits you derive from the use of Project Gutenberg™ works calculated using the method you already use to calculate your applicable taxes. The fee is owed to the owner of the Project Gutenberg™ trademark, but he has agreed to donate royalties under this paragraph to the Project Gutenberg Literary Archive Foundation. Royalty payments must be paid within 60 days following each date on which you prepare (or are legally required to prepare) your periodic tax returns. Royalty payments should be clearly marked as such and sent to the Project Gutenberg Literary Archive Foundation at the address specified in Section 4, “Information about donations to the Project Gutenberg Literary Archive Foundation.”
• You provide a full refund of any money paid by a user who notifies you in writing (or by e-mail) within 30 days of receipt that s/he does not agree to the terms of the full Project Gutenberg™ License. You must require such a user to return or destroy all copies of the works possessed in a physical medium and discontinue all use of and all access to other copies of Project Gutenberg™ works.
• You provide, in accordance with paragraph 1.F.3, a full refund of any money paid for a work or a replacement copy, if a defect in the electronic work is discovered and reported to you within 90 days of receipt of the work.
• You comply with all other terms of this agreement for free distribution of Project Gutenberg™ works.
1.E.9. If you wish to charge a fee or distribute a Project Gutenberg™ electronic work or group of works on different terms than are set forth in this agreement, you must obtain permission in writing from the Project Gutenberg Literary Archive Foundation, the manager of the Project Gutenberg™ trademark. Contact the Foundation as set forth in Section 3 below.
1.F.
1.F.1. Project Gutenberg volunteers and employees expend considerable effort to identify, do copyright research on, transcribe and proofread works not protected by U.S. copyright law in creating the Project Gutenberg™ collection. Despite these efforts, Project Gutenberg™ electronic works, and the medium on which they may be stored, may contain “Defects,” such as, but not limited to, incomplete, inaccurate or corrupt data, transcription errors, a copyright or other intellectual property infringement, a defective or damaged disk or other medium, a computer virus, or computer codes that damage or cannot be read by your equipment.
1.F.2. LIMITED WARRANTY, DISCLAIMER OF DAMAGES - Except for the “Right of Replacement or Refund” described in paragraph 1.F.3, the Project Gutenberg Literary Archive Foundation, the owner of the Project Gutenberg™ trademark, and any other party distributing a Project Gutenberg™ electronic work under this agreement, disclaim all liability to you for damages, costs and expenses, including legal fees. YOU AGREE THAT YOU HAVE NO REMEDIES FOR NEGLIGENCE, STRICT LIABILITY, BREACH OF WARRANTY OR BREACH OF CONTRACT EXCEPT THOSE PROVIDED IN PARAGRAPH 1.F.3. YOU AGREE THAT THE FOUNDATION, THE TRADEMARK OWNER, AND ANY DISTRIBUTOR UNDER THIS AGREEMENT WILL NOT BE LIABLE TO YOU FOR ACTUAL, DIRECT, INDIRECT, CONSEQUENTIAL, PUNITIVE OR INCIDENTAL DAMAGES EVEN IF YOU GIVE NOTICE OF THE POSSIBILITY OF SUCH DAMAGE.
1.F.3. LIMITED RIGHT OF REPLACEMENT OR REFUND - If you discover a defect in this electronic work within 90 days of receiving it, you can receive a refund of the money (if any) you paid for it by sending a written explanation to the person you received the work from. If you received the work on a physical medium, you must return the medium with your written explanation. The person or entity that provided you with the defective work may elect to provide a replacement copy in lieu of a refund. If you received the work electronically, the person or entity providing it to you may choose to give you a second opportunity to receive the work electronically in lieu of a refund. If the second copy is also defective, you may demand a refund in writing without further opportunities to fix the problem.
1.F.4. Except for the limited right of replacement or refund set forth in paragraph 1.F.3, this work is provided to you ‘AS-IS’, WITH NO OTHER WARRANTIES OF ANY KIND, EXPRESS OR IMPLIED, INCLUDING BUT NOT LIMITED TO WARRANTIES OF MERCHANTABILITY OR FITNESS FOR ANY PURPOSE.
1.F.5. Some states do not allow disclaimers of certain implied warranties or the exclusion or limitation of certain types of damages. If any disclaimer or limitation set forth in this agreement violates the law of the state applicable to this agreement, the agreement shall be interpreted to make the maximum disclaimer or limitation permitted by the applicable state law. The invalidity or unenforceability of any provision of this agreement shall not void the remaining provisions.
1.F.6. INDEMNITY - You agree to indemnify and hold the Foundation, the trademark owner, any agent or employee of the Foundation, anyone providing copies of Project Gutenberg™ electronic works in accordance with this agreement, and any volunteers associated with the production, promotion and distribution of Project Gutenberg™ electronic works, harmless from all liability, costs and expenses, including legal fees, that arise directly or indirectly from any of the following which you do or cause to occur: (a) distribution of this or any Project Gutenberg™ work, (b) alteration, modification, or additions or deletions to any Project Gutenberg™ work, and (c) any Defect you cause.
Section 2. Information about the Mission of Project Gutenberg™
Project Gutenberg™ is synonymous with the free distribution of electronic works in formats readable by the widest variety of computers including obsolete, old, middle-aged and new computers. It exists because of the efforts of hundreds of volunteers and donations from people in all walks of life.
Volunteers and financial support to provide volunteers with the assistance they need are critical to reaching Project Gutenberg™’s goals and ensuring that the Project Gutenberg™ collection will remain freely available for generations to come. In 2001, the Project Gutenberg Literary Archive Foundation was created to provide a secure and permanent future for Project Gutenberg™ and future generations. To learn more about the Project Gutenberg Literary Archive Foundation and how your efforts and donations can help, see Sections 3 and 4 and the Foundation information page at www.gutenberg.org.
Section 3. Information about the Project Gutenberg Literary Archive Foundation
The Project Gutenberg Literary Archive Foundation is a non-profit 501(c)(3) educational corporation organized under the laws of the state of Mississippi and granted tax exempt status by the Internal Revenue Service. The Foundation’s EIN or federal tax identification number is 64-6221541. Contributions to the Project Gutenberg Literary Archive Foundation are tax deductible to the full extent permitted by U.S. federal laws and your state’s laws.
The Foundation’s business office is located at 809 North 1500 West, Salt Lake City, UT 84116, (801) 596-1887. Email contact links and up to date contact information can be found at the Foundation’s website and official page at www.gutenberg.org/contact
Section 4. Information about Donations to the Project Gutenberg Literary Archive Foundation
Project Gutenberg™ depends upon and cannot survive without widespread public support and donations to carry out its mission of increasing the number of public domain and licensed works that can be freely distributed in machine-readable form accessible by the widest array of equipment including outdated equipment. Many small donations ($1 to $5,000) are particularly important to maintaining tax exempt status with the IRS.
The Foundation is committed to complying with the laws regulating charities and charitable donations in all 50 states of the United States. Compliance requirements are not uniform and it takes a considerable effort, much paperwork and many fees to meet and keep up with these requirements. We do not solicit donations in locations where we have not received written confirmation of compliance. To SEND DONATIONS or determine the status of compliance for any particular state visit www.gutenberg.org/donate.
While we cannot and do not solicit contributions from states where we have not met the solicitation requirements, we know of no prohibition against accepting unsolicited donations from donors in such states who approach us with offers to donate.
International donations are gratefully accepted, but we cannot make any statements concerning tax treatment of donations received from outside the United States. U.S. laws alone swamp our small staff.
Please check the Project Gutenberg web pages for current donation methods and addresses. Donations are accepted in a number of other ways including checks, online payments and credit card donations. To donate, please visit: www.gutenberg.org/donate
Section 5. General Information About Project Gutenberg™ electronic works
Professor Michael S. Hart was the originator of the Project Gutenberg™ concept of a library of electronic works that could be freely shared with anyone. For forty years, he produced and distributed Project Gutenberg™ eBooks with only a loose network of volunteer support.
Project Gutenberg™ eBooks are often created from several printed editions, all of which are confirmed as not protected by copyright in the U.S. unless a copyright notice is included. Thus, we do not necessarily keep eBooks in compliance with any particular paper edition.
Most people start at our website which has the main PG search facility: www.gutenberg.org.
This website includes information about Project Gutenberg™, including how to make donations to the Project Gutenberg Literary Archive Foundation, how to help produce our new eBooks, and how to subscribe to our email newsletter to hear about new eBooks.