Project Gutenberg's Gems in the Smithsonian Institution, by Paul E. Desautels

This eBook is for the use of anyone anywhere in the United States and most
other parts of the world at no cost and with almost no restrictions
whatsoever.  You may copy it, give it away or re-use it under the terms of
the Project Gutenberg License included with this eBook or online at
www.gutenberg.org.  If you are not located in the United States, you'll have
to check the laws of the country where you are located before using this ebook.

Title: Gems in the Smithsonian Institution

Author: Paul E. Desautels

Release Date: August 8, 2020 [EBook #62879]

Language: English

Character set encoding: UTF-8

*** START OF THIS PROJECT GUTENBERG EBOOK GEMS IN THE SMITHSONIAN INSTITUTION ***




Produced by Stephen Hutcheson and the Online Distributed
Proofreading Team at https://www.pgdp.net






Gems in the Smithsonian Institution

Faceted, egg-shaped, 7000-carat rock crystal from Brazil. The gold stand is inset mostly with Montana sapphires. The gem was cut and the stand was designed and constructed by Capt. John Sinkankas of California. (7¼ inches high in all.)

Gems
in the
SMITHSONIAN
INSTITUTION

by PAUL E. DESAUTELS

Associate Curator
Division of Mineralogy

WASHINGTON, D. C.
1965

FOR THE INCREASE AND DIFFVSION OF KNOWLEDGE AMONG MEN • SMITHSONIAN INSTITVTION • WASHINGTON 1846

SMITHSONIAN
INSTITUTION
PUBLICATION
No. 4608

LIBRARY OF CONGRESS
Card No. 65-60068

CONTENTS

The National Gem Collection 1
The Study of Gems 3
The Shaping of Gemstones 10
Gem Substitutes 20
Gem Lore 24
The Principal Gem Species 27
Some Notable Gems in the Collection 70

Prof. F. W. Clarke, former honorary curator of the Division of Mineralogy who assembled the Smithsonian Institution’s first gem collection in 1884.

Dr. Isaac Lea, Philadelphia gem collector whose collection was the nucleus around which the Smithsonian Institution’s gem collection has been built through the years.

Dr. Leander T. Chamberlain, son-in-law of Dr. Isaac Lea, who became honorary curator of the Smithsonian Institution’s gem collection in 1897. Income from his bequest is used to purchase gems for the Isaac Lea gem collection.

1

1
THE NATIONAL GEM COLLECTION

Man has been using certain mineral species for personal adornment since prehistoric times. However, of the almost 2000 different mineral species, relatively few, perhaps only 100, have been used traditionally as gems. To be used as a gem, a mineral species must have durability as well as beauty. Lack of durability eliminates most minerals as gems, although some relatively fragile gem materials such as opal are prized because of their exceptional beauty. Actually, some gem materials are not minerals at all. Pearl, amber, jet, and coral are formed by living organisms.

In the National Gem Collection, the Smithsonian Institution has assembled a large representation of all known gem materials. The display portion of the collection consists of more than 1000 items selected to illustrate the various kinds of gems and to show how their beauty is enhanced by cutting and polishing. All of these gems are gifts of public-spirited donors who, by giving the gems directly or by establishing endowments for their purchase, have contributed to the enjoyment of the many thousands of persons who visit the Smithsonian Institution each week.

The National Gem Collection had its beginning in 1884 when Prof. F. W. Clarke, then honorary curator of the Division of Mineralogy, prepared an exhibit of American precious stones as a part of the Smithsonian Institution’s display at the 2 New Orleans Exposition. The same collection was displayed at the Cincinnati Exposition the following year. Between 1886 and 1890 the growth of the collection was slow, but in 1891 most of the precious stones collected by Dr. Joseph Leidy of Philadelphia were obtained, and these, combined with those already on hand, were exhibited at the World’s Columbian Exposition at Chicago in 1893.

Great stimulus was given the collection in 1894 when Mrs. Frances Lea Chamberlain bequeathed the precious stones assembled by her father, Dr. Isaac Lea. Her husband, Dr. Leander T. Chamberlain, who in 1897 became honorary curator of the collection, contributed a large number of specimens and, upon his death, left an endowment fund. The income from that fund has been used to steadily increase the collection over the years. Extremely rare and costly gems suitable for exhibition are beyond the income derived from the Chamberlain endowment, but this gap has been filled by many important donations, the most notable being the gift of the Hope Diamond by Harry Winston, Inc., New York City. Thus, from modest beginnings in 1884, there has been accumulated the magnificent collection of gems belonging to the people of the United States. The collection is displayed in the Smithsonian Institution’s great Museum of Natural History.

Left to right: 42-carat brazilianite, 8.4-carat euclase, 7.6-carat benitoite, 12-carat willemite, 20-carat amblygonite, and 16-carat orthoclase. (About two-thirds actual size.)

3

2
THE STUDY OF GEMS

To the average person it might seem that a jeweler’s showcase of gems presents innumerable kinds of precious stones, when actually only a few species of minerals are there. Perhaps only diamond, ruby, emerald, aquamarine, sapphire, opal, tourmaline, and amethyst would comprise the entire stock. Yet, since the mineral kingdom consists of about 2000 distinct species, it would seem that a few more kinds of gemstones would be available. Certainly, many more minerals than are seen displayed by the jeweler have been used as gems over the centuries. The study of all these species of gem minerals constitutes modern gemology—a specialized branch of the science of mineralogy.

With the few exceptions already noted, all gems are minerals found in the earth’s crust. A mineral is a natural substance having a definite chemical composition and definite physical characteristics by which it can be recognized. However, for a mineral to qualify as a gem it must have at least some of the accepted requirements—brilliance, beauty, durability, rarity, and portability. Of course, if a gemstone happens to be “fashionable” it will have additional importance. Rarely does a single gem possess all of these qualities. A fine-quality diamond, having a high degree of brilliance and fire, together with extreme hardness and great rarity, comes closest to this ideal, and in the world of fashion the diamond is unchallenged among gems. The opal, by contrast, is relatively fragile, and it 4 depends mainly on its rarity and its beautiful play of colors to be considered gem material.

When a gem material, as found in nature, has at least a minimum number of the necessary qualities, it is then the task of the lapidary, or gem cutter, to cut it and polish it in such a way as to take greatest advantage of all its possibilities for beauty and adornment.

PHYSICAL CHARACTERISTICS OF GEMSTONES

When a gemologist or a gem cutter examines an unworked mineral fragment (called rough) he looks for certain distinguishing characteristics that will aid him in identifying the mineral and in determining the procedures he should use in cutting it.

Scale of Hardness
Soft 1. Talc
^ 2. Gypsum
3. Calcite
4. Fluorite
5. Apatite
6. Feldspar
7. Quartz
8. Topaz
v 9. Corundum
Hard 10. Diamond

It is difficult to list these characteristics in the order of importance, but hardness would rank high. Hardness of a gem is best defined as its resistance to abrasion or scratching. Most commonly used for comparison is the Mohs scale, which consists of selected common minerals arranged in the order of increasing hardness. On this scale, topaz is rated as 8 in hardness, ruby as 9, and diamond, the hardest known substance, as 10. Any gem with a hardness less than that of quartz, number 7 in the scale, is unlikely to be sufficiently scratch-resistant for use as a gem. A less precise scale, using common objects for comparison, might include the fingernail with a hardness up to 5 2½, a copper coin up to 3, a knife blade to 5½, a piece of window glass at about 5½, and a steel file between 6 and 7, depending on the type of steel. By this scale, any stone that remains unmarred after being scraped by a piece of window glass will have a hardness greater than 5½. The more important gemstones—which include diamond, ruby, sapphire, and emerald—all have a hardness much greater than 5½.

The size of a gemstone usually is indicated by its weight in carats. The expression “a 10-carat stone” has meaning—if somewhat inexact—even to the nonexpert. Specifically, a carat is one-fifth of a gram, which is a unit of weight in the metric system small enough so that approximately 28 grams make an ounce. A 140-carat gemstone, then, weighs about an ounce.

Another distinguishing characteristic of a gemstone is its specific gravity, which is an expression of the relationship between the stone’s own weight and the weight of an equal volume of water. We are aware of a difference in weight when we compare lead and wood, yet it would not always be correct to say that lead weighs more than wood, for a large piece of wood can weigh more than a small piece of lead. Only by comparing equal volumes of these materials can the extent of the weight difference be clear and unmistakable. Diamond is 3½ times heavier than the same volume of water, so its specific gravity is 3.5. Since each species of gem has its own specific gravity, which can be determined without harming the stone, this standard of comparison is a valuable aid in identifying gems. Several techniques have been devised for determining specific gravity, and most of them make use of some kind of weighing device or balance.

Among the most striking and useful of the distinguishing characteristics of gemstones are those that involve the effects on light.

An important effect of a gem on light is the production of color, upon which many gems depend for their beauty. Some gem materials, such as lapis lazuli, have little to offer except color. Many gemstones vary widely in color, owing to the presence of varying but extremely small amounts of impurities. 6 Thus, the gemstone beryl may occur as blue-green (aquamarine), as pink (morganite), as rich green (emerald), as yellow (golden beryl), or even colorless (goshenite).

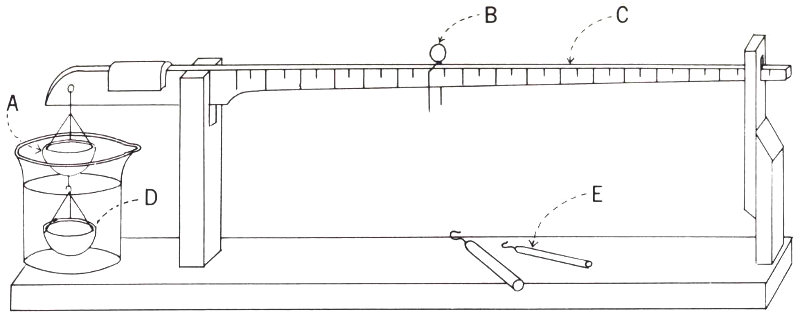
Sketch of a simple balance used to determine specific gravity of a gemstone. The operator places the gemstone in the upper pan (A), moves the weight (B) along the beam (C) until it balances perfectly, and notes the number at the weight’s position. He then transfers the gemstone to the lower pan (D), which is completely immersed in water, and moves the weight along the beam to restore balance. He notes the scale number at the new position and determines the specific gravity simply by dividing the first number by the difference between the two numbers. If the gemstone is large, the operator can use heavier sliding weights. (E).

Gemstones such as beryl and sapphire that depend on impurities for their color are said to be allochromatic; others, such as peridot and garnet, which are highly colored even when pure, are said to be idiochromatic. The color of a gem is further described according to its hue, tint, and intensity. Hue refers to the kind of color, such as red, yellow, green, etc.; tint refers to the lightness or darkness of the hue; and intensity refers to vividness or dullness. Throughout history, the most popular colored stones have been those with hues of red, green, or blue of dark tint and high intensity.

A 43-carat albite from Burma (at left), 76-carat tourmaline from Brazil, and 30-carat wernerite from Burma exhibit a strong cat’s-eye effect because of reflection from inclusions in parallel arrangement within the stones. (Actual size.)

7

Asterism (star effect) is caused by parallel inclusions arranged in several directions related to the crystal structure of the gemstone. Two rays in the 175-carat, 6-rayed star garnet from Idaho (at left in photo) are weaker than the other four because of fewer inclusions in that direction. The 23-carat star orthoclase from Ceylon shows brightly all of its four possible rays. (Actual size.)

The effect of a gem on light may be more than the production of color. Several of the so-called phenomenal stones are prized for other effects. Holes, bubbles, and foreign particles, when properly aligned in parallel groupings, can produce interesting light effects. The play of colors of opal and labradorite, the chatoyancy or silky sheen of tiger’s-eye and cat’s-eye, the opalescence or pearly reflections of opal and moonstone, and the asterism or star effect of rubies and sapphires are caused by the reaction of light to minute inclusions or imperfections in the gemstone.

When light passes into or through a gemstone with little or no interruption, the stone is said to be transparent, as opposed to a stone through which light passes with greater difficulty, and which is said to be either translucent or opaque, depending on the degree of light interruption.

Rays of light passing into a gemstone are refracted (bent) in varying amounts depending on the gem species and also on the angle at which the light strikes the stone. The light rays are reflected back toward the top of the stone by internal faces (facets), and they are refracted again as they leave.

8

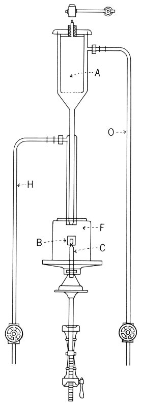
How a gem refractometer, a simple device to operate, is used to measure quickly the refractive index of a cut gemstone. A light beam passing through the opening (A) is reflected from the table of a gemstone (G) through a lens system (L) and, by prism (P), into the eye of the observer (E). The maximum angle of reflection (N), which depends on the refractive index of the gemstone, controls the angle at which the beam comes through the eyepiece (EP). The refractive index is read directly from a scale in the eyepiece.

The action of a gemstone upon the light which strikes its surface and is either reflected or passed through it sometimes results in highly desirable effects that enhance its beauty and aid in its identification. Light passing into a stone is bent from its path, and the amount of bending (refraction) depends upon the species of the gemstone. When the degree of bending can be measured, the gem species can be identified, since very few species of gemstones bend light to exactly the same degree. An instrument called a gem refractometer is used to determine the degree to which cut stones refract, or bend, light. The measurement obtained is the refractive index of the gemstone.

Many gemstones can split a beam of light and bend one part more than the other, thus producing double refraction, or two different measurements of refractive index.

When a ray of ordinary white light enters some gemstones it is dispersed (split up) into rays of the separate colors of which it is composed. These rays are reflected inside the gem and are further separated by additional refraction as they leave the gemstone. This dispersion accounts for the colored flashes of light, or fire, for which diamond is highly prized.

9

Gems have the ability to separate “white light” (the mixture of all colors) into its various colors, producing flashes of red, yellow, green, and other colors. Separation occurs because the various colors, or wavelengths composing white light passing through the gem, are each bent or refracted a different amount. Red is bent least, followed in order by orange, yellow, green, blue, and violet, which is bent most. This characteristic of being able to produce flashes of color, as seen prominently in diamond, is known as dispersion or fire. Quartz and glass have low dispersion, and hence they make poor diamond substitutes. Some of the newer synthetic gemstones, such as titania, have extremely high dispersion, with resulting fire. Zircon, a natural gemstone of suitable hardness, exhibits high dispersion and is a commonly used substitute for diamond.

CHEMICAL CHARACTERISTICS OF GEMSTONES

Since gems are embraced in the mineral kingdom, and minerals are naturally occurring chemical substances, it follows that all the accepted terms of chemical description can be applied to them. When a chemist learns that ruby is an impure aluminum oxide, he understands a great deal about the nature, origin, and behavior of ruby. He can assign to it the chemical formula Al₂O₃, symbolizing its basic composition as two atoms of aluminum united with three of oxygen. Similarly, other popular gemstones can be described chemically as follows:

Diamond Carbon C
Sapphire Aluminum oxide Al₂O₃
Quartz Silicon dioxide SiO₂
Emerald Beryllium aluminum silicate Be₃Al₂(SiO₃)₆
Spinel Magnesium aluminate Mg(AlO₂)₂
10

Significantly, ruby and sapphire are chemically identical, both being of the mineral species corundum. As already explained, the difference in color is due entirely to very slight traces of chemical impurities. Frequently, the impurities are present in irregular patches that give spotty color effects.

Some mineral species possess many of the desirable qualities of gemstones yet cannot be used as gems because they are chemically active and therefore are less durable. They undergo alteration and decomposition when exposed to light or to one or another of such substances as air, water, skin acids and oils.

3
THE SHAPING OF GEMSTONES

Gemstone crystals often have naturally brilliant, reflecting faces, but rarely are they perfect and unblemished. Also, their natural shapes do not provide the best expression of their luster, brilliance, dispersion, color, and other inherent properties. In fashioning a gemstone, the skilled artisan tries to develop these hidden assets and to otherwise enhance the gemstone’s general beauty.

From ancient times until the 1600’s little was attempted in the way of shaping gemstones other than to smooth or polish the natural form. Although similarly smoothed, or tumbled, gemstones recently have returned to fashion, the finest pieces of gem rough are now converted mainly into faceted, or shaped, stones. Standard types of facets—the flat faces that are ground and polished on the rough gem material—have been given individual and group names. A typical example is the brilliant cut, which is most commonly used to best bring out the qualities of a diamond.

11

The standard brilliant cut, with a pattern of many facets, is commonly used for gemstones having a high refractive index and, therefore, great brilliance.

Characteristic of the standard brilliant cut are the 32 crown facets surrounding a relatively small, flat, table facet and the 24 pavilion facets and culet at the bottom of the stone.

Ideal proportions for the standard brilliant cut have been carefully determined so that the maximum amount of light will be reflected back out the top of the stone. Incorrect proportions cause the light to be lost at the bottom of the stone.

12

The step cut, often called the emerald cut, frequently is used for colored stones because the large table permits a good view of the color.

The emerald or step cut provides a large table and a full bottom for the stone. Although the number of crown and pavilion facets may vary, the general pattern is maintained.

The simplified English brilliant cut takes maximum advantage of the strong dispersion of diamond, with its flashes of fire, but the fewer facets provide less sparkle than the standard brilliant cut.

The diagram shows a brilliant-cut diamond with angles and facets arranged to give the stone maximum internal reflection as well as to make use of its strong dispersive ability. Certain of the light beams passing into a brilliant-cut diamond produce colorless brilliance by being reflected back out of the stone 13 through the table by which they entered. Other light beams, emerging through inclined facets, are split up by dispersion into the rainbow, or fire, effect so prized in diamonds. A stone that has been cut too wide for its depth, with incorrect facet angles, will look large for its weight but its brilliance and fire will have been drastically reduced.

The English brilliant cut has 28 crown and pavilion facets—28 fewer than the standard brilliant cut.

The Dutch rose cut is a very simple one that is used mainly for small diamonds in jewelry that features a larger, colored stone. It is based on a form that originated in India and was introduced through Venice.

For other purposes and for other kinds of precious stones a number of basic cuts have been developed. The brilliant and step cuts are by far the commonest of these basic cuts, but modern jewelry design frequently uses such fancy cuts as the baguette, cut-corner triangle, epaulet, half moon, hexagon, keystone, kite, lozenge, marquise, pentagon, square, trapeze, and triangle. Some of these are shown here.

14

Just as the English brilliant cut, because of its 28 fewer facets, has less sparkle than the standard brilliant cut, the step brilliant, with its 20 additional facets, has greater sparkle.

The step brilliant cut is a complicated modification of the standard brilliant. With an additional 12 facets in the crown and 8 in the pavilion, the step brilliant has 78 facets, compared with the 58 of the standard.

Various kinds of cuts have been devised for special purposes in jewelry design. These include the pentagon (1), lozenge (2), hexagon (3), cut-corner triangle (4), kite (5), keystone (6), epaulet (7), baguette (8), trapeze (9) and square (10).

15

With this typical trim saw, water is used as a coolant for the rapidly rotating metal disk, which has a diamond-impregnated rim. Here, the blade is cutting its way through a piece of gem tourmaline.

In general, there are three operations in preparing a gemstone from the rough—sawing, grinding, and polishing. Sawing usually is accomplished by using a thin, diamond-impregnated, rapidly rotating disk of soft iron or bronze, with oil or water being used as a coolant. The very hard diamond dust literally scratches its way through the stone. Once the stone is sawed to shape, the facets are ground and polished on a rotating horizontal disk by the use of various abrasives. For rough grinding, 16 silicon carbide—or sometimes diamond powder—is used. Scratches are removed and a high polish is given by the use of tin oxide, pumice, rouge, or other fine-grained abrasives. The thick disks, or laps, are made of cast iron, copper, lead, pewter, wood, cloth, leather, and certain other materials. Since each species of gemstone differs in its characteristics, each must be treated somewhat differently as to sawing and lapping speeds, kind of lap, and choice of abrasives. Because of the greatly increased interest in gem cutting as a hobby and the large number of amateur cutters, a substantial market has developed in the United States for lapidary supplies and equipment. New kinds of machinery, new abrasives, and new kinds of saws and laps are introduced regularly. Fundamentally, however, the process still involves sawing, grinding, and polishing.

The final step in preparing a gemstone from rough is the applying of a high polish by pressing the stone against a rotating disk that has an extremely fine abrasive on its surface. Here, the disk is of felt, and the abrasive is tin oxide.

17

The cabochon cut gets its name from the French word “caboche,” meaning pate or knob, a reference to the rounded top of the stone. Here, from top to bottom, beginning at left, are cabochons of turquoise, agate, and petrified wood; jasper, smithsonite, and williamsite; and amazonite, petoskey stone, and carnelian. (Two-thirds actual size.)

These exquisite bowls, measuring 2 to 3 inches across, are part of a set of 35 carved by George Ashley of Pala, Calif., from gem materials found in the United States. Left to right: paisley agate from California, petrified wood from Arizona, black jade from Wyoming, chrysocolla from Arizona, and variscite from Utah. (One-third actual size.)

18

Shaping of gemstones is not limited to geometric faceting. Many stones, especially those which are opaque or which produce stars and cat’s-eyes, are cut as cabochons. This ancient, and probably oldest, cutting style consists merely of a raised and rounded form. When extended completely around the stone, the cabochon form results in a bead that can be drilled and strung. Many cabochons, especially those of less expensive gem materials, are now cut in large quantities to standard sizes in order to fit mass-produced gem mountings.

Sculpting in gemstones is a much more intricate, nongeometric kind of shaping. Although tools differ in detail, and the gem sculptor must possess an artistic eye as well as lapidary skill, the basic processes of sawing, grinding, and polishing are the same.

This coral carving, 11 inches tall without the stand, owes its thin, graceful, willowy shape to the skill of the artist in following the contour of a natural coral branch.

19

The contemporary sculptor Oskar III J. W. Hansen visualized and created the likeness of a spirited stallion in this 4½-inch turquoise carving, a gift of George Gilmer.

This world-famed crystal ball, given to the Collection as a memorial to W. R. Warner by his widow, represents another phase of the lapidary art. Cut from a block of Burmese quartz estimated to weigh 1000 pounds, this extremely valuable, flawless, colorless sphere has a diameter of 12⅝ inches and weighs 106¾ pounds.

20

4
GEM SUBSTITUTES

Because of their rarity and relatively high cost, the number of real gems used throughout recorded times must be insignificant compared to the number of gem substitutes used. There are records of glass and ceramic imitations of gems as early as 3000 B.C. Certainly, the world gem markets today are flooded with man-made gems. There even has been developed a laboratory process for growing a coating of synthetic emerald on the surface of a faceted stone of natural colorless beryl. The recut gem looks like a natural emerald, and it has natural inclusions that totally synthetic emeralds lack.

In general, gem substitutes can be classified as imitation stones, assembled stones, reconstructed and altered stones, and synthetic stones.

IMITATION STONES

Any material will serve as an imitation of a natural gem as long as it resembles the real thing under casual examination. Because of the great variety in types and colors available, glass and plastics are the most commonly used materials for making imitation gems. Almost every gem has been simulated effectively. The substitutes offer no difficulty of identification to the expert, but many are deceptive to the layman.

21

ASSEMBLED STONES

It has been the practice for centuries to build up gemstones by fusing or cementing a shaped piece of natural gemstone to another piece, or other pieces, of inferior or artificial material.

A colorless common beryl crown cemented to a pavilion of green glass produces an emerald doublet—part natural, part artificial—of good color and high durability. A thin piece of beautifully colored opal cemented to a base of inferior opal provides an assembled stone that looks like a thick piece of high-quality opal. Triplets, and even stones in which there are pockets of colored liquids or metal foil between the shaped pieces, are known.

Usually, assembled stones are easily detected, since the joint will show under magnification, but sometimes they are mounted in settings that obscure the joint, and detection is more difficult.

Assembled imitation gemstones. If it were measured on its natural ruby table, the assembled stone shown at top would have all the characteristics of a large ruby, including refractive index. The color of the quartz and glass combination (middle) depends on the color of the liquid in the cavity. Since emerald is green beryl, an inexpensive colorless beryl sandwich of green glass (bottom) would appear to be an expensive emerald. The joints of assembled stones often are hidden in the jewelry mountings.

22

RECONSTRUCTED AND ALTERED STONES

Ruby fragments may be heated at high temperature to partially melt them into a large mass that can be cut into a more valuable stone. Ruby is the only stone that can be successfully reconstituted in this way, but there are many other ways of tampering with natural stones to make them more desirable.

Sometimes natural stones are backed with foil or a metallic coating to enhance their color, to provide brilliance, or to produce a star effect. It is said that in an inventory of the Russian crown jewels by the Soviet Government, the ruby-colored Paul the First Diamond was discovered to be a pale pink diamond backed by red foil. Today, some diamonds are coated on the back with a blue film to improve their color.

Aquamarine, when pale greenish blue, may be heated in order to deepen the blue color, and poorly colored amethyst may be heated to produce a beautiful yellow-brown quartz, called citrine, that often is misrepresented as topaz. By strong heating, the brown and reddish brown colors of zircon can be changed to blue or colorless, both of which states are unknown in natural zircon. Dyes, plastics, and oils are used to impregnate porous gems such as turquoise and variscite, and even jade. Off-color diamonds, when exposed to strong atomic radiation, can be changed to attractive green, brown, and yellow colors, causing them to resemble higher-priced fancies.

In the constant search for something new, gem suppliers sometimes introduce into gemstones colors that are not always an improvement. For example, the beautiful purple of some amethyst can be converted, by heat treatment, to a peculiar green. Such an altered stone is marketed as greened amethyst.

All of this tampering with gemstones complicates the problem of identification, so it is a matter of serious concern to the gem trade.

23

SYNTHETIC STONES

For over 200 years mineralogists have been devising techniques for producing synthetic minerals in the laboratory, and attempts have been made, sometimes with considerable success, to apply these techniques to the production of synthetic gemstones. To qualify as a synthetic gemstone the man-made product must be identical chemically and structurally with its natural counterpart. Sapphire, ruby, spinel, emerald, and rutile in gem quality have been brought to commercial production.

Two of the basic techniques used in producing synthetic gems are the flame-fusion and the hydrothermal processes.

The Verneuil furnace, for making synthetic gem rough. A mixture of hydrogen (H) and oxygen (O) burns almost explosively, heating the fusion chamber (F) to high temperatures. For example, powdered aluminum oxide and coloring agents are sifted down from hopper (A) to the fusion chamber and form a cylindrical boule (B) on an adjustable stand (C).

In the flame-fusion process—invented in 1904 by the French chemist Verneuil—powdered aluminum oxide, containing coloring agents, is sieved down through the flame of a vertical blowtorch furnace. As it passes through the flame, the powder melts and accumulates as drops on an adjustable stand just below the flame, where it forms a single crystal boule of the synthetic rough. In a few hours a boule of several hundred carats can be formed. When such furnaces are operated in banks of several hundred units, the commercial production of 24 corundum alone becomes possible at the rate of many tons a year. Through the years, of course, refinements have been made on Verneuil’s original furnace.

In the hydrothermal process, which differs greatly from Verneuil’s flame-fusion process, crystals are grown from solutions of the raw materials that have been subjected to varying conditions of very high pressure and temperature. Some of the quartz used for electronics purposes also is manufactured in this way.

Since chemical composition and crystal structure are the basic characteristics by which a gemstone is identified, and these characteristics are identical in both the manufactured stone and its natural counterpart, the synthetic gemstones offer a very serious challenge to those concerned with gem identification.

5
GEM LORE

All sorts of magic and symbolic properties have been ascribed to gemstones through the ages; for example, the cat’s-eye has been prescribed as a cure for paleness, citrine has been worn as a protection from danger, and the opal cherished as the symbol of hope. The result has been the creation of an intricate, chaotic, and contradictory but interesting mass of gem lore.

Among the treasures in the Smithsonian’s Museum of Natural History is a very old silver breastplate that once was in an ancient synagogue and supposedly was modeled after the one worn by Aaron, the first high priest of the Hebrews. In this 25 plate are mounted twelve stones representing the Twelve Tribes of Israel. Among Christians, the Twelve Apostles also were represented symbolically by precious stones.

THE TWELVE TRIBES
Levi, Garnet
Zebulon, Diamond
Gad, Amethyst
Benjamin, Jasper
Simeon, Chrysolite
Issachar, Sapphire
Naphtali, Agate
Joseph, Onyx
Reuben, Sard
Judah, Emerald
Dan, Topaz
Asher, Beryl
THE TWELVE APOSTLES
Peter, Jasper
Andrew, Sapphire
James, Chalcedony
John, Emerald
Philip, Sardonyx
Bartholomew, Sard
Matthew, Chrysolite
Thomas, Beryl
James the Less, Topaz
Jude, Chrysoprase
Simon, Hyacinth
Judas, Amethyst

The number “12” seems to follow a chain of gemstone superstitions. Gemstones were considered to have mystical relationship not only with the Twelve Tribes and the Twelve Apostles but also with the Twelve Angels, the Twelve Ranks of the Devil, and the Twelve Parts of the human body.

Some stones were even endowed with astrological significance and were believed to be in sympathy with the twelve zodiacal signs. On the basis of an elaborate system of prognostications, an astrologer was considered able to foretell future events by proper observance of changes in hue and brilliance of the symbolic stones.

Aries the Ram, Bloodstone
Taurus the Bull, Sapphire
Gemini the Twins, Agate
Cancer the Crab, Emerald
Leo the Lion, Onyx
Virgo the Virgin, Carnelian
Libra the Scales, Chrysolite
Scorpio the Scorpion, Aquamarine
Sagittarius the Archer, Topaz
Capricornus the Goat, Ruby
Aquarius the Water Bearer, Garnet
Pisces the Fishes, Amethyst

Perhaps in our own space-oriented times the ancient superstitions sympathetically relating certain gemstones with the 26 planets will be revived. In the distant past, moonstone, topaz, and other white stones were believed to be in sympathy with the Moon, diamond and ruby with the Sun, jasper and emerald with Mars, amethyst, topaz, and emerald with Venus, carnelian, topaz, and amethyst with Jupiter, turquoise and sapphire with Saturn, and rock crystal, agate, and emerald with Mercury. Since Uranus, Neptune, and Pluto were unknown to the ancients, these planets have not been represented by gemstones.

Of special interest to the American public are birthstones. Many birthstone lists have been proposed, and in order to use this idea to popularize gemstones the American jewelry industry has agreed upon an official list. This list has served to bring about some uniformity in the selection of birthstones for the twelve months.

January, Garnet
February, Amethyst
March, Aquamarine or Bloodstone
April, Diamond
May, Emerald
June, Moonstone or Pearl
July, Ruby
August, Peridot or Sardonyx
September, Sapphire
October, Opal or Tourmaline
November, Topaz or Citrine
December, Turquoise or Lapis lazuli

All these associations and strange beliefs have served to create in the general public a mental image of gemstones that gives to them an increased exoticism and mysterious appeal far exceeding their monetary value.

{zodiac symbols}
27

6
PRINCIPAL GEM SPECIES

An excursion into the literature of gems would reveal that there is much to be discovered about them other than the cold facts of gemology, techniques of gem cutting, and tales of gem lore. When all the information about an individual species is assembled, it provides a sketch of a fascinating gemstone personality. Whole books have been written about diamond—books filled with essays on its mining history, natural occurrences, scientific significance, and best known cut stones.

In the following sections of this book, some of the facts about several of the better known gem species have been gathered. The treatment is not meant to be complete, but enough information is given so that the Museum visitor may better understand and remember what he has seen.

For each species described there are color illustrations of certain gemstones displayed in the collection. Several photographic and artistic techniques have been used to emphasize the various aspects of the beauty of these stones, many of which are the largest and finest of their kinds known; however, not all of the finest gems are pictured here.

At the end of this descriptive section is a list of the significant faceted gemstones in the collection. Obviously, this list will change, because new gemstones constantly are being acquired.

28

DIAMOND

Diamond is the king of gems. It is a form of pure carbon, and it is the hardest substance known; only diamond will cut diamond. It is interesting that the humble graphite, its close relative, is also pure carbon, but graphite is so soft that it is used as a lubricant and for making the “lead” in pencils.

The ancients believed diamond to be indestructible, and even today many people believe that diamond cannot be broken. Despite its great hardness, however, diamond is not exceptionally tough, and it can be split along what diamond cutters call its grain.

The diamond’s high brilliance results from its very high refraction, or ability to bend light, and its fire is caused by its high dispersion, or ability to divide light into its rainbow colors. However, only in properly cut stones are diamond’s brilliance and fire developed to their maximum.

At great depths in the crust of the earth and under conditions of very high pressure and temperature, diamonds form in pipe-like bodies of kimberlite, a heavy dark rock consisting primarily of two minerals, pyroxene and olivine. In South Africa diamonds are mined from the kimberlite, but they also are recovered there and elsewhere from beds of sand and gravel where they have accumulated after being released from their mother rock by erosion.

The world’s largest diamond deposits are in Africa, and names such as Congo, Sierra Leone, and the Union of South Africa bring to mind colorful legends of fabulous discoveries of diamond. Smaller deposits are found in South America—in Brazil, British Guiana, and Venezuela—and in Asia. Even in the United States some diamonds have been found.

India was the most important source of diamond until 1728, when discoveries were made in Brazil. Among the important large diamonds found in India were the Koh-i-noor, the Great 29 Mogul, and, very likely, the Hope Diamond. Like India, Brazil in turn declined as a major source of diamond with the discovery and efficient recovery of large quantities in South Africa.

The Hope Diamond, because of its long and dramatic history and its rare deep-blue color, is probably the best known diamond in the world. By speculation, the Hope is linked to the famous “French Blue,” which was brought to France from India in 1668 to become part of the crown jewels of Louis XIV. The French Blue was stolen in 1792 and never recovered, but in 1830 an extraordinary 44.5-carat blue diamond—presumably cut from the missing gem—came on the market. It was purchased by Henry Thomas Hope of England and became known by its present name. In 1949 the gem was acquired from the estate of Mrs. Evalyn Walsh McLean by Harry Winston Inc., of New York. Ten years later, Harry Winston, Inc., presented the gem (shown here in actual size) to the Smithsonian Institution.

Diamonds are extremely rare even in diamond mines. For example, the famous South African mines contain only one part of diamond in more than 14 million parts of worthless rock. In spite of this, more than three tons of gem- and industrial-quality diamond were mined in 1963.

Among the British crown jewels is a cut diamond weighing 530.20 carats (more than 3¾ ounces), one of several stones that were cut from the largest gem diamond ever discovered. 30 The rough stone, known as the Cullinan Diamond, weighed 3106 carats (almost 1¾ pounds) when it was found at the Premier Mine in South Africa in 1905.

The Portuguese Diamond, weighing 127 carats, is the 13th largest cut diamond on record. More unusual, it is from Brazil, and is thought to have been part of the Portuguese crown jewels. In addition to its brilliant color flashes, it has a slight milky fluorescence that causes it to “glow” even in artificial light. (Actual size.)

Diamonds vary from colorless to black and from transparent to opaque. As they come from the mines, they are graded into two groups, gem and industrial. Those whose color, imperfection, or shape make them useless as gems—more than 8 out of every 10 carats mined—are used in industry. Diamonds of industrial quality also are produced synthetically, and these are used primarily in the manufacture of grinding wheels.

The best gem diamonds are flawless and are colorless or slightly blue. Their value depends on their color, clarity, cut, and carat weight. Most costly are those called fancies, which have a distinct color such as blue, pink, green, or deep yellow.

31

PEARL

Pearl is included among gemstones only because it is a beautiful object used as jewelry. As has been noted, pearl is not mineral because it is formed by the action of a living organism. However, the pearl has long occupied an important position among jewels, and it is unique in requiring no lapidary art to enhance its beauty. Nature has perfected pearls.

The strand of matched pearls was presented to President Van Buren by the Imam of Muscat. The three baroque (irregularly shaped) pearls are freshwater pearls from the Wabash River in Indiana.

The ancient Chinese believed that pearls originated in the brain of a dragon. We now know, of course, that pearl is created by a secretion of a mollusk. Very few mollusks have the ability to produce the fine mother-of-pearl used in the jewelry trade, and even among those that can, very few produce pearls with iridescence, or orient, as it is known in the trade. Only two genera, the pearl oyster (Margaritifera) and the pearl mussel (Unio) are important sources of the gem. Edible 32 oysters rarely produce pearls, and when they do, the pearls are of poor quality.

The shells of pearl-producing mollusks are composed of layers of calcium carbonate in the form of either calcite or aragonite. These layers, cemented together with an organic substance known as conchiolin, are known as nacre. The layer closest to the animal is deposited in tiny overlapping patches, producing an iridescent effect caused by the interference of light rays reflected from the plates making up the nacre. The same material coats the surface of a gem pearl.

Seldom does a mollusk live out its time without attack by creatures boring through its shell, or without intrusion through the normal shell opening of tiny parasitic worms, sand, or other irritants. Usually inert particles are forced against the inside of the shell, where they are covered with layers of pearl that fasten them to the shell. This is the source of most blister pearls. When the irritant remains in its fleshy part, the mollusk deposits a protective shell of pearl to cover it completely, and a spherical pearl may result. Pearls of less-symmetrical shape, called baroques, are more common.

The value of a pearl depends on its shape, color, orient, and size. Pearls of highest value are white with a faint tinge of pink or yellow, possess fine orient, are round, and are free of surface blemishes. The grading of pearls for color requires considerable experience to detect delicate differences. Various classification names, such as “rosée” for delicate pink shades, are used. Fancy colored pearls are those with a strong yellow, bronze, pink, green, blue, or black color. Grading for shapes, which differ markedly, is easier. Spherical pearls are usually drilled for beads; pear-shaped or drop pearls are used in earrings and pendants; and “boutons” or button-shaped pearls, with one flat side, are used for ear ornaments, cuff links, and rings. Irregular, baroque pearls and tiny seed pearls are used in jewelry designs with noble metals and perhaps other gemstones.

The world’s finest pearls, called oriental pearls, come from the fisheries of the Persian Gulf. Fine pearls also are found off the coasts of Burma, Tahiti, New Guinea, Borneo, Venezuela and western South America, and in the Gulf of California. Fresh-water 33 pearls of high quality, formed in pearl mussels, are found in various rivers in Europe and the United States, especially in rivers in the Mississippi Valley.

A method of growing cultured pearls has been well developed. A mother-of-pearl bead is inserted in the oyster as an irritant, and the animal is replaced in the sea in a cage. When oysters so treated are recovered after a period of three to seven years, the beads in the harvested crop usually are found to be coated with a layer of nacre up to almost a sixteenth of an inch thick.

The cultured pearl can be identified only by the observance—through a drill-hole or by X-ray—of the mother-of-pearl core, which had been inserted in the oyster. An instrument called an endoscope, devised for rapid testing of drilled pearls, relies on a beam of strong light carried by a hollow needle. The needle is inserted into the drill hole, and as it passes through the center portion of a natural pearl a flash of light, reflected through a mirror system in the needle, is observed.

CORUNDUM
(RUBY AND SAPPHIRE)

Both ruby and sapphire, which are second only to diamond in hardness, are of the mineral species corundum, an oxide of aluminum. They are identical in all characteristics except color. Most corundum is opaque, and it is mined in large quantities for use as an abrasive. In a few places, such as Moguk in Upper Burma and in Ceylon, clear corundum is found that is suitable for use as a gem.

Red corundum is known as ruby. Its color, caused by traces of chromium, ranges from rose through carmine to a dark purplish red referred to as pigeon’s blood red. Rubies of this very desirable latter color often are called Burma rubies, and they are the most costly of all the corundum gems.

All gem corundum having a color other than red is sapphire. The name sapphire means blue, and this is the color most frequently associated with this gemstone. The finest sapphires are a velvety cornflower blue, and they come from Kashmir. Blue, 34 white, yellow, gold, pink, and all the other colors of corundum are caused by the presence of slight traces of iron, chromium, titanium, and other metals present as dissolved impurities in the aluminum oxide. Frequently sapphires are found that show patches of blue and yellow, or that have alternating zones of red and blue. Pure corundum is colorless.

A piece of uncut ruby, from Burma, and five small rubies of about half a carat each, from Ceylon. All have the classic “pigeon’s blood” color. (Actual size.)

Most gem corundum comes from the Orient, at localities such as Moguk in Upper Burma, near Bangkok in Thailand, Kashmir in India, and Ceylon. Because of this primarily Asian origin, the word oriental often is used with the names of other gems to denote a sapphire of a particular color. For example, green sapphire sometimes is called oriental emerald, and the yellow sapphire sometimes is called oriental topaz.

35

The sapphires in this group vary in color from deep blue to gold, and they come from widely separated localities. The scatter of small multicolored stones came from Montana, and the magnificent 93-carat golden sapphire, encircled by the gold bracelet, came from Burma. (Slightly less than half actual size.)

There are some notable exceptions to the generally oriental occurrence of corundum. Some good-quality ruby has been found in North Carolina, and sapphire of many colors has come from Montana.

During the formation of a corundum crystal, extremely small needle-like inclusions of rutile sometimes occur in the hexagonal pattern of the host crystal. When such inclusions are arranged in this way by nature, they cause, in properly cut stones, internal reflections that produce the optical phenomenon known as asterism. The effect is that of a 6-rayed star, and the gems in which asterism occurs are known as star sapphires and star rubies. Asterism is rarer in ruby.

36

The Star of Asia, weighing 330 carats, is one of the finest star sapphires in the world. It is of a clear, deep blue color and has a strong, sharply defined, 6-rayed star. (Actual size.)

Cutting a star stone requires careful attention to the directions in which the cuts are to be made. Failure to align the stone properly with the axis of the crystal will produce a stone with an off-center, crooked, or dim star, or may even eliminate the star completely.

CRYSTAL AXIS
POSITION STONE MUST TAKE TO SHOW STAR
OTHER STAR STONES MAY BE CUT, BUT MUST BE IN THE SAME POSITION WITHIN THE CRYSTAL
ROUGH SAPPHIRE CRYSTAL
CRYSTAL AXIS

Since corundum is easily manufactured, synthetic ruby and sapphire are used extensively in jewelry. The synthetic stones can be distinguished from natural stones by microscopic examination of the kinds of inclusions and internal defects.

VARIETIES
Ruby: Red.
Sapphire: Blue, yellow, pink, green, colorless, and any color except red.
Star sapphire: Colored as sapphire and showing asterism.
Star ruby: Red and showing asterism.
37

BERYL
(INCLUDES EMERALD AND AQUAMARINE)

Beryl is probably the most widely used colored gemstone, and under its several names in the gem world it is probably the best known. When it is a rich green it is known as emerald, and when it is the blue-green of sea water it is called aquamarine. Varieties such as the rose-pink morganite, golden-yellow heliodor, and colorless goshenite are less well known than emerald and aquamarine but are equally attractive and satisfactory gemstones.

Beryl is beryllium aluminum silicate. It frequently occurs in well-formed hexagonal crystals, and its many colors result from the presence of very small percentages of several different elements. Emerald owes its rich green color to traces of chromium, and the detection of this element is one of the means of identifying true emerald. Aquamarine, comprising the green and blue-green beryls, gets its color mainly from traces of iron. Practically all of the deep blue aquamarine available in jewelry stores results from the heat treating of greenish beryl or certain yellow-brown beryls. The stones are heated carefully to about 800° F., and the color change is permanent. The element lithium accounts for the color of pink beryl. As with aquamarine, the color of yellow beryl is now considered to be the result of traces of iron rather than uranium, as previously thought. Pure beryl is colorless.

Beryl usually is found in pegmatites, which are very coarse-grained granite rocks formed by the cooling of molten material far beneath the earth’s surface. As the rock cools and beryl and other crystals are formed, the stresses introduced are so great that the crystals frequently shatter so badly they are useless as gem material. Frequently, too, impurities are introduced during crystal formation, and consequently the gem materials are found only where the crystals were able to form without interference—such as in openings or cavities in the rock.

Tremendous beryl crystals weighing as much as several tons, but not of gem quality, have been discovered in a few localities. 38 Large crystals of gem quality also occur in nature, and large cut stones of aquamarine and other colors of beryl are relatively common. Among the fine examples of beryl in the National Gem Collection is a remarkably large (2054-carat), flawless cut stone of rich yellow-green. This gem and others in the collection weighing 1363 carats, 1000 carats, 914 carats, and 578 carats accentuate the occurrence of large gem crystals of beryl in Brazil.

Four large cut stones, all from Brazil, illustrate the color range of beryl. Top, a 578-carat green beryl; left, a 235-carat morganite, gift of Mr. and Mrs. Frank Ix, Jr.; bottom, a 133-carat gold beryl; and, right, a 187-carat aquamarine. (Half actual size.)

The finest emeralds are not found in pegmatites. At Muzo in Colombia, the most prolific source of the finest emeralds, they occur in veins with calcite, quartz, dolomite, and pyrite. The veins cut through dark-colored, carbonaceous limestone and shale. Mining at Muzo began 350 years ago and still continues sporadically to meet market requirements. Russian emeralds occur as good-sized crystals in mica schist, a metamorphic rock. They occur there with chrysoberyl, phenakite, and common beryl. Some of the smaller stones have good color and have been cut into valuable gems. Brazil, which 39 produces many extraordinary aquamarines and other beryls, has not produced quality emeralds. Periodically, over the centuries, there have been reports of new discoveries of emerald, but so far none of these has begun to rival the Muzo source in either quantity or quality of the gems produced.

This tremendous golden beryl from Brazil, weighing 2054 carats, is the largest cut beryl known of this color. Cut stones of this size that contain no visible flaws or inclusions are most unusual. (Three-fifths actual size.)

Although Brazil supplies the finest aquamarine and Colombia the finest emerald, several localities in the United States are sources of good-quality beryl of these colors. Foremost among these localities are Maine, California, and Connecticut for aquamarine and North Carolina for emerald. Morganite of pale pink to deep peach color, from California, is also notable. Various New England mines in Maine, New Hampshire, and Connecticut and the gem mines of the Pala and Mesa Grande districts of California have produced other colors of gem beryl. However, most of the beryl mined in the United States is used as an ore for beryllium, as little of it is of gem quality.

Because of its hardness (about 8), vitreous luster, beautiful color, and rarity, emerald always has been highly prized as a 40 gem. Fine-quality emeralds may be more costly than fine diamonds. Other kinds of beryl have the same physical properties as emerald, but since they are less rare their relative value is lower.

Synthetic emerald of high gem quality has been marketed successfully. A synthetic substitute for aquamarine is also available; it is really a synthetic blue spinel.

VARIETIES
Emerald: Grass green
Aquamarine: Blue green
Morganite: Pink
Heliodor: Yellow
Goshenite: Colorless

TOPAZ

Three different cutting styles and colors of topaz. From top, a 235-carat colorless stone from Colorado, a 171-carat dark champagne-colored stone from Madagascar, and a 129-carat sherry-colored stone from Brazil. (Slightly less than actual size.)

Because yellow is the most popular color of topaz it has become customary to believe that all topaz is yellow. Also, there is a tendency to believe that all yellow gemstones are topaz. Neither belief is correct. Stones of yellow, sherry, blue, pink, and colorless topaz all make beautiful gems, and their characteristics are identical except for color. On the other hand, citrine (a yellow quartz), although entirely unrelated to topaz, often is disguised in the trade under the names Brazilian topaz, topaz quartz, or just topaz. Great numbers of stones described and sold as yellow topaz really are the much commoner citrine, which has few of the characteristics of fine topaz.

41

A cushion-cut topaz from Brazil that weighs 1469 carats. It is an odd shade of yellow-green.

A 3273-carat topaz of soft blue that came from Brazil. The Smithsonian Institution had this unique gem cut by Capt. John Sinkankas of California. For several years it was the largest topaz in the collection. (Both gems are shown in actual size.)

42

Topaz, an aluminum fluosilicate, has a hardness of 8, a vitreous luster, and a relatively high refractive index. It is found in near-perfect crystals that range in size from very small to very large, with some giants weighing as much as several hundred pounds. Most of these crystals, especially the largest ones, are colorless, a characteristic that indicates relatively high purity of composition. Although topaz gems have little fire, they take a high polish and can be very brilliant. Great care must be taken in cutting and polishing topaz because of its ready cleavage. The desired cut and high polish can be secured by avoiding excessive heat or pressure during the operation and by planning facets so that none lies exactly parallel to the cleavage direction.

Although crystals of gem-quality topaz are found in many localities, perhaps the splendid blue ones from Russia and the yellow, wine, blue, and colorless ones from Brazil are best known. Some fine topaz has been found in the United States in such widely separated areas as New Hampshire, Texas, Colorado, and California. The light, golden brown topaz from Colorado has an unfortunate tendency to fade in strong sunlight. It remains to be seen whether similar topaz coming recently from comparable occurrences in Mexico also will fade. By a system of heating and cooling, certain of the red-brown topaz crystals from Ouro Preto, Brazil, can be converted to colors ranging from salmon pink to purple red. Quick heating to high temperatures can completely remove color, and sudden or uneven cooling may cloud or crack the stone.

OPAL

Opal has been admired for its great beauty since ancient times, but this gemstone lacked commercial appeal until the discovery of the Australian black opal late in the 19th century.

43

Opal is somewhat brittle, is sensitive to heat, and, in some cases, tends to deteriorate despite the best of care. Therefore, this stone lacks many of the physical characteristics required for an ideal gem. These deficiencies would eliminate other species from the list of gemstones, but the great beauty of its flashing and shifting color patterns has made opal increasingly popular. Even its name, coming from the ancient Sanskrit “upala,” means precious stone.

With a hardness between 5½ and 6½, opal is the softest of the more popular gems. It is sufficiently hard, however, to be used in jewelry, where its setting usually helps to protect it from shock and abrasion.

Black opal, so called because the color flashes appear against a dark background, is found in Australia. It is quite rare, and large pieces such as the ones shown here have become extremely valuable. (Almost actual size.)

Opal is unlike most gemstones in that its flashing color is not due to the color of the stone itself, or even to the color of its included impurities. Rather, it is due to the way in which tiny opal particles are grouped during its formation. Detailed photographs taken through an electron microscope show clearly how precious opal is deposited as spheres that are so small they are indistinguishable under powerful optical microscopes. These spheres are packed together in very orderly networks, row upon row and layer upon layer, with tiny open spaces, also in rows, between them. Masses of common opal lack this orderly internal arrangement of spheres. White light striking the precious opal is reflected independently by each row of spheres, much like the reflections from a series of slats in a venetian blind. 44 Since these rows of spheres are spaced at distances approximately the same as the wavelength of light, a phenomenon known as diffraction occurs. The separate reflections interfere with each other in an organized manner, cancelling out some of the light wavelengths and reinforcing others, producing color. The brilliant color flashes are of different hues depending on the sizes of the spheres of opal and, therefore, the distances between rows. To provide the best display of this optical effect, opal is almost always cut in cabochon form rather than as faceted stones.

Fire opals have rich fire; some have background colors that vary from bright yellow through orange and red; and some are colorless. Stones such as the ones shown here, which weigh 7, 11, and 22 carats, have made Querétaro, Mexico, famous as their source. (Actual size.)

This rare 34-carat opal from Brazil resembles closely the opals found in Australia. (Actual size.)

Common opal, which shows milky opalescence, does not exhibit color flashes, and it is not used as a gemstone. Each of the common varieties—such as hyalite, cacholong, and hydrophane—has its own slightly different set of characteristics, but only precious opal, with its dazzling color display, is important for gem purposes. To take full advantage of the small amounts of gem material available, or to bring out its color better, precious opal is often cut as thin pieces and mounted as doublets on some other backing. Also, the seams in rock sometimes are cut so that the thin layer is exposed on a 45 thicker backing of the adjoining rock. Precious opal, or gem opal, is classified as white opal when the color flashes are in a whitish or light background, black opal when the background material is gray, blue-gray, or black, and fire opal when the background is more translucent and red, reddish orange, or reddish yellow.

Precious opal has been found in several areas of the world—in nodules, in seams in rock, or as replacements of other minerals or even of wood and shell. Hungarian deposits were well known in Roman times, but these and other deposits became insignificant with the discovery of opal in Australia in the late 19th century. Opal deposits were discovered in 1889 at White Cliffs in New South Wales, and other important discoveries in Australia followed, including deposits at Lightning Ridge in New South Wales that produce very dark stones and the rich fields of white opal at Coober Pedy in South Australia. Mexico has remained for a long time the principal source of richly colored fire opals, with the most important deposits located in the state of Querétaro, where mines have been worked intermittently since 1835. This has made the town of Querétaro today the center for the trade and cutting of Mexican opal.

VARIETIES
White opal: Color flashes in light-colored background material
Black opal: Color flashes in dark gray or bluish background material
Fire opal: Orange or reddish background material

SPINEL

Two of the more famous stones in the British crown jewels are the Black Prince’s Ruby and the Timur Ruby, but neither of these stones is really ruby. Like the great red gem in the crown that belonged to the Russian Empress Catherine II, these two British stones are spinel. Although spinel occurs in many colors, such as yellow, green, violet, brown, and black, it is the red spinel that usually is seen in the 46 gem trade. There are several varieties of red spinel, such as ruby spinel, balas ruby, rubicelle, and almandine spinel—all of which refer to the color resemblance to ruby.

The hues and tints of spinel show subtle variations that are matched only by those of tourmaline. Unlike tourmaline, however, spinel may be bright ruby red. The cut stones curving around two pieces of rough from Burma weigh (left to right) 30 carats (Ceylon), 34 carats (Burma), 36 carats (Burma), 30 carats (Ceylon), and 22 carats (Ceylon). (Three-fourths actual size.)

Spinel is an oxide of magnesium and aluminum, and it is not related to ruby. However, because its hardness (8) is only slightly less than that of ruby and its brilliance is about equal to that of ruby, spinel makes an excellent substitute for that gem. Also, because it is more plentiful, spinel costs much less. It is interesting that red spinel, like ruby, gets its color from the presence of traces of chromium.

Synthetic blue spinel is widely used as a substitute for aquamarine, and synthetic spinels of other colors are used as substitutes for many gems. However, the synthetic stones are not ordinarily made in the subtle shades so characteristic of natural spinel. Completely colorless spinel apparently exists only as a synthetic material. Actually, because of its hardness, durability, and many attractive colors, spinel makes a fine gemstone in its own right.

47

Like ruby and several other gemstones, spinel is found chiefly in the gem gravels of Ceylon, Burma, and Thailand. Appreciable amounts of spinel occur in the Ceylon gem gravels as worn, rounded pebbles of many colors. In the Burmese gravel deposits the spinel is often found as well-formed octahedral crystals. Near Moguk, in Burma, spinel has been found in its original position in the limestone rocks as well as in the eroded stream deposits.

VARIETIES
Almandine spinel: Purplish red
Rubicelle: Orange-red
Balas ruby: Rose red
Ruby spinel: Deep red
Chlorospinel: Translucent grass green
Ceylonite or pleonaste: Opaque dark green, brown, or black
Picotite or chrome spinel: Translucent dark yellow-brown or green-brown

QUARTZ
(INCLUDES ROCK CRYSTAL, AMETHYST, AND CITRINE)

Few gemstones can compete with quartz for variety of color. Having a hardness of 7 and occurring in many beautiful varieties, only the relative abundance of quartz prevents the species from attaining top rank among gemstones.

The two kinds of quartz, crystalline and cryptocrystalline (fine-grained) quartz, occur in all kinds of mineral deposits throughout the world. Much of this material is suitable for cutting gems.

Colorless crystalline quartz, or rock crystal, makes attractive faceted gems, and it is used as a suitable substitute for diamond and zircon even though it lacks the fire and brilliance of those gemstones. Some very large, flawless crystals of colorless crystalline quartz have been found. The great Warner Crystal Ball, with a diameter of 12⅞ inches and weighing 106¾ pounds, was cut from such a crystal. In addition to the name rock crystal, colorless crystalline quartz appears in the jewelry trade under such names as rhinestone (not to be confused with the glass substitute), Herkimer diamond (from 48 Herkimer County, N. Y.), and Cape May diamond (from Cape May, N. J.).

The most popular variety of quartz is amethyst, a transparent form whose color ranges from pale violet to deep purple. In many cut stones of amethyst the color intensity changes sharply from section to section. This is due to irregular color zoning common to amethyst crystals. The actual cause of the purple color in amethyst is not very well understood. There are fewer cut stones of amethyst in very large sizes because of the rarity of large, flawless, well-colored crystals.

This 4500-carat pale smoky quartz egg from California rests on a gold stand set with Montana sapphires. The unique gem was cut and its stand was designed and made by Capt. John Sinkankas as a difficult exercise in the lapidary art. The quartz egg is 4 inches long and almost 3 inches in diameter.

The name citrine (from the French word for lemon) attempts to describe the yellow color of another variety of quartz. Actually, the normal coloring of citrine varies from yellow to red-orange and red-brown, but the yellow sometimes rivals the yellow of topaz. In addition to the normal color range, the colors of citrine may grade through a grayish yellow variety known as cairngorm and a grayish variety called smoky quartz to a black variety called morion. Other varieties that add color dimensions to the group of quartz 49 gemstones are rose quartz and milky quartz. Like amethyst, the reason for the color in rose quartz has not been definitely established. Milky quartz owes its color to myriads of tiny cavities containing water or liquid carbon dioxide.

A 783-carat step-cut citrine of deep, rich color dwarfs a 278-carat brilliant-cut citrine (at left), a 90-carat smoky quartz, and a 91-carat briolette of citrine. The smoky quartz, from Switzerland, is so dark that it appears to be opaque. The other three stones came from Brazil. The briolette and brilliant-cut citrines were cut and donated to the Smithsonian Institution by Albert R. Cutter. (Slightly less than half actual size.)

The range of color in quartz is somewhat surprising, considering that the mineral is a simple silicon dioxide. Some of the colors, as with corundum and some other gemstones, are due to traces of impurities. In quartz, these consist mainly of oxides of iron, manganese, and titanium. However, all the reasons for quartz coloration in its many varieties are not known.

50

Pastel rose quartz has a delicate beauty in any cut. The 375-carat step cut (top), the 84-carat step cut, and the 46-carat marquise came from Brazil. (Two-thirds actual size.)

Amethyst, a purplish quartz, is the birthstone for February. Here it is represented by a 1362-carat stone from Brazil (top), a 54-carat stone from Pennsylvania (left), and a 21-carat stone from North Carolina. (Almost actual size.)

In addition to possessing wide variation of color, quartz, like sapphire and certain other gemstones, can exhibit asterism or chatoyancy. The well-known tiger’s-eye from West Griqualand, South Africa, owes its eye effect to the fact that its material is a replacement of fibrous asbestos by cryptocrystalline quartz. The color of tiger’s-eye arises from the partial alteration of the asbestos to yellow-brown iron oxides before it is replaced by quartz. Inclusions of rutile, tourmaline, or actinolite needles may produce attractive patterns in quartz, but they do not always cause chatoyancy. The material containing such inclusions 51 is called sagenitic quartz, or it may be descriptively named, such as rutilated quartz, tourmalinated quartz, and so forth. Sagenitic quartz is usually cut as cabochons rather than as faceted stones since the inclusions are of greater interest than the quartz itself.

If the foreign inclusions consist of tiny flakes of hematite or mica, the quartz assumes a spangled appearance and is called aventurine.

Crystals of quartz varieties that are opaque or that contain visible inclusions normally are cut as cabochons to take advantage of the body color or to make the inclusions more visible. Crystals of the transparent varieties are fashioned in any of several cutting styles, depending on whether it is desired to take maximum advantage of color or of brilliance. Because of its availability in fairly large, flawless pieces in various colors, quartz has been used extensively in carving. The Chinese have excelled in carving large, ornate objects of rock crystal.

Although quartz occurs in many varieties and its crystals are cut in many styles, it is easily identified by its refractive index of 1.55, specific gravity of 2.65, and hardness of 7.

CRYSTALLINE VARIETIES
Amethyst: Purple to violet
Cairngorm: Smoky yellow
Citrine: Yellow to red-orange and red-brown
Milky quartz: White
Morion: Black
Rock crystal: Colorless
Rose quartz: Rose to pink
Smoky quartz: Gray to black
CRYPTOCRYSTALLINE VARIETIES (CHALCEDONY)
Agate: Pronounced color banding
Aventurine: Inclusions of sparkling flakes
Bloodstone: Dark green dotted with red
Carnelian: Red to yellow-red
Cat’s-eye: Chatoyant
Chrysoprase: Green
Jasper: Opaque brown to red-brown, green, yellow, etc.
Onyx: Color banding in straight layers of contrasting color
Sard: Light to dark brown
Sardonyx: Sard or carnelian bands alternating with white bands
Tiger’s-eye: Bright brownish yellow, sometimes blue: chatoyant
52

CHRYSOBERYL
(INCLUDES ALEXANDRITE AND CAT’S-EYE)

With color ranging from shades of yellow and brown through blue-green to olive, and with a hardness of 8½, chrysoberyl has most of the characteristics necessary for a fine gem. Rare stones of high-quality chrysoberyl demand fairly high prices, and they are sought eagerly by the connoisseur of gemstones.

Chrysoberyl is beryllium aluminate, and thus is closely related to the gemstone spinel, which is magnesium aluminate. When pure, chrysoberyl is colorless and relatively uninteresting as a gemstone because of its lack of color dispersion and its moderate refractive index of 1.75. However, few pure samples are known, as chrysoberyl normally contains some iron or chromium in place of aluminum and some iron in place of beryllium. As a result of such impurities, the color of chrysoberyl my be yellowish, greenish, or brownish.

Chrysoberyl and beryl are the only important gemstones containing the element beryllium. The minerals beryllonite, euclase, hambergite, and phenakite also contain this element, but they are rare and seldom are seen as cut gems.

One of the finest chrysoberyl cat’s-eyes in existence is the 58-carat Maharani from Ceylon. (Actual size.)

The alexandrite variety of chrysoberyl has two colors in delicate balance, and it changes from a columbine red to an emerald green when viewed under different light. When viewed in daylight, which is richer in green, the color balance shifts toward green, and that hue is seen by the observer. Under artificial light, normally richer in red, the color balance shifts toward red, and the stone seems to have changed to that color. 53 This extremely rare stone, named after Czar Alexander II of Russia, is found only occasionally, in Russia and Ceylon. The Russian stones, found with emerald in mica schist, tend to be smaller than the Ceylon stones and have a color change going from emerald green to violet-red. The Ceylon stones, found as pebbles in gem gravels, have a color change going from a less-emerald green to a browner red. The 66-carat, record-size alexandrite in the National Collection shows the color change typical of Ceylon stones. A synthetic stone is commonly marketed as synthetic alexandrite, but this substitute not only is man-made but is actually synthetic corundum instead of synthetic chrysoberyl.

In addition to its fine cat’s-eyes and its color-changing alexandrite varieties, chrysoberyl occurs in handsome stones that vary in depth of color. Shown here with an uncut twinned crystal of gem quality from Brazil are a 46-carat stone from Brazil (left) and a 121-carat stone from Ceylon. The uncut crystal is a gift of Bernard T. Rocca, Sr. (Two-thirds actual size.)

Cat’s-eye chrysoberyl contains myriads of tiny fiberlike channels arranged in parallel position. When the stone is cut as a cabochon, a band of light is reflected from the curved top of the stone, producing an effect that resembles the slit pupil of a cat’s eye.

VARIETIES
Alexandrite: Green in daylight, changing to red in artificial light
Cat’s-eye: Chatoyant
54

TOURMALINE

Because of its great color range, which includes pink, green, blue, yellow, brown, and black in many different shades and combinations of shades, tourmaline is one of the most popular of the colored gemstones. Tourmaline with a color near emerald green is particularly popular.

Chemically, tourmaline is a very complex borosilicate, and its color is determined by the various elements present in it. Tourmaline crystals having sodium, lithium, or potassium are either colorless, red, or green; those having iron are blue, blue-green, or black; and those having magnesium are colorless, yellow-brown, or blackish brown.

Some crystals of tourmaline are of two colors, and stones of mixed colors, such as pink and green, can be cut from these. The color mixing may show as zoning with the core color of the crystal overlaid by another color and perhaps even additional layers of other colors. Zoned crystals with a core of deep pink covered by a layer of green have been called “watermelon tourmaline.” Because its refractive index of about 1.6 is too low to give it marked brilliance, and its color dispersion is too low to give it fire, the tourmaline relies almost solely on the beauty of its color for its rank in popularity.

Although tourmaline has a low refractive index and low dispersion, it exhibits remarkable dichroism. In other words, it can present different tints to the viewer depending on the direction that the light is traveling through the crystal. When viewed down the long, or vertical, axis of the crystal, the color of tourmaline is much stronger than when viewed from the side. This means that if the crystal is dark the cutter will have to cut the stone with the flat part, or table, parallel to the long axis of the crystal. The color of the gemstone then will be lightened when viewed from its table, since this is the direction of lighter color. Similarly, the table of a lighter colored crystal can be cut perpendicular to the long axis in order to produce a deeper colored gem.

55

Green seems to be the best known commercial color of tourmaline, but this extremely variable gem species exhibits many subtle shades of color, as shown here. At upper left, a 104-carat stone from Mozambique; at upper right, a 173-carat stone from Mozambique; at lower left, a 111-carat stone from Manchuria; and a 35-carat stone from Brazil. (Actual size.)

Some tourmaline crystals contain threadlike tubes or inclusions of microscopic size running parallel to its length. When cut as cabochons, such crystals give a good “cat’s-eye” effect.

Tourmaline has no distinct cleavage and has a hardness somewhat above 7, and these characteristics make the stone sufficiently resistant to normal shock and wear so that it is highly satisfactory for use in jewelry.

Noted deposits of tourmaline are located in the Ural Mountains of Russia, Ceylon, Burma, South-West Africa, Madagascar, Brazil, Maine, and California. Crystals from each of these localities seem to have their own color specialties. The deposits in San Diego County, Calif., are unique in that all colors except brown are found there. In the early 1900’s 56 pink and red tourmaline was shipped from there to China for carving, but this thriving trade stopped with the end of Chinese imperial reign. The tourmaline deposits at Paris, Auburn, and Hebron, Maine, have furnished a number of excellent gems, especially of blue and green colors.

VARIETIES
Achroite: Colorless
Indicolite: Blue
Dravite: Brown
Schorl: Black
Rubellite: Pink

ZIRCON

Zircon, because of its high refractive index and high dispersion, approaches diamond in degree of brilliance and fire. On only casual examination it is quite possible to mistake a well-cut, colorless zircon for a diamond. However, a careful examination of the back facets of such a stone, when viewed through the table, would show strong double refraction, a characteristic of zircon but not of diamond. Zircon’s double refraction makes the back facet edges appear doubled. Since diamond is “singly refracting,” it cannot produce this double appearance of the back facets.

Zircon is brittle and has a hardness of just over 7, while diamond’s hardness, as we have seen, is rated at 10. After being worn in jewelry for a long period of time, zircon will show signs of chipping on the facet edges. Under the same conditions, diamond would remain unchanged. Because of this tendency for facet edges to chip, it is the practice in the gem trade to pack cut zircons separately. If a number of zircons were placed in the same paper packet there would be a risk of “paper wear.”

In the gem trade, the most important zircons are those that are colorless, golden brown, or sky blue. Such stones originally were reddish brown zircon pebbles from Indochina, but they have been converted by being subjected to temperatures 57 approaching 1800° F. for periods of up to two hours. When the original zircons are heated in a closed container, the stones become blue or colorless; when a flow of air is allowed through the container, the stones become golden yellow, red, or colorless. In most of these converted stones the color remains quite stable, but in some it may revert to an unattractive greenish or brownish blue after a period of time.

The beautiful colors of these brilliant zircons are the result of heat treatment given to natural, reddish brown stream pebbles. The three stones at the left (from top) weigh 118, 103, and 98 carats, and the ones on the right weigh 106 and 29 carats. The 106-carat stone came from Thailand, the others from Indochina. (Four-fifths actual size.)

In addition to being reddish brown, natural zircon may vary from almost colorless to yellow, red, orange, and brown or from yellow-green to dark green and, occasionally, blue.

The most important producing areas of gem zircon are in a region of Indochina that comprises parts of Thailand, Viet Nam, and Laos. Additional gem zircon, like so many of the other gem species, is recovered from near Moguk in Upper Burma and from the gem gravels of Ceylon.

There is no synthetic zircon on the market, but a bright blue synthetic spinel is sometimes used to simulate zircon successfully.

58

PERIDOT

The relative rarity of peridot and the ease with which it can be simulated in glass, whose luster it approximates, probably account for the low popular demand for this gemstone. Although peridot has little brilliance and no fire, its unusual color and glassy luster produce a unique effect that serves to make it attractive.

The color of peridot is an unusual bottle green that shades, in some stones, toward yellow-green and, more rarely, toward brown. In 1952 it was discovered that almost all of the brown gems believed to have been peridot in various gem collections were actually of an entirely unrelated species, which since has been named sinhalite. Brown peridot still remains rare and is somewhat of a collector’s item.

To exhibit its unique color to best advantage, peridot usually is cut so as to have a relatively large table, as shown in these examples. The largest gem, weighing 310 carats, is from the Egyptian island of Zebirget in the Red Sea and is the largest cut peridot known. The other two, weighing 287 carats and 109 carats, are from Burma. (Three-fifths actual size.)

The green of peridot, which is quite different from the green of other gemstones, is due to some iron included in its composition. It is suspected that a 59 trace of nickel contributes to the liveliness of the color.

This photo shows the color of peridot projected onto the background. The larger gem is the 310-carat stone shown in the prior illustration. The stone on the right weighs 109 carats and is from Burma; the other peridot weighs 46 carats and is from Egypt. (Almost actual size.)

Peridot has a hardness of only 6½ and a rather strong tendency to cleave, and these characteristics reduce its value for use in jewelry exposed to rough wear. It is better used in pins, earrings, and pendants than in rings.

Peridot is a gem name for the common mineral olivine, a magnesium silicate. Olivine is fund in numerous places, and small gemmy pieces are found in many localities. Many of the largest and best gems of peridot have come from mines on the Egyptian island of Zebirget (Island of St. John) in the Red Sea, but most gem peridot now comes from Burma. Great numbers of small stones have been cut from olivine found in Arizona gravels.

Centuries ago, peridot was known by the name topaz, since the stones came from Topazos, the island now known as Zebirget. The name topaz, as we have seen, is used today for an entirely different mineral species.

60

SPODUMENE

Spodumene, a lithium aluminum silicate, is one of the very few gemstones containing lithium. It has had more importance as a gemstone in the United States than elsewhere, a situation due to early discoveries of unique occurrences of a lavender-pink variety at Branchville, Conn., in 1879 and in San Diego County, Calif, about 20 years later. At the time of the discovery of the California material, the variety was named kunzite in honor of G. F. Kunz, a noted American gemologist of the times.

The 177-carat kunzite (at lower left) is a large flawless stone cut from California material of this variety of spodumene. It was given to the Smithsonian Institution by the American Gem Society. The other stones, all from Brazil, represent the more usual shades of spodumene. They weigh 327 carats (top left), 256 carats (top right), and 69 carats. (About half actual size.)

The finding of a bright green variety, hiddenite, in North Carolina about 1880 greatly stimulated the interest of American gem collectors. Some of the bright green spodumene 61 coming from Brazil in recent years compares very favorably in color with North Carolina hiddenite. Other than in a scattered few of these unusual occurrences of kunzite and hiddenite, spodumene usually is found in yellow and yellow-green shades, with Brazil and Madagascar being the chief sources.

This 880-carat kunzite from Brazil is one of the largest stones of its kind. (About actual size.)

Spodumene has a hardness of about 7, but with a refractive index of about 1.66 and a low dispersion there seems to be relatively little to recommend it as a gemstone. The fact that it exhibits a very strong tendency to cleave in two different directions would seem to rule it out completely as being too difficult to cut. Nevertheless, the production and purchase of cut stones of spodumene persist because of the beauty of the gem.

The kunzite and hiddenite varieties of spodumene show strong pleochroism, or the ability to show three different colors when viewed in the direction of different axes. Some of the large Brazilian kunzite crystals mined in the early 1960’s have 62 an intense rose-violet color when viewed along the long axis of the crystal but have pale blue-violet and pale tan colors when viewed from the other two directions. When heat treated, or exposed to strong light, this Brazilian kunzite loses its tan and bluish colors but retains the intense rose-violet. Because of spodumene’s pleochroism, the direction of cutting in the stones becomes extremely important, as it must be done in a manner that will take advantage of the violet color in kunzite and the green color in hiddenite.

VARIETIES
Kunzite: Lavender violet to rose violet
Hiddenite: Deep green

GARNET

The name garnet is applied to a group of six closely related silicate minerals that are alike in crystal structure but that differ mainly in the substitution of certain metallic elements in their composition. These minerals are:

Pyrope, magnesium aluminum garnet
Almandine, iron aluminum garnet
Spessartine, manganese aluminum garnet
Uvarovite, calcium chromium garnet
Grossular, calcium aluminum garnet
Andradite, calcium iron garnet

Most natural garnets have compositions intermediate between members of the basic group of six. For example, there are garnets having compositions anywhere between pyrope and almandine, depending on the amount of difference in the magnesium or iron content. These same garnets may even have varying amounts of manganese, and thus be partially spessartine.

The six garnets in the basic group are found in considerable quantity in many areas, but seldom are they of sufficiently high quality to be considered gemstone material. Even when stones of gem quality are found, their colors—particularly the reds—tend to be so intense that they seem to be opaque.

63

Garnets occur in several colors, although most people think of them as red. Shown here are a 54-carat spessartine from Brazil (top right), a 6-carat rhodolite from North Carolina (at left), a magnificent 10-carat green demantoid from Russia, a 9-carat grossular from Ceylon (bottom), and a 26-carat spessartine from Virginia. (Seven-eighths actual size.)

Garnet has a hardness (about 7) suitable for gemstone material and a fairly high refractive index (1.74 and above).

Ruby red pyrope is the most popular variety of garnet. It is found in Bohemia, in Czechoslovakia, where it occurs as small, poorly shaped crystals. Red pyrope also is found in Africa, where it is called Cape ruby, and in Arizona, where it is sold as Arizona ruby. Another kind of pyrope called rhodolite is noted for its soft, rosy purple color. Actually, rhodolite is one of the intermixed garnets with a composition somewhere between pyrope and almandine. Most of the fine rhodolite gems have come from North Carolina.

Almandine is popular in its deep red, transparent form, but since the red is so dark and intense that it appears black, the stones usually are cut as cabochons with the back hollowed out. This makes them thinner, and thus lightens their color. Garnets cut in this manner are all known as carbuncles. 64 Brazil, India, Ceylon, Australia, and parts of the United States are important sources of almandine.

Although spessartine has a rich orange color, it is not often used as a gemstone because of the relative rarity of gem-quality cutting material. This mineral gets its name from the town of Spessart, Germany, where it was first found. Excellent spessartine with colors ranging from orange to brown has been found at Amelia Court House, Va., and quality gems have been cut from such material. Ceylon, Burma, Madagascar, and Brazil also have furnished some gem spessartine.

The chromium garnet, uvarovite, generally is too poor in quality for cutting. Uvarovite crystals, which are emerald green in color, occur in only small sizes. They are found mostly in Russia, Finland, and California.

Grossular varies in color. It occurs chiefly in some shade of red, green, yellow, or brown, depending on the impurities present. When pure, grossular is colorless. A kind of grossular called hessonite has an attractive cinnamon color, and it is found mainly in Ceylon. Because of its color it can easily be confused with spessartine, which it closely resembles.

Andradite, a very common garnet, usually is found in shades of red, black, brown, yellow, or green. Some types of gem andradite have special names for different colors: topazolite, yellow; demantoid, green; and melanite, sparkling black. The very valuable demantoid is found in Russia and Italy.

VARIETIES:
Grossular: Colorless, green, amber, brownish yellow, rose
Hessonite: Cinnamon colored
Pyrope: Deep red
Rhodolite: Rose red and purple
Almandine: Deep red
Spessartine: Brownish red to orange
Andradite: Yellow, greenish yellow, emerald green, brownish red, brownish yellow, brown, black
Topazolite: Yellow to greenish
Demantoid: Grass green to emerald green
Melanite: Black
Uvarovite: Green
65

JADE

The name jade is applied to two unrelated minerals—nephrite and jadeite—that have somewhat similar characteristics.

Jadeite, the rarer of the two, is a sodium aluminum silicate that belongs to a group of rock-forming minerals known as pyroxenes. Its color varies from white to emerald green and many other colors. Jadeite is highly prized, and when it occurs as emerald green it is considered one of the most valuable gemstones. This kind of jade is found in many places, but the most important occurrence is in Upper Burma. Nephrite, a more common species, is a calcium magnesium iron silicate belonging to a group of rock-forming minerals known as amphiboles. The color varies from white to a dark spinach green and black. Among the places where nephrite occurs are New Zealand, Turkestan, Siberia, Alaska, China, Silesia, and certain parts of the western United States, notably in Wyoming and California.

This emerald green jadeite carving, dating from the Ch’ien-lung period (1736-1795), stands 6½ inches without the base. It was given to the Smithsonian as part of the Maude Monell Vetlesen collection.

66

Jade is not particularly hard (6½), but it is very tough, and this characteristic makes it an excellent material for carving. Even when subjected to punishing usage, jade resists chipping and wear. It was used for making tools and weapons by primitive peoples who lived in what is now Mexico, Switzerland, France, Greece, Egypt, Asia Minor, and in other places. The jade implements fashioned by these peoples have survived well the ravages of time.

The Chinese and Japanese prize jade highly. In their countries, tradition has assigned to jade medicinal and spiritual values, and has associated with it the cardinal virtues of charity, modesty, courage, justice, and wisdom. As a consequence, these peoples long ago developed the carving of jade as a high art. Among the magnificent Chinese jade carvings in the National Gem Collection are 130 pieces produced mostly during the Ching Dynasty (1644-1912), when the art of jade carving was at its peak. Many of these jades were carved in imitation of the revered bronze ceremonial vessels of ancient times. This collection was presented to the Smithsonian Institution in 1959 by Mr. Edmund C. Monell in behalf of the estate of his mother, Mrs. Maude Monell Vetlesen of New York.

This pale green jade vase of the Ch’ien-lung period is 14½ inches high without the base. It is one of a matched pair presented as part of the Maude Monell Vetlesen collection of carved jade.

67

CHARACTERISTICS OF SOME COMMON GEMS

Approximate average of
(1) hardness
(2) specific gravity (4) Dispersion
(3) refractive index (5) Durability
Species (1) (2) (3) (4) (5) Usual color range
Beryl 2.70 1.58 Low High Green (emerald), blue-green (aquamarine), pink (morganite), colorless (goshenite)
Chrysoberyl 3.71 1.75 Low High Yellow, green, brown
Corundum 9 4.00 1.77 Low High Red (ruby), various (sapphire)
Diamond 10 3.52 2.42 High High Colorless
Garnet group 3.70-4.16 1.74-1.89 Medium
to high
High Yellow, red, green, brown
Jade (nephrite) 2.96 1.62 None High Green, white
Jade (jadeite) 7 3.33 1.66 None High Green, white
Opal 6 2.10 1.45 None Low Red, dark gray, orange, white, with or without varicolored fire
Pearl 2.71 None None Low White
Peridot 3.34 1.68 Low Medium Yellow-green, brownish green
Quartz 7 2.65 1.55 Low High Purple (amethyst), yellow (citrine), colorless (rock crystal)
Spinel 8 3.60 1.72 Low High Shades of red, green, blue, violet
Spodumene 7 3.18 1.66 Low Low Colorless, pink, yellow, green
Topaz 8 3.54 1.63 Low Medium Colorless, sherry, pink, blue
Tourmaline 7 3.06 1.63 Low High Wide range, except bright red
Zircon 7 4.02 1.81 High High Almost colorless, blue, brown, green, yellow
68

GEMSTONES FOR THE COLLECTOR

A number of mineral species have produced cut gemstones that fulfill every necessary requirement of beauty, durability, and rarity, but their popularity and commercial success have been sharply limited because of insufficient supply. In some cases of even adequate supply such gemstones do not compete with other, more plentiful kinds that exhibit the same characteristics. The scarcity of these minerals does not diminish their standing as potential gem material—it merely points up the effect of accidental natural distribution of these species.

A magnificent set of 16 matched sphenes from Switzerland, gift of Nina Lea, almost encircles a 110-carat sinhalite (a rare magnesium borate) and a 22-carat kornerupine, both from Ceylon. The man’s gold ring indicates the sizes of these unusual stones.

Among the rarer minerals that produce good gemstones are cordierite, benitoite, euclase, phenakite, beryllonite, willemite, wernerite, danburite, datolite, axinite, brazilianite, andalusite, sillimanite, kyanite, kornerupine, enstatite, diopside, epidote, sphene, sinhalite, and orthoclase. Willemite, a rare zinc silicate found in only a few localities, is typical of these rarer minerals. The famous zinc mines at Franklin, N. J., produced a few large gemmy crystals of willemite, and some fine gemstones were cut 69 from some of these. Willemite’s borderline hardness of 5 to 5½ and its extreme rarity effectively eliminate it from the gem market, but the collector who is able to obtain a good stone of this material is indeed fortunate.

Exotic gems that represent collectors’ items lie beside a 3¼-inch-long box of Russian lapis lazuli. The stones are (left row, from top) a 28-carat andalusite from Brazil, gift of Fred C. Kennedy, a 10-carat cordierite from Ceylon, a 29-carat apatite from Burma, and (right row) a 42-carat brazilianite from Brazil, a 13-carat euclase from Brazil, a 29-carat wernerite from Brazil, and a 61-carat orthoclase from Madagascar.

Some mineral species, although beautiful when cut, and prized by collectors, are entirely too soft, are too easily cleaved, or have some other physical weakness that renders them useless as commercial gemstones. Sphalerite, apatite, fluorite, calcite, cerussite, zincite, and hematite are included in this group. Sphalerite is typical; it produces brilliant and colorful gemstones that hold their own among other stones of great beauty. Unfortunately, this zinc sulfide, with a hardness of 3½ to 4, is so soft and cleaves so readily that it is very difficult to cut properly, and it cannot be used in jewelry.

70

7
SOME NOTABLE GEMS IN THE COLLECTION

The Smithsonian’s collection of gems continues to grow and improve rapidly, and it changes character constantly as important new gemstones are added and less important ones are retired. Approximately one-third of the gems in the collection in 1965 are itemized in the following list. Included are some of the largest gems of each kind, some of the more interesting stones, and some small gems notable for the places from which they came. Though listed by species and size, some of the larger stones are not included, and neither are most cabochons, rough opal, beads, carvings, and spheres. The descriptions listed include, in order, weight in carats; color; popular name or other description, if any; place of origin; and U. S. National Museum catalog number and name of donor. Gems in the Lea and Roebling collections usually are indicated by the letters “L” and “R.”

DIAMOND
127, colorless (The Portuguese), Brazil (3398)
44.5, blue (The Hope), India (3551, Winston)
18.3, yellow (The Shephard), South Africa (3406)
2.9, pink, Tanzania (3772, De Young)
CORUNDUM: Ruby
50, red-violet (a star), Ceylon (173, L)
34, red (a star), Ceylon (1922, L)
CORUNDUM: Sapphire
330, blue (Star of Asia), Burma (3688)
316, blue (Star of Artaban), Ceylon (2231, Ingram)
93, yellow, Burma (3549)
52, yellow, Burma (3419)
40, blue (a star), Ceylon (174, L)
35, yellow-brown, Ceylon (2147, L)
26, gray (a star), Ceylon (3902)
26, colorless, Ceylon (2016, L)
25, blue (4-starred), Ceylon (3923, Krandall)
22, yellow-orange, Ceylon (3875, L)
16, colorless, Ceylon (3581, L)
BERYL: Emerald
157, green, India (3601)
117, green, Colombia (4158, Erickson)
27, green, Colombia (3922)
17, green (3920, MacVeagh)
7, green, North Carolina (3075, L)
4.6, green (a cat’s-eye), Colombia (2256, R)
71
BERYL: Aquamarine
1000, green, Brazil (3889, Evyan)
264, blue, Russia (3606, Neal)
187, blue, Brazil (3683)
126, blue, Brazil (4159, Erickson)
71, pale blue, Ceylon (3172, L)
66, pale blue-green, Maine (2148, L)
15, blue-green, Idaho (2249, Montgomery)
14, blue, Connecticut (779)
10, blue, North Carolina (776, L)
BERYL: Morganite
236, pink, Brazil (3780, Ix)
122, pale pink, California (1988, R)
80, pale pink, Brazil (4190, R)
64, pink, Brazil (3721, R)
56, pink, Madagascar (2223, R)
51, pink, Brazil (3623)
BERYL: Beryl
2054, green-gold, Brazil (3725, R)
1363, green, Brazil (3916)
914, green, Brazil (3919)
578, green, Brazil (3227, R)
133, yellow, Madagascar (1977, L)
114, yellow-green, Brazil (2245, R)
98, pale green, Brazil (3949, Cutter)
62, colorless (goshenite), Brazil (3366)
46, gold, Madagascar (2121, L)
44, gold (a cat’s-eye), Madagascar (3248)
40, pale green, Connecticut (1037, L)
40, yellow-green, North Carolina (2260, Roebling)
20, brown (a star), Brazil (3355, L)
TOPAZ
7725, yellow, Brazil (3976)
3273, blue, Brazil (3633)
1469, yellow-green, Brazil (3891)
685, pale blue, Brazil (3003)
398, pale blue, Russia (3400, R)
235, colorless, Colorado (3309, L)
187, colorless, Brazil (3612, Cutter)
171, champagne, Madagascar (3890)
155, blue, Russia (262, L)
146, pale blue, Texas (3625, L)
129, sherry, Brazil (3550)
94, orange, Brazil (3401, R)
54, blue, Brazil (2219, L)
51, colorless, Japan (268)
44, blue, Maine (2047, L)
41, orange, Brazil (2174, L)
34, gold, Brazil (2046, L)
34, deep pink, Brazil (2232, L)
24, pale blue, New Hampshire (3307, L)
18, rose pink, Brazil (3402, R)
17, blue, California (3679, Ware)
15, sherry, Colorado (318, L)
TOURMALINE: Rubellite
111, pink, Manchuria (3173, R)
62, pink, Brazil (3411, R)
51, magenta, Brazil (4160, Erickson)
35, pink, Brazil (2254, R)
34, pink, Brazil (3148, R)
30, pink, Madagascar (3409, R)
18, pink (a cat’s-eye), California (3786, Lea)
18, pink, Maine (1109, L)
15, pink, California (3412, R)
TOURMALINE: Tourmaline
173, champagne, Mozambique (3590, R)
125, champagne, Mozambique (3576, R)
123, green, Mozambique (3575, R)
110, green, Brazil (4197)
104, rose, Mozambique (3256, L)
76, dark green (a cat’s-eye), Brazil (3599, L)
60, blue-green, Brazil (3410, R)
58, green, Maine, (1108, L)
53, green (a cat’s-eye), Brazil (3119, L)
48, red and green, California (3363)
42, yellow, Brazil (2251, R)
42, brown, Ceylon (3245, L)
40, red-brown, Brazil (2097, R)
40, green, Madagascar (4081, R)
34, red-brown, Brazil (2253, L)
31, rose-brown, Brazil (3416, R)
26, blue (indicolite), Brazil (3298, R)
20, blue-green, Madagascar (2032, L)
18, yellow-green, Elba (3368, R)
18, green, South Africa (2095, L)
15, yellow, Brazil (3415, R)
72
SPINEL
46, pale purple, Ceylon (2180, L)
36, indigo, Burma (3685)
34, red, Burma (3354, L)
30, pink-violet, Ceylon (2165, L)
30, violet, Burma (3344, L)
26, blue-gray, Burma (3593, L)
22, blue-violet, Ceylon (2247, R)
22, rose-brown, Ceylon (2166, L)
ZIRCON
118, brown, Ceylon (2236, R)
106, brown, Thailand (3568)
103, blue, Indochina (2222, R)
98, yellow-brown, Ceylon (2237, R)
76, red-brown, Burma (3068, L)
64, brown, Indochina (3397, R)
48, colorless, Ceylon (3554, L)
29, blue, Indochina (3394, R)
23, green, Ceylon (2233, R)
21, tan, Australia (1887, L)
SPODUMENE: Kunzite
830, deep violet, Brazil (3940)
336, deep violet, Brazil (3942, Nelson)
297, deep violet, Brazil (3941, Nelson)
177, violet, California (3797, American Gem Society)
25, pale violet, Madagascar (1979, L)
SPODUMENE: Spodumene
327, yellow, Brazil (3396, R)
256, yellow, Brazil (3429, R)
71, yellow, Madagascar (3698, L)
69, yellow-green, Brazil (3885, R)
PERIDOT
310, olive green, Egypt (3398, R)
287, olive green, Burma (3705)
46, olive green, Egypt (1978, L)
23, olive green, Arizona (3620, L)
GARNET: Almandine
175, red (a star), Idaho (3670)
67, red-brown (a star), Idaho (3560, L)
41, red-brown, Madagascar (2137, L)
26, red-brown, Idaho (3423, L)
GARNET: Demantoid
10.4 green, Russia (2175)
GARNET: Grossular
64, orange-brown, Ceylon (493, L)
GARNET: Rhodolite
25, rose-violet, Tanzania (4080, L)
6.4, violet, North Carolina (460, L)
GARNET: Spessartine
109, red, Brazil (4203)
40, orange, Virginia (147, L)
26, orange, Virginia (3597, L)
QUARTZ: Amethyst
1362, purple, Brazil (3879)
183, purple, Brazil (1272, L)
62, purple, Brazil (3162, Capps)
61, purple, Brazil (3914, Cutter)
56, purple, Brazil (3165, Capps)
54, purple, Pennsylvania (1299, L)
45, pale purple, North Carolina (1298, Lea)
36, purple, Pennsylvania (1283, L)
33, pale purple, North Carolina (1288, Lea)
27, purple, Arizona (3291, R)
23, purple, Maine (1271, L)
19, purple, Virginia (1301, L)
QUARTZ: Citrine
1180, golden brown, Brazil (1870, L)
783, light golden brown, Brazil (3640)
278, golden brown, Brazil (3732, Cutter)
265, light golden brown, Brazil (2041, Roebling)
218, golden brown, Brazil (4199, Cutter)
169, golden brown, Australia (1373, L)
143, yellow, Colorado (456, L)
120, golden brown, Brazil (2116, L)
115, golden brown, Brazil (3932)
91, yellow, Brazil (3615, Cutter)
55, light golden brown, Maine (2178, L)
48, yellow, Brazil (3915, Cutter)
43, yellow, Brazil (3719, Cutter)
QUARTZ: Rock Crystal
7000, colorless, Brazil (3957, R)
625, colorless (a star), New Hampshire (3125, Burroughs)
350, colorless, North Carolina (1398, L)
73
QUARTZ: Rose Quartz
375, pink, Brazil (3592, L)
84, pink, Brazil (3421)
49, pink, Brazil (3420, R)
QUARTZ: Smoky Quartz
4500, pale smoky, California (3738, L)
1695 smoky, Brazil (3697, L)
785, pale smoky, Colorado (1335, L)
284, pale smoky, North Carolina (1340, Lea)
163, pale smoky, Colorado (1336, L)
145, smoky, Scotland (3079, R)
CHRYSOBERYL: Alexandrite
66, green to red, Ceylon (2042, L)
17, green to red, Ceylon (3407, R)
11, green to red, Ceylon (2200, Walcott)
CHRYSOBERYL: Chrysoberyl
172, gray-green (a cat’s-eye), Ceylon (3924)
121, green (The Maharani, a cat’s-eye), Ceylon (3642)
46, green-yellow, Brazil (1923, L)
32, brown, Ceylon (2151, L)
OPAL
155, white with fire, Australia (3285, Roebling)
83, white with fire, Australia (3300, R)
58, black with fire, Australia (3960, R)
56, colorless with fire, Mexico (2240, R)
54, black with fire, Australia (3962)
44, black with fire, Australia (3284, R)
39, pale yellow-orange with fire, Brazil (3637)
38, black with fire, Australia (3961)
30, black with fire, Australia (3405, R)
24, black with fire, Australia (1897, L)
22, orange with fire, Mexico (2106, L)
22, orange with fire, Mexico (2028, L)
21, yellow with fire, Mexico (2111, L)
15, orange with fire, Mexico (2096, L)
11, orange with fire, Mexico (3886, Lewis)
OTHER, LESS-KNOWN SPECIES
Albite: 43, white (a cat’s-eye), Burma (3311, L)
Amblygonite: 63, yellow, Brazil (4079, Lea)
20, yellow, Burma (3562, R)
Andalusite: 28, brown, Brazil (3619, Kennedy)
14, green-brown, Brazil (3364, L)
Apatite: 29, yellow-green, Burma (3247, Lea)
29, yellow, Mexico (3594, L)
15, colorless, Burma (3720, R)
9, yellow-green, Canada (3122, R)
8.8, pale blue, Ceylon (3639)
5.4, green, Madagascar (3676, Durand)
Axinite: 9.4, brown, Mexico (3787, R)
9, brown, Mexico (3773, L)
Barite: 61, colorless, England (3349)
Benitoite: 7.6, blue, California (3387, R)
Beryllonite: 5, colorless, Maine (423)
Brazilianite: 42, yellow, Brazil (3083, L)
Calcite: 46, gold-brown, Mexico (3305)
Cassiterite: 10, yellow-brown, Bolivia (3250)
Cobaltocalcite: 3.3, 3.9, pink, Spain (3724, L)
Cordierite: 16, blue, Ceylon (3882)
10, indigo, Ceylon (3580, L)
9.4, blue, Ceylon (3881)
Danburite: 18, yellow, Burma (3345, L)
7.9, colorless, Japan (3801, L)
Datolite: 5.4, colorless, Massachusetts (3876, Boucot)
5, colorless, Massachusetts (3283, Sinkankas)
Diopside: 133, black (a star), India (3977)
24, black (a cat’s-eye), India (3956, Lea)
14, black (a cat’s-eye), India (3880)
11, green, Madagascar (2264, R)
6.8, yellow, Italy (3634)
4.6, yellow, Burma (3346, L)
2.2, pale green, New York (572, L)
1.6, green (chrome diopside), Finland (3693)
74
Enstatite: 11, brown, Ceylon (3638)
8.1, brown, Ceylon (2294, R)
Epidote: 3.9, brown, Austria (579)
Euclase: 13, green, Brazil (3214, R)
9, yellow, Brazil (3215, R)
8.9, yellow, Brazil (2181, L)
3.7, blue-green, Brazil (3388, R)
Fluorite: 354, pale yellow, Illinois (3877)
125, green, New Hampshire (3294)
117, green, Africa (2153)
63, yellow, Illinois (3595, L)
33, colorless, Illinois (3626)
8.5, pink, Switzerland (3730, R)
Friedelite: 12, red-brown, New Jersey (3013, D’Ascenzo)
Gadolinite: 8.6, black, Texas (587, L)
Idocrase: 3.5, brown, Italy (4179, R)
Kyanite: 11, blue, Brazil (3557, L)
9.1, green, Brazil (3558, L)
3.7, blue, North Carolina (364, Bowman)
Kornerupine: 22, brown, Ceylon (3706, Lea)
11, brown, Madagascar (3567, L)
7.6, green, Madagascar (3782)
Labradorite: 11, pale yellow, Utah (3121)
Microlite: 3.7, brown, Virginia (3588, Lea)
Oligoclase: 6, colorless, North Carolina (404, L)
Orthoclase: 250, yellow, Madagascar (3878)
105, pale green (a cat’s-eye), Ceylon (3883)
61, yellow, Madagascar (1838, L)
26, gray (a cat’s-eye), Ceylon (3579, Lea)
23, white (a star), Ceylon (3578, L)
Petalite: 11, colorless, South-West Africa (3096)
Phenakite: 22, colorless, Russia (3739)
10, colorless, Brazil (2263, R)
Phosphophyllite: 5, green, Bolivia (3950, Roebling)
Pollucite: 9, colorless, Maine (2056, L)
7, colorless, Connecticut (3802, R)
Proustite: 9.9, red, Germany (4082, L)
Rhodizite: 0.5, colorless, Madagascar (3219, Canfield)
Rhodochrosite: 9.5, pink, South Africa (4189, L)
Samarskite: 6.6, black, North Carolina (588, L)
Scheelite: 37, colorless, California (3701, L)
12, gold, Mexico (3803, R)
Scorodite: 2.6, purple, South-West Africa (3793)
Sillimanite: 5.9, black (a cat’s-eye), South Carolina (3600, L)
Sinhalite: 110, brown, Ceylon (3587)
44, brown, Ceylon (3548, L)
Sphalerite: 73, yellow-brown, Utah (3556)
69, yellow-brown, Utah (3362)
60, yellow-green, New Jersey (3874, Roebling)
48, yellow, Mexico (2167, L)
46, yellow, Spain (3707, L)
Sphene: 0.8-9.3, sixteen stones, gold, Switzerland (2043, Nina Lea)
8.5, brown, New York (550)
5.6, yellow-brown, Mexico (3290)
5.2, yellow-brown, Mexico (3292)
Staurolite: 3, dark red-brown, Brazil (3795)
Tektite: 23, brown, Czechoslovakia (681, L)
Wernerite: 288, colorless, Burma (3783)
30, colorless (a cat’s-eye), Burma (3301, L)
29, pale yellow, Brazil (2098, L)
17, pink (a cat’s-eye), Ceylon (3238, Roebling)
12, pink, Burma (3674, L)
Willemite: 12, orange-yellow, New Jersey (1898, L)
11, orange-yellow, New Jersey (4187, Lea)
Zincite: 20, red, New Jersey (3386, R)
Seal of the Smithsonian Institution

Transcriber’s Notes






End of the Project Gutenberg EBook of Gems in the Smithsonian Institution, by 
Paul E. Desautels

*** END OF THIS PROJECT GUTENBERG EBOOK GEMS IN THE SMITHSONIAN INSTITUTION ***

***** This file should be named 62879-h.htm or 62879-h.zip *****
This and all associated files of various formats will be found in:
        http://www.gutenberg.org/6/2/8/7/62879/

Produced by Stephen Hutcheson and the Online Distributed
Proofreading Team at https://www.pgdp.net

Updated editions will replace the previous one--the old editions will
be renamed.

Creating the works from print editions not protected by U.S. copyright
law means that no one owns a United States copyright in these works,
so the Foundation (and you!) can copy and distribute it in the United
States without permission and without paying copyright
royalties. Special rules, set forth in the General Terms of Use part
of this license, apply to copying and distributing Project
Gutenberg-tm electronic works to protect the PROJECT GUTENBERG-tm
concept and trademark. Project Gutenberg is a registered trademark,
and may not be used if you charge for the eBooks, unless you receive
specific permission. If you do not charge anything for copies of this
eBook, complying with the rules is very easy. You may use this eBook
for nearly any purpose such as creation of derivative works, reports,
performances and research. They may be modified and printed and given
away--you may do practically ANYTHING in the United States with eBooks
not protected by U.S. copyright law. Redistribution is subject to the
trademark license, especially commercial redistribution.

START: FULL LICENSE

THE FULL PROJECT GUTENBERG LICENSE
PLEASE READ THIS BEFORE YOU DISTRIBUTE OR USE THIS WORK

To protect the Project Gutenberg-tm mission of promoting the free
distribution of electronic works, by using or distributing this work
(or any other work associated in any way with the phrase "Project
Gutenberg"), you agree to comply with all the terms of the Full
Project Gutenberg-tm License available with this file or online at
www.gutenberg.org/license.

Section 1. General Terms of Use and Redistributing Project
Gutenberg-tm electronic works

1.A. By reading or using any part of this Project Gutenberg-tm
electronic work, you indicate that you have read, understand, agree to
and accept all the terms of this license and intellectual property
(trademark/copyright) agreement. If you do not agree to abide by all
the terms of this agreement, you must cease using and return or
destroy all copies of Project Gutenberg-tm electronic works in your
possession. If you paid a fee for obtaining a copy of or access to a
Project Gutenberg-tm electronic work and you do not agree to be bound
by the terms of this agreement, you may obtain a refund from the
person or entity to whom you paid the fee as set forth in paragraph
1.E.8.

1.B. "Project Gutenberg" is a registered trademark. It may only be
used on or associated in any way with an electronic work by people who
agree to be bound by the terms of this agreement. There are a few
things that you can do with most Project Gutenberg-tm electronic works
even without complying with the full terms of this agreement. See
paragraph 1.C below. There are a lot of things you can do with Project
Gutenberg-tm electronic works if you follow the terms of this
agreement and help preserve free future access to Project Gutenberg-tm
electronic works. See paragraph 1.E below.

1.C. The Project Gutenberg Literary Archive Foundation ("the
Foundation" or PGLAF), owns a compilation copyright in the collection
of Project Gutenberg-tm electronic works. Nearly all the individual
works in the collection are in the public domain in the United
States. If an individual work is unprotected by copyright law in the
United States and you are located in the United States, we do not
claim a right to prevent you from copying, distributing, performing,
displaying or creating derivative works based on the work as long as
all references to Project Gutenberg are removed. Of course, we hope
that you will support the Project Gutenberg-tm mission of promoting
free access to electronic works by freely sharing Project Gutenberg-tm
works in compliance with the terms of this agreement for keeping the
Project Gutenberg-tm name associated with the work. You can easily
comply with the terms of this agreement by keeping this work in the
same format with its attached full Project Gutenberg-tm License when
you share it without charge with others.

1.D. The copyright laws of the place where you are located also govern
what you can do with this work. Copyright laws in most countries are
in a constant state of change. If you are outside the United States,
check the laws of your country in addition to the terms of this
agreement before downloading, copying, displaying, performing,
distributing or creating derivative works based on this work or any
other Project Gutenberg-tm work. The Foundation makes no
representations concerning the copyright status of any work in any
country outside the United States.

1.E. Unless you have removed all references to Project Gutenberg:

1.E.1. The following sentence, with active links to, or other
immediate access to, the full Project Gutenberg-tm License must appear
prominently whenever any copy of a Project Gutenberg-tm work (any work
on which the phrase "Project Gutenberg" appears, or with which the
phrase "Project Gutenberg" is associated) is accessed, displayed,
performed, viewed, copied or distributed:

  This eBook is for the use of anyone anywhere in the United States and
  most other parts of the world at no cost and with almost no
  restrictions whatsoever. You may copy it, give it away or re-use it
  under the terms of the Project Gutenberg License included with this
  eBook or online at www.gutenberg.org. If you are not located in the
  United States, you'll have to check the laws of the country where you
  are located before using this ebook.

1.E.2. If an individual Project Gutenberg-tm electronic work is
derived from texts not protected by U.S. copyright law (does not
contain a notice indicating that it is posted with permission of the
copyright holder), the work can be copied and distributed to anyone in
the United States without paying any fees or charges. If you are
redistributing or providing access to a work with the phrase "Project
Gutenberg" associated with or appearing on the work, you must comply
either with the requirements of paragraphs 1.E.1 through 1.E.7 or
obtain permission for the use of the work and the Project Gutenberg-tm
trademark as set forth in paragraphs 1.E.8 or 1.E.9.

1.E.3. If an individual Project Gutenberg-tm electronic work is posted
with the permission of the copyright holder, your use and distribution
must comply with both paragraphs 1.E.1 through 1.E.7 and any
additional terms imposed by the copyright holder. Additional terms
will be linked to the Project Gutenberg-tm License for all works
posted with the permission of the copyright holder found at the
beginning of this work.

1.E.4. Do not unlink or detach or remove the full Project Gutenberg-tm
License terms from this work, or any files containing a part of this
work or any other work associated with Project Gutenberg-tm.

1.E.5. Do not copy, display, perform, distribute or redistribute this
electronic work, or any part of this electronic work, without
prominently displaying the sentence set forth in paragraph 1.E.1 with
active links or immediate access to the full terms of the Project
Gutenberg-tm License.

1.E.6. You may convert to and distribute this work in any binary,
compressed, marked up, nonproprietary or proprietary form, including
any word processing or hypertext form. However, if you provide access
to or distribute copies of a Project Gutenberg-tm work in a format
other than "Plain Vanilla ASCII" or other format used in the official
version posted on the official Project Gutenberg-tm web site
(www.gutenberg.org), you must, at no additional cost, fee or expense
to the user, provide a copy, a means of exporting a copy, or a means
of obtaining a copy upon request, of the work in its original "Plain
Vanilla ASCII" or other form. Any alternate format must include the
full Project Gutenberg-tm License as specified in paragraph 1.E.1.

1.E.7. Do not charge a fee for access to, viewing, displaying,
performing, copying or distributing any Project Gutenberg-tm works
unless you comply with paragraph 1.E.8 or 1.E.9.

1.E.8. You may charge a reasonable fee for copies of or providing
access to or distributing Project Gutenberg-tm electronic works
provided that

* You pay a royalty fee of 20% of the gross profits you derive from
  the use of Project Gutenberg-tm works calculated using the method
  you already use to calculate your applicable taxes. The fee is owed
  to the owner of the Project Gutenberg-tm trademark, but he has
  agreed to donate royalties under this paragraph to the Project
  Gutenberg Literary Archive Foundation. Royalty payments must be paid
  within 60 days following each date on which you prepare (or are
  legally required to prepare) your periodic tax returns. Royalty
  payments should be clearly marked as such and sent to the Project
  Gutenberg Literary Archive Foundation at the address specified in
  Section 4, "Information about donations to the Project Gutenberg
  Literary Archive Foundation."

* You provide a full refund of any money paid by a user who notifies
  you in writing (or by e-mail) within 30 days of receipt that s/he
  does not agree to the terms of the full Project Gutenberg-tm
  License. You must require such a user to return or destroy all
  copies of the works possessed in a physical medium and discontinue
  all use of and all access to other copies of Project Gutenberg-tm
  works.

* You provide, in accordance with paragraph 1.F.3, a full refund of
  any money paid for a work or a replacement copy, if a defect in the
  electronic work is discovered and reported to you within 90 days of
  receipt of the work.

* You comply with all other terms of this agreement for free
  distribution of Project Gutenberg-tm works.

1.E.9. If you wish to charge a fee or distribute a Project
Gutenberg-tm electronic work or group of works on different terms than
are set forth in this agreement, you must obtain permission in writing
from both the Project Gutenberg Literary Archive Foundation and The
Project Gutenberg Trademark LLC, the owner of the Project Gutenberg-tm
trademark. Contact the Foundation as set forth in Section 3 below.

1.F.

1.F.1. Project Gutenberg volunteers and employees expend considerable
effort to identify, do copyright research on, transcribe and proofread
works not protected by U.S. copyright law in creating the Project
Gutenberg-tm collection. Despite these efforts, Project Gutenberg-tm
electronic works, and the medium on which they may be stored, may
contain "Defects," such as, but not limited to, incomplete, inaccurate
or corrupt data, transcription errors, a copyright or other
intellectual property infringement, a defective or damaged disk or
other medium, a computer virus, or computer codes that damage or
cannot be read by your equipment.

1.F.2. LIMITED WARRANTY, DISCLAIMER OF DAMAGES - Except for the "Right
of Replacement or Refund" described in paragraph 1.F.3, the Project
Gutenberg Literary Archive Foundation, the owner of the Project
Gutenberg-tm trademark, and any other party distributing a Project
Gutenberg-tm electronic work under this agreement, disclaim all
liability to you for damages, costs and expenses, including legal
fees. YOU AGREE THAT YOU HAVE NO REMEDIES FOR NEGLIGENCE, STRICT
LIABILITY, BREACH OF WARRANTY OR BREACH OF CONTRACT EXCEPT THOSE
PROVIDED IN PARAGRAPH 1.F.3. YOU AGREE THAT THE FOUNDATION, THE
TRADEMARK OWNER, AND ANY DISTRIBUTOR UNDER THIS AGREEMENT WILL NOT BE
LIABLE TO YOU FOR ACTUAL, DIRECT, INDIRECT, CONSEQUENTIAL, PUNITIVE OR
INCIDENTAL DAMAGES EVEN IF YOU GIVE NOTICE OF THE POSSIBILITY OF SUCH
DAMAGE.

1.F.3. LIMITED RIGHT OF REPLACEMENT OR REFUND - If you discover a
defect in this electronic work within 90 days of receiving it, you can
receive a refund of the money (if any) you paid for it by sending a
written explanation to the person you received the work from. If you
received the work on a physical medium, you must return the medium
with your written explanation. The person or entity that provided you
with the defective work may elect to provide a replacement copy in
lieu of a refund. If you received the work electronically, the person
or entity providing it to you may choose to give you a second
opportunity to receive the work electronically in lieu of a refund. If
the second copy is also defective, you may demand a refund in writing
without further opportunities to fix the problem.

1.F.4. Except for the limited right of replacement or refund set forth
in paragraph 1.F.3, this work is provided to you 'AS-IS', WITH NO
OTHER WARRANTIES OF ANY KIND, EXPRESS OR IMPLIED, INCLUDING BUT NOT
LIMITED TO WARRANTIES OF MERCHANTABILITY OR FITNESS FOR ANY PURPOSE.

1.F.5. Some states do not allow disclaimers of certain implied
warranties or the exclusion or limitation of certain types of
damages. If any disclaimer or limitation set forth in this agreement
violates the law of the state applicable to this agreement, the
agreement shall be interpreted to make the maximum disclaimer or
limitation permitted by the applicable state law. The invalidity or
unenforceability of any provision of this agreement shall not void the
remaining provisions.

1.F.6. INDEMNITY - You agree to indemnify and hold the Foundation, the
trademark owner, any agent or employee of the Foundation, anyone
providing copies of Project Gutenberg-tm electronic works in
accordance with this agreement, and any volunteers associated with the
production, promotion and distribution of Project Gutenberg-tm
electronic works, harmless from all liability, costs and expenses,
including legal fees, that arise directly or indirectly from any of
the following which you do or cause to occur: (a) distribution of this
or any Project Gutenberg-tm work, (b) alteration, modification, or
additions or deletions to any Project Gutenberg-tm work, and (c) any
Defect you cause.

Section 2. Information about the Mission of Project Gutenberg-tm

Project Gutenberg-tm is synonymous with the free distribution of
electronic works in formats readable by the widest variety of
computers including obsolete, old, middle-aged and new computers. It
exists because of the efforts of hundreds of volunteers and donations
from people in all walks of life.

Volunteers and financial support to provide volunteers with the
assistance they need are critical to reaching Project Gutenberg-tm's
goals and ensuring that the Project Gutenberg-tm collection will
remain freely available for generations to come. In 2001, the Project
Gutenberg Literary Archive Foundation was created to provide a secure
and permanent future for Project Gutenberg-tm and future
generations. To learn more about the Project Gutenberg Literary
Archive Foundation and how your efforts and donations can help, see
Sections 3 and 4 and the Foundation information page at
www.gutenberg.org



Section 3. Information about the Project Gutenberg Literary Archive Foundation

The Project Gutenberg Literary Archive Foundation is a non profit
501(c)(3) educational corporation organized under the laws of the
state of Mississippi and granted tax exempt status by the Internal
Revenue Service. The Foundation's EIN or federal tax identification
number is 64-6221541. Contributions to the Project Gutenberg Literary
Archive Foundation are tax deductible to the full extent permitted by
U.S. federal laws and your state's laws.

The Foundation's principal office is in Fairbanks, Alaska, with the
mailing address: PO Box 750175, Fairbanks, AK 99775, but its
volunteers and employees are scattered throughout numerous
locations. Its business office is located at 809 North 1500 West, Salt
Lake City, UT 84116, (801) 596-1887. Email contact links and up to
date contact information can be found at the Foundation's web site and
official page at www.gutenberg.org/contact

For additional contact information:

    Dr. Gregory B. Newby
    Chief Executive and Director
    gbnewby@pglaf.org

Section 4. Information about Donations to the Project Gutenberg
Literary Archive Foundation

Project Gutenberg-tm depends upon and cannot survive without wide
spread public support and donations to carry out its mission of
increasing the number of public domain and licensed works that can be
freely distributed in machine readable form accessible by the widest
array of equipment including outdated equipment. Many small donations
($1 to $5,000) are particularly important to maintaining tax exempt
status with the IRS.

The Foundation is committed to complying with the laws regulating
charities and charitable donations in all 50 states of the United
States. Compliance requirements are not uniform and it takes a
considerable effort, much paperwork and many fees to meet and keep up
with these requirements. We do not solicit donations in locations
where we have not received written confirmation of compliance. To SEND
DONATIONS or determine the status of compliance for any particular
state visit www.gutenberg.org/donate

While we cannot and do not solicit contributions from states where we
have not met the solicitation requirements, we know of no prohibition
against accepting unsolicited donations from donors in such states who
approach us with offers to donate.

International donations are gratefully accepted, but we cannot make
any statements concerning tax treatment of donations received from
outside the United States. U.S. laws alone swamp our small staff.

Please check the Project Gutenberg Web pages for current donation
methods and addresses. Donations are accepted in a number of other
ways including checks, online payments and credit card donations. To
donate, please visit: www.gutenberg.org/donate

Section 5. General Information About Project Gutenberg-tm electronic works.

Professor Michael S. Hart was the originator of the Project
Gutenberg-tm concept of a library of electronic works that could be
freely shared with anyone. For forty years, he produced and
distributed Project Gutenberg-tm eBooks with only a loose network of
volunteer support.

Project Gutenberg-tm eBooks are often created from several printed
editions, all of which are confirmed as not protected by copyright in
the U.S. unless a copyright notice is included. Thus, we do not
necessarily keep eBooks in compliance with any particular paper
edition.

Most people start at our Web site which has the main PG search
facility: www.gutenberg.org

This Web site includes information about Project Gutenberg-tm,
including how to make donations to the Project Gutenberg Literary
Archive Foundation, how to help produce our new eBooks, and how to
subscribe to our email newsletter to hear about new eBooks.