The Project Gutenberg EBook of Dictionnaire raisonné de l'architecture française du XIe au XVIe siècle (4/9), by Eugène-Emmanuel Viollet-Le-Duc This eBook is for the use of anyone anywhere at no cost and with almost no restrictions whatsoever. You may copy it, give it away or re-use it under the terms of the Project Gutenberg License included with this eBook or online at www.gutenberg.org Title: Dictionnaire raisonné de l'architecture française du XIe au XVIe siècle (4/9) Author: Eugène-Emmanuel Viollet-Le-Duc Release Date: December 28, 2009 [EBook #30784] Language: French Character set encoding: ISO-8859-1 *** START OF THIS PROJECT GUTENBERG EBOOK DICTIONNAIRE *** Produced by Michel Laglasse, Rénald Lévesque and the Online Distributed Proofreaders Europe at http://dp.rastko.net.


PARIS
B. BANCE, ÉDITEUR
RUE BONAPARTE, 13.
L'auteur et l'éditeur se réservent le droit de faire traduire et
reproduire cet ouvrage
dans les pays où la propriété des ouvrages
français est garantie par des traités.

(Suite).
CONSTRUCTION, s. f.--APERÇU GÉNÉRAL.--La construction est une science; c'est aussi un art, c'est-à-dire qu'il faut au constructeur le savoir, l'expérience, et un sentiment naturel. On naît constructeur; la science que l'on acquiert ne peut que développer les germes déposés dans le cerveau des hommes destinés à donner un emploi utile, une forme durable à la matière brute. Il en est des peuples comme des individus: les uns sont constructeurs dès leur berceau, d'autres ne le deviennent jamais; les progrès de la civilisation n'ajoutent que peu de chose à cette faculté native. L'architecture et la construction doivent être enseignées ou pratiquées simultanément: la construction est le moyen; l'architecture, le résultat; et cependant, il est des oeuvres d'architecture qui ne peuvent être considérées comme des constructions, et il est certaines constructions qu'on ne saurait mettre au nombre des oeuvres d'architecture. Quelques animaux construisent, ceux-ci des cellules, ceux-là des nids, des mottes, des galeries, des sortes de huttes, des réseaux de fils: ce sont bien là des constructions, ce n'est pas de l'architecture.
Construire, pour l'architecte, c'est employer les matériaux en raison de leurs qualités et de leur nature propre, avec l'idée préconçue de satisfaire à un besoin par les moyens les plus simples et les plus solides; de donner à la chose construite l'apparence de la durée, des proportions convenables soumises à certaines règles imposées par les sens, le raisonnement et l'instinct humains. Les méthodes du constructeur doivent donc varier en raison de la nature des matériaux, des moyens dont il dispose, des besoins auxquels il doit satisfaire et de la civilisation au milieu de laquelle il naît.
Les Grecs et les Romains ont été constructeurs; cependant ces deux peuples sont partis de principes opposés, n'ont pas employé les mêmes matériaux, les ont mis en oeuvre par des moyens différents, et ont satisfait à des besoins qui n'étaient point les mêmes. Aussi l'apparence du monument grec et celle du monument romain diffèrent essentiellement. Le Grec n'emploie que la plate-bande dans ses constructions; le Romain emploie l'arc, et, par suite, la voûte: cela seul indique assez combien ces principes opposés doivent produire des constructions fort dissemblables, quant aux moyens employés et quant à leur apparence. Nous n'avons pas à faire connaître ici les origines de ces deux principes et leurs conséquences; nous prenons l'architecture romaine au point où elle est arrivée dans les derniers temps de l'Empire, car c'est la source unique à laquelle le moyen âge va d'abord puiser.
Le principe de la construction romaine est celui-ci: établir des points d'appui présentant, par leur assiette et leur parfaite cohésion, des masses assez solides et homogènes pour résister au poids et à la poussée des voûtes; répartir ces pesanteurs et poussées sur des piles fixes dont la résistance inerte est suffisante. Ainsi la construction romaine n'est qu'une concrétion habilement calculée dont toutes les parties dépourvues d'élasticité se maintiennent par les lois de la pesanteur et leur parfaite adhérence. Chez les Grecs, la stabilité est obtenue seulement par l'observation judicieuse des lois de la pesanteur; ils ne cherchent pas l'adhérence des matériaux; en un mot, ils ne connaissent ni n'emploient les mortiers. Les pesanteurs n'agissant, dans leurs monuments, que verticalement, ils n'ont donc besoin que de résistances verticales; les voûtes leur étant inconnues, ils n'ont pas à maintenir des pressions obliques, ce que l'on désigne par des poussées. Comment les Romains procédaient-ils pour obtenir des résistances passives et une adhérence parfaite entre toutes les parties inertes de leurs constructions et les parties actives, c'est-à-dire entre les points d'appui et les voûtes? Ils composaient des maçonneries homogènes, au moyen de petits matériaux, de cailloux ou de pierrailles réunis par un mortier excellent, et enfermaient ces blocages dans un encaissement de brique, de moellon ou de pierre de taille. Quant aux voûtes, ils les formaient sur cintres au moyen d'arcs de brique ou de pierre en tête et de béton battu sur couchis de bois. Cette méthode présentait de nombreux avantages: elle était expéditive; elle permettait de construire, dans tous les pays, des édifices sur un même plan; d'employer les armées ou les réquisitions pour les élever; elle était durable, économique; ne demandait qu'une bonne direction, en n'exigeant qu'un nombre restreint d'ouvriers habiles et intelligents, sous lesquels pouvaient travailler un nombre considérable de simples manoeuvres; elle évitait les transports lents et onéreux de gros matériaux, les engins pour les élever; elle était enfin la conséquence de l'état social et politique de la société romaine. Les Romains élevèrent cependant des édifices à l'instar des Grecs, comme leurs temples et leurs basiliques; mais ces monuments sont une importation, et doivent être placés en dehors de la véritable construction romaine.
Les barbares qui envahirent les provinces romaines n'apportaient pas avec eux des arts et des méthodes de bâtir, ou du moins les éléments qu'ils introduisaient au milieu de la civilisation romaine expirante ne pouvaient avoir qu'une bien faible influence. Ils trouvèrent des monuments bâtis et ils s'en servirent. Longtemps après l'envahissement des barbares sur le sol gallo-romain, il existait encore un grand nombre d'édifices antiques; ce qui indique que les hordes germaines ne les détruisirent pas tous. Ils tentèrent même souvent de les réparer et bientôt de les imiter.
Mais, après de si longs désastres, les traditions laissées par les constructeurs romains devaient être en grande partie perdues; et sous les Mérovingiens, les édifices que l'on éleva dans les Gaules ne furent que les reproductions barbares des constructions antiques épargnées par la guerre ou qui avaient pu résister à un long abandon. Le peu de monuments qui nous restent, antérieurs à la période carlovingienne, ne nous présentent que des bâtisses dans lesquelles on n'aperçoit plus qu'un pâle reflet de l'art des Romains, de grossières imitations des édifices dont les restes nombreux couvraient encore le sol. Ce n'est que sous le règne de Charlemagne que l'on voit les constructeurs faire quelques tentatives pour sortir de l'ignorance dans laquelle les siècles précédents étaient plongés. Les relations suivies de ce prince avec l'Orient, ses rapports avec les Lombards, chez lesquels les dernières traditions de l'art antique semblent s'être réfugiées, lui fournirent les moyens d'attirer près de lui et dans les pays soumis à sa domination des constructeurs qu'il sut utiliser avec un zèle et une persévérance remarquables. Son but était certainement de faire renaître les arts romains; mais les sources auxquelles il lui fallut aller puiser pour arriver à ce résultat s'étaient profondément modifiées dans leurs principes. Charlemagne ne pouvait envoyer des architectes étudier les monuments de la vieille Rome, puisqu'il n'en avait pas; il ne pouvait demander des artistes, des géomètres, des ouvriers habiles qu'à l'Orient, à l'Espagne ou à la Lombardie, contrées qui seules en possédaient. Ceux-ci apportaient avec eux des méthodes qui déjà s'étaient éloignées de celles de l'antiquité. La renaissance carlovingienne produisit donc des résultats fort différents de ce que son auteur en attendait probablement. Après tout, le but était atteint, puisque les nouveaux éléments importés en Occident produisirent bientôt des efforts considérables, et qu'à partir de cette époque les arts progressèrent rapidement. C'est l'histoire de cette progression, au point de vue de la construction seulement, que nous allons essayer de faire, en renvoyant nos lecteurs au mot ARCHITECTURE pour tout ce qui tient aux développements de cet art, du Xe au XVIe siècle.
Pendant la durée de l'Empire romain, soit à Rome, soit à Byzance, il est facile de reconnaître que les voûtes avaient été la préoccupation dominante des constructeurs. De la voûte en berceau ils étaient promptement arrivés à la voûte d'arête, et de la coupole portée sur un mur circulaire ou tambour, ils étaient arrivés, dans la construction de l'église de Sainte-Sophie, à la voûte hémisphérique portée sur pendentifs: pas immense, qui établit une ligne de démarcation tranchée entre les constructions romaines de l'antiquité et celles du moyen âge. Ni Rome, ni l'Italie, ni les Gaules ne laissent voir un seul édifice romain dans lequel la voûte hémisphérique soit portée sur pendentifs. L'église de Sainte-Sophie est la première qui nous fournisse un exemple de ce genre de construction, et, comme chacun sait, c'est la plus vaste coupole qui existe. Comment les architectes romains établis à Byzance étaient-ils arrivés à concevoir et exécuter une construction de ce genre? C'est ce que nous ne chercherons pas à démêler. Nous prenons le fait là où, pour la première fois, il se manifeste avec une grandeur et une franchise incontestées. Couvrir une enceinte circulaire par une voûte hémisphérique, c'était une idée fort naturelle et qui fut adoptée dès une haute antiquité; faire pénétrer des cylindres, des voûtes en berceau dans le tambour circulaire, c'était une conséquence immédiate de ce premier pas. Mais élever une coupole hémisphérique sur un plan carré, c'est-à-dire sur quatre piles isolées et posées aux angles d'un carré, ce n'était plus une déduction du premier principe, c'était une innovation, et une innovation des plus hardies.
Cependant les constructeurs que Charlemagne fit venir de Lombardie et d'Orient en Occident n'apportèrent pas avec eux ce mode de construction; ils se contentèrent d'élever, comme à Aix-la-Chapelle, des voûtes à base octogonale ou circulaire sur des tambours montant de fond. Ce ne fut que plus tard que les dérivés de la construction byzantine eurent une influence directe en Occident. Quant aux méthodes de bâtir des constructeurs carlovingiens, elles se rapprochaient des méthodes romaines, c'est-à-dire qu'elles consistaient en des massifs de blocages enfermés dans des parements de brique, de moellon ou de pierre, ou encore de moellons alternant avec des assises de brique, le tout maintenu par des joints épais de mortier, ainsi que le fait voir la fig. 1.

Nous indiquons en A les assises de briques triangulaires présentant leur grand côté sur le parement, et en B les assises de moellons à peu près réguliers et présentant leurs faces, le plus souvent carrées, sur les parements. En C est figurée une brique dont l'épaisseur varie de 0,04 c. à 0,05 c., et en D un moellon de parement. Ce n'était qu'une construction romaine grossièrement exécutée. Mais les Romains n'employaient guère cette méthode que lorsqu'ils voulaient revêtir les parements de placages de marbre ou de stuc; s'ils faisaient des parements de pierre de taille, ils posaient celles-ci à joints vifs, sans mortier, sur leurs lits de carrière, et leur laissaient une large assiette, pour que ces parements devinssent réellement un renfort capable de résister à une pression que les massifs seuls n'eussent pu porter.
Dès les premiers temps de l'époque carlovingienne, les constructeurs voulurent aussi élever des constructions parementées en pierre de taille, à l'instar de certaines constructions romaines; mais ils ne disposaient pas des moyens puissants employés par les Romains: ils ne pouvaient ni transporter, ni surtout élever à une certaine hauteur des blocs de pierre d'un fort volume. Ils se contentèrent donc de l'apparence, c'est-à-dire qu'ils dressèrent des parements formés de placages de pierre posés en délit le plus souvent et d'une faible épaisseur, évitant avec soin les évidements et remplissant les vides laissés entre ces parements par des blocages noyés dans le mortier. Ils allèrent quelquefois jusqu'à vouloir imiter la construction romaine d'appareil, en posant ces placages de pierre à joints vifs sans mortier. Il n'est pas besoin de dire combien cette construction est vicieuse, d'autant que leurs mortiers étaient médiocres, leur chaux mal cuite ou mal éteinte, leur sable terreux et les blocages extrêmement irréguliers. Quelquefois aussi ils prirent un moyen terme, c'est-à-dire qu'ils élevèrent des parements en petites pierres de taille réunies par des lits épais de mortier.
Ces essais, ces tâtonnements ne constituaient pas un art. Si, dans les détails de la construction, les architectes faisaient preuve d'un très-médiocre savoir, s'ils ne pouvaient qu'imiter fort mal les procédés des Romains, à plus forte raison, dans l'ensemble de leurs bâtisses, se trouvaient-ils sans cesse acculés à des difficultés qu'ils étaient hors d'état de résoudre: manquant de savoir, ne possédant que des traditions presque effacées, n'ayant ni ouvriers habiles, ni engins puissants, marchant à tâtons, ils durent faire et ils firent en effet des efforts inouïs pour élever des édifices d'une petite dimension, pour les rendre solides et surtout pour les voûter. C'est là où l'on reconnaît toujours, dans les monuments carlovingiens, l'insuffisance des constructeurs, où l'on peut constater leur embarras, leurs incertitudes, et souvent même ce découragement, produit de l'impuissance. De cette ignorance même des procédés antiques, et surtout des efforts constants des constructeurs du IXe au XIe siècle, il sortit un art de bâtir nouveau: résultat d'expériences malheureuses d'abord, mais qui, répétées avec persévérance et une suite non interrompue de perfectionnement, tracèrent une voie non encore frayée. Il ne fallut pas moins de trois siècles pour instruire ces barbares; ils purent cependant, après des efforts si lents, se flatter d'avoir ouvert aux constructeurs futurs une ère nouvelle qui n'avait pris que peu de chose aux arts de l'antiquité. Les nécessités impérieuses avec lesquelles ces premiers constructeurs se trouvèrent aux prises les obligèrent à chercher des ressources dans leurs propres observations plutôt que dans l'étude des monuments de l'antiquité qu'ils ne connaissaient que très-imparfaitement, et qui, dans la plupart des provinces des Gaules, n'existaient plus qu'à l'état de ruines. Prêts, d'ailleurs, à s'emparer des produits étrangers, ils les soumettaient à leurs procédés imparfaits, et, les transformant ainsi, ils les faisaient concourir vers un art unique dans lequel le raisonnement entrait plus que la tradition. Cette école était dure: ne s'appuyant qu'avec incertitude sur le passé, se trouvant en face des besoins d'une civilisation où tout était à créer, ne possédant que les éléments des sciences exactes, elle n'avait d'autre guide que la méthode expérimentale; mais cette méthode, si elle n'est pas la plus prompte, a du moins cet avantage d'élever des praticiens observateurs, soigneux de réunir tous les perfectionnements qui les peuvent aider.
Déjà, dans les édifices du XIe siècle, on voit la construction faire des progrès sensibles qui ne sont que la conséquence de fautes évitées avec plus ou moins d'adresse; car l'erreur et ses effets instruisent plus les hommes que les oeuvres parfaites. Ne disposant plus des moyens actifs employés par les Romains dans leurs constructions; manquant de bras, d'argent, de transports, de relations, de routes, d'outils, d'engins; confinés dans des provinces séparées par le régime féodal, les constructeurs ne pouvaient compter que sur de bien faibles ressources, et cependant, à cette époque déjà (au XIe siècle), on leur demandait d'élever de vastes monastères, des palais, des églises, des remparts. Il fallait que leur industrie suppléât à tout ce que le génie romain avait su organiser, à tout ce que notre état de civilisation moderne nous fournit à profusion. Il fallait obtenir de grands résultats à peu de frais (car alors l'Occident était pauvre), satisfaire à des besoins nombreux et pressants sur un sol ravagé par la barbarie. Il fallait que le constructeur recherchât les matériaux, s'occupât des moyens de les transporter, combattît l'ignorance d'ouvriers maladroits, fît lui-même ses observations sur les qualités de la chaux, du sable, de la pierre, fît approvisionner les bois; il devait être non-seulement l'architecte, mais le carrier, le traceur, l'appareilleur, le conducteur, le charpentier, le chaufournier, le maçon, et ne pouvait s'aider que de son intelligence et de son raisonnement d'observateur. Il nous est facile, aujourd'hui qu'un notaire ou un négociant se fait bâtir une maison sans le secours d'un architecte, de considérer comme grossiers ces premiers essais; mais la somme de génie qu'il fallait alors à un constructeur pour élever une salle, une église, était certainement supérieure à ce que nous demandons à un architecte de notre temps, qui peut faire bâtir sans connaître les premiers éléments de son art, ainsi qu'il arrive trop souvent. Dans ces temps d'ignorance et de barbarie, les plus intelligents, ceux qui s'étaient élevés par leur propre génie au-dessus de l'ouvrier vulgaire, étaient seuls capables de diriger une construction; et la direction des bâtisses, forcément limitée entre un nombre restreint d'hommes supérieurs, devait, par cela même, produire des oeuvres originales, dans l'exécution desquelles le raisonnement entre pour une grande part, où le calcul est apparent, et dont la forme est revêtue de cette distinction qui est le caractère particulier des constructions raisonnées et se soumettant aux besoins et aux usages d'un peuple. Il faut bien reconnaître, dussions-nous être désignés nous-mêmes comme des barbares, que la beauté d'une construction ne réside pas dans les perfectionnements apportés par une civilisation et une industrie très-développées, mais dans le judicieux emploi des matériaux et des moyens mis à la disposition du constructeur. Avec nos matériaux si nombreux, les métaux que nous livrent nos usines, avec les ouvriers habiles et innombrables de nos cités, il nous arrive d'élever une construction vicieuse, absurde, ridicule, sans raison ni économie; tandis qu'avec du moellon et du bois, on peut faire une bonne, belle et sage construction. Jamais, que nous sachions, la variété ou la perfection de la matière employée n'a été la preuve du mérite de celui qui l'emploie; et d'excellents matériaux sont détestables, s'ils sont mis en oeuvre hors de la place ou de la fonction qui leur conviennent, par un homme dépourvu de savoir et de sens. Ce dont il faut s'enorgueillir, c'est du bon et juste emploi des matériaux, et non de la quantité ou de la qualité de ces matériaux. Ceci dit sous forme de parenthèses et pour engager nos lecteurs à ne pas dédaigner les constructeurs qui n'avaient à leur disposition que de la pierre mal extraite, du mauvais moellon tiré sur le sol, de la chaux mal cuite, des outils imparfaits et de faibles engins: car, avec des éléments aussi grossiers, ces constructeurs peuvent nous enseigner d'excellents principes, applicables dans tous les temps. Et la preuve qu'ils le peuvent, c'est qu'ils ont formé une école qui, au point de vue de la science pratique ou théorique, du judicieux emploi des matériaux, est arrivée à un degré de perfection non surpassé dans les temps modernes. Permis à ceux qui enseignent l'architecture sans avoir pratiqué cet art de ne juger les productions architectoniques des civilisations antiques et modernes que sur une apparence, une forme superficielle qui les séduit; mais pour nous qui sommes appelés à construire, il nous faut chercher notre enseignement à travers les tentatives et les progrès de ces architectes ingénieux qui, sortant du néant, avaient tout à faire pour résoudre les problèmes posés par la société de leur temps. Considérer les constructeurs du moyen âge comme des barbares, parce qu'ils durent renoncer à construire en employant les méthodes des Romains, c'est ne pas vouloir tenir compte de l'état de la société nouvelle, c'est méconnaître les modifications profondes introduites dans les moeurs par le christianisme, appuyé sur le génie des peuples occidentaux; c'est effacer plusieurs siècles d'un travail lent, mais persistant, qui se produisait au sein de la société: travail qui a développé les éléments les plus actifs et les plus vivaces de la civilisation moderne. Personne n'admire plus que nous l'antiquité, personne plus que nous n'est disposé à reconnaître la supériorité des belles époques de l'art des Grecs et des Romains sur les arts modernes; mais nous sommes nés au XIXe siècle, et nous ne pouvons faire qu'entre l'antiquité et nous il n'y ait un travail considérable: des idées, des besoins, des moyens étrangers à ceux de l'antiquité. Il nous faut bien tenir compte des nouveaux éléments, des tendances d'une société nouvelle. Regrettons l'organisation sociale de l'antiquité, étudions-la avec scrupule, recourons à elle; mais n'oublions pas que nous ne vivons ni sous Périclès ni sous Auguste; que nous n'avons pas d'esclaves; que les trois quarts de l'Europe ne sont plus plongés dans l'ignorance et la barbarie au grand avantage du premier quart; que la société ne se divise plus en deux portions inégales, la plus forte absolument soumise à l'autre; que les besoins se sont étendus à l'infini; que les rouages se sont compliqués; que l'industrie analyse sans cesse tous les moyens mis à la disposition de l'homme, les transforme; que les traditions et les formules sont remplacées par le raisonnement, et qu'enfin l'art, pour subsister, doit connaître le milieu dans lequel il se développe. Or la construction des édifices, au moyen âge, est entrée dans cette voie toute nouvelle. Nous en gémirons, si l'on veut; mais le fait n'en existera pas moins, et nous ne pouvons faire qu'hier ne soit la veille d'aujourd'hui. Ce qu'il y a de mieux alors, il nous semble, c'est de rechercher dans le travail de la veille ce qu'il y a d'utile pour nous aujourd'hui, et de reconnaître si ce travail n'a pas préparé le labeur du jour. Cela est plus raisonnable que de le mépriser.
On a prétendu souvent que le moyen âge est une époque exceptionnelle, ne tenant ni à ce qui la précède ni à ce qui la suit, étrangère au génie de notre pays et à la civilisation moderne. Cela est peut-être soutenable au point de vue de la politique, quoiqu'un pareil fait soit fort étrange dans l'histoire du monde, où tout s'enchaîne; mais l'esprit de parti s'en mêlant, il n'est pas de paradoxe qui ne trouve des approbateurs. En architecture, et surtout en construction, l'esprit de parti ne saurait avoir de prise, et nous ne voyons pas comment les principes de la liberté civile, comment les lois modernes sous le régime desquelles nous avons le bonheur d'être nés se trouveraient attaqués, quand on aurait démontré que les constructeurs du XIIe siècle savaient bien bâtir, que ceux du XIIIe siècle étaient fort ingénieux et libres dans l'emploi des moyens, qu'ils cherchaient à remplir les programmes qu'on leur imposait par les procédés les plus simples et les moins dispendieux, qu'ils raisonnaient juste et connaissaient les lois de la statique et de l'équilibre des forces. Une coutume peut être odieuse et oppressive; les abbés et les seigneurs féodaux ont été, si l'on veut, des dissipateurs, ont exercé un despotisme insupportable, et les monastères ou les châteaux qu'ils habitaient peuvent être cependant construits avec sagesse, économie et une grande liberté dans l'emploi des moyens. Une construction n'est pas fanatique, oppressive, tyrannique; ces épithètes n'ont pas encore été appliquées à l'assemblage des pierres, du bois ou du fer. Une construction est bonne ou mauvaise, judicieuse ou dépourvue de raison. Si nous n'avons rien à prendre dans le code féodal, ce n'est pas à dire que nous n'ayons rien à prendre dans les constructions de ce temps. Un parlement condamne de malheureux juifs ou sorciers à être brûlés vifs; mais la salle dans laquelle siége ce parlement peut être une construction fort bonne et mieux bâtie que celle où nos magistrats appliquent des lois sages, avec un esprit éclairé. Un homme de lettres, un historien, dit, en parlant d'un château féodal: «Ce repaire du brigandage, cette demeure des petits despotes tyrannisant leurs vassaux, en guerre avec leurs voisins...» Aussitôt chacun de crier haro sur le châtelain et sur le château. En quoi les édifices sont-ils les complices de ceux qui les ont fait bâtir, surtout si ces édifices ont été élevés par ceux-là même qui étaient victimes des abus de pouvoir de leurs habitants? Les Grecs n'ont-ils pas montré, en maintes circonstances, le fanatisme le plus odieux? Cela nous empêche-t-il d'admirer le Parthénon ou le temple de Thésée?
Il est bien temps, nous le croyons, de ne plus nous laisser éblouir, nous architectes, par les discours de ceux qui, étrangers à la pratique de notre art, jugent des oeuvres qu'ils ne peuvent comprendre, dont ils ne connaissent ni la structure, ni le sens vrai et utile, et qui, mus par leurs passions ou leurs goûts personnels, par des études exclusives et un esprit de parti étroit, jettent l'anathème sur des artistes dont les efforts, la science et l'expérience pratique, nous sont, aujourd'hui encore, d'un grand secours. Peu nous importe que les seigneurs féodaux fussent des tyrans, que le clergé du moyen âge ait été corrompu, ambitieux et fanatique, si les hommes qui ont bâti leurs demeures étaient ingénieux, s'ils ont aimé leur art et l'ont pratiqué avec savoir et soin. Peu nous importe qu'un cachot ait renfermé des vivants pendant des années, si les pierres de ce cachot sont assez habilement appareillées pour offrir un obstacle infranchissable; peu nous importe qu'une grille ait fermé une chambre de torture, si la grille est bien combinée et le fer bien forgé. La confusion entre les institutions et les produits des arts ne doit point exister pour nous, qui cherchons notre bien partout où nous pensons le trouver. Ne soyons pas dupes à nos dépens de doctrines exclusives; blâmons les moeurs des temps passés, si elles nous semblent mauvaises; mais n'en proscrivons pas les arts avant de savoir si nous n'avons aucun avantage à tirer de leur étude. Laissons aux amateurs éclairés le soin de discuter sur la prééminence de l'architecture grecque sur l'architecture romaine, de celle-ci sur l'architecture du moyen âge; laissons-les traiter ces questions insolubles; écoutons-les, si nous n'avons rien de mieux à faire, discourir sur notre art sans savoir comment se trace un panneau, se taille et se pose une pierre: il n'est point permis de professer la médecine et même la pharmacie sans être médecin ou apothicaire; mais l'architecture! c'est une autre affaire.
Pour nous rendre compte des premiers efforts des constructeurs du moyen âge, il faut d'abord connaître les éléments dont ils disposaient, et les moyens pratiques en usage alors. Les Romains, maîtres du monde, ayant su établir un gouvernement régulier, uniforme, au milieu de tant de peuples alliés ou conquis, avaient entre les mains des ressources qui manquaient absolument aux provinces des Gaules divisées en petits États, en fractions innombrables, par suite de l'établissement du régime féodal. Les Romains, lorsqu'ils voulaient couvrir une contrée de monuments d'utilité publique, pouvaient jeter sur ce point, à un moment donné, non-seulement une armée de soldats habitués aux travaux, mais requérir les habitants (car le système des réquisitions était pratiqué sur une vaste échelle par les Romains), et obtenir, par le concours de cette multitude de bras, des résultats prodigieux. Ils avaient adopté, pour construire promptement et bien, des méthodes qui s'accordaient parfaitement avec cet état social. Ces méthodes, les constructeurs du moyen âge, eussent-ils voulu les employer, où auraient-ils trouvé ces armées de travailleurs? Comment faire arriver, dans une contrée dénuée de pierre par exemple, les matériaux nécessaires à la construction, alors que les anciennes voies romaines étaient défoncées, que l'argent manquait pour acheter ces matériaux, pour obtenir des bêtes de somme, alors que ces provinces étaient presque toujours en guerre les unes avec les autres, que chaque abbaye, chaque seigneur se regardait comme un souverain absolu d'autant plus jaloux de son pouvoir que les contrées sur lesquelles il s'étendait étaient exiguës? Comment organiser des réquisitions régulières d'hommes, là où plusieurs pouvoirs se disputaient la prédominance, où les bras étaient à peine en nombre suffisant pour cultiver le sol, où la guerre était l'état normal? Comment faire ces énormes amas d'approvisionnements nécessaires à la construction romaine la moins étendue? Comment nourrir ces ouvriers sur un même point? Les ordres religieux, les premiers, purent seuls entreprendre des constructions importantes: 1º parce qu'ils réunissaient sur un seul point un nombre de travailleurs assez considérable unis par une même pensée, soumis à une discipline, exonérés du service militaire, possesseurs de territoires sur lesquels ils vivaient; 2º parce qu'ils amassèrent des biens qui s'accrurent promptement sous une administration régulière, qu'ils nouèrent des relations suivies avec les établissements voisins, qu'ils défrichèrent, assainirent les terres incultes, tracèrent des routes, se firent donner ou acquirent les plus riches carrières, les meilleurs bois, élevèrent des usines, offrirent aux paysans des garanties relativement sûres, et peuplèrent ainsi rapidement leurs terres au détriment de celles des seigneurs laïques; 3º parce qu'ils purent, grâce à leurs priviléges et à la stabilité comparative de leurs institutions, former, dans le sein de leurs monastères, des écoles d'artisans, soumis à un apprentissage régulier, vêtus, nourris, entretenus, travaillant sous une même direction, conservant les traditions, enregistrant les perfectionnements; 4º parce qu'eux seuls alors étendirent au loin leur influence en fondant des établissements relevant de l'abbaye mère, qu'ils durent ainsi profiter de tous les efforts partiels qui se faisaient dans des contrées fort différentes par le climat, les moeurs et les habitudes. C'est à l'activité des ordres religieux que l'art de la construction dut de sortir, au XIe siècle, de la barbarie. L'ordre de Cluny, comme le plus considérable (voy. ARCHITECTURE MONASTIQUE), le plus puissant et le plus éclairé, fut le premier qui eut une école de constructeurs dont les principes nouveaux devaient produire, au XIIe siècle, des monuments affranchis des dernières traditions romaines. Quels sont ces principes? comment se développèrent-ils? C'est ce que nous devons examiner.
PRINCIPES.--Pour que des principes nouveaux se développent, en toute chose, il faut qu'un état et des besoins nouveaux se manifestent. Quand l'ordre de saint Benoît se réforma, au XIe siècle, les tendances des réformateurs ne visaient à rien moins qu'à changer toute une société qui, à peine née, tombait déjà en décomposition. Ces réformateurs, en gens habiles, commencèrent donc par abandonner les traditions vermoulues de la société antique: ils partirent de rien, ne voulurent plus des habitations à la fois somptueuses et barbares qui jusqu'alors avaient servi de refuge aux moines corrompus des siècles précédents. Ils se bâtirent eux-mêmes des cabanes de bois, vécurent au milieu des champs, prenant la vie comme le pourraient faire des hommes abandonnés à leur seule industrie dans un désert. Ces premiers pas eurent une influence persistante, lorsque même la richesse croissante des monastères, leur importance au milieu de la société les porta bientôt à changer leurs cahutes contre des demeures durables et bâties avec luxe. Satisfaire rigoureusement au besoin est toujours la première loi observée, non-seulement dans l'ensemble des bâtiments, mais dans les détails de la construction; ne jamais sacrifier la solidité à une vaine apparence de richesse est la seconde. Cependant la pierre et le bois sont toujours de la pierre et du bois, et si l'on peut employer ces matières dans une construction en plus ou moins grande quantité, leur fonction est la même chez tous les peuples et dans tous les temps. Quelque riches et puissants que fussent les moines, ils ne pouvaient espérer construire comme l'avaient fait les Romains. Ils s'efforcèrent donc d'élever des constructions solides et durables (car ils comptaient bien bâtir pour l'avenir) avec économie. Employer la méthode romaine la plus ordinaire, c'est-à-dire en composant leurs constructions de massifs de blocages enfermés entre des parements de brique ou de moellon, c'était mettre à l'oeuvre plus de bras qu'ils n'en avaient à leur disposition. Construire au moyen de blocs énormes de pierre de taille, soigneusement taillés et posés, cela exigeait des transports impossibles, faute de routes solides, un nombre considérable d'ouvriers habiles, de bêtes de somme, des engins dispendieux ou d'un établissement difficile. Ils prirent donc un moyen terme. Ils élevèrent les points d'appui principaux en employant pour les parements de la pierre de taille, comme un revêtement, et garnirent les intérieurs de blocages. Pour les murs en remplissage, ils adoptèrent un petit appareil de moellon smillé pour les parements ou de carreaux de pierre, enfermant de même un blocage de cailloux et de mortier.

Notre fig. 2 donne une idée de ce genre de construction. Afin de relier les diverses parties des bâtisses, de chaîner les murs dans leur longueur, ils noyèrent dans les massifs, à différentes hauteurs, sous les appuis des fenêtres, au-dessous des corniches, des pièces de bois longitudinales, ainsi que nous l'avons figuré en A (voy. CHAÎNAGE). Dans ces constructions, la pierre est économisée autant que faire se peut; aucun morceau ne présente d'évidements: tous sont posés en besace; ce n'est qu'un revêtement exécuté d'ailleurs avec le plus grand soin; non-seulement les parements sont layés, mais aussi les lits et les joints, et ces pierres sont posées à cru sans mortier, comme l'appareil romain.
Ce genre de bâtisse est apparent dans les grandes constructions monastiques de Cluny, de Vézelay, de la Charité-sur-Loire (XIe et XIIe siècles). Les matériaux employés par les moines sont ceux qu'ils pouvaient se procurer dans le voisinage, dans des carrières dont ils étaient propriétaires. Et il faut reconnaître qu'ils les employèrent en raison de leurs qualités et de leurs défauts. Si ces matériaux présentaient des vices, si la pierre était gélive, ne pouvant s'en procurer d'autres, qu'au moyen de frais considérables, ils avaient le soin de la placer dans les conditions les moins désavantageuses, et, afin de préserver ces matériaux des atteintes de l'humidité et des effets de la gelée; ils cherchaient à les soustraire aux agents atmosphériques en les couvrant par des combles saillants, en les éloignant du sol, à l'extérieur, par des assises de pierres qu'ils allaient acheter dans des carrières plus éloignées.
Il y a toujours, dans les oeuvres des hommes qui ne comptent que sur leurs propres ressources et leurs propres forces pour agir, une certaine somme d'intelligence et d'énergie d'une grande valeur aux yeux de ceux qui savent voir, ces oeuvres fussent-elles imparfaites et grossières d'ailleurs, qu'on ne retrouve pas dans les oeuvres produites par des hommes très-civilisés, mais auxquels l'industrie fournit de nombreux éléments, et qui n'ont aucun effort à faire pour satisfaire à tous leurs besoins. Ces chercheurs primitifs deviennent souvent alors des maîtres et leurs efforts un enseignement précieux, car il faut évidemment plus d'intelligence pour faire quelque chose lorsque toutes les ressources manquent que lorsqu'elles sont à la portée des esprits les plus médiocres.
Les constructions romaines, par suite de la stabilité absolue de leurs points d'appui et la concrétion parfaite de toutes les parties supérieures (résultat obtenu, comme nous l'avons déjà dit, au moyen de ressources immenses), présentaient des masses immobiles, passives, comme le pourraient être des monuments taillés dans un seul bloc de tuf. Les constructeurs romans, ne pouvant disposer de moyens aussi puissants, reconnurent bientôt que leurs bâtisses n'offraient pas un ensemble concret, lié, une agglomération parfaitement stable; que les piliers, formés de placages de pierre enfermant un blocage composé souvent de médiocre mortier, que les murs, déliaisonnés dans toute leur hauteur, subissaient des effets, des tassements inégaux qui causaient des déchirures dans les constructions et, par suite, des accidents graves. Il fallut donc chercher les moyens propres à rendre ces effets nuls. Les constructeurs romans, dès le XIe siècle, voulurent, par des motifs développés ailleurs (voy. ARCHITECTURE), voûter la plupart de leurs grands édifices; ils avaient hérité des voûtes romaines, mais ils étaient hors d'état de les maintenir par les moyens puissants que les Romains avaient pu adopter. Il fallut donc encore que leur intelligence suppléât à ce défaut de puissance. La voûte romaine ne se peut maintenir qu'à la condition d'avoir des points d'appui absolument stables, car cette voûte, soit en berceau, soit d'arête, soit en demi-sphère, forme une croûte homogène sans élasticité, qui se brise en morceaux, s'il survient quelques gerçures dans sa concavité. Voulant faire des voûtes à l'instar des Romains, et ne pouvant leur donner des points d'appui absolument stables, il fallait que les constructeurs romans trouvassent une méthode nouvelle pour les maintenir, en rapport avec l'instabilité des points d'appui destinés à les porter et les contre-butter. La tâche n'était pas aisée à remplir: aussi les expériences, les tâtonnements, les essais furent-ils nombreux; mais cependant, dès l'origine de ces essais, on voit naître un système de construction neuf, et ce système est basé sur le principe d'élasticité, remplaçant le principe de stabilité absolue adopté par les Romains. La voûte romaine, sauf de rares exceptions, est faite en blocages; si elle est renforcée par des arcs en brique, ces arcs sont noyés dans l'épaisseur même du blocage et font corps avec lui. Les constructeurs romans, au lieu de maçonner la voûte en blocage, la construisirent en moellons bruts noyés dans le mortier, mais posés comme des claveaux, ou en moellons taillés et formant une maçonnerie de petit appareil; déjà ces voûtes, si un mouvement venait à se déclarer dans les points d'appui, présentaient une certaine élasticité, par suite de la réunion des claveaux, ne se brisaient pas comme une croûte homogène, et suivaient le mouvement des piles. Mais cette première modification ne rassurait pas entièrement les constructeurs romans; ils établirent sous ces voûtes, de distance en distance, au droit des points d'appui les plus résistants, des arcs doubleaux en pierres appareillées, cintrés sous l'extrados des voûtes. Ces arcs doubleaux, sortes de cintres permanents élastiques, comme tout arc composé d'une certaine quantité de claveaux, suivaient les mouvements des piles, se prêtaient à leur tassement, à leur écartement, et maintenaient ainsi, comme l'aurait fait un cintre en bois, les concavités en maçonneries bâties au-dessus d'eux.
Les constructeurs romans avaient pris aux Romains la voûte d'arête sur plan carré et engendrée par la pénétration de deux demi-cylindres de diamètres égaux. Mais lorsqu'ils voulurent élever des voûtes sur des piles posées aux angles de parallélogrammes, la voûte d'arête romaine ne pouvait être appliquée; ils adoptèrent, dans ce cas, le berceau ou demi-cylindre continu sans pénétration, et, au droit des piles, ils renforcèrent ces berceaux par des arcs doubleaux en pierres appareillées sur lesquels ils comptaient pour éviter les fâcheux effets d'une rupture longitudinale dans ces berceaux, par suite d'un mouvement des piles. Encore une fois, et nous insistons sur ce point, c'était un cintrage permanent. Cependant les obstacles, les difficultés semblaient naître à mesure que les constructeurs avaient cru trouver la solution du problème. Les effets des poussées des voûtes si parfaitement connus des Romains étaient à peu près ignorés des constructeurs romans. Le premier, parmi eux, qui eut l'idée de bander un berceau plein cintre sur deux murs parallèles, crut certainement avoir évité à tout jamais les inconvénients attachés aux charpentes apparentes, et combiné une construction à la fois solide, durable et d'un aspect monumental. Son illusion ne dut pas être de longue durée, car, les cintres et couchis enlevés, les murs se déversèrent en dehors, et la voûte tomba entre eux. Il fallut donc trouver des moyens propres à prévenir de pareils sinistres. On renforça d'abord les murs par des contre-forts extérieurs, par des piles saillantes à l'intérieur; puis, au droit de ces contre-forts et de ces piles, on banda des arcs doubleaux sous les berceaux. Noyant des pièces de bois longitudinales dans l'épaisseur des murs d'une pile à l'autre, à la naissance des berceaux, on crut ainsi arrêter leur poussée entre ces piles. Ce n'était là toutefois qu'un palliatif; si quelques édifices ainsi voûtés résistèrent à la poussée des berceaux, un grand nombre s'écroulèrent quelque temps après leur construction.

Mais il est nécessaire que nos lecteurs prennent une idée exacte de ce genre de construction. Nous en donnons (3) l'ensemble et les détails. En A sont les piles intérieures portant les arcs doubleaux E, en B les contre-forts destinés à maintenir leur poussée, en C les longrines en bois retenant le berceau D à sa naissance. Afin de reporter la poussée des arcs doubleaux aussi bas que possible, les constructeurs donnaient une forte saillie aux chapiteaux G. Si des voûtes ainsi conçues étaient bandées sur des piles assez solidement construites en matériaux bien liés ou très-lourds, si les murs étaient épais et pleins du bas en haut, si les contre-forts avaient une saillie suffisante; et si les arcs doubleaux et par conséquent les piles n'étaient pas trop espacés, ces berceaux, renforcés de sous-arcs, pouvaient être maintenus. Mais si, comme il arrivait dans les nefs bordées de collatéraux, les murs portaient sur des archivoltes et des piles isolées; si ces piles isolées, que l'on essayait toujours de faire aussi peu épaisses que possible pour ne pas gêner la circulation et la vue, ne présentaient pas une assiette suffisante pour recevoir des contre-forts extérieurs saillants au-dessus des voûtes des bas-côtés; alors le berceau supérieur, malgré ses arcs doubleaux, ou avec ses arcs doubleaux, déversait peu à peu les murs et les piles en dehors, et toute la construction s'écroulait. Vers la fin du XIe siècle déjà, beaucoup d'églises et de salles ainsi voûtées, bâties depuis un demi-siècle, tombaient en ruine, et il fallait les reconstruire. Ces accidents étaient un enseignement pour les constructeurs: ils leur donnaient l'occasion d'observer certains phénomènes de statique dont ils n'avaient pas la moindre idée; ils leur faisaient reconnaître que les longrines de bois noyées dans les maçonneries, dépourvues d'air, étaient promptement pourries, et que le vide qu'elles laissaient ne faisait que hâter la destruction des édifices; que les murs ayant commencé à se déverser, la poussée des voûtes croissait en raison directe de leur écartement; qu'enfin, si les voûtes en berceau étaient posées sur des nefs avec collatéraux, les désordres occasionnés par la poussée des voûtes hautes étaient tels qu'il n'était pas possible de maintenir les piles et les murs dans un plan vertical.
Cependant le moment n'était pas encore venu où les constructeurs allaient résoudre exactement le problème de la stabilité des voûtes posées sur des murs parallèles; ils devaient encore faire des tentatives pour éviter les effets de la poussée sur les murs latéraux. Les constructeurs romans savaient que les voûtes d'arêtes présentaient cet avantage de n'exercer des pressions et des poussées que sur les quatre points d'appui recevant leurs sommiers. Reconnaissant que les berceaux exerçaient une poussée continue sur les têtes des murs, ils cherchèrent à les supprimer et à les remplacer, même dans les nefs composées de travées sur plan barlong, par des voûtes d'arêtes, afin de reporter toute leur charge et leur poussée sur les piles qu'ils espéraient rendre stables. Mais, ainsi que nous l'avons dit plus haut, la voûte d'arête romaine ne peut se bâtir que sur un plan carré: il fallait donc trouver une nouvelle combinaison de voûtes d'arêtes se prêtant aux plans parallélogrammes. Géométriquement, ces voûtes ne pouvaient se tracer, et ce n'était que par des tâtonnements qu'on arrivait à les construire.
Déjà, pendant le XIe siècle, les constructeurs avaient composé des
voûtes qui tiennent à la fois de la coupole et de la voûte d'arête, en
ce que ces voûtes, au lieu d'être engendrées par deux demi-cylindres se
pénétrant à angle droit, sont formées par quatre arcs plein cintre
réunissant les quatre piles et deux arcs diagonaux, qui sont eux-mêmes
des pleins cintres, et par conséquent présentent un rayon plus grand que
ceux des quatre premiers. Quand on connaît les moyens employés pour
construire une voûte d'arête, on comprend facilement quel avait été le
motif de cette modification à la voûte d'arête romaine. Pour faire une
voûte, il faut des cintres de bois sur lesquels on pose des couchis. Or,
pour faire une voûte d'arête romaine, il faut tailler quatre cintres sur
un demi-cercle et deux cintres diagonaux dont la courbe est donnée par
la rencontre des demi-cylindres; la courbe de ces cintres diagonaux
n'est point un demi-cercle, mais une ellipse que l'on obtient au moyen
d'ordonnées, ainsi que l'indique la fig. 4. Soit A B le diamètre des
cylindres et B C la trace horizontale du plan sur lequel se rencontrent
les deux cylindres A B, A C. Opérant sur un quart, et divisant le
demi-cercle rabattu en un certain nombre de parties égales D E, E F, F
G, G B, on abaisse des perpendiculaires de ces points diviseurs D E F G
sur le diamètre A B, en les prolongeant jusqu'à leur rencontre avec la
diagonale B C. On obtient ainsi sur cette diagonale des points diviseurs
d e f g; de ces points, élevant des perpendiculaires sur la diagonale
B C et prenant sur ces perpendiculaires des longueurs d d' égales à
D'D, e e', égales à E'E, etc., on pose des points d'e'f'g' par
lesquels devra passer la courbe de rencontre des deux demi-cylindres.
Cette courbe ayant une flèche d d' égale au rayon D'D, et un diamètre
B C plus grand que le diamètre A B, ne peut être un demi-cercle. Bien
que fort simple, ce tracé géométrique parut trop compliqué aux
constructeurs romans. Ayant donc tracé un demi-cercle sur le diamètre A
B pour faire tailler les cintres en charpente des quatre arcs
générateurs de la voûte, ils tracèrent un second demi-cercle sur le
diamètre B C pour faire tailler les deux cintres diagonaux. Ainsi les
clefs d de rencontre de ces deux cintres diagonaux se trouvèrent
placées à un niveau plus élevé que les clefs D des arcs générateurs, et
la voûte, au lieu d'être le résultat de la rencontre de deux
demi-cylindres, fut un composé de surfaces courbes sans nom, mais se
rapprochant de la coupole. Cette démonstration élémentaire est
nécessaire, car elle est la clef de tout le système des voûtes au moyen
âge. Ce premier résultat, dû bien plutôt à l'ignorance qu'au calcul, fut
cependant un des principes les plus féconds dans l'histoire de la
construction. D'ailleurs il indique autre chose que l'ignorance
grossière, il dénote une certaine liberté réfléchie dans l'emploi des
moyens de bâtir, dont l'importance est considérable; et, en effet, une
fois affranchis des traditions romaines, les constructeurs du moyen âge
furent de plus en plus conséquents avec leurs principes; ils en
comprirent bientôt toute l'étendue, et s'y abandonnèrent franchement;
cependant, suivons-les pas à pas. Il s'agissait donc, une fois le
principe de la voûte d'arête romaine ainsi modifié, d'appliquer ces
voûtes à des plans barlongs, car les constructeurs reconnaissaient le
danger des larges voûtes en berceaux.
Soit donc (5) A B C D le parallélogramme d'une travée de nef en plan, qu'il s'agit de couvrir par une voûte d'arête. Soit A E B l'extrados demi-circulaire des arcs doubleaux rabattus, et A F C l'extrados demi-circulaire des formerets également rabattus. Il est clair que le rayon H F sera plus court que le rayon G E, partant, la clef E plus élevée que la clef F. Si nous traçons un demi-cercle sur la diagonale A D comme étant la courbe sur laquelle devront se rencontrer les voûtes engendrées par les demi-cercles A E B, A F C, il en résultera que les arêtes AI, BI, DI, CI, au lieu d'être saillantes dans tout leur développement, seront creuses, au contraire, à peu près dans les deux tiers de leur longueur, et principalement en se rapprochant de la clef I.
En effet, soit (6) la coupe transversale de la voûte suivant H O. Soit H'F' la coupe du formeret, H'I'O' la projection verticale de la diagonale AD ou BC. La ligne droite, tirée de la clef F' à la clef I', laisse un segment de cercle K L I' au-dessus de cette ligne; d'où il résulterait que cette portion de voûte devrait être convexe à l'intrados au lieu d'être concave, et que, par conséquent, elle ne serait pas constructible. Posant donc des formerets et arcs doubleaux sur les arcs diagonaux, des couchis en planches pour fermer les triangles des voûtes en maçonnerie, les constructeurs garnirent ces couchis d'un massif épais en terre suivant une courbe donnée par les trois points F'I'F'', c'est-à-dire donnée par les sommets des arcs diagonaux et des arcs formerets: ainsi les arêtes diagonales redevenaient saillantes; sur ce massif, on posa les rangs de moellons parallèlement à la section F'I' pour fermer la voûte.

Le résultat de ces tâtonnements fut que les voûtes d'arêtes n'étaient plus des pénétrations de cylindres ou de cônes, mais d'ellipsoïdes. La première difficulté étant franchie, des perfectionnements rapides ne devaient pas tarder à se développer. Mais d'abord, comment, par quels procédés mécaniques ces voûtes étaient-elles construites? La voûte d'arête romaine, construite par travées, n'avait point d'arcs doubleaux: elle portait sur des piles ou des colonnes saillantes, ainsi que le représente la fig. 7, c'est-à-dire (voy. la projection horizontale A d'une de ces voûtes) que les diagonales B C, D E, produites par la pénétration de deux demi-cylindres de diamètres égaux et formant arêtes saillantes, portaient sur angles saillants des piles. Mais les architectes romans ayant d'abord renforcé les grandes voûtes en berceau par des arcs doubleaux, ainsi que fait voir notre fig. 3, et venant à remplacer ces voûtes demi-cylindriques par des voûtes d'arêtes barlongues, conservèrent les arcs doubleaux; ils ne pouvaient faire autrement, puisque les diagonales de ces voûtes étaient des demi-cercles et que leur sommet s'élevait au-dessus du sommet des arcs dont le diamètre était donné par l'écartement des piles.

Afin de nous faire comprendre, soit (8) la coupe longitudinale d'une voûte d'arête romaine composée de travées; la ligne AB est horizontale: c'est la coupe du demi-cylindre longitudinal.

Soit (8 bis) la coupe longitudinale d'une voûte d'arête romane sur plan barlong, la ligne AB est une suite de courbes, ou tout au moins de lignes brisées réunissant les points CD, sommets des arcs transversaux aux points de rencontre E des demi-cercles diagonaux. Il fallait nécessairement conserver sous les points C D des arcs saillants, des arcs doubleaux, qui n'étaient, comme nous l'avons dit plus haut, que des cintres permanents.

Dès lors les arêtes diagonales devaient prendre leur point de départ en retraite de la saillie des piles ou colonnes, celles-ci étant uniquement destinées à porter les arcs doubleaux, c'est-à-dire (9) que les arêtes durent partir des points F au lieu de partir des points G, et que les sommiers des arcs doubleaux se reposèrent sur les assiettes F H G I. Lorsqu'il s'agissait donc de fermer les voûtes, les constructeurs posaient les couchis portant les massifs ou formes en terre sur l'extrados de ces arcs doubleaux et sur les deux cintres diagonaux en charpente.
Dans les constructions élevées chez tous les peuples constructeurs, les déductions logiques se suivent avec une rigueur fatale. Un pas fait en avant ne peut jamais être le dernier; il faut toujours marcher: du moment qu'un principe est le résultat du raisonnement, il en devient bientôt l'esclave. Tel est l'esprit des peuples occidentaux; il perce dès que la société du moyen âge commence à se sentir et à s'organiser; il ne saurait s'arrêter, car le premier qui établit un principe sur un raisonnement ne peut dire à la raison: «Tu n'iras pas plus loin.» Les constructeurs, à l'ombre des cloîtres, reconnaissent ce principe dès le XIe siècle. Cent ans après, ils n'en étaient plus les maîtres. Évêques, moines, seigneurs, bourgeois, l'eussent-ils voulu, n'auraient pu empêcher l'architecture romane de produire l'architecture dite gothique: celle-ci n'était que la conséquence fatale de la première. Ceux qui veulent voir dans l'architecture gothique (toute laïque) autre chose que l'émancipation d'un peuple d'artistes et d'artisans auxquels on a appris à raisonner, qui raisonnent mieux que leurs maîtres et les entraînent malgré eux bien loin du but que tout d'abord ils voulaient atteindre, avec les forces qu'on a mises entre leurs mains; ceux qui croient que l'architecture gothique est une exception, une bizarrerie de l'esprit humain, n'en ont certes pas étudié le principe, qui n'est autre que l'application rigoureusement suivie du système inauguré par les constructeurs romans. Il nous sera aisé de le démontrer. Poursuivons.
Nous voyons déjà, à la fin du XIe siècle, le principe de la voûte
d'arête romaine mis de côté
1. Les arcs doubleaux sont admis
définitivement comme une force vive, élastique, libre, une ossature sur
laquelle repose la voûte proprement dite. Si les constructeurs
admettaient que ces cintres permanents fussent utiles transversalement,
ils devaient admettre de même leur utilité longitudinalement. Ne
considérant plus les voûtes comme une croûte homogène, concrète, mais
comme une suite de panneaux à surfaces courbes, libres, reposant sur
des arcs flexibles; la rigidité des murs latéraux contrastait avec le
nouveau système; il fallait que ces panneaux fussent libres dans tous
les sens, autrement les brisures, les déchirements eussent été d'autant
plus dangereux que ces voûtes eussent été portées sur des arcs flexibles
dans un sens et sur des murs rigides dans l'autre. Ils bandèrent des
formerets d'une pile à l'autre, sur les murs, dans le sens longitudinal.
Ces formerets ne sont que des demi-arcs doubleaux noyés en partie dans
le mur, mais ne dépendant pas de sa construction. Par ce moyen, les
voûtes reposaient uniquement sur les piles, et les murs ne devenaient
que des clôtures, qu'à la rigueur on pouvait bâtir après coup ou
supprimer. Il fallait une assiette à ces formerets, un point d'appui
particulier; les constructeurs romans ajoutèrent donc, à cet effet, un
nouveau membre à leurs piles, et la voûte d'arête prit naissance dans
l'angle rentrant formé par le sommier de l'arc doubleau et celui du
formeret, ainsi que l'indique la fig. 10. A est l'arc doubleau: B le
formeret, C l'arête de la voûte; le plan de la pile est en D. Mais si la
pile était isolée, si une nef était accompagnée de bas-côtés, elle
prenait en plan la fig. 10 bis. A est l'arc doubleau de la grande voûte,
B sont les archivoltes portant le mur.
Au-dessus de ces archivoltes, ce
mur se retraite en F de manière à permettre aux pilastres G de porter
les formerets supérieurs. C est l'arc doubleau du collatéral; D les
arêtes des voûtes de ce collatéral, et H celles des voûtes hautes. Les
voûtes des collatéraux sont bandées sur les arcs doubleaux C, les
extrados des archivoltes B et sur un formeret noyé en partie dans le mur
du bas-côté, et portant comme les formerets supérieurs de la fig. 10.
Ainsi donc déjà les membres des voûtes donnent la section horizontale
des piles, leur forme dérive de ces membres. Cependant ces voûtes
étaient contre-butées d'une manière insuffisante, des mouvements se
faisaient sentir dans les piles; par suite, les nerfs principaux des
voûtes, les arcs doubleaux se déformaient. Ne sachant comment maintenir
les poussées, les constructeurs se préoccupèrent d'abord de rendre leur
effet moins funeste. Ils avaient observé que plus les claveaux d'un arc
présentent une grande section de l'intrados à l'extrados, et plus les
mouvements qui se produisent dans cet arc occasionnent de désordre. Ils
n'étaient pas les premiers qui eussent reconnu cette loi. Les Romains,
avant eux, lorsqu'ils avaient eu de grands arcs à bander, avaient eu le
soin de les former de plusieurs rangs de claveaux concentriques, mais
indépendants les uns des autres, ainsi que l'indique la fig. 11 en A.
Les arcs construits de cette manière forment comme autant de cerceaux
agissant séparément et conservant une élasticité beaucoup plus grande,
et, par suite, plus de résistance qu'un arc de même section construit
d'après la méthode indiquée en B.


Les constructeurs romans composèrent, d'après ce principe, leurs arcs doubleaux de deux rangs de claveaux concentriques: l'un, celui d'intrados, prenant une section ou portion de rayon plus longue que celui de l'extrados; et comme les arcs doubleaux n'étaient que des cintres permanents destinés à recevoir les bouts des couchis sur lesquels on maçonnait la voûte, ils donnèrent à ce second rang de claveaux une saillie sur le premier propre à porter ces bouts de couchis. La fig. 12 explique cette méthode. En A est le rang des claveaux de l'intrados, en B celui des claveaux de l'extrados avec les deux saillies C destinées à recevoir les bouts des couchis D sur lesquels on maçonnait les voûtes. Les formerets ayant un moins grand diamètre, et n'étant pas sujets aux effets des poussées, sont composés d'un seul rang de claveaux portant, ainsi que le démontre la fig. 12 bis, la saillie nécessaire à la pose des couchis. On voit déjà que les constructeurs romans laissaient en évidence leurs moyens matériels de construction; que, loin de chercher à les dissimuler, ils composaient leur architecture de ces moyens mêmes. Veut-on d'autres preuves de ce fait? Les Romains terminaient le sommet de leurs colonnes par des chapiteaux; mais la saillie du tailloir de ces chapiteaux ne portait rien: ce n'était qu'un ornement.

Ainsi, lorsque les Romains posaient une voûte d'arête sur des colonnes, comme il arrivait fréquemment, dans les salles de thermes, par exemple, le sommier de la voûte était à l'aplomb du nu de la colonne (13). Et alors, chose singulière et dont on ne peut donner la raison, non-seulement le fût de la colonne romaine portait son chapiteau, mais l'entablement complet de l'ordre; de sorte que, par le fait, toute la partie comprise entre A et B ne servait à rien, et que les fortes saillies B n'avaient pu être utilisées que pour poser les cintres en charpente destinés à fermer les voûtes. Il faut avouer que c'était beaucoup de luxe pour un objet accessoire. Lorsque les constructeurs romans posent un arc sur une colonne isolée ou engagée, le chapiteau n'est qu'un encorbellement destiné à recevoir le sommier de l'arc, une saillie servant de transition entre le fût cylindrique de la colonne et l'assiette carrée du sommier (14). Alors le chapiteau n'est pas seulement un ornement, c'est un membre utile de la construction (voy. CHAPITEAU).

Les constructeurs romans avaient-ils une corniche de couronnement à placer à la tête d'un mur à l'extérieur, avares de temps et de matériaux, ils se gardaient bien d'évider à grands frais les divers membres de cette corniche dans une seule pierre; ils posaient, par exemple, des corbeaux saillants entre la dernière rangée de moellons, et sur ces corbeaux ils plaçaient une tablette en pierre servant d'égout à la couverture (voy. CORNICHE). Il est inutile d'insister davantage sur ces détails, qui viendront se présenter à leur place dans le cours de cet ouvrage.
La construction des voûtes était donc la grande préoccupation des architectes du moyen âge; ils étaient arrivés, ainsi que nous venons de le faire voir, à des combinaisons ingénieuses en elles-mêmes, qu'ils n'avaient pas encore trouvé les moyens propres à maintenir sûrement ces voûtes et qu'ils en étaient réduits aux expédients. Ainsi, par exemple, ils maçonnaient les remplissages de ces voûtes en tuf, en matériaux légers, afin de diminuer les effets des poussées; ils les réduisaient d'épaisseur autant que possible; ils bloquaient des maçonneries sous les combles des collatéraux au droit de ces poussées, dans l'espoir d'empêcher le déversement des piles; ils posaient des chaînages en bois transversaux à la base de ces contre-forts masqués par la pente des combles, pour rendre les piles solidaires des murs extérieurs. Ces expédients étaient suffisants dans de petites constructions; ils ne faisaient, dans les grandes, que ralentir l'effet des poussées sans les détruire complétement.

Il faut se rendre compte de ces effets pour concevoir la suite de raisonnements et d'essais par lesquels les constructeurs passèrent de l'ignorance à la science. Soit (15) la coupe transversale d'une église romane de la fin du XIe siècle, construite, comme celle de Vézelay, avec voûtes d'arêtes sur les collatéraux et sur la nef centrale. En A la construction est figurée telle que l'architecte l'avait conçue; en B, telle que l'effort des voûtes hautes l'avait déformée. On avait eu le soin de laisser des tirants en fer C D à la naissance des arcs doubleaux; mais ces tirants, mal forgés probablement, s'étaient brisés. Un siècle et demi après la construction de la nef, les effets produits avaient déjà causé la chute de plusieurs voûtes, et on avait à la hâte construit les arcs-boutants extérieurs E ponctués sur notre dessin. Ces effets étaient: 1º déversement des piles et murs qui les relient de F en G, par suite affaissement des arcs doubleaux en H à la clef, écrasement des lits des claveaux des reins de ces arcs en I à l'intrados; 2º dislocation des arcs doubleaux K des collatéraux, comme notre figure l'indique; par suite encore, déversement des murs extérieurs L des bas-côtés. Ces effets se produisaient partout de la même manière. En les étudiant, les constructeurs crurent, non sans raison, puisque le fait est constant, que tout le mal était produit par la poussée des arcs plein cintre et des voûtes qu'ils supportent en partie; que la concavité trop plate de ces voûtes avait une action oblique, une poussée trop considérable; que la poussée d'un arc plein cintre augmente en raison directe de son action; que la déformation subie par ces arcs indique leurs points faibles, savoir: la clef et les reins; que toutes les fois qu'un arc plein cintre n'est pas parfaitement contre-butté et que les piles qui le supportent s'écartent, ces arcs se déforment, ainsi que l'indique la fig. 16.

Soit une voûte dont le diamètre des arcs doubleaux ait 7m,00 et l'épaisseur des claveaux de ces arcs 0,60 c.; les murs viennent à s'écarter à la naissance des arcs de 0,20 c. chacun; dès lors le diamètre du demi-cercle dont le centre est en B, de 7m,00 atteint 7m,40, et les points a des naissances de l'arc doubleau sont reculés en a'. Le segment a b, qui est un peu moins que le quart du demi-cercle, se porte en a'b'; car, en supposant que la pile se rompe et pivote sur un point placé à 3m,00 en contre-bas de la naissance, cette naissance a' descendra au-dessous du niveau du point a et le centre B remontera en b'. Les conséquences de ce premier mouvement seront: 1º l'abaissement de la clef D en d et l'affaissement du segment bc en bc'. Cet effet se continuera jusqu'au moment où la courbe diagonale be, tracée de l'intrados à l'extrados du segment b c, sera plus courte que la distance entre b' et e'. Il faut remarquer en passant que les voûtes romanes, que l'on suppose avoir été construites en anse de panier, n'ont acquis cette courbe que par suite de l'écartement des piles. Quarante centimètres d'écartement entre ces piles, en dehors de la verticale, donnent 40 c. d'affaissement au sommet de l'arc; la différence entre le demi-diamètre d'un arc, dans ce cas, et la flèche de la courbe est donc de 80 c. Les constructeurs durent observer ces effets et chercher les moyens de les prévenir. Le premier moyen qu'ils paraissent avoir employé est celui-ci: ayant une nef dont les arcs doubleaux ont 7m,00 de diamètre à l'intrados et 0,60 c. d'épaisseur de claveaux, et ayant remarqué (fig. 16) que le segment b'c', en s'affaissant, pressait le segment inférieur a'b' à l'intrados en b' et la clef à l'extrados en e', ils en ont conclu que le triangle curviligne b'e'c' était inutile et que la diagonale b'e' seule offrait une résistance; donc, partant de ce principe, ils ont tracé (17) les deux demi-cercles d'intrados et d'extrados A B C, D E F; puis, sur le diamètre A C, ils ont cherché le centre O d'un arc de cercle réunissant le point A de l'intrados au point E de l'extrados du plein cintre.

Plaçant un joint en E G et non une clef, afin d'éviter l'effet d'équilibre visible dans la fig. 16, ils ont coupé les claveaux de ce nouvel arc A E suivant des lignes normales à la courbe A E, c'est-à-dire tendant au centre O. S'il se produisait encore des brisures dans ces arcs doubleaux, ainsi composés des deux diagonales courbes A E, les constructeurs procédaient avec cet arc A E comme avec le plein cintre, c'est-à-dire qu'ils reculaient sur le diamètre le centre O en O', de manière à obtenir un arc réunissant le point A au point G.
C'est ainsi que, dans les voûtes du XIIe siècle, nous voyons peu à peu les arcs doubleaux s'éloigner du plein cintre pour se rapprocher de l'arc en tiers-point. La meilleure preuve que nous puissions donner à l'appui de notre hypothèse, c'est le relevé exact d'un grand nombre de ces arcs brisés primitifs qui donnent exactement une flèche plus longue que le demi-diamètre, de l'épaisseur des sommiers, une fois, deux fois, trois fois. Mais cette preuve n'est évidente que pour ceux qui ont été à même de mesurer exactement un grand nombre d'arcs doubleaux de cette époque. Voici donc une observation générale qui peut être faite par tout le monde, sans recourir à des mesures difficiles à prendre.
Il est des contrées, comme l'Île-de-France, par exemple, où les arcs doubleaux romans pleins cintres n'ont qu'une épaisseur de claveaux faible. Or ici, dans les premières voûtes possédant des arcs brisés, l'acuité de ces arcs est à peine sensible, tandis que dans les provinces où les arcs doubleaux romans pleins cintres avaient une forte épaisseur, comme en Bourgogne, l'acuité des arcs doubleaux des premières voûtes abandonnant le plein cintre est beaucoup plus marquée.
L'adoption de l'arc brisé était si bien le résultat des observations que
les constructeurs avaient faites sur la déformation des arcs plein
cintre, savoir: le relèvement des reins et l'affaissement de la clef,
qu'il existe un grand nombre d'arcs doubleaux du XIIe siècle tracés
comme l'indique la fig. 18, c'est-à-dire ayant quatre centres: deux
centres A pour les portions d'arcs B C, D E, et deux centres G pour les
portions d'arcs C D comprenant les reins; cela pour présenter de C en D
une plus grande résistance à l'effet de relèvement qui se fait sentir
entre les points C et D; car plus la ligne C D se rapproche d'une
droite, et moins elle est sujette à se briser du dedans au dehors; par
ce tracé, les constructeurs évitaient de donner aux arcs doubleaux une
acuité qui, pour eux encore habitués au plein cintre, ne pouvait manquer
de les choquer.
Du moment que l'arc doubleau composé de deux arcs de cercle venait remplacer le plein cintre, il découlait de cette innovation une foule de conséquences qui devaient entraîner les constructeurs bien au delà du but auquel ils prétendaient arriver. L'arc brisé, l'arc en tiers-point (puisque c'est là son vrai nom), employé comme moyen de construction, nécessité par la structure générale des grands vaisseaux voûtés, obtenu par l'observation des effets résultant de la poussée des arcs plein cintre, est une véritable révolution dans l'histoire de l'art de bâtir. On a dit: «Les constructeurs du moyen âge, en adoptant l'arc en tiers-point, n'ont rien inventé: il y a des arcs brisés dans les monuments les plus anciens de Grèce et d'Étrurie. La section du trésor d'Atrée à Mycènes donne un arc en tiers-point, etc.» Cela est vrai; toutefois on omet un point assez important: c'est que les pierres composant ces arcs sont posées en encorbellement, que leurs lits ne sont pas normaux à la courbe, qu'ils sont horizontaux; cela est moins que rien pour ceux qui ne se préoccupent que de la forme extérieure; mais pour nous, praticiens, ce détail a cependant son importance. Et d'ailleurs, quand les Grecs ou les Romains auraient fait des voûtes engendrées par des arcs brisés, qu'est-ce que cela ferait, si le principe général de la construction ne dérive pas de la combinaison de ces courbes et de l'observation de leurs effets obliques? Il est évident que, du jour où l'homme a inventé le compas et le moyen de tracer des cercles, il a trouvé l'arc brisé: que nous importe s'il n'établit pas un système complet sur l'observation des propriétés de ces arcs? On a voulu voir encore, dans l'emploi de l'arc en tiers-point pour la construction des voûtes, une idée symbolique ou mystique; on a prétendu démontrer que ces arcs avaient un sens plus religieux que l'arc plein cintre. Mais on était tout aussi religieux au commencement du XIIe siècle qu'à la fin, sinon plus, et l'arc en tiers-point apparaît précisément au moment où l'esprit d'analyse, où l'étude des sciences exactes et de la philosophie commence à germer au milieu d'une société jusqu'alors à peu près théocratique. L'arc en tiers-point et ses conséquences étendues dans la construction apparaissent, dans nos monuments, quand l'art de l'architecture est pratiqué par les laïques et sort de l'enceinte des cloîtres, où jusqu'alors il était exclusivement cultivé.
Les derniers constructeurs romans, ceux qui après tant d'essais en viennent à repousser le plein cintre, ne sont pas des rêveurs: ils ne raisonnent point sur le sens mystique d'une courbe; ils ne savent pas si l'arc en tiers-point est plus religieux que l'arc plein cintre; ils bâtissent, ce qui est plus difficile que de songer creux. Ces constructeurs ont à soutenir des voûtes larges et hautes sur des piles isolées: ils tremblent à chaque travée décintrée; ils apportent chaque jour un palliatif au mal apparent; ils observent avec inquiétude le moindre écartement, le moindre effet produit, et cette observation est un enseignement incessant, fertile; ils n'ont que des traditions vagues, incomplètes, l'obscurité autour d'eux, les monuments qu'ils construisent sont leur unique modèle; c'est sur eux qu'ils font des expériences; ils n'ont recours qu'à eux-mêmes, ne s'en rapportent qu'à leurs propres observations.
Lorsqu'on étudie scrupuleusement les constructions élevées au commencement du XIIe siècle, que l'on parvient à les classer chronologiquement, que l'on suit les progrès des principales écoles qui bâtissent en France, en Bourgogne, en Normandie, en Champagne, on est encore saisi aujourd'hui par cette sorte de fièvre qui possédait ces constructeurs; on partage leurs angoisses, leur hâte d'arriver à un résultat sûr; on reconnaît d'un monument à l'autre leurs efforts; on applaudit à leur persévérance, à la justesse de leur raison, au développement de leur savoir si borné d'abord, si profond bientôt. Certes, une pareille étude est utile pour nous, constructeurs du XIXe siècle, qui sommes disposés à prendre l'apparence pour la réalité, et qui mettons souvent la vulgarité à la place du bon sens.
Déjà, au commencement du XIIe siècle, l'arc en tiers-point était adopté pour les grandes voûtes en berceau dans une partie de la Bourgogne, dans l'Île-de-France et en Champagne, c'est-à-dire dans les provinces les plus avancées, les plus actives, sinon les plus riches. Les hautes nefs des églises de Beaune, de Saulieu, de la Charité-sur-Loire, de la cathédrale d'Autun, sont couvertes par des voûtes en berceau formées de deux arcs de cercle se coupant, bien que, dans ces monuments mêmes, les archivoltes des portes et des fenêtres demeurent pleins cintres. C'est une nécessité de construction qui impose l'arc brisé dans ces édifices, et non un goût particulier; car, fait remarquable, tous les détails de l'architecture de ces monuments reproduisent certaines formes antiques empruntées aux édifices gallo-romains de la province. Grâce à cette innovation de l'arc brisé appliqué aux berceaux, ces églises sont restées debout jusqu'à nos jours, non sans avoir cependant subi des désordres assez graves pour nécessiter, deux siècles plus tard, l'emploi de moyens nouveaux propres à prévenir leur ruine.
Mais l'édifice dans lequel on saisit la transition entre le système de construction roman et celui dit gothique est le porche de l'église de Vézelay. Ce porche est à lui seul tout un monument composé d'une nef à trois travées avec collatéraux et galerie voûtée au-dessus. Le plan de ce porche, bâti vers 1150 2, est tout roman et ne diffère pas de celui de la nef, élevée cinquante ans auparavant; mais sa coupe présente avec celle de la nef des différences notables. Déjà, vers la fin du XIe siècle, les constructeurs de la nef de l'église de Vézelay avaient fait un grand pas en remplaçant les voûtes hautes, en berceau jusqu'alors, par des voûtes d'arêtes; mais ces voûtes, établies sur plan barlong, engendrées par des doubleaux et des arcs formerets pleins cintres, font voir les tâtonnements, les incertitudes et l'inexpérience des constructeurs (voy. ARCHITECTURE RELIGIEUSE, fig. 21). Dans le porche, tous les arcs sont en tiers-point, les voûtes sont d'arêtes sans arcs diagonaux saillants, et construites en moellons bruts enduits; les voûtes hautes sont très-adroitement contre-buttées par celles des galeries de premier étage. Cet ensemble présente une stabilité parfaite.

Nous donnons (19) la coupe transversale du porche de Vézelay; les voûtes des galeries sont engendrées par les formerets A des grandes voûtes, qui sont de véritables archivoltes, et par les formerets B, dont la naissance est beaucoup plus bas; de là l'inclinaison A B des clefs des voûtes latérales qui forment une buttée continue enserrant les grandes voûtes. Les travées étant barlongues et les formerets ayant leur naissance au même niveau que les arcs doubleaux C, la clef de ces fermerets A est à un niveau inférieur aux clefs de ces arcs doubleaux; les grandes voûtes, par suite de cette disposition, sont très-relevées, leurs arêtes saillantes peu senties. En D', nous avons figuré le détail des sommiers des arcs au niveau D de la pile, et en G le plan avec le départ des arcs et arêtes des voûtes. Cette construction de voûtes ne ressemble en rien à la construction romaine; déjà le principe d'indépendance entre les diverses parties de la bâtisse est admis et développé.
Cependant les voûtes du porche de Vézelay, sauf deux, sont dépourvues
d'arêtiers ou d'arcs ogives saillants; elles ne tiennent que par
l'adhérence des mortiers et forment chacune une concavité homogène,
concrète, comme les voûtes romaines. Les deux seules voûtes de ce porche
possédant des arêtiers pourraient s'en passer: ceux-ci ne sont qu'une
décoration et ne portent réellement pas les remplissages en moellons.
Mais c'était là une tentative qui eut bientôt des conséquences
importantes. Les constructeurs avaient obtenu déjà, au moyen des arcs
doubleaux et des formerets indépendants et résistants pour chaque voûte,
une sorte de châssis élastique sur lequel, s'il survenait des
tassements, ces voûtes pouvaient se mouvoir indépendamment les unes des
autres. Ils voulurent aller plus loin: ils voulurent que les triangles
concaves de ces voûtes fussent eux-mêmes indépendants les uns des
autres; et pour ce faire, ils composèrent les voûtes de deux éléments
bien distincts: les arcs et les remplissages; les arcs considérés comme
des cintres permanents, élastiques, et les remplissages comme des
concavités neutres destinées à fermer les triangles vides laissés entre
ces arcs. Ils commencèrent par éviter une première difficulté qui
jusqu'alors avait toujours gêné les architectes; ils revinrent à la
voûte sur plan carré, comprenant deux travées barlongues, si la
nécessité l'exigeait. C'est-à-dire qu'ils tracèrent leurs voûtes en
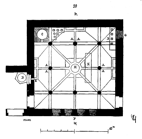
projection horizontale, ainsi que l'indique la fig. 20.
Soit ABCD un carré parfait ou à peu près, peu importe, comprenant deux travées de nefs AE BF, EC FD; ce sont les diagonales AD BC qui engendrent la voûte; ces deux diagonales sont les diamètres de deux demi-cercles parfaits, rabattus sur le plan; ces deux demi-cercles étant de même diamètre se rencontrent nécessairement au point G, qui est la maîtresse clef. Prenant une longueur égale au rayon GA et reportant ce rayon sur la perpendiculaire G I, on a tracé l'arc brisé EIF de manière à ce que le point I tombe sur le point G: c'est l'arc doubleau dont la projection horizontale est en EF. Prenant une longueur moins grande que le rayon GA, mais plus grande que la moitié de la largeur AB de la nef, et la reportant sur la perpendiculaire HK, on a tracé l'arc brisé AKB: c'est l'arc doubleau dont la projection horizontale est en A B ou en CD. Enfin, prenant une longueur LM moindre que la ligne HK et plus grande que la moitié de la ligne BF, on a tracé l'arc brisé BMF: c'est le formeret dont la projection horizontale est en BF, FD, etc. Taillant des cintres en bois suivant ces quatre courbes rabattues sur une même ligne OP (20 bis), on a bandé des arcs extradossés en pierre sur ces cintres, et on a obtenu l'ossature de la voûte représentée par la fig. 21.

Ce sont là les voûtes primitives dites en arcs d'ogive. On remarquera que ces voûtes sont engendrées par un plein cintre qui fournit tout d'abord les diagonales: c'est le plein cintre qui commande la hauteur des arcs brisés. Les arcs ogives, soit dit en passant (c'est ainsi qu'on nomme les arcs diagonaux) sont donc des pleins cintres; ce qui indique assez que le mot ogive ne convient pas à l'arc brisé. Mais ce n'est pas le moment de discuter sur les mots (voy. OGIVE), et notre remarque n'est faite ici que pour signaler une de ces erreurs parmi tant d'autres, sur lesquelles on se fonde souvent pour juger un art que l'on connaît mal. L'arc brisé avait été adopté par les derniers architectes romans, comme nous l'avons vu plus haut, pour diminuer les effets des poussées. Maintenant son rôle s'étend, il devient un moyen pratique de fermer des voûtes dont le véritable générateur est l'arc plein cintre.
Lorsque (22) une voûte d'arête est engendrée par deux demi-cylindres se
pénétrant à angle droit, les arcs AB CD AC BD sont des pleins cintres et
les pénétrations AD BC des arcs surbaissés, puisque la clef E ne dépasse
pas le niveau de la clef F et que les diamètres AD BE sont plus longs
que les diamètres des demi-cercles AB CD. Cela n'a aucun danger, si la
voûte AB CD est homogène, concrète, si elle forme une croûte d'un seul
morceau comme les voûtes romaines. Mais si le constructeur veut
conserver aux triangles de ses voûtes une certaine élasticité, s'il veut
nerver les arêtes diagonales AD BC, s'il veut que les triangles ABE CDE
ACE BDE reposent sur ces nervures comme sur des cintres permanents, et
si cette voûte a une grande portée, on conçoit alors qu'il y aurait
imprudence à tracer les arcs diagonaux AD BC, qui remplissent une
fonction aussi importante, sur une courbe qui ne serait pas au moins un
demi-cercle. Si ce tracé n'est pas absolument contraire à la bonne
construction, il présente du moins, lors de l'exécution, des
difficultés, soit pour trouver les points par lesquels ces courbes
surbaissées doivent passer, soit lors de la taille des claveaux. L'arc
plein cintre évite ces embarras et est incomparablement plus solide. Les
premiers constructeurs de voûtes franchement gothiques font une chose en
apparence bien simple; au lieu de tracer le plein cintre sur le diamètre
AB comme les constructeurs romans, ils le tracent sur le diamètre AD.
C'est là réellement leur seule innovation, et ils ne se doutaient guère
en l'adoptant, nous le croyons, des conséquences d'un fait en apparence
si naturel. Mais dans l'art du constructeur, essentiellement logique,
basé sur le raisonnement, la moindre déviation à des principes admis
amène rapidement des conséquences nécessaires, rigoureuses, qui nous
entraînent bien loin du point de départ. Il faut dire que les premiers
constructeurs gothiques, rebutés, non sans raison, par les tentatives
des constructeurs romans, qui, la plupart, aboutissaient à des
déceptions, ne s'effrayèrent pas des suites de leurs nouvelles méthodes,
mais, au contraire, cherchèrent à profiter, avec une rare sagacité, de
toutes les ressources qu'elles allaient leur offrir.
Les constructeurs gothiques n'avaient point trouvé l'arc brisé; il existait, ainsi que nous l'avons vu plus haut, dans des constructions dont le système était franchement roman. Mais les architectes gothiques appliquèrent l'arc brisé à un système de construction dont ils sont bien les seuls et les véritables inventeurs. Il y a des arcs brisés, au XIIe siècle, par toute l'Europe occidentale. Il n'y a de construction gothique, à cette époque, qu'en France, et sur une petite partie de son territoire actuel, n'en déplaise à ceux qui n'admettent pas qu'on ait inventé quelque chose chez nous avant le XVIe siècle.
Il en est de l'arc brisé comme de toutes les inventions de ce monde qui sont à l'état latent bien avant de recevoir leur application vraie. La poudre à canon était inventée au XIIIe siècle; on ne l'emploie réellement qu'au XVe, parce que le moment est venu où cet agent de destruction trouve son application nécessaire. Il en est de même de l'imprimerie: de tout temps on a fabriqué des estampilles; mais l'idée de réunir des lettres de bois ou de métal et d'imprimer des livres ne vient que lorsque beaucoup de gens savent lire, que les connaissances et l'instruction se répandent dans toutes les classes et ne sont plus le privilége de quelques clercs enfermés dans leur couvent. Léonard de Vinci, et peut-être d'autres avant lui, ont prévu que la vapeur deviendrait une force motrice facile à employer; on n'a cependant fait des machines à vapeur que de notre temps, parce que le moment était venu où cet agent, par sa puissance, était seul capable de suffire aux besoins de notre industrie et à notre activité. Il est donc puéril de nous dire que l'arc brisé étant de tous les temps, les constructeurs du XIIe siècle n'ont pas à revendiquer son invention. Certes, ils ne l'ont pas inventé, mais ils s'en sont servi en raison de ses qualités, des ressources qu'il présente dans la construction; et, nous le répétons, c'est seulement en France, c'est-à-dire dans le domaine royal et quelques provinces environnantes, qu'ils ont su l'appliquer à l'art de bâtir, non comme une forme que l'on choisit par caprice, mais comme un moyen de faire prévaloir un principe dont nous allons chercher à faire connaître les conséquences sérieuses et utiles.
Si, en adoptant l'arc plein cintre pour les diagonales des voûtes, les constructeurs de la fin du XIIe siècle eussent voulu l'appliquer aux arcs doubleaux et aux formerets, ils auraient d'abord fait un pas en arrière, puisque leurs devanciers avaient adopté l'arc brisé, à la suite de fâcheuses expériences, comme poussant moins que l'arc plein cintre; puis ils se fussent trouvés fort embarrassés de fermer leurs voûtes. En effet, les clefs des arcs doubleaux et des arcs formerets tracés sur un demi-cercle se seraient trouvés tellement au-dessous du niveau des clefs des arcs ogives, qu'il eût été difficile de fermer les remplissages en moellons, et que, les eût-on fermés, l'aspect de ces voûtes eût été très-désagréable, leur poussée considérable, puisqu'elle aurait été composée d'abord des arcs doubleaux plein cintre et de la charge énorme que les remplissages en moellons y eussent ajoutée. Au contraire, l'avantage de l'arc en tiers-point adopté pour les arcs doubleaux, dans les voûtes en arcs d'ogive, est, non-seulement de pousser très-peu par lui-même, mais encore de supprimer une grande partie de la charge des remplissages en moellons, ou plutôt de rendre cette charge presque verticale.

En effet, soit (23) le plan d'une voûte en arcs d'ogive; si les arcs AD CB sont des pleins cintres, mais que les arcs doubleaux AB CD soient aussi des pleins cintres, le rabattement de ces arcs donnera, pour les arcs ogives, le demi-cercle EFG, pour les arcs doubleaux le demi-cercle EHI. Dans ce cas, le remplissage en moellons du triangle COD chargera l'arc de cercle KHL, c'est-à-dire les trois cinquièmes du demi-cercle environ. Mais si les arcs doubleaux sont tracés suivant l'arc brisé EMI, le remplissage en moellons du triangle COD ne chargera que la portion de cet arc comprise entre PMR, les points P et R étant donnés par une tangente ST parallèle à la tangente VX, et les portions de remplissages comprises entre ER, IP agiront verticalement. Si les arcs doubleaux sont des demi-cercles, la charge oblique de chaque triangle de moellon sera ON QQ' N'; tandis que, s'ils sont tracés en tiers-point comme l'indique notre figure, cette charge ne sera que ONY Y'N'.
La méthode expérimentale suffit pour donner ces résultats, et, à la fin du XIIe siècle, les constructeurs n'en avaient point d'autre. C'est à nous de démontrer l'exactitude de cette méthode.

Nous venons de dire que le point K où commence la charge des remplissages donne un arc IK, qui est le cinquième environ du demi-cercle. Or (24) soit AB un quart de cercle, OC une ligne tirée à 45 degrés divisant ce quart de cercle en deux parties égales; les claveaux placés de C en B, s'ils ne sont maintenus par la pression des autres claveaux posés de B en D, basculeront par les lois de la pesanteur et pousseront par conséquent les claveaux posés de A en C. Donc c'est en C que la rupture de l'arc devrait avoir lieu; mais il faut tenir compte du frottement des surfaces des lits des claveaux et de l'adhérence des mortiers. Ce frottement et cette adhérence suffisent encore pour maintenir dans son plan le claveau F et le rendre solidaire du claveau inférieur G. Mais le claveau F participant à la charge des claveaux posés de F en B entraîne le claveau G et quelquefois un ou deux au-dessous jusqu'au point où les coupes des claveaux donnent un angle de 35 degrés, lequel est un peu moins du cinquième du demi-cercle. C'est seulement au-dessus de ce point que la rupture se fait lorsqu'elle doit avoir lieu (voy. fig. 16) et par conséquent que la charge active commence.
Soit calcul théorique ou pratique, il est certain que les constructeurs
du XIIe siècle comptèrent un moment réduire assez les poussées des
voûtes pour se passer de buttées et les maintenir sur des piles d'une
épaisseur médiocre, pourvu qu'elles fussent chargées; car ils ne
pensèrent pas tout d'abord qu'il fût nécessaire d'opposer des
arcs-boutants à des poussées qu'ils croyaient avoir à peu près annulées,
soit par l'obliquité des arcs ogives, soit par la courbe brisée des arcs
doubleaux. Cependant l'expérience leur démontra bientôt qu'ils s'étaient
trompés. La résultante des poussées obliques des arcs ogives plein
cintre, ajoutée à la poussée des arcs doubleaux en tiers-point, était
assez puissante pour renverser des piles très-élevées au-dessus du sol
et qui n'étaient qu'un quillage sans assiette. Ils posèrent donc des
arcs-boutants, d'abord seulement au droit des points de jonction A des
trois arcs (25), et s'en passèrent au droit des points B recevant des
arcs doubleaux isolés. Mais à quel niveau faire arriver la tête de ces
arcs-boutants? C'était là une difficulté d'autant plus grande que le
calcul théorique ne donne pas exactement ce point et qu'une longue
expérience seule peut l'indiquer. Autant qu'on en peut juger par le
petit nombre d'arcs-boutants primitifs conservés, voici quelle est la
méthode suivie par les architectes.

Soit (26) ABC l'arc doubleau séparatif des grandes voûtes; soit du point D, centre de l'arc AB, une ligne DE tirée suivant un angle de 35 degrés avec l'horizon; soit FG une tangente au point H; soit AI l'épaisseur du mur ou de la pile; la tangente FG rencontrera la ligne IK extérieure de la pile au point L. C'est ce point qui donne l'intrados du claveau de tête de l'arc-boutant. Cet arc est alors un quart de cercle ou un peu moins, son centre étant placé sur le prolongement de la ligne KI ou un peu en dedans de cette ligne. La charge MN de l'arc-boutant est primitivement assez arbitraire, faible au sommet M, puissante au-dessus de la culée en N, ce qui donne une inclinaison peu prononcée à la ligne du chaperon NM. Bientôt des effets se manifestèrent dans ces constructions, par suite des poussées des voûtes et malgré ces arcs-boutants; voici pourquoi: derrière les reins des arcs et des voûtes en T, on bloquait des massifs de maçonnerie bâtarde, autant pour charger les piles que pour maintenir les reins des arcs et de leurs remplissages. Ces massifs eurent en effet l'avantage d'empêcher la brisure des arcs au point H; mais toute la charge des remplissages agissant de K en O, et cette charge ne laissant pas d'être considérable, il en résulta un léger relèvement à la clef B, l'arc n'étant pas chargé de O en B, et par suite une déformation indiquée dans la fig. 26 bis. Cette déformation produisit une brisure au point O', niveau supérieur des massifs, et par conséquent une poussée très-oblique O'P au-dessus de la tête des arcs-boutants. Dès lors l'équilibre était rompu. Aussi fut-il nécessaire de refaire tous les arcs-boutants des monuments gothiques primitifs quelques années après leur construction; et alors ou on se contenta d'élever la tête de ces arcs-boutants, ou on les doubla d'un second arc (voy. ARC-BOUTANT).
Nous ne dissimulons pas, on le voit, les fausses manoeuvres de ces constructeurs; mais, comme tous ceux qui entrent dans une voie nouvelle, ils ne pouvaient arriver au but qu'après bien des tâtonnements. Il est facile, aujourd'hui que nous avons des monuments bâtis avec savoir et soin, comme la cathédrale d'Amiens ou celle de Reims, de critiquer les tentatives des architectes de la fin du XIIe siècle; mais à cette époque où l'on ne possédait guère que des monuments romans petits et assez mal construits, où les sciences exactes étaient à peine entrevues, la tâche nouvelle que les architectes s'imposaient était hérissée de difficultés sans cesse renaissantes, que l'on ne pouvait vaincre que par une suite d'observations faites avec le plus grand soin. Ce sont ces observations qui formèrent les constructeurs si habiles des XIIe et XIVe siècles. Il faut dire, à la louange des architectes du XIIe siècle, qu'ayant adopté un principe de construction neuf, sans précédents, ils en poursuivirent les développements avec une ténacité, une persévérance rares, sans jeter un regard en arrière, malgré les obstacles et les difficultés qui surgissaient à chaque épreuve. Leur ténacité est d'autant plus honorable qu'ils ne pouvaient prévoir, en adoptant le principe de construction des voûtes gothiques, les conséquences qui découlaient naturellement de ce système. Ils agirent comme le font les hommes mus par une forte conviction, ils ouvrirent, pour leurs successeurs, une voie large et sûre, dans laquelle l'Europe occidentale marcha sans obstacles pendant trois siècles. Toute conception humaine est entachée de quelqu'erreur, et le vrai immuable, en toute chose, est encore à trouver; chaque découverte porte dans son sein, en voyant le jour, la cause de sa ruine; et l'homme n'a pas plus tôt admis un principe, qu'il en reconnaît l'imperfection, le vice; ses efforts tendent à combattre les défauts inhérents à ce principe.
Or, de toutes les conceptions de l'esprit humain, la construction des édifices est une de celles qui se trouvent en présence des difficultés les plus sérieuses, en ce qu'elles sont de natures opposées, les unes matérielles, les autres morales. En effet, non-seulement le constructeur doit chercher à donner aux matériaux qu'il emploie la forme la plus convenable, suivant leur nature propre; il doit combiner leur assemblage de manière à résister à des forces diverses, à des agents étrangers; mais encore il est obligé de se soumettre aux ressources dont il peut disposer, de satisfaire à des besoins moraux, de se conformer aux goûts et aux habitudes de ceux pour lesquels il construit. Il y a les difficultés de conception, les efforts de l'intelligence de l'artiste; il y a encore les moyens d'exécution dont le constructeur ne saurait s'affranchir. Pendant toute la période romane, les architectes avaient fait de vaines tentatives pour concilier deux principes qui semblaient inconciliables, savoir: la ténuité des points d'appui verticaux, l'économie de la matière et l'emploi de la voûte romaine plus ou moins altérée. Quelques provinces avaient, par suite d'influences étrangères à l'esprit occidental, adopté la construction byzantine pure.
À Périgueux on construisait, dès la fin du Xe siècle, l'église de Saint-Front; de cet exemple isolé était sortie une école. Mais il faut reconnaître que ce genre de bâtisse était étranger à l'esprit nouveau des populations occidentales, et les constructeurs de Saint-Front de Périgueux élevèrent cette église comme pourraient le faire des mouleurs reproduisant des formes dont ils ne comprennent pas la contexture. Ainsi, par exemple, les pendentifs qui supportent les calottes de Saint-Front sont appareillés au moyen d'assises posées en encorbellement, dont les lits ne sont pas normaux à la courbe, mais sont horizontaux; si ces pendentifs ne tombent pas en dedans, c'est qu'ils sont maintenus par les mortiers et adhèrent aux massifs devant lesquels ils moulent leur concavité. Dans de semblables bâtisses, on ne voit autre chose qu'une tentative faite pour reproduire des formes dont les constructeurs ne comprennent pas la raison géométrique. D'ailleurs, ignorance complète, expédients pitoyables, appliqués tant bien que mal au moment où se présente une difficulté; mais nulle prévision.
Il est une grande quantité de constructions romanes qui indiquent, de la part des architectes, un défaut complet de prévoyance. Tel monument est commencé avec l'idée vague de le terminer d'une certaine façon, qui reste à moitié chemin, le constructeur ne sachant comment résoudre les problèmes qu'il s'est posés; tel autre ne peut être terminé que par l'emploi de moyens évidemment étrangers à sa conception première. On voit que les constructeurs romans primitifs bâtissaient au jour le jour, s'en rapportant à l'inspiration, au hasard, aux circonstances, comptant même peut-être sur un miracle pour parfaire leur oeuvre. Les légendes attachées à la construction des grands édifices (si les monuments n'étaient pas là pour nous montrer l'embarras des architectes) sont pleines de songes pendant lesquels ces architectes voient quelque ange ou quelque saint prenant la peine de leur montrer comment ils doivent maçonner leurs voûtes ou maintenir leurs piliers: ce qui n'empêchait pas toujours ces monuments de s'écrouler peu après leur achèvement, car la foi ne suffit pas pour bâtir.
Sans être moins croyants peut-être, les architectes de la fin du XIIe siècle, laïques pour la plupart, sinon tous, pensèrent qu'il est prudent, en matière de construction, de ne pas attendre l'intervention d'un ange ou d'un saint pour élever un édifice. Aussi (fait curieux et qui mérite d'être signalé) les chroniques des monastères, les légendes, les histoires, si prodigues de louanges à l'endroit des monuments élevés pendant la période romane, qui s'étendent si complaisamment sur la beauté de leur structure, sur leur grandeur et leur décoration, bien que beaucoup de ces monuments ne soient que de méchantes bâtisses en moellons mal conçues et plus mal exécutées, se taisent brusquement à la fin du XIIe siècle, lorsque l'architecture passe des cloîtres dans les mains des laïques. Par hasard, un mot de l'édifice, une phrase sèche, laconique; sur les maîtres de l'oeuvre, rien.
Est-il croyable, par exemple, que, dans le volumineux cartulaire de l'église Notre-Dame de Paris, qui comprend des pièces dont la date remonte au XIIe siècle, il ne soit pas dit un seul mot de la construction de la cathédrale actuelle? Laborieux et intelligents artistes, sortis du peuple, qui, les premiers, avez su vous affranchir de traditions usées; qui êtes entrés franchement dans la science pratique; qui avez formé cette armée d'ouvriers habiles se répandant bientôt sur toute la surface du continent occidental; qui avez ouvert la voie au progrès, aux innovations hardies; qui enfin appartenez, à tant de titres, à la civilisation moderne; qui possédez les premiers son esprit de recherche, son besoin de savoir: si vos contemporains ont laissé oublier vos noms; si, méconnaissant des efforts dont ils profitent, ceux qui prétendent diriger les arts de notre temps essayent de dénigrer vos oeuvres, que du moins, parmi tant d'injustices passées et présentes, notre voix s'élève pour revendiquer la place qui vous appartient et que votre modestie vous a fait perdre. Si, moins préoccupés de vos travaux, vous eussiez, comme vos confrères d'Italie, fait valoir votre science, vanté votre propre génie, nous ne serions pas aujourd'hui forcés de fouiller dans vos oeuvres pour remettre en lumière la profonde expérience que vous aviez acquise, vos moyens pratiques si judicieusement calculés, et surtout de vous défendre contre ceux qui sont incapables de comprendre que le génie peut se développer dans l'ombre; qu'il est de son essence même de rechercher le silence et l'obscurité; contre ceux, en si grand nombre, qui jugent sur la foi des arrêts rendus par la passion ou l'intérêt, et non d'après leur propre examen.
Il faut le dire cependant; aujourd'hui il n'est plus permis de trancher des questions d'histoire, que ces questions touchent aux arts, à la politique ou aux lettres, par de simples affirmations ou dénégations. Et les esprits rétrogrades sont ceux qui veulent juger ces questions en s'appuyant sur les vieilles méthodes ou sur leur passion. Il n'est pas un artiste sensé qui ose soutenir que nous devions construire nos édifices et nos maisons comme on le faisait au XIIe ou au XIIIe siècle; mais il n'est pas un esprit juste qui ne soit en état de comprendre que l'expérience acquise par les maîtres de ce temps ne puisse nous être utile, d'autant mieux que ces maîtres ont innové. L'obstacle le plus difficile à franchir pour nous, l'obstacle réel, l'obstacle vivant, c'est, il faut bien l'avouer, c'est la paresse d'esprit: chacun veut savoir sans s'être donné la peine d'apprendre, chacun prétend juger sans connaître les pièces du procès; et les principes les plus vrais, les mieux écrits, les plus utiles, seront rangés parmi les vieilleries hors d'usage, parce qu'un homme d'esprit les aura tournés en dérision, et que la foule qui l'écoute est trop heureuse d'applaudir à une critique qui lui évite la peine d'apprendre. Triste gloire, après tout, que profiter à qui consiste à prolonger la durée de l'obscurité; elle ne saurait profiter à qui l'acquiert dans un siècle qui se vante d'apporter la lumière sur toute chose, dont l'activité est si grande que, ne pouvant trouver dans le présent une pâture suffisante à ses besoins intellectuels, il veut encore dérouler le passé devant lui.
Si notre architecture française de la renaissance est, aux yeux des personnes qui l'ont étudiée avec soin et ont apporté dans cette étude une critique éclairée, supérieure à l'architecture italienne des XVe et XVIe siècles, cela ne vient-il pas de ce que nos écoles gothiques, malgré les abus des derniers temps, avaient formé, de longue main, des praticiens habiles et des exécutants intelligents, sachant soumettre la forme à la raison; de ce que ces écoles étaient particulièrement propres à délier l'esprit des architectes et des ouvriers, à les familiariser avec les nombreuses difficultés qui entourent le constructeur? Nous savons que ce langage ne saurait être compris de ceux qui jugent les différentes formes de notre art d'après leur sentiment ou leurs préjugés; aussi n'est-ce pas à ces personnes que nous nous adressons, mais aux architectes, à ceux qui se sont longuement familiarisés avec les ressources et les difficultés que présente la pratique de notre art. Certes, pour les artistes, l'étude d'un art où tout est prévu, tout est calculé, qui pèche même par un excès de recherches et de moyens pratiques, dans lequel la matière est à la fois maîtresse de la forme et soumise au principe, ne peut manquer de développer l'esprit et de le préparer aux innovations que notre temps réclame.
Ce serait sortir de notre sujet d'expliquer comment, à la fin du XIIe siècle, il se forma une puissante école laïque de constructeurs; comment cette école, protégée par l'épiscopat, qui voulait amoindrir l'importance des ordres religieux, possédant les sympathies du peuple dont elle sortait et dont elle reflétait l'esprit de recherche et de progrès, admise par la féodalité séculière qui ne trouvait pas chez les moines tous les éléments dont elle avait besoin pour bâtir ses demeures; comment cette école, disons-nous, profitant de ces circonstances favorables, se constitua fortement et acquit, par cela même, une grande indépendance. Il nous suffira d'indiquer cet état de choses, nouveau dans l'histoire des arts, pour en faire apprécier les conséquences.
Nous avons vu précédemment où les constructeurs en étaient arrivés vers 1160, comment ils avaient été amenés à modifier successivement la voûte romane, qui n'était qu'une tradition abâtardie de la voûte romaine, et à inventer la voûte dite en arcs d'ogive. Ce grand pas franchi, il restait cependant beaucoup à faire encore. Le premier résultat de cette innovation fut d'obliger les constructeurs à composer leurs édifices en commençant par les voûtes, et, par conséquent, de ne plus rien livrer au hasard, ainsi qu'il n'était arrivé que trop souvent à leurs prédécesseurs; cette méthode, étrange en apparence, et qui consiste à faire dériver les plans par-terre de la structure projetée des voûtes, est éminemment rationnelle. Que veut-on lorsque l'on construit un édifice voûté? Couvrir une surface. Quel est le but que l'on se propose d'atteindre? Établir des voûtes sur des points d'appui. Quel est l'objet principal? La voûte. Les points d'appui ne sont que des moyens. Les constructeurs romains avaient déjà été amenés à faire dériver le plan de leurs édifices voûtés de la forme et de l'étendue de ces voûtes mêmes; mais ce principe n'était qu'un principe général, et de l'examen d'un plan romain du Bas-Empire, on ne saurait toujours conclure que telle partie était voûtée en berceau, en arêtes ou en portion de sphère, chacune de ces voûtes pouvant, dans bien des cas, être indifféremment posée sur ces plans.
Il n'en est plus ainsi au XIIe siècle: non-seulement le plan horizontal indique le nombre et la forme des voûtes, mais encore leurs divers membres, arcs doubleaux, formerets, arcs ogives; et ces membres commandent à leur tour, la disposition des points d'appui verticaux, leur hauteur relative, leur diamètre. D'où l'on doit conclure que, pour tracer définitivement un plan par-terre et procéder à l'exécution, il fallait, avant tout, faire l'épure des voûtes, de leurs rabattements, de leurs sommiers, connaître exactement la dimension et la forme des claveaux des divers arcs. Les premiers constructeurs gothiques se familiarisèrent si promptement avec cette méthode de prendre toute construction par le haut, pour arriver successivement à tracer ses bases, qu'ils l'adoptèrent même dans des édifices non voûtés, mais portant planchers ou charpentes; ils ne s'en trouvèrent pas plus mal, ainsi que nous le verrons plus loin.
La première condition pour établir le plan d'un édifice de la fin du
XIIe siècle étant de savoir s'il doit être voûté et comment il doit être
voûté, il faut donc, dès que le nombre et la direction des arcs de ces
voûtes sont connus, obtenir la trace des sommiers sur les chapiteaux,
car ce sera la trace de ces sommiers qui donnera la forme et dimension
des tailloirs et chapiteaux, le nombre, la force et la place des
supports verticaux.
Supposons donc une salle (27) devant être voûtée, ayant, dans oeuvre,
12m,00 de large et composée de travées de 6m,00 d'axe en axe. Adoptant
le système de voûtes en arcs d'ogive traversés par un arc doubleau,
suivant la méthode des constructeurs de la fin du XIIe siècle. Il s'agit
de tracer le lit inférieur des sommiers des arcs retombant en A et B, et
de connaître la force des claveaux. Nous admettons que ces claveaux
doivent, pour une salle de cette étendue, avoir 0,40 c. de largeur et de
hauteur; nous reconnaissons qu'à cette époque, presque toujours les
divers arcs d'une voûte sont bandés avec des claveaux semblables comme
dimension et forme. Nous reconnaissons encore que les formerets,
naissant beaucoup plus haut que les arcs doubleaux et arcs ogives, les
colonnettes leur servant de support dépassent souvent le niveau des
sommiers des arcs ogives et doubleaux; qu'en traçant le lit du sommier
des arcs doubleaux et ogives, nous devons tenir compte du passage de la
colonnette portant formeret, comme nous tiendrions compte du formeret
lui-même. Soit (28) le détail de la trace horizontale de la naissance
des arcs en B; sur ce point il ne naît qu'un arc doubleau et deux
formerets. Ce sont ceux-ci qui commandent, car il faut que l'arc
doubleau se dégage de ces formerets dès sa naissance. Soit le nu du mur
AB; le formeret a de saillie, habituellement, la moitié de la largeur de
l'arc ogive ou de l'arc doubleau lorsque ces deux arcs ont une coupe
semblable, la moitié de l'arc ogive lorsque celui ci et l'arc doubleau
donnent une section différente. Dans le cas présent, le formeret a donc
0,20 c. de saillie sur le nu du mur. En C, nous tirons une ligne
parallèle à AB. L'axe de l'arc doubleau étant DE, les points F et G
étant pris à 0,20 c. chacun de cet axe, nous tirons les deux parallèles
FI, GK, qui nous donnent la largeur de l'arc doubleau. De F en I',
portant, 0,40 c nous avons sa hauteur entre l'intrados et l'extrados;
nous pouvons alors, dans le carré F'I'K'G, tracer le profil convenable:
c'est le lit inférieur du sommier. Ou la colonne portant le formeret
s'élève au-dessus du niveau de ce lit, ainsi qu'il est indiqué en L, ou
le formeret, comme il arrive quelquefois
3, prend naissance sur le
chapiteau portant l'arc doubleau; et alors, de l'axe DE portant 0,40 c.
sur la ligne AB qui nous donne le point M, nous inscrivons le profil du
formeret dans le parallélogramme EONM. Il est entendu que cet arc
formeret pénètre dans le mur de quelques centimètres. Le lit inférieur
du sommier étant ainsi trouvé, il s'agit de tracer le tailloir du
chapiteau, dont le profil doit former saillie autour des retombées
d'arcs. Si le formeret est porté sur une colonnette montant jusqu'à sa
naissance, ainsi qu'il est marqué en L, le tailloir PRS retourne
carrément mourir contre la colonnette L du formeret. Si, au contraire,
le profil du formeret descend jusque sur le chapiteau de l'arc doubleau,
le tailloir prend sur plan horizontal la figure PTVX. Pour tracer la
colonne sous le chapiteau, dans le premier cas, du sommet de l'angle
droit R du tailloir, nous tirons une ligne à 45 degrés; cette ligne
vient rencontrer l'axe DE en un point O, qui est le centre de la
colonne, à laquelle on donne un diamètre tel que la saillie du tailloir
sur le nu de cette colonne devra être plus forte que le rayon de la
colonne. Il reste alors, entre la colonne et le nu AB du mur, un vide
que l'on remplit par un pilastre masqué par cette colonne et la
colonnette du formeret. Pour tracer la colonne sous le chapiteau, dans
le second cas, nous prenons un centre Y sur l'axe DE, de façon à ce que
la saillie du tailloir sur le nu de la colonne soit plus forte que son
demi-diamètre; alors le chapiteau forme corbeille ou cul-de-lampe, et s
trouve plus évasé sous le formeret que sous la face de l'arc doubleau.

Prenons maintenant sur la fig. 27 la naissance A de deux formerets, de deux arcs ogives et d'un arc doubleau. Soit AB (28 bis) le nu du mur, CD la directrice de l'arc doubleau, DE la directrice de l'arc ogive; nous traçons la saillie du formeret comme ci-dessus. Les arcs ogives commandent l'arc doubleau. De chaque côté de la ligne DE, nous portons 0,20 c., et nous tirons les deux parallèles FG, HI, qui nous donnent la largeur de l'arc ogive. Du point H, rencontre de la ligne HI avec l'axe CD sur cette ligne HI, nous prenons 0,45 c., c'est-à-dire un peu plus que la hauteur des claveaux de l'arc-ogive, et nous tirons la perpendiculaire IG, qui nous donne la face de l'arc ogive. Dans le parallélogramme FGIH, nous traçons le profil convenable. Des deux côtés de l'axe CD, prenant de même 0,20 c., nous tirons les deux parallèles KL, MN. Du point H, portant 0,40 c. sur l'axe CD de H en C', nous tirons une perpendiculaire LN à cet axe, qui nous donne la face de l'arc doubleau; nous inscrivons son profil. En P, nous supposons que la colonne portant formeret dépasse la naissance des arcs ogives et doubleaux; en R, nous admettons, comme précédemment, que le profil du formeret vient tomber verticalement sur le tailloir du chapiteau. Pour tracer ce formeret, dans ce dernier cas, nous prenons sur la ligne AB, du point M en Q, 0,40 c., et de ce point Q, élevant une perpendiculaire sur la ligne AB, nous avons le parallélogramme inscrivant le profil du formeret; les tailloirs des chapiteaux sont tracés parallèles aux faces des arcs, ainsi que le démontre notre figure. Des sommets G et L, tirant des lignes à 45 degrés, nous rencontrons l'axe DE en O, qui est le centre de la colonnette portant les arcs ogives, et l'axe CD en S, qui est le centre de la colonne de l'arc doubleau; nous traçons ces colonnes conformément à la règle établie précédemment. Derrière ces colonnes isolées, on figure les retours de pilastres qui renforcent la pile; alors le formeret R retombe sur une face de ces pilastres portant chapiteau comme les colonnes.
Souvent les formerets ne descendaient pas sur le tailloir des chapiteaux des grands arcs, et ne possédaient pas non plus une colonnette portant de fond: ils prenaient naissance sur une colonnette posée sur la saillie latérale du tailloir, ainsi que l'indique la fig. 29 en plan et en élévation perspective. Dès lors les tailloirs des colonnettes latérales A étaient coupés de façon à ce que leur face oblique CD, perpendiculaire à la directrice B des arcs ogives, fût partagée en deux parties égales par cette directrice.
Cependant, il faut reconnaître que les constructeurs ne se décidèrent que peu à peu à accuser la forme, la direction et les membres des voûtes sur le plan de terre. Ils conservèrent pendant quelque temps les piles monocylindriques à rez-de-chaussée, en ne traçant le plan commandé par les voûtes que sur les tailloirs des chapiteaux de ces piles. Ce qui les préoccupa, dès la fin du XIIe siècle, ce fut l'observation rigoureuse d'un principe qui jusqu'alors n'avait pas été impérieusement admis. Ce principe était celui de l'équilibre des forces substitué au principe de stabilité inerte, si bien pratiqué par les Romains et que les constructeurs romans s'étaient vainement efforcés de conserver dans leurs grands édifices voûtés composés de plusieurs nefs. Reconnaissant l'impossibilité de donner aux piles isolées une assiette suffisante pour résister à la poussée des voûtes, les constructeurs du XIIe siècle prirent un parti franc: ils allèrent chercher leurs moyens de résistance ailleurs. Ils ne voulurent plus admettre les piliers isolés que comme des points d'appui maintenus verticalement, non par leur propre assiette, mais par des lois d'équilibre. Il importait alors seulement qu'ils eussent une force suffisante pour résister à une pression verticale. Toutefois, même lorsqu'un principe est admis, il y a, pendant un certain temps, dans son application, des indécisions, des tâtonnements; on ne s'affranchit jamais des traditions du jour au lendemain. En trouvant les voûtes en arcs d'ogive sur plan carré traversées par un arc doubleau, les constructeurs cherchaient encore des points espacés de deux en deux travées, plus stables au droit des poussées principales. En effet, dans la fig. 27, les points A reçoivent la charge et maintiennent la poussée d'un arc doubleau et de deux arcs ogives, tandis que les points B ne reçoivent que la charge et ne maintiennent que la poussée d'un arc doubleau. Ce système de construction des voûtes, adopté pendant la seconde moitié du XIIe siècle, engageait les constructeurs à élever sous les points A des piles plus fortes que sous les points B; puis à donner aux claveaux des arcs doubleaux principaux tombant en A une largeur et une épaisseur plus grandes que celles données aux claveaux des arcs ogives et arcs doubleaux secondaires; car, dans les voûtes gothiques primitives, il est à remarquer, comme nous l'avons dit déjà, que les claveaux de tous les arcs présentent généralement la même section.
L'arc en tiers-point était si bien commandé par la nécessité de diminuer les poussées ou de résister aux charges, que nous voyons, dans les constructions gothiques primitives, les arcs brisés uniquement adoptés pour les arcs doubleaux et les archivoltes inférieures, tandis que l'arc plein cintre est conservé pour les baies des fenêtres, pour les arcatures des galeries et même pour les formerets, qui ne portent qu'une faible charge ou ne présentent que peu d'ouverture. À la cathédrale de Noyon, dont les voûtes primitives durent être élevées vers 1160 4, les formerets, qui sont de cette époque, sont plein cintre. À la cathédrale de Sens, bâtie vers ce même temps, les formerets étaient plein cintre 5, tandis que les archivoltes et les arcs doubleaux sont en tiers-point. Il en est de même dans le choeur de l'église abbatiale de Vézelay, élevé à la fin du XIIe siècle; les formerets sont plein cintre. Dans ces édifices, et à Sens particulièrement, les piles, sous les poussées et charges combinés des arcs ogives et arcs doubleaux, présentent une section horizontale très-considérable formée de faisceaux de colonnettes engagées; tandis que sous la charge de l'arc doubleau seul les piles se composent de colonnes monocylindriques jumelles posées perpendiculairement à l'axe de la nef. À Noyon, les arcs doubleaux intermédiaires, avant la reconstruction des voûtes, posaient sur une seule colonne. Mais la nef de la cathédrale de Sens est beaucoup plus large que celle de la cathédrale de Noyon, et la construction est de tous points plus robuste. Cette disposition de voûtes, comprenant deux travées et répartissant les poussées et charges principales de deux en deux piles, avait, dans l'origine, permis aux constructeurs de ne placer des arcs-boutants qu'au droit de ces piles principales. Il est probable qu'à la cathédrale de Sens c'était là autrefois le parti adopté; peut-être en était-il de même à la cathédrale de Noyon, comme à celle de Paris. Mais ces édifices ayant été plus ou moins remaniés au XIIIe siècle, il est impossible de rien affirmer à cet égard. Ce dont on peut être certain, c'est qu'à la fin du XIIe siècle les constructeurs n'avaient adopté l'arc-boutant qu'en désespoir de cause, qu'ils cherchaient à l'éviter autant que faire se pouvait, qu'ils se défiaient de ce moyen dont ils n'avaient pu encore apprécier les avantages et la puissance; qu'ils ne le considéraient que comme un auxiliaire, une extrême ressource, employée souvent après coup, et lorsqu'ils avaient reconnu qu'on ne pouvait s'en passer. La meilleure preuve que nous en puissions donner, c'est que, quelques années plus tard, les architectes, ayant soumis définitivement, dans les édifices à trois nefs, leur système de voûtes à une raison d'équilibre, opposèrent des arcs-boutants aux poussées des voûtes qui n'en avaient eu que partiellement ou qui n'en possédaient pas, et supprimèrent les arcs-boutants du XIIe siècle, probablement mal placés ou insuffisants, pour les remplacer par des buttées neuves et bien combinées, sous le rapport de la résistance ou de la pression.
Il nous faut, avant de passer outre, entretenir nos lecteurs des procédés de construction, de la nature et des dimensions des matériaux employés. Nous avons vu, au commencement de cet article, comment les constructeurs romans primitifs élevaient leurs maçonneries, composées de blocages enfermés entre des parements de pierre de taille ou de moellon piqué.

Les constructeurs du XIIe siècle apportèrent quelques modifications à ces premières méthodes. Bâtissant des édifices plus vastes comme étendue et plus élevés que ceux de la période romane, cherchant à diminuer l'épaisseur des points d'appui intérieurs et des murs, il leur fallait, d'une part, trouver un mode de construction plus homogène et résistant; de l'autre, éviter, dans des monuments d'une grande hauteur déjà, la dépense de main-d'oeuvre que le montage de matériaux d'un fort volume eût occasionnée. Ils renoncèrent dès lors à l'emploi du grand appareil (sauf dans des cas particuliers ou dans quelques édifices exceptionnels), et préférèrent la construction de petit appareil, tenant du moellon bien plutôt que de la pierre de taille. Autant que possible, la majeure partie des pierres employées alors, formant parements, claveaux d'archivoltes, d'arcs doubleaux et d'arcs ogives, sont d'un assez faible échantillon pour pouvoir être montées à dos d'homme et posées par un maçon comme notre moellon ordinaire. La méthode admise, ce petit appareil est fort bien fait, très-judicieusement combiné: c'est un terme moyen entre la construction romaine de grand appareil et celle de blocages revêtus de briques ou de moellon. En adoptant le petit appareil dans les grands édifices, les constructeurs du XIIe siècle avaient trop de sens pour poser ces assises basses et peu profondes, à joints vifs, comme certaines constructions romanes; au contraire, ils séparèrent ces assises par des lits et joints de mortier épais (de 0,01 c. à 0,02 c.), afin que ces lits établissent une liaison entre le massif intérieur et les parements. Cette méthode était la méthode romaine, et elle est bonne. On comprendra en effet que si (30) on pose des assises à joints vifs devant un massif en blocaille et mortier, le massif venant à tasser par l'effet de la dessiccation des mortiers sous la charge, et les assises de pierres posées à crû les unes sur les autres ne pouvant diminuer de volume, il se déclarera une rupture verticale AB derrière le parement, qui ne tardera pas à tomber. Mais si (30 bis) nous avons eu le soin de laisser entre chaque assise de pierre un lit de mortier épais, non-seulement ce lit soudé au massif retiendra les assises de pierre, mais encore il permettra à celles-ci de subir un tassement équivalent au tassement des blocages intérieurs.
Les constructeurs romans primitifs, surtout dans les contrées où l'on peut se procurer de grandes pierres dures, comme dans la Bourgogne, en Franche-Comté et en Alsace, sur la Saône et le Rhône, n'ont pas manqué de singer l'appareil romain, en posant, à joints vifs, des carreaux larges et hauts, des dalles, pour ainsi dire, devant les blocages; mais aussi payèrent-ils cher ce désir de faire paraître leurs constructions autres qu'elles ne sont. Il se déclara dans la plupart de ces édifices des ruptures entre les parements et les blocages, des lézardes longitudinales qui occasionnèrent chez presque tous des désordres sérieux pour le moins la ruine souvent. Ces effets étaient d'autant plus fréquents et dangereux que les édifices étaient plus élevés. Mieux avisés, et instruits par l'expérience, les architectes du XIIe siècle, autant par une raison d'économie et de facilité d'exécution que pour éviter ce défaut d'homogénéité entre les parements et les massifs, adoptèrent la construction par assises très-basses et séparées par des lits épais de mortier. Ces lits n'avaient pas seulement l'avantage de tasser et de relier les parements aux massifs: faits de mortier de chaux grasse, ils ne prenaient de consistance que lentement, et, en attendant la solidification parfaite, les constructions avaient le temps de s'asseoir, de subir même certaines déformations, sans occasionner des brisures dans la maçonnerie.
Les édifices élevés, de 1140 à 1200, dans l'Île-de-France, le Beauvoisis, le Soissonnais, la Picardie, la Champagne et la Normandie, sont d'une petitesse d'appareil qui ne laisse pas de surprendre; car déjà ces édifices sont vastes, d'une structure compliquée et cependant fort légère. Employer le moellon taillé dans de pareilles constructions, comme moyen principal, c'était une grande hardiesse; réussir était le fait de gens fort habiles. Si l'on examine avec soin l'appareil des portions appartenant au XIIe siècle des cathédrales de Noyon, de Senlis, et d'un grand nombre d'églises de l'Oise, de la Seine, de Seine-et-Oise, de Seine-et-Marne, de la Marne, de la Seine-Inférieure, etc., on s'étonne que des constructeurs aient osé monter des monuments d'une assez grande hauteur et très-légers avec des moyens qui semblent si faibles; et cependant la stabilité de ces édifices est assurée depuis longtemps, et si quelques-uns d'entre eux ont subi des altérations sensibles, cela tient presque toujours à des accidents particuliers, tels que les incendies, le défaut d'entretien ou des surcharges postérieures. De tous ces monuments, l'un des plus parfaits et des mieux conservés est la cathédrale de Noyon, bâtie de 1150 à 1190. Sauf les colonnettes, les gros chapiteaux, les sommiers et quelques morceaux exceptionnels, toute la bâtisse n'est en réalité composée que de moellon peu résistant.

On prendra une idée de ce qu'est cette construction par notre fig. 31, qui donne une partie des travées intérieures jumelles de la nef. Les colonnettes isolées de la galerie du premier étage, celles du petit triforium supérieur, celles séparant les fenêtres hautes, sont des monolythes de pierre dure posés en délit. Quant aux colonnettes triples A qui, avant la reconstruction des voûtes au XIIIe siècle, recevait l'arc doubleau d'intersection des arcs ogives et les formerets, elles sont composées de grands morceaux en délit retenus de distance en distance par des crampons à T. Mais ces colonnettes ont été posées après que la construction avait subi son tassement, et par le fait elles ne sont qu'une décoration et ne portent rien, l'assise de chapiteau et le sommier dont les queues s'engagent dans, la maçonnerie suffisant pour soutenir les claveaux de cet arc doubleau. Nous avons indiqué en B la naissance des anciens arcs ogives des grandes voûtes et en C le formeret derrière les arcs ogives. On remarquera qu'ici, comme dans la plupart des églises bâties à cette époque dans les provinces voisines de l'Île-de-France, et notamment dans le Beauvoisis, les piles qui portent les retombées des arcs ogives et arcs doubleaux sont beaucoup plus fortes que celles supportant seulement l'arc doubleau de traverse. En d'autres termes (voy. le plan), les piles D se composent d'un faisceau de colonnes, tandis que les piles intermédiaires E ne sont que des colonnes monocylindriques à rez-de-chaussée surmontées du faisceau de colonnettes A. L'extrême légèreté d'une pareille construction, la facilité avec laquelle tous les matériaux qui la composent pouvaient être taillés, montés et posés, expliquent comment, même avec de faibles ressources, on pouvait songer à bâtir des édifices d'une grande étendue et fort élevés au-dessus du sol. Aujourd'hui que nous avons pris l'habitude d'employer des masses énormes de pierre d'un fort volume dans nos édifices les moins considérables, de mettre en oeuvre des forces dix fois plus résistantes qu'il n'est besoin, nous n'oserions pas entreprendre de bâtir une cathédrale de la dimension de celle de Noyon avec des moyens en apparence aussi faibles, et nous dépenserions des sommes fabuleuses pour exécuter ce qu'au XIIe siècle on pouvait faire avec des ressources comparativement minimes. Nous trouvons ces constructions dispendieuses, parce que nous ne voulons pas employer les procédés alors en usage. Cependant la cathédrale de Noyon est debout depuis sept siècles, et pour peu qu'elle soit entretenue convenablement, elle peut durer encore cinq cents ans: or douze cents ans nous paraissent être une durée raisonnable pour un édifice, les grandes révolutions sociales auxquelles est soumise l'humanité prenant le soin de les détruire s'ils sont faits pour traverser une plus longue période.
Outre les avantages de l'économie, de la facilité d'approvisionnement et d'exécution, les constructions en petits matériaux convenaient d'ailleurs parfaitement au système adopté par les architectes du XIIe siècle. Ces bâtisses légères, ne donnant en plan par terre qu'une surface de pleins peu considérable eu égard à celle des vides, soumises à des pressions obliques et à des lois d'équilibre remplaçant les lois romaines de stabilité inerte, exigeaient dans tous les membres qui les composaient une certaine élasticité. Là où les constructeurs, moins pénétrés des nouveaux principes alors admis, cherchaient à reproduire les formes que les artistes laïques du XIIe siècle avaient adoptées, sans en connaître exactement la raison d'être, en employant des matériaux d'une grande dimension, il se produisait dans les constructions des déchirements tels que l'équilibre était bientôt rompu. Si les arcs n'étaient pas parfaitement indépendants les uns des autres; si sur un point on avait posé des matériaux d'une grande hauteur de banc, et si, à côté, la bâtisse n'était faite que de pierres d'un petit échantillon, les parties rigides ou trop engagées dans la masse, ou trop lourdes, présentaient une résistance qui n'avait d'autre résultat que de causer des brisures et des lézardes; les points trop solides de la construction écrasaient ou entraînaient les points faibles. Observons encore que, dans ces monuments, les piles, d'une faible section horizontale, reçoivent toute la charge, et qu'en raison même du peu de surface de leur assiette, elles doivent tasser beaucoup plus que les murs, par exemple, qui ne portent rien, puisqu'ils sont même déchargés du poids des combles et maçonneries supérieures par les formerets. Si, dans ce système, il y a une solidarité complète entre ces points d'appui chargés et les remplissages, les clôtures, les murs, qui ne le sont pas, il faudra nécessairement qu'il y ait rupture. Mais si, au contraire, les constructeurs ont eu le soin de faire que tout ce qui porte charge conserve une fonction indépendante, puisse se mouvoir, tasser librement; si les parties accessoires ne sont que des clôtures indépendantes des effets de pression ou de poussée, alors les ruptures ne peuvent se faire et les déliaisonnements sont favorables à la durée de la construction au lieu de lui être nuisibles.
Les Romains, qui n'opposaient que des résistances passives aux poussées, avaient parfaitement admis ce principe de déliaisonnement, de liberté entre les parties chargées des constructions voûtées et celles qui ne le sont pas. Les grandes salles des Thermes antiques sont en ce genre des chefs-d'oeuvre de combinaison. Tout le système consiste en des piles portant des voûtes; les murs ne sont que des clôtures faites après coup, que l'on peut enlever sans nuire en aucune façon à la solidité de l'ossature générale de la bâtisse. Ce sont là des principes très-naturels et très-simples; pourquoi donc ne les pas mettre toujours en pratique? Ces principes, les constructeurs gothiques les ont étendus beaucoup plus loin que ne l'avaient fait les Romains, parce qu'ils avaient, ainsi que nous l'avons dit bien des fois, adopté un système de construction où toute force est active, et où il n'y a point, comme dans la construction romaine, de résistances inertes agissant par leur masse compacte.
Les constructeurs du XIIe siècle, en élevant leurs grands édifices sur des plans dont les pleins couvrent peu de surface, et avec des matériaux légers; en opposant aux poussées obliques des résistances actives au lieu d'obstacles passifs, ne furent pas longtemps à s'apercevoir qu'il fallait toujours trouver quelque part cette stabilité inerte. S'ils élevaient des arc-boutants contre les parois des voûtes aux points de leur poussée, ces arcs-boutants devaient, pour remplir efficacement leur rôle, trouver une assiette immobile: cette assiette, c'étaient les contre-forts extérieurs, sortes de piles élevées en dehors des édifices et sur lesquelles venaient se résoudre toutes les poussées. Donner à ces contre-forts une section horizontale assez large pour conserver l'immobilité de leur masse à une grande hauteur, c'était encombrer le dehors des édifices de lourdes maçonneries qui interceptaient l'air, la lumière, et qui devenaient fort dispendieuses. Les constructeurs n'avaient plus la recette de ces mortiers romains, agent principal de leurs grandes constructions; les piles qu'ils eussent pu élever n'avaient pas eu la cohésion nécessaire. Il fallait donc trouver le moyen de suppléer aux résistances inertes des points d'appui romains par une force aussi puissante, mais dérivée d'un autre principe. Ce moyen, ce fut de charger les points d'appui destinés à maintenir les poussées jusqu'à ce qu'ils atteignissent une pesanteur suffisante pour résister à l'action de ces poussées. Il n'est pas besoin d'être constructeur pour savoir qu'une pile prismatique ou cylindrique, composée d'assises superposées et ayant plus de douze fois son diamètre, ne pourra se maintenir debout, si elle n'est chargée à sa partie supérieure. Cette loi de statique bien connue, les architectes gothiques crurent avoir trouvé le moyen d'élever des édifices dont les points d'appui pouvaient être grêles, à la condition de les charger d'un poids capable de les rendre assez rigides pour résister à des poussées obliques et contrariées.

En effet, supposons une pile AB (32), sollicitée par deux poussées obliques CD, EF contrariées et agissant à des hauteurs différentes: la poussée la plus forte, celle CD, étant 10, celle EF étant 4. Si nous chargeons la tête B de la pile d'un poids équivalant à 12, non-seulement la poussée CD est annulée, mais, à plus forte raison, celle DF, et la pile conservera son aplomb. Ne pouvant charger les piles des nefs d'un poids assez considérable pour annuler les poussées des grandes voûtes, les constructeurs résolurent d'opposer à la poussée CD un arc-boutant G. Dès lors, le poids BO, augmenté de la pression CD, devenant 15, par exemple, la poussée EF est annulée. Si l'arc-boutant G oppose à la poussée CD une résistance égale à cette pression oblique et la neutralise complétement, la poussée CD devient action verticale sur la pile AB, et il n'est plus besoin que de maintenir l'action oblique de l'arc-boutant sur le contre-fort extérieur. Or, si cette action oblique est par elle-même 8, elle ne s'augmente pas de la totalité de la poussée CD, mais seulement d'une faible partie de cette poussée; elle est comme 10, 12 peut-être, dans certains cas. Le contre-fort extérieur H opposant déjà, par sa propre masse, une résistance de 8, il suffira de le charger d'un poids K de 5 pour maintenir l'équilibre général de la bâtisse.
Nous nous garderons bien de résoudre ces questions d'équilibre par des formules algébriques que la pratique modifie sans cesse, en raison de la nature des matériaux employés, de leur hauteur de banc, de la qualité des mortiers, de la résistance des sols, de l'action des agents extérieurs, du plus ou moins de soin apporté dans la construction. Les formules sont bonnes pour faire ressortir la science de celui qui les donne; elles sont presque toujours inutiles au praticien: celui-ci se laisse diriger par son instinct, son expérience, ses observations et ce sentiment inné chez tout constructeur qui lui indique ce qu'il faut faire dans chaque cas particulier. Nous n'espérons pas faire des constructeurs de ceux auxquels la nature a refusé cette qualité, mais développer les instincts de ceux qui la possèdent. On n'enseigne pas le bon sens, la raison, mais on peut apprendre à se servir de l'un et à écouter l'autre.
L'étude des constructions gothiques est utile, parce qu'elle n'adopte pas ces formules absolues, toujours négligées dans l'exécution par le praticien, et dont le moindre danger est de faire accorder à l'erreur la confiance que seule doit inspirer la vérité.
Si la construction gothique n'est pas soumise à des formules absolues, elle est l'esclave de certains principes. Tous ses efforts, ses perfectionnements tendent à convertir ces principes en lois, et ce résultat, elle l'obtient. Équilibre; forces de compression opposées aux forces d'écartement; stabilité obtenue par des charges réduisant les diverses forces obliques en pesanteurs verticales; comme conséquence, réduction des sections horizontales des points d'appui: tels sont ces principes, et ce sont encore ceux de la véritable construction moderne; nous ne parlons pas de celle qui cherche aveuglément à reproduire des édifices élevés dans des conditions étrangères à notre civilisation et à nos besoins, mais de la construction que réclament nos besoins modernes, notre état social. Si les constructeurs gothiques eussent eu à leur disposition la fonte de fer en grandes pièces, ils se seraient emparés avec empressement de ce moyen sûr d'obtenir des points d'appui aussi grêles que possible et rigides, et peut-être l'auraient-ils employé avec plus d'adresse que nous. Tous leurs efforts tendent, en effet, à équilibrer les forces, et ne plus considérer les points d'appui que comme des quilles maintenues dans la verticale non par leur propre assiette, mais par la neutralisation complète de toutes les actions obliques qui viennent agir sur elles. Faisons-nous autre chose dans nos constructions particulières, dans nos grands établissements d'utilité publique, où les besoins sont si impérieux qu'ils font taire l'enseignement de la routine? Et si un fait doit nous surprendre, n'est-ce pas de voir aujourd'hui, dans la même ville, élever des maisons, des marchés, des gares, des magasins qui portent sur des quilles, couvrent des surfaces considérables, en laissant aux pleins une assiette à peine appréciable, et, en même temps, des édifices où la pierre accumulée à profusion entasse blocs sur blocs pour ne couvrir que des surfaces comparativement minimes, et ne porter que des planchers n'exerçant aucune pression oblique? Ces faits n'indiquent-ils pas que l'architecture est hors de la voie qui lui est tracée par nos besoins et notre génie moderne? Qu'elle cherche à protester vainement contre ces besoins et ce génie? Que le temps n'est pas loin où le public, gêné par un art qui prétend se soustraire à ses tendances, sous le prétexte de maintenir les traditions classiques, dont il se soucie médiocrement, rangera l'architecte parmi les archéologues bons pour enrichir nos musées et nos bibliothèques de leurs compilations savantes et amuser quelques coteries de leurs discussions stériles? Or, nous le répétons, la construction gothique, malgré ses défauts, ses erreurs, ses recherches, et peut-être à cause de tout cela, est une étude éminemment utile: elle est l'initiation la plus sûre à cet art moderne qui n'existe pas et cherche sa voie, parce qu'elle pose les véritables principes auxquels nous devons encore nous soumettre aujourd'hui, parce qu'elle a rompu avec les traditions antiques, qu'elle est féconde en applications. Peu importe qu'un clocheton soit couvert d'ornements qui ne sont pas du goût de telle ou telle école, si ce clocheton a sa raison d'être, si sa fonction est nécessaire, s'il nous permet de prendre moins de place sur la voie publique. Peu importe que l'arc brisé choque les yeux des partisans exclusifs de l'antiquité, si cet arc est plus solide, plus résistant que le plein cintre, et nous épargne un cube de pierre considérable. Peu importe qu'une colonne ait vingt, trente diamètres, si cette colonne suffit pour porter notre voûte ou notre plancher. Le beau n'est pas, dans un art tout de convention et de raisonnement, rivé éternellement à une seule forme: il peut toujours résider là où la forme n'est que l'expression du besoin satisfait, du judicieux emploi de la matière donnée. De ce que la foule ne voit dans l'architecture gothique que sa parure et que cette parure n'est plus de notre temps, est-ce une preuve que la construction de ces édifices ne puisse trouver son application? Autant vaudrait soutenir qu'un traité de géométrie ne vaut rien parce qu'il serait imprimé en caractères gothiques, et que les étudiants lisant dans ce livre «que les angles opposés au sommet sont égaux entre eux», n'apprennent qu'une sottise et se fourvoient. Or, si nous pouvons enseigner la géométrie avec des livres imprimés d'hier, nous ne pouvons faire de même pour la construction, il faut nécessairement aller chercher ses principes là où ils sont tracés, dans les monuments; et ce livre de pierre, si étranges que soient ses types ou son style, en vaut bien un autre quant au fond, quant à la pensée qui l'a dicté.
Dans aucune autre architecture nous ne trouvons ces moyens ingénieux, pratiques, de résoudre les nombreuses difficultés qui entourent le constructeur vivant au milieu d'une société dont les besoins sont compliqués à l'excès. La construction gothique n'est point, comme la construction antique, tout d'une pièce, absolue dans ses moyens; elle est souple, libre et chercheuse comme l'esprit moderne; ses principes permettent d'appliquer tous les matériaux livrés par la nature ou l'industrie en raison de leurs qualités propres; elle n'est jamais arrêtée par une difficulté, elle est ingénieuse: ce mot dit tout. Les constructeurs gothiques sont subtils, travailleurs ardents et infatigables, raisonneurs, pleins de ressources, ne s'arrêtant jamais, libres dans leurs procédés, avides de s'emparer des nouveautés, toutes qualités ou défauts qui les rangent en tête de la civilisation moderne. Ces constructeurs ne sont plus des moines assujettis à la règle ou à la tradition: ce sont des laïques qui analysent toute chose, et ne reconnaissent d'autre loi que le raisonnement. Leur faculté de raisonner s'arrête à peine devant les lois naturelles, et, s'ils sont forcés de les admettre, c'est pour les vaincre en les opposant les unes aux autres. Si c'est là un défaut, nous convient-il de le leur reprocher?
On voudra bien nous pardonner cette digression; elle est nécessaire pour faire comprendre le sens des constructions dont nous allons présenter de nombreux exemples. Connaissant les tendances, l'esprit indépendant des constructeurs gothiques, leurs travaux patients au milieu d'une société qui commençait à peine à se constituer, nos lecteurs apprécieront mieux leurs efforts et le sentiment qui les provoque. Peut-être trouveront-ils comme nous, dans ces novateurs hardis, l'audacieux génie moderne distrait, mais non étouffé par la routine et les préjugés de l'esprit de système, par des doctrines exclusives.
Nous avons vu, en commençant cet article, que si la construction romaine est de tous points excellente, sage, coordonnée, comme la constitution sociale de ce peuple, une fois trouvée, elle marchait sûrement dans la même voie, suivant invariablement les mêmes lois et employant les mêmes moyens d'exécution jusqu'à la fin du Bas-Empire. Cela était bon, cela était admirable, mais cela ne pouvait se transformer. Ce fut la force principale du peuple romain de conserver sa constitution sociale malgré les symptômes de dissolution les plus évidents. Son architecture procède de même: on voit, sous les derniers empereurs païens, l'exécution s'abâtardir, le goût dégénérer; mais la construction reste la même, l'édifice romain est toujours romain. Si ce n'est la voûte sphérique sur pendentifs qui apparaît à Byzance alors que l'empire romain touche à sa fin, nul progrès, nulle transformation, nul effort. Les Romains construisent comme les abeilles font leurs cellules: cela est merveilleux; mais les ruches d'aujourd'hui se remplissent comme les ruches du temps de Noé. Donnons aux architectes des thermes de Titus de la fonte, des fers forgés, de la tôle, du bois et du verre, et demandons-leur de faire une halle, ils nous diront qu'on ne peut rien construire avec ces matières. Le génie moderne est autre: dites-lui d'élever une salle de vingt mètres d'ouverture avec du carton, il ne vous dira pas que la chose soit impossible; il essayera, il inventera des moyens pour donner de la rigidité au carton, et nous pouvons être assurés qu'il élèvera la salle.
Le Romain trace le plan de son édifice avec un grand sens; il prend les bases nécessaires, il procède avec assurance: nulle inquiétude pendant l'exécution; il est certain du résultat prévu d'avance, il a pris toutes les précautions nécessaires, il monte sa construction avec sécurité, rien ne peut contrarier ses projets; il a su écarter toutes les éventualités, il dort tranquille pendant que son édifice s'élève sur ses bases inébranlables. Que lui manque-t-il d'ailleurs? La place? il la prend. Les matériaux? il les trouve partout: si la nature les lui refuse, il les fabrique. Les bras, les transports, l'argent? il est le maître du monde. Le Romain est un être surhumain: il a quelque chose de la grandeur mesurée que l'on prête à la Divinité; rien ne peut entraver son pouvoir. Il bâtit comme il veut, où il veut, à la place qu'il choisit, à l'aide des bras qui lui sont aveuglément soumis. Pourquoi irait-il se créer des difficultés à plaisir? Pourquoi inventerait-il des machines propres à monter les eaux des rivières à une grande hauteur, puisqu'il peut aller chercher leur source dans les montagnes et les amener dans la ville par une pente naturelle, à travers de vastes plaines? Pourquoi lutter contre l'ordre régulier des choses de ce monde, puisque ce monde, hommes et choses, est à lui?
L'erreur des premiers temps du moyen âge, ça été de croire que, dans l'état d'anarchie où la société était tombée, on pouvait refaire ce qu'avaient fait les Romains. Aussi, tant que cette époque de transition se traîne sur les traces des traditions romaines, quelle impuissance! quelle pauvreté! Mais bientôt surgit l'esprit des sociétés modernes; à ce désir vain de faire revivre une civilisation morte succède l'antagonisme entre les hommes, la lutte contre la matière. La société est morcelée, l'individu est responsable, toute autorité est contestée, parce que tous les pouvoirs se neutralisent, se combattent, sont victorieux tour à tour. On discute, on cherche, on espère. Parmi les débris de l'antiquité, ce ne sont pas les arts que l'on va exhumer, mais la philosophie, la connaissance des choses. Au XIIe siècle déjà, c'est chez les philosophes grecs que les esprits d'élite vont chercher leurs armes. Alors cette société, encore si imparfaite, si misérable, est dans le vrai; ses instincts la servent bien; elle prend aux restes du passé ce qui peut l'éclairer, la faire marcher en avant. Vainement le clergé lutte contre ces tendances; malgré tout le pouvoir dont dispose la féodalité cléricale, elle-même est entraînée dans le mouvement; elle voit naître chaque jour autour d'elle l'esprit d'examen, la discussion, la critique. D'ailleurs, à cette époque, tout ce qui tend à abaisser une puissance est soutenu par une puissance rivale. Le génie national profite habilement de ces rivalités: il se forme, il s'enhardit; matériellement dominé toujours, il se rend moralement indépendant, il suit son chemin à lui, à travers les luttes de tous ces pouvoirs trop peu éclairés encore pour exiger, de la foule intelligente qui s'élève, autre chose qu'une soumission matérielle. Bien d'autres, avant nous, ont dit, avec plus d'autorité, que l'histoire politique, l'histoire des grands pouvoirs, telle qu'on la faisait autrefois, ne présente qu'une face étroite de l'histoire des nations; et d'illustres auteurs ont en effet, de notre temps, montré qu'on ne peut connaître la vie des peuples, leurs développements, les causes de leurs transformations et de leurs progrès, qu'en fouillant dans leur propre sein. Mais ce qu'on n'a point fait encore, c'est l'histoire de ces membres vivaces, actifs, intelligents, étrangers à la politique, aux guerres, au trafic; qui, vers le milieu du moyen âge, ont pris une si grande place dans le pays; de ces artistes ou artisans, si l'on veut, constitués en corporations; obtenant des priviléges étendus par le besoin qu'on avait d'eux et les services qu'ils rendaient; travaillant en silence, non plus sous les voûtes des cloîtres, mais dans l'atelier; vendant leur labeur matériel, mais conservant leur génie indépendant, novateur; se tenant étroitement unis et marchant tous ensemble vers le progrès, au milieu de cette société qui se sert de leur intelligence et de leurs mains, sans comprendre l'esprit libéral qui les anime.
Que d'autres entreprennent une tâche tracée seulement ici par nous: elle est belle et faite pour exciter les sympathies; elle embrasse des questions de l'ordre le plus élevé; elle éclairerait peut-être certains problèmes posés de nos jours et qui préoccupent, non sans cause, les esprits clairvoyants. Bien connaître le passé est, nous le croyons, le meilleur moyen de préparer l'avenir; et de toutes les classes de la société, celle dont les idées, les tendances, les goûts varient le moins, est certainement la classe laborieuse, celle qui produit. En France, cette classe demande plus ou autre chose que son pain de chaque jour: elle demande des satisfactions d'amour-propre; elle demande à conserver son individualité; elle veut des difficultés à résoudre, car son intelligence est encore plus active que ses bras. S'il faut l'occuper matériellement, il faut aussi l'occuper moralement; elle veut comprendre ce qu'elle fait, pourquoi elle le fait, et qu'on lui sache gré de ce qu'elle a fait. Tout le monde admet que cet esprit règne parmi nos soldats, et assure leur prépondérance: pourquoi donc ne pas reconnaître qu'il réside chez nos artisans? Pour ne parler que des bâtiments, la main-d'oeuvre a décliné chez nous aux époques où l'on a prétendu soumettre le labeur individuel à je ne sais quelles règles classiques établies par un pouvoir absolu. Or, quand la main-d'oeuvre décline, les crises sociales ne se font guère attendre en France. De toutes les industries, celle des bâtiments occupe certainement le plus grand nombre de bras, et demande, de la part de chacun, un degré d'intelligence assez élevé. Maçons, tailleurs de pierre, chaufourniers, charpentiers, menuisiers, serruriers, couvreurs, peintres, sculpteurs, ébénistes, tapissiers, et les subdivisions de ces divers états, forment une armée innombrable d'ouvriers et d'artisans agissant sous une direction unique, très-disposés à la subir et même à la seconder lorsqu'elle est éclairée, mais bientôt indisciplinée lorsque cette direction est opposée à son génie propre. Nos ouvriers, nos artisans n'écoutent et ne suivent que ceux qui peuvent dire où ils vont et ce qu'ils veulent. Le POURQUOI? est perpétuellement dans leur bouche ou dans leurs regards; et il n'est pas besoin d'être resté longtemps au milieu des ouvriers de bâtiments, pour savoir avec quelle indifférence railleuse ils travaillent aux choses dont ils ne comprennent pas la raison d'être, avec quelle préoccupation ils exécutent les ouvrages dont ils entrevoient l'utilité pratique. Un tailleur de pierre ne travaille pas le morceau qu'il sait devoir être caché dans un massif avec le soin qu'il met à tailler la pierre vue, dont il connaît la fonction utile. Toutes les recommandations du maître de l'oeuvre ne peuvent rien contre ce sentiment. C'est peut-être un mal, mais c'est un fait facile à constater dans les chantiers. Le paraître est la faiblesse commune en France; ne pouvant la vaincre, il faut s'en servir. On veut que nous soyons Latins, par la langue peut-être; par les moeurs et les goûts, par le caractère et le génie, nous ne le sommes nullement, pas plus aujourd'hui qu'au XII siècle. La coopération à l'oeuvre commune est active, dévouée, intelligente en France, lorsqu'on sait que cette coopération, telle faible qu'elle soit, sera apparente, et par conséquent appréciée; elle est molle, paresseuse, négligée, lorsqu'on la suppose perdue dans la masse générale. Nous prions nos lecteurs de bien se pénétrer de cet esprit national, trop longtemps méconnu, pour comprendre le sens des exemples que nous allons successivement faire passer sous leurs yeux.
Pour se familiariser avec un art dont les ressources et les moyens pratiques ont été oubliés, il faut d'abord entrer dans l'esprit et les sentiments intimes de ceux auxquels cet art appartient. Alors tout se déduit naturellement, tout se tient, le but apparaît clairement. Nous ne prétendons, d'ailleurs, dissimuler aucun des défauts des systèmes présentés; ce n'est pas un plaidoyer en faveur de la construction gothique que nous faisons, c'est un simple exposé des principes et de leurs conséquences. Si nous sommes bien compris, il n'est pas un architecte sensé qui, après nous avoir lu avec quelque attention, ne reconnaisse l'inutilité, pour ne pas dire plus, des imitations de l'art gothique, mais qui ne comprenne en même temps le parti que l'on peut tirer de l'étude sérieuse de cet art, les innombrables ressources que présente cette étude, si intimement liée à notre génie.
Nous allons poursuivre l'examen des grandes constructions religieuses, d'abord parce que ce sont les plus importantes, puis parce qu'elles se développent rapidement à la fin du XIIe siècle, et que les principes en vertu desquels ces édifices s'élèvent sont applicables à toute autre construction. Nous connaissons maintenant les phases successives par lesquelles la construction des édifices voûtés avaient dû passer pour arriver du système romain au système gothique; en d'autres termes, du système des résistances passives au système des résistances actives. De 1150 à 1200, on construisait, dans le domaine royal, dans le Beauvoisis et la Champagne, les grandes églises de Notre-Dame de Paris, de Mantes, de Senlis, de Noyon, de Saint-Remy de Reims (choeur), de Sens et de Notre-Dame de Châlons-sur-Marne, toutes d'après les nouveaux principes adoptés par l'école laïque de cette époque, toutes ayant conservé une stabilité parfaite dans leurs oeuvres principales.
Note 1: (retour) C'est dans la nef de l'église de Vézelay qu'il faut constater l'abandon du système romain. Là les voûtes hautes d'arêtes, sur plan barlong, sont déjà des pénétrations d'ellipsoïdes, avec arcs doubleaux saillants et formerets.
Note 2: (retour) Il faut dire ici que l'architecture bourguignonne était en retard de vingt-cinq ans au moins sur celle de l'Île-de-France; mais les monuments de transition nous manquent dans l'Île-de-France. L'église de Saint-Denis, élevée vers 1140, est déjà presque gothique comme système de construction, et les édifices intermédiaires entre celui-ci et ceux franchement romans n'existent plus ou ont été presque entièrement modifiés au XIIIe siècle.
Note 3: (retour) Église de Nesle (Oise).
Note 4: (retour) Ces voûtes furent refaites, au XIIIe siècle, sur la grande nef, sauf les formerets primitifs laissés en place.
Note 5: (retour) Ces formerets furent rehaussés à la fin du XIIIe siècle, ainsi qu'on peut encore le reconnaître dans les travées de l'abside.
VOÛTES.--En toute chose, l'expérience, la pratique précèdent la théorie,
le fait précède la loi; mais lorsque la loi est connue, elle sert à
expliquer le fait. On observe que tous les corps sont pesants et qu'une
force les attire vers le centre du globe. On ne sait rien encore de la
pesanteur de l'atmosphère, de la force d'attraction, de la forme de la
terre; on sait seulement que tout corps grave, abandonné à lui-même, est
attiré verticalement vers le sol. De l'observation du fait, on déduit
des préceptes; que ces préceptes soient vrais ou faux, cela ne change
rien à la nature du fait ni à ses effets reconnus. Les constructeurs du
XIIe siècle n'avaient point défini les lois auxquelles sont soumis les
voussoirs d'un arc, savoir: leur poids et les réactions des deux
voussoirs voisins. Nous savons aujourd'hui, par la théorie, que si l'on
cherche sur chaque lit de ces voussoirs le point de passage de la
résultante des pressions qui s'y exercent, et que si l'on fait passer
une ligne par tous ces points, on détermine une courbe nommée courbe
des pressions. Nous découvrons encore, à l'aide du calcul algébrique,
que si l'on veut que l'équilibre des voussoirs d'un arc soit parfait, il
faut que cette courbe des pressions, dont le premier élément à la clef
est horizontal si l'arc est plein cintre, ne sorte sur aucun point des
lignes d'intrados et d'extrados de cet arc. Cette courbe des pressions,
prolongée en contre-bas de l'arc, lorsqu'il est porté sur des piles,
détermine ce qu'on appelle la poussée: donc, plus l'arc se rapproche,
dans son développement, de la ligne horizontale, plus cette poussée
s'éloigne de la verticale; plus l'arc s'éloigne de la ligne horizontale,
plus la poussée se rapproche de la verticale. Les constructeurs
gothiques n'avaient que l'instinct de cette théorie. Peut-être
possédaient-ils quelques-unes de ces formules mécaniques que l'on trouve
encore indiquées dans les auteurs de la renaissance qui ont traité de
ces matières et qu'ils ne donnent point comme des découvertes de leur
temps, mais au contraire comme des traditions bonnes à suivre.
Relativement aux poussées des arcs, par exemple, on se servait encore,
au XVIe siècle, d'une formule géométrique très-simple pour apprécier la
force à donner aux culées.
Voici (32 bis) cette formule: soit un arc ayant comme diamètre AB, quelle devra être, en raison de la nature de cet arc, l'épaisseur des piles capables de résister à sa poussée? Nous divisons le demi-cercle ou le tiers-point en trois parties égales ADCB; du point B, comme centre, nous décrivons une portion de cercle prenant BC pour rayon. Nous faisons passer une ligne prolongée par les points C et B; son point de rencontre E avec la portion de cercle, dont B est le centre, donnera le parement extérieur de la pile dont l'épaisseur sera égale à GH. Si nous procédons de la même manière sur des arcs en tiers-point, les divisant toujours en trois parties égales, nous obtiendrons des culées d'autant moins épaisses, que ces arcs seront plus aigus, ainsi que le fait voir notre figure. Il est entendu que ce procédé n'est applicable qu'autant que les arcs sont montés sur des pieds-droits d'une hauteur égale pour ces arcs différents et qui n'ont pas plus d'une fois et demie le diamètre ou la base de ces arcs. Il est probable que les architectes gothiques primitifs s'étaient fait des règles très-simples pour les cas ordinaires; mais il est certain qu'ils s'en rapportaient à leur seul jugement toutes les fois qu'ils avaient quelque difficulté nouvelle à résoudre. Comme s'ils eussent défini les lois des pressions des arcs, ils s'arrangèrent pour concentrer sur le parcours de ces lignes de pression les matériaux résistants, et, conduisant ainsi les poussées du sommet des voûtes sur le sol, ils arrivèrent successivement à considérer tout ce qui était en dehors comme inutile et à le supprimer.

Nous voulons être compris de tout le monde: nous ne nous en tiendrons
donc pas aux définitions. Nous prenons un exemple. Soit (33) une voûte
romaine en berceau plein cintre; soit AB la courbe de pression des
voussoirs, BC la poussée; si le mur qui supporte ce berceau a la hauteur
FD, son épaisseur devra être CD. Toute la charge oblique de la voûte se
portant sur le point C, à quoi sert le triangle de constructions EDF?
Supposons maintenant que nous ayons une voûte gothique (34) en arcs
d'ogive: la résultante des trois pressions obliques BA, CA, DA, en plan,
se résoudra en une ligne AE; en coupe, en une ligne GH. Le sentiment du
constructeur lui indiquant ce principe, il fera toute sa construction
d'appareil en décharge; c'est-à-dire que, retraitant le point d'appui
vertical IO, il posera un chapiteau M dont la saillie épousera la
direction de la poussée GH. En O, il aura encore un corbeau et en I un
chapiteau en décharge, de manière à rapprocher autant que possible l'axe
P de la colonne inférieure du point H, point d'arrivée de la poussée GH.
Mais, étant forcé, dans les édifices à trois nefs, de laisser ce point H
en dehors de l'axe P de la colonne, il ne considère plus celle-ci que
comme un point d'appui qu'il faut maintenir dans la verticale par
l'équilibre. Il annule donc tout effet latéral en construisant
l'arc-boutant K. Mais, objectera-t-on, pourquoi conserver un appareil en
décharge du moment que la poussée de la grande voûte est neutralisée par
la pression de l'arc-boutant? C'est là où perce la subtilité du
constructeur. Cette poussée GH est neutralisée, mais elle existe; c'est
une force combattue, mais non supprimée. L'arc-boutant arrête les effets
de cette poussée; c'est son unique fonction: il ne soutire pas cette
action oblique. N'oublions pas qu'il existe une voûte inférieure L dont
la poussée ne peut avoir d'action que sur la colonne P, et que cette
poussée ne peut être supprimée que par la charge verticale exercée par
la construction de R en S; que cette charge verticale aura d'autant plus
de puissance qu'elle sera augmentée de la poussée de la grande voûte, et
que la rencontre de ces deux forces verticales et obliques se faisant en
S en un seul point sur le chapiteau, elle viendra précisément
contre-butter la poussée exercée par LS. Définir ces actions par des
calculs serait un travail en pure perte, car ces calculs devraient
varier à l'infini en raison des hauteurs ou des largeurs des vides, des
épaisseurs des pleins, de la qualité des matériaux, de leur résistance,
des hauteurs d'assises, etc. Mais toujours le sentiment humain,
lorsqu'il est aiguisé, est plus subtil que le calcul; de même qu'il
n'est pas de machine, si parfaite qu'elle soit, qui atteigne la
délicatesse de la main et la sûreté du coup d'oeil. Dans ce cas, le
sentiment des premiers constructeurs gothiques les servait bien: car
toutes les nefs élevées sur des colonnes monocylindriques, disposées
ainsi que l'indique notre coupe (fig. 34), se sont rarement déformées
d'une manière sensible; tandis que la plupart de celles où les piles,
composées de faisceaux de colonnettes engagées, montent de fond, se sont
courbées plus ou moins au droit de la poussée des voûtes inférieures.
Mais nous aurons l'occasion de revenir plus tard là-dessus.
Ce premier point éclairci, venons maintenant aux détails de l'exécution; cela est nécessaire. La construction gothique procède (s'il est permis de se servir de cette comparaison) d'un système organique beaucoup plus compliqué que celui de la construction romaine. «Tant pis, disent les uns, c'est une marque d'infériorité.»--«Tant mieux, disent les autres, c'est une preuve de progrès.» Progrès ou décadence, c'est un fait qu'il nous faut reconnaître et étudier. Déjà notre fig. 34 fait voir que la combinaison au moyen de laquelle les poussées des voûtes sont maintenues dans la construction gothique primitive n'est rien moins que simple. Or, toute construction partant d'un principe compliqué entraîne une suite de conséquences qui ne sauraient être simples. Rien n'est impérieusement logique comme une bâtisse élevée par des hommes raisonnant ce qu'ils font; nous allons le reconnaître tout à l'heure. Le choeur de Saint-Remy de Reims fut rebâti vers 1160, au moment où on construisait celui de la cathédrale de Paris. Cette construction, très-habilement conçue dans son ensemble, ne montre dans les détails qu'une suite de tâtonnements; ce qui indique une école avancée déjà théoriquement, mais fort peu expérimentée quant à l'exécution. Les principes de pondération et d'équilibre que nous avons tracés plus haut y sont appliqués avec rigueur; mais évidemment les bras et les chefs de chantier manquaient à ces premiers architectes gothiques; ils n'avaient eu ni le temps ni le moyen de former des ouvriers habiles; on ne les comprenait pas. Au surplus, le choeur de Saint-Remy de Reims dut exciter avec raison l'admiration des constructeurs de la fin du XIIe siècle, car les méthodes adoptées là sont suivies en Champagne à cette époque, et notamment dans la reconstruction du choeur de l'église Notre-Dame de Châlons-sur-Marne.
Mais d'abord traçons en quelques mots l'histoire de ce charmant édifice. L'église de Châlons-sur-Marne fut bâtie pendant les premières années du XIIe siècle: elle se composait alors d'une nef avec bas-côtés; la nef était couverte probablement par une charpente portée sur des arcs doubleaux, comme beaucoup d'églises de cette époque et de la Champagne; les collatéraux étaient voûtés au moyen d'arcs doubleaux séparant des voûtes d'arêtes romaines. Le choeur se composait d'une abside sans bas-côtés avec deux chapelles carrées s'ouvrant dans les transsepts, sous deux clochers, ainsi que la cathédrale de la même ville. Vers la fin du XIIe siècle (quoique ce monument fût élevé dans d'excellentes conditions et que rien ne fasse supposer qu'il eût souffert), ces dispositions n'étaient plus en harmonie avec les idées du temps: on voulait alors des nefs voûtées, des collatéraux et des chapelles rayonnantes autour du sanctuaire. On fit donc subir à cette église un remaniement complet: le mur circulaire de l'abside fut remplacé par des colonnes isolées; on éleva un bas-côté donnant issue dans trois chapelles ou absidioles circulaires; on conserva les deux clochers qui flanquaient l'abside, mais on creva le mur du fond des chapelles carrées disposées sous ces tours, et elles servirent de communication avec le bas-côté du chevet. La nef fut surélevée et complétement voûtée; à la place des voûtes romaines des bas-côtés, on fit des voûtes en arcs d'ogive. Quelques chapiteaux provenant des démolitions furent replacés, notamment dans le collatéral de l'abside. Cet historique sommaire fait voir combien, alors, on était disposé à profiter de toutes les ressources que présentait le nouveau système d'architecture à peine ébauché. La construction de l'abside de l'église Notre-Dame de Châlons-sur-Marne est de très-peu postérieure à celle du choeur de Saint-Remy de Reims, mais déjà elle est plus savante; on y sent encore bien des tâtonnements, et cependant le progrès est sensible.
Nous devons ici reprendre les choses de plus haut. Nous avons décrit la voûte d'arête simple élevée entre des murs parallèles, et nous avons indiqué les premiers efforts des architectes pour la construire et la maintenir sur ses piles. Il nous faut revenir sur nos pas et examiner les variétés de ces voûtes.
Dès le XIe siècle, on avait entouré déjà les sanctuaires des églises de collatéraux avec ou sans chapelles rayonnantes (voy. ARCHITECTURE RELIGIEUSE). Cette méthode, étrangère au plan de la basilique primitive, avait causé aux constructeurs plus d'un embarras. L'antiquité romaine ne laissait rien de pareil. Certainement les Romains avaient fait des portiques sur plan circulaire; mais ces portiques (s'ils étaient voûtés) se composaient de piles épaisses supportant un berceau dans lequel pénétraient des demi-cylindres formant les voûtes d'arêtes, ou une suite de berceaux rayonnants posés sur des arcs ou même des plates-bandes appareillées, ainsi qu'on le voit encore dans les arènes de Nîmes. Mais les Romains n'avaient point eu l'idée de poser des voûtes d'arêtes sur des portiques formés de colonnes monocylindriques isolées, car cela ne pouvait s'accorder avec leur système de stabilité inerte. Ce que les Romains n'avaient point fait, en cela comme en beaucoup d'autres choses, les constructeurs de l'époque romane le tentèrent. Ils voulurent entourer les sanctuaires de leurs églises de portiques ou bas-côtés concentriques à la courbe de l'abside, et ajourer autant que possible ces portiques en supportant par des colonnes isolées les voûtes qui les devaient couvrir. Primitivement, comme par exemple dans les églises de l'Auvergne et du Poitou, ils se contentèrent d'un berceau sur plan circulaire, pénétré par les arcs bandés d'une colonne à l'autre. Pour contre-butter la poussée de ces berceaux à l'intérieur, ils comptèrent d'abord sur la charge qui pesait sur les colonnes, puis sur la forme circulaire de l'abside, qui opposait à ces poussées une grande résistance. Ainsi sont voûtés les collatéraux des absides des églises de Notre-Dame-du-Port à Clermont, d'Issoire, de Saint-Nectaire, de Saint-Savin près Poitiers, etc. La figure 35 explique ce mode sans qu'il soit nécessaire de plus grands développements 6.

Mais lorsque, pendant le XIIe siècle, les constructeurs eurent introduit le système de voûtes en arcs d'ogive, ils voulurent naturellement l'appliquer partout, et ne pensèrent pas, avec raison, qu'il fût possible de conserver dans le même édifice le mode des voûtes d'arêtes romaines à côté du nouveau système. Autant il était facile de poser sur le tailloir barlong des chapiteaux A les sommiers B taillés de façon à recevoir une voûte d'arête simple, autant cela devenait difficile lorsque la voûte d'arête comportait des arcs doubleaux et des arcs ogives. Cette difficulté n'était pas la seule.

Si nous nous représentons une tranche du plan de l'abside de l'église de Notre-Dame-du-Port avec son collatéral (36), nous voyons que les pénétrations des demi-cylindres A et B dans le berceau circulaire CC' donnent en projection horizontale les deux lignes croisées EF, GH. Observons que, le portique étant sur plan circulaire, l'ouverture HF est plus grande que l'ouverture EG; que si nous élevions un plein cintre sur HF et un autre sur EG, ce dernier aurait sa clef beaucoup plus bas que le premier; que la pénétration du demi-cylindre dont le diamètre est EG dans le berceau circulaire CC' tracerait en projection horizontale la ligne E'LG', et que, par conséquent, il n'y aurait pas voûte d'arête, mais simplement pénétration d'un petit cylindre dans un grand. Pour obtenir une voûte d'arête EFGH, les constructeurs ont donc relevé le plein cintre tracé sur EG, ainsi que l'indique le rabattement IKM, en prenant une flèche NM égale à la flèche OP. Ainsi, les tailloirs des quatre colonnes accolées et isolées RSTV étant au même niveau, les deux clefs MP se trouvaient sur la même ligne horizontale, laquelle commandait la longueur de la flèche du berceau CC'. L'idée de surélever les pleins cintres bandés sur les colonnes isolées TV n'était donc pas un caprice, une fantaisie de barbares, encore moins une imitation orientale, comme on l'a quelquefois prétendu, mais le résultat d'un calcul bien simple de constructeur.
Ce premier pas fait, voyons maintenant comment les architectes du XIIe siècle, inaugurant la voûte en arcs d'ogive sur plan circulaire, essayèrent d'aller plus loin. N'oublions pas qu'un des motifs qui avaient fait adopter la voûte en arcs d'ogive, c'était le désir de s'affranchir de certaines nécessités gênantes imposées par la voûte d'arête antique, le besoin d'indépendance qu'éprouvaient les constructeurs. Mais l'indépendance, en construction comme en toute chose, ne s'acquiert qu'à la suite de tentatives avortées. Les architectes du XIIe siècle sentaient bien que leurs principes étaient fertiles en application, qu'ils les conduiraient à surmonter sans effort les difficultés de la construction des grands édifices: toutefois, comme il arrive toujours, ces principes, à la fois si simples et si souples, les embarrassaient cruellement dans l'application immédiate; pour y rester fidèles, ils compliquaient leurs constructions, ils ne pouvaient se débarrasser totalement des vieilles traditions, et, voulant les concilier avec leurs nouvelles idées, ils tombaient dans des difficultés infinies. Loin de se décourager cependant, ils s'attachaient, après chaque tentative, à ces idées nouvelles avec l'ardeur et la persistance de gens convaincus. Nous allons les voir à l'oeuvre dans la cathédrale de Langres, l'un des monuments les plus fertiles en enseignements de la France, et certainement l'un des mieux construits. Là, les traditions antiques ont une puissance considérable; Langres est une ville romaine dans un pays couvert, il y a quelques siècles encore, de nombreux édifices romains à peu près intacts. Arrivons au fait qui nous occupe particulièrement, aux voûtes en arcs d'ogive bandées sur le collatéral du sanctuaire.

La colonne monocylindrique, qui, même dans les édifices purement gothiques, persista si tard, est employée dans le choeur de la cathédrale de Langres. Ces colonnes ont les proportions de la colonne corinthienne romaine, et leur chapiteau est quasi-romain; mais (37) leur tailloir est déjà disposé en vue de ce qu'il doit porter: deux de ses côtés ne sont point parallèles, et forment coin afin d'éviter les surfaces gauches à l'intrados des archivoltes A qu'ils portent; du côté du collatéral, ce tailloir donne une ligne brisée pour offrir un point d'appui saillant à l'arc doubleau B. En X, nous donnons la projection horizontale de ces tailloirs. Sentant la nécessité de dégager les arcs doubleaux, de laisser une place à la naissance des arcs ogives, et craignant l'action de la poussée des voûtes sur les colonnes, malgré la forme circulaire de l'abside, l'architecte a surmonté ce tailloir d'une saillie en encorbellement C. Ainsi que le fait voir notre figure, les arcs ogives D trouvent difficilement leur naissance; cependant l'instinct de l'artiste lui a fait orner cette naissance afin de dissimuler sa maigreur. Il y a trois sommiers l'un sur l'autre: les deux premiers EF ont leurs lits horizontaux, le troisième G porte les coupes normales aux courbes des arcs. Alors ces arcs parviennent, non sans peine, à se dégager du plan carré; et même l'arc ogive doit s'incruster entre les claveaux des archivoltes et arcs doubleaux. Mais le constructeur veut déjà doubler son archivolte A d'un second arc I qui vient pénétrer l'arc ogive, car le mur qui surmonte ces archivoltes est épais; il porte une voûte en cul-de-four. Ce n'est donc qu'au-dessus de l'arc ogive et lorsque celui-ci se dégage des sommiers que l'on a pu bander ce second arc I. Ce n'est pas tout: ces voûtes étant rayonnantes, l'architecte a tracé ses arcs ogives en projection horizontale, ainsi que l'indique la figure 38; la surface KLMN étant un trapèze, et le constructeur ne supposant pas encore qu'il fût possible de tracer des arcs ogives formant, en projection horizontale, des lignes brisées, la clef O est plus rapprochée de la ligne MN que de la ligne KL. L'arc KL ayant son sommet à un niveau plus élevé que celui de l'arc MN (car on n'a pas osé surélever celui-ci), la ligne RS est inclinée de R en S.

Notre fig. 37 fait assez comprendre cette disposition, et la coupe (39) l'explique mieux encore. D'ailleurs, une construction de ce genre, soit qu'elle eût été préconçue, soit qu'elle eût été donnée par le hasard, présentait des avantages: elle permettait de faire plonger les jours pris sous les formerets des voûtes des collatéraux au milieu du sanctuaire; elle ne perdait pas inutilement la hauteur du rampant du comble A; l'inclinaison de ce comble et celle de la voûte donnaient la place de la galerie B; de plus, elle offrait une grande résistance, en ce qu'elle reportait une partie considérable des charges et poussées sur le demi-cylindre intérieur qui, formant voûte, ne risquait pas de se séparer par tranches et de s'écarter du centre. À Notre-Dame-du-Port, les tailloirs des chapiteaux (fig. 36) donnent des parallélogrammes en plan, de manière à offrir une assiette assez épaisse au mur du sanctuaire; il en résulte que les arcs surélevés sur ces tailloirs présentent des surfaces gauches et des cônes plutôt que des demi-cylindres. À la cathédrale de Langres, les tailloirs des chapiteaux sont tracés, ainsi que nous l'avons fait observer, en forme de coins, afin de conserver à l'intrados des archivoltes des surfaces courbes qui sont exactement des portions de cylindres. On évitait ainsi une difficulté d'appareil et des surfaces gauches désagréables pour l'oeil, mais les tailloirs en forme de coins rendaient les chapiteaux disgracieux: vus parallèlement aux diagonales, ils donnaient, du côté du collatéral, un angle plus saillant que du côté du sanctuaire. Les architectes de l'école gothique s'affranchirent bientôt de ces embarras et surent éviter ces difficultés.
Nos lecteurs vont voir tout à l'heure pourquoi nous nous sommes étendu sur le tracé et la manière de construire les voûtes rayonnantes des collatéraux des absides. Encore un mot avant d'en venir aux perfectionnements introduits par les architectes gothiques. Ceux-ci, dans l'origine, avaient adopté deux méthodes pour neutraliser la poussée des voûtes: la première méthode était celle qui consistait à contenir les effets de ces poussées par une force agissant en sens inverse; la seconde, que l'on pourrait appeler la méthode préventive, consistait à détruire ces effets dès leur origine, c'est-à-dire à les empêcher d'agir. Ils employaient donc l'une ou l'autre de ces deux méthodes en raison du besoin: tantôt ils profitaient des effets des poussées, sans pourtant leur permettre de détruire l'équilibre général, ainsi que nous l'avons vu fig. 34; tantôt ils les annulaient et les réduisaient immédiatement en pression verticale.

Un tracé très-simple fera comprendre l'application des deux méthodes. Soit (40) une voûte dont la résultante des poussées est la ligne AB, nous pouvons établir une construction telle que la donne notre tracé. En supposant les pierres CD d'un seul morceau chacune, résistantes et engagées à la queue sous le contre-fort, cette construction sera plus solide que si nous avions élevé une pile de fond EA sous les sommiers de la voûte. Dans ce figuré, nous profitons des effets de la poussée AB, nous la soutirons suivant sa direction. L'arc-boutant G et son massif ne sont là que pour empêcher la voûte de s'écarter suivant une ligne horizontale. Remarquons, en passant, que l'arc-boutant ne charge pas la pile X et qu'il ne fait que contre-presser la voûte au point où la courbe des pressions tend à sortir de l'extrados des voussoirs. C'est la méthode contenant les effets de la poussée, mais s'en servant comme d'un élément d'équilibre. Soit maintenant (40 bis) une voûte dont la résultante des poussées est la ligne AB. Si, au lieu d'un arc-boutant, nous opposons à la poussée AB une poussée moins puissante CD, et que nous placions un poids E en charge sur les sommiers des deux voûtes, nous réduisons les poussées obliques en une pesanteur verticale, nous en prévenons les effets, elles n'agissent pas. C'est ce que nous appelons la méthode préventive.

Il y a donc ceci de très-subtil dans ces constructions: 1º que l'arc-boutant est simplement un obstacle opposé, non point aux pressions obliques, mais à leurs effets, si l'équilibre venait à se déranger; 2º qu'il permet au constructeur de profiter de ces pressions obliques dans son système général, sans craindre de voir l'économie de ce système dérangée par un commencement d'action en dehors de l'équilibre. Mais toute l'attention des constructeurs, par cela même, se porte sur la parfaite stabilité des contre-forts recevant les poussées des arcs-boutants, car l'équilibre des forces des diverses parties de l'édifice dépend de la stabilité des culées extérieures. Cependant les architectes ne veulent ou ne peuvent souvent donner à ces culées une épaisseur suffisante en raison de leur hauteur; il faut donc les rendre fixes par des moyens factices. Nous avons un exemple de l'emploi de ces moyens dans l'église même de Saint-Remy de Reims, plus franchement accusé encore dans le choeur de l'église de Notre-Dame de Châlons, auquel nous revenons.

Nous présentons d'abord (41) le plan d'une travée de cette abside, en A à rez-de-chaussée, en B à la hauteur de la galerie voûtée du premier étage, en C à la hauteur du triforium et en D à la hauteur des naissances des voûtes. On voit, sur le plan du rez-de-chaussée, comment l'architecte s'est épargné l'embarras de construire une voûte en arcs d'ogive sur un trapèze. Il a posé à l'entrée des chapelles des colonnes E qui lui ont permis de tracer une voûte EFG sur un parallélogramme. Dès lors, l'arc doubleau EH est semblable, comme hauteur et ouverture, à l'arc doubleau FI, et la ligne de clef IH des remplissages triangulaires n'est point inclinée, comme à Langres, de l'extérieur à l'intérieur. De E en K, un second arc doubleau réunit la colonne E à la pile K, et il reste un triangle KEF facile à voûter, puisqu'il n'est qu'une portion de remplissage ordinaire. La méthode est la même à Saint-Remy de Reims, mais beaucoup moins bien appliquée. On voit que ces plans supérieurs posent exactement sur le rez-de-chaussée, si ce n'est quelque porte-à-faux dont tout à l'heure nous reconnaîtrons la nécessité.
Il est, dans la construction du choeur de Notre-Dame de Châlons, un fait important, en ce qu'il indique les efforts tentés par le maître de l'oeuvre pour s'affranchir de certaines difficultés qui embarrassaient fort ses confrères à la fin du XIIe siècle. On observera que le plan du sanctuaire donne des pans coupés à l'intérieur et une courbe demi-circulaire à l'extérieur. Ainsi les archivoltes inférieures L réunissant les grosses colonnes du rez-de-chaussée sont bandées sur les côtés d'un dodécagone, tandis que les archivoltes de la galerie du premier étage sont sur plan rectiligne sur le sanctuaire, et sur plan courbe sur la galerie; le mur extérieur de cette galerie est bâti également sur plan semi-circulaire, et le triforium (plan C) est sur plan rectiligne à l'intérieur, sur plan courbe à l'extérieur. Il en est de même des fenêtres supérieures (plan D). L'architecte avait voulu éviter les embarras que donne la construction d'archivoltes ou d'arcs doubleaux sur un plan demi-circulaire d'un assez faible rayon. Il craignait les poussées au vide, et, conservant seulement le plan circulaire à l'extérieur en l'amenant au dodécagone à l'intérieur, il réunissait assez habilement les avantages des deux systèmes: c'est-à-dire les grandes lignes de murs et bandeaux concentriques, une disposition simple au dehors et une grande solidité jointe à un effet satisfaisant dans le sanctuaire; car les arcs percés dans un mur sur plan circulaire d'un petit diamètre produisent toujours à l'oeil des ligne fort désagréables.

Une vue perspective (42) du collatéral avec l'entrée d'une chapelle rendra le plan du rez-de-chaussée facile à comprendre pour tous, et en indique la construction. Les colonnes isolées des chapelles sont des monolithes de 0,30 c. de diamètre au plus; le reste de la construction, sauf les colonnettes des arêtiers des chapelles et celles des fenêtres, est monté par assises.

Nous donnons maintenant (43) la coupe de cette construction jusqu'aux voûtes suivant la ligne MN du plan. Cette coupe nous fait voir en A, conformément à la méthode alors appliquée dans l'Île-de-France et les provinces voisines, les colonnes monocylindriques marquées en O sur le plan; en B l'archivolte et l'arrachement des voûtes du bas-côté. Les églises importantes de cette époque et de cette province possèdent toutes une galerie de premier étage voûtée (voy. ARCHITECTURE RELIGIEUSE, CATHÉDRALE, ÉGLISE). Ici, la voûte est rampante, comme celle du bas-côté de la cathédrale de Langres, et ce n'est pas sans motifs (voy. le plan B, fig. 41.). En effet, le formeret C, étant plus large à la base que l'archivolte D, monte sa clef plus haut, ce qui permet d'ouvrir de grands jours propres à éclairer le choeur. Le triforium E, occupant un espace assez considérable entre la clef des archivoltes de la galerie de premier étage et l'appui des fenêtres supérieures, permet d'établir un comble F sur cette galerie avec pente suffisante, malgré l'inclinaison de la voûte G. Examinons cette coupe avec attention. Nous voyons que le tailloir du chapiteau de la pile A reçoit en encorbellement la base de la colonne H qui porte la nervure de la voûte; cette colonnette et les deux autres qui la flanquent et portent les formerets ne font pas corps avec la bâtisse (voy. le plan), mais sont composées de grands morceaux de pierre posés en délit. Il en est de même des colonnettes adossées de la galerie et de la colonne engagée I. Ainsi la pile à la hauteur de la galerie est un parallélépipède composé d'assises et entouré de colonnes en délit comme de chandelles de charpente, afin d'obtenir du roide sous les charges et poussées supérieures. Il en est de même pour ces piles à la hauteur du triforium E (voy. le plan): le noyau est monté en assises, et les colonnettes qui l'entourent sur trois côtés sont posées en délit. Les grandes colonnettes de tête sont reliées par des bandeaux, formant bagues, au corps de la construction, par leur base et le chapiteau K sous les sommiers. Pour maintenir ce quillage, il fallait avoir recours aux arcs-boutants. On voit, dans le plan du rez-de-chaussée (fig. 41.), que l'architecte, voulant ouvrir ses chapelles autant que possible, n'avait fait en arrière de la pile de tête K qu'une cloison de pierre fort légère. Il ne pouvait élever sur cette cloison une culée pleine; aussi avait-il contre-butté les voûtes de la galerie du premier étage par un premier arc-boutant L (voy. la coupe), reportant cette poussée sur la culée éloignée du mur de la galerie. Mais l'espace lui manquait à l'extérieur, et il ne voulait pas que la saillie des contre-forts dépassât la ligne circulaire enveloppant les chapelles. Cette culée était donc assez peu profonde et hors d'état de résister à la poussée du grand arc-boutant. Au lieu donc de faire naître le grand arc-boutant à l'aplomb du parement M, le constructeur a avancé cette naissance en O. Il obtenait ainsi de O en P une culée puissante, et s'il chargeait les reins de l'arc-boutant inférieur L, celui-ci était rendu très-résistant d'abord par la largeur extraordinaire qui lui est donnée, ensuite par la charge supérieure R qui pèse sur sa culée. De plus, pour éviter l'effet des poussées de la grande voûte entre l'arrivée du grand arc-boutant S et la naissance des voûtes T, il a posé sur le mur extérieur du triforium E une colonne V en délit qui roidit parfaitement cet espace, ainsi que pourrait le faire une forte chandelle de charpente. De plus, sous ce sommier T qui forme linteau dans le triforium et qui déborde quelque peu à l'extérieur, l'architecte a bandé un arc Q qui étaye puissamment tout le système supérieur de la construction 7 et donne même une plus grande résistance à l'arc L. Comprenant l'effet des poussées des voûtes de la galerie et de l'arc-boutant L qui est destiné à les annuler, craignant l'action de la poussée d'une voûte trop large sur les piles intérieures à la hauteur de la galerie du premier étage, l'architecte a avancé la pile X en surplomb sur la colonne inférieure Y, n'ayant pas à craindre sur ce point une charge verticale, mais bien plutôt une charge oblique se produisant de X en Z. Quant au grand arc-boutant, ses claveaux, passent tendant au centre de l'arc, au-dessus de la colonne V, comme si elle n'existait pas; et sous les claveaux de tête, le tailloir du chapiteau forme un angle avec ces claveaux, ainsi que l'indique le détail U; une simple cale a en pierre forme coin entre le tailloir et les claveaux. C'est là où on reconnaît toute la finesse d'observation et la subtilité même de ces constructeurs gothiques primitifs. Il pouvait, dans toute la hauteur de la pile de A en E, se produire des tassements; par suite de ces tassements, la tête S du grand arc-boutant devait donner du nez et exercer une pression telle sur la colonne V, que celle-ci s'écrasât ou, qu'en résistant, elle occasionnât une rupture en S', funeste à la conservation de cet arc. Posant la colonne ainsi qu'il est tracé en U, l'abaissement de la tête de l'arc-boutant ne pouvait que faire glisser légèrement le tailloir sous l'arc et incliner quelque peu la colonne V en fruit. Dans cette situation, résultat d'un tassement du gros contre-fort, cette colonne V chassait sur l'arc Q et chargeait la pile X obliquement: ce qui n'avait nul danger, puisque cette pile X est posée pour agir obliquement; de plus, la colonne V pressait fortement le mur du triforium qui la supporte, et par suite la colonne engagée I, point important car cette colonne I monolithe, indépendante de la pile à laquelle elle s'adosse, étant très-chargée et ne pouvant tasser, reporte la pression principale de la pile sur le parement extérieur A' de la circonférence de la colonne inférieure, c'est-à-dire sur le point où il était nécessaire d'obtenir une plus grande rigidité pour prévenir l'effet des poussées des voûtes du collatéral. Il y a là calcul, prévision: car on remarquera que la colonne engagée I', faisant face à celle I, est bâtie en assises comme la pile X; il était important, en effet, que cette pile intermédiaire X n'eût pas la rigidité de la pile intérieure, qu'elle pût se prêter aux tassements pour ne pas occasionner une rupture de O en L, si le gros contre-fort venait à tasser, ce qui ne pouvait manquer d'avoir lieu.
Ainsi donc, dans cette construction, les deux systèmes de résistance préventive et opposée, expliqués dans nos deux fig. 40 et 40 bis, sont simultanément employés. Tout ceci peut être subtil, trop subtil, nous l'accordons; mais pour grossier ou barbare, ce ne l'est point. Les constructeurs de ce temps cherchaient sans cesse, et la routine n'avait pas prise sur eux; en cherchant, ils trouvaient, ils allaient en avant et ne disaient jamais: «Nous sommes arrivés, arrêtons-nous là»; c'est, il nous semble, un assez bon enseignement à suivre. Nous voulons aujour'd'hui une architecture de notre temps, une architecture neuve: c'est fort bien vouloir. Mais il faut savoir comment on trouve une architecture neuve. Ce n'est pas apparemment en interdisant l'étude de l'art le plus fertile en ressources de tout genre, le plus souple et le plus libre dans l'emploi des moyens matériels.
Cependant il se présentait une difficulté assez sérieuse et toute nouvelle, lorsqu'il s'agissait des voûtes des collatéraux doubles entourant des sanctuaires d'une grande étendue. Les exemples que nous venons de donner appartiennent tous à des édifices de médiocre dimension, et nous voyons qu'à Saint-Remy de Reims et dans l'église de Notre-Dame de Châlons, par exemple, la précinction extérieure comporte un plus grand nombre de points d'appui que celle intérieure, afin d'éviter les ouvertures d'arcs démesurés. Dans un choeur comme celui de la cathédrale de Paris, entouré de doubles collatéraux, il fallait nécessairement disposer les piles de façon à trouver des ouvertures d'arcs doubleaux à peu près égales pour obtenir des voûtes dont les clefs atteignissent toutes le même niveau. Les deux précinctions extérieures devaient alors comprendre un plus grand nombre de piles que celles du sanctuaire.

À la cathédrale de Paris, en effet, nous voyons (44) que la partie circulaire du sanctuaire, bâtie vers 1165, repose sur six piles, tandis que la seconde précinction en comporte onze, et la troisième quatorze. Grâce à cette disposition, les archivoltes AB, BC, etc., les arcs doubleaux DE, EF, etc., GH, HI, IP, etc., sont à peu près plantés sur des diamètres égaux, et les voûtes réunissant ces arcs ne se composent, pour porter les remplissages en moellon, que d'arcs diagonaux simples BE, EC, FI, IE, EH, HD, et non plus d'arcs croisés. Dans la galerie du premier étage, le même système de voûtes est employé et répète le plan de la première précinction. La figure X donne la forme de ces voûtes élevées sur le plan horizontal triangulaire. Les gros contre-forts KLM seuls maintiennent la stabilité de l'édifice; ils reçoivent les arcs-boutants des grandes voûtes supérieures et les petits arcs-boutants de la galerie de premier étage, bandés de G en D, de P en F, etc. Quant aux poussées des deux diagonales BE, CE des voûtes de cette galerie, elles sont contre-buttées par deux petits arcs-boutants bandés de I en E et de H en E. De sorte qu'ainsi les poussées et charges principales sont renvoyées sur les grosses piles extérieures KLM, et les poussées et charges secondaires sur les piles intermédiaires extérieures ORS 8. À l'intérieur, des colonnes monocylindriques portent seules, à rez-de-chaussée, cet édifice vaste, élevé et passablement compliqué dans ses combinaisons de coupes. Il n'est pas besoin d'être fort expert en architecture pour reconnaître, rien qu'en jetant les yeux sur la fig. 44, que l'intention évidente du maître de l'oeuvre a été d'occuper, avec ses points d'appui, le moins de place possible à l'intérieur, qu'il a tenu en même temps à couvrir les deux collatéraux par des voûtes dont les sommets fussent tous au même niveau, afin de pouvoir placer sur ces voûtes l'aire d'une galerie et des dallages ayant une pente régulière vers le périmètre extérieur. Peu après la construction de cette abside, les constructeurs, cependant, rapprochèrent les piles ABC de manière à obtenir, autour des sanctuaires, des travées plus étroites que celles parallèles à l'axe, et ils surélevèrent les archivoltes AB, BC; mais nous devons reconnaître qu'il y a, dans la disposition du rond-point de Notre-Dame de Paris, une ampleur, une indépendance de conception qui nous séduisent. Les voûtes sont adroitement bandées sur ces piles, dont le nombre augmente à chaque précinction. Cela est habile sans effort et sans recherche. Remarquons aussi que les voûtes gothiques seules permettaient l'emploi de ce mode, et que les premiers architectes qui les appliquèrent à leurs constructions surent immédiatement en tirer tout le parti possible.
Dans l'espace de vingt-cinq ans, les architectes de la fin du XIIe siècle étaient donc arrivés à obtenir les résultats qui avaient été la préoccupation de leurs prédécesseurs pendant l'époque romane, savoir: de voûter des édifices larges et élevés, en ne conservant à l'intérieur que des points d'appui grêles. Le triomphe de la construction équilibrée par l'opposition des poussées et par l'adjonction de charges supérieures réduisant ces poussées à une action verticale, était donc complet; il ne restait plus qu'à simplifier et perfectionner les moyens d'exécution. C'est ce que les constructeurs du XIIIe siècle firent, souvent avec trop d'audace et de confiance en leur principe d'équilibre, mais toujours avec intelligence. Il est évident que la sagacité était la qualité dominante des apôtres de la nouvelle école. Leurs efforts tendaient, sans répit, à renchérir sur l'oeuvre précédente, à pousser les conséquences du principe admis jusqu'à l'abus; si bien que, pendant le XIVe siècle, il y eut réaction, et que les constructions où les questions d'équilibre sont résolues avec le plus de hardiesse sont celles qui furent élevées pendant la seconde moitié du XIIIe siècle. Nous aurons l'occasion de revenir sur ce fait.
Si l'on veut constater l'extrême limite à laquelle arrivèrent les
architectes de la fin du XIIe siècle, en fait de légèreté des points
d'appui intérieurs et de stabilité obtenue au moyen de l'équilibre des
forces opposées, il faut aller voir le sanctuaire de l'église de
Saint-Leu d'Esserent (Oise). Certaines parties de cette construction,
élevée vers 1190, sont faites pour exciter notre étonnement. Ce
sanctuaire se compose, dans le rond-point, de quatre colonnes
monostyles, deux grosses et deux grêles ainsi disposées (45). Les deux
colonnes A n'ont que 0,50 c. de diamètre, celles B 0,85 c. environ. Une
vue perspective des deux travées sur plan circulaire reposant sur les
colonnes A (45 bis) nous indique assez, après ce que nous venons de
dire, que les constructeurs ne comptaient alors que sur l'équilibre des
forces agissantes et résistantes pour maintenir une masse pareille sur
un point d'appui aussi grêle.
On voit la colonne A, de 0,50 c. de diamètre, couronnée par un chapiteau extrêmement évasé (voy. CHAPITEAU, fig. 21), sur lequel reposent un sommier puissant et les trois colonnettes monolithes portant les retombées des voûtes supérieures. Le sommier est assez empatté pour recevoir la pile du triforium et le mur qui le clôt. L'arc-boutant extérieur pousse toute cette construction du dehors au dedans; mais, étant élevée sur plan circulaire, elle ne peut être chassée à l'intérieur, et plus l'arc-boutant appuie sur la tête de la pile, et plus la construction prend de l'assiette. La charge énorme que reçoit verticalement la colonne A assure sa stabilité. L'équilibre ne peut être rompu, et, en effet, ce chevet n'a subi aucun mouvement.

Dans l'Île-de-France, cependant, les constructeurs surent toujours garder une certaine mesure, et ne tombèrent jamais dans les exagérations si fréquentes chez les architectes de la Champagne et de la Bourgogne. Chez ces derniers, ces exagérations étaient justifiées jusqu'à un certain point par la qualité excellente des matériaux de cette province, les architectes bourguignons, se fiant à la résistance extraordinaire de leurs pierres, produisirent des oeuvres d'une grande importance au point de vue de la construction, en ce qu'elles nous font connaître jusqu'où l'application du principe gothique peut aller lorsque la matière lui vient en aide.
La voûte étant désormais le générateur de toutes les parties des édifices voûtés; commandant la place, la forme, la disposition des points d'appui, c'est elle d'abord que nous devons scrupuleusement étudier. Pour qui connaît bien la structure de la voûte gothique, les ressources infinies que présente sa construction, toutes les autres parties de la maçonnerie s'en déduisent naturellement. Nos lecteurs ont pu prendre connaissance déjà des éléments de la construction des voûtes: reste à en examiner les détails, les variétés et les perfectionnements, car nous ne pourrions plus nous faire comprendre, si, avant d'aller plus loin, les divers moyens employés pour fermer les voûtes gothiques n'étaient pas complétement développés.
Les fig. 27, 28, 28 bis et 29 indiquent comment sont tracés les lits inférieurs des sommiers des arcs sur les tailloirs des chapiteaux, comment ces lits inférieurs commandent la forme de ces tailloirs et la place des colonnettes et points d'appui. On reconnaît facilement que, dans les premiers tracés des voûtes gothiques, les constructeurs ont évité autant que possible de faire pénétrer les arcs les uns dans les autres à leur naissance; ils faisaient tailler chaque claveau sur le chantier, suivant la section donnée à chacun de ces arcs, et ils cherchaient à les arranger du mieux qu'ils pouvaient sur le tailloir, en les rognant à la queue pour conformer leur pose aux pénétrations. Ainsi, par exemple, ayant tracé sur le tailloir des chapiteaux destinés à recevoir un arc doubleau, deux arcs ogives et les deux colonnettes portant les formerets, le lit de ces divers membres, ils posaient les claveaux de chacun de ces arcs et les bases des colonnettes, ainsi que le démontre la fig. 46, écornant, au besoin, les queues de ces arcs, comme on le voit en A, afin de les placer les uns à côté des autres et de les renfermer dans leur lit de pose. Cette méthode naïve n'exigeait, de la part de l'appareilleur, aucune épure spéciale pour le sommier, demandait une assiette assez large sur les tailloirs pour ne pas trop affamer les queues des claveaux, et, par conséquent, des chapiteaux fort évasés; elle avait en outre l'inconvénient de ne donner que des sommiers sans résistance pouvant s'écraser sous la charge, et de prolonger les effets des poussées trop bas ou de rapprocher leur résultante des parements extérieurs. Ayant trois arcs à poser, l'idée la plus naturelle était de leur donner à chacun leur sommier. Mais, dans certains cas, les constructeurs gothiques primitifs avaient été forcés cependant de faire pénétrer les divers arcs soutenant une voûte sur un chapiteau unique, isolé, comme on le voit dans la fig. 42, et de leur donner un seul sommier pour tous; car, sur ces assiettes étroites, il n'était plus possible de songer à arranger les premiers claveaux de ces arcs comme on enchevêtre les pièces d'un jeu de patience: c'eût été faire de ces premiers claveaux une agglomération de coins n'ayant aucune force de résistance. D'ailleurs, il fallait souvent que les premiers claveaux des arcs (s'ils avaient une pile supérieure à supporter) fissent tas-de-charge, c'est-à-dire présentassent de véritables assises à lits horizontaux, afin de résister à la pression.

Soit, par exemple (46 bis), une pile A ayant une pile B supérieure à supporter au-dessus d'une voûte C. Si les arcs de cette voûte sont tous indépendants dès leur naissance et extradossés, si les joints des premiers claveaux sont normaux aux courbes, il est clair que la pile B ne reposera pas sur l'assiette EF, comme cela devrait être, mais sur le faible remplissage G, et qu'alors sa stabilité ne pourra être assurée, que la pression sur les reins des premiers claveaux causera infailliblement des désordres, des ruptures et des écrasements. Ce fut cependant cette méthode qu'employèrent les derniers architectes romans, et elle eut souvent des conséquences désastreuses. En pareille circonstance, les premiers constructeurs gothiques procédèrent différemment. Soit H la pile portant une charge supérieure K, ils posèrent autant de sommiers à lits horizontaux qu'il en fallait pour que les verticales LM trouvassent une assiette, et ne commencèrent les coupes des claveaux normales aux courbes que lorsque ces courbes s'affranchissaient des parois verticales LM. Jusqu'à une certaine hauteur, les arcs étaient donc composés, par le fait, d'une suite d'assises en encorbellement à lits horizontaux. Ces constructeurs avaient trop de sens pour imaginer les crossettes I, qui ne peuvent jamais être bien posées et dont les lits ne sauraient être exactement remplis de mortier: ils préféraient adopter franchement les encorbellements. Ceux-ci avaient encore un avantage: ils détruisaient en partie l'effet des poussées. Nous ne devons pas omettre de dire ici que le devant des claveaux ou sommiers est toujours posé à l'aplomb du carré supérieur de la corbeille du chapiteau, ainsi que l'indique le tracé B, fig. 46; quant au carré de la base de la colonnette de formeret, il est posé à fleur du tailloir, afin que le nu de la colonnette arrive aplomb du carré de la corbeille du chapiteau (voy. la même figure 46).
Dès qu'il fut admis que l'on pouvait poser à la naissance des voûtes une
série de sommiers d'arcs superposés à lits horizontaux, les architectes
n'avaient plus besoin de se préoccuper de trouver une assiette assez
large sur le tailloir des chapiteaux pour recevoir les claveaux de
plusieurs arcs juxtaposés, mais seulement de faire en sorte que ces arcs
vinssent à se pénétrer sur la plus petite assiette possible. Suivant
toujours leurs raisonnements avec rigueur, ils reconnurent également que
la résistance des arcs, dans le système de voûtes nouvellement adopté,
est en raison de la hauteur des claveaux et non en raison de leur
largeur, et qu'à section égale comme surface, un claveau, par exemple
(47), posé ainsi qu'il est indiqué en A, résistait beaucoup plus à la
pression qu'un claveau posé suivant le tracé B. Or, vers le commencement
de la seconde moitié du XIIe siècle, les claveaux des arcs sont
généralement compris dans une section carrée C, de huit pouces (0,22 c.)
à un pied ou dix-huit pouces de côté (0,33 c. et 0,50 c.), suivant la
largeur de la voûte; tandis que, vers la fin de ce siècle, si les
claveaux des arcs doubleaux conservent encore cette section, ceux des
arcs ogives (arcs dont le diamètre est plus grand cependant, mais qui
n'ont pas à résister à la pression des arcs-boutants) perdent une partie
de leur largeur et conservent du champ, ainsi qu'on le voit en D.
Prenant moins de largeur de E en F, leur trace sur le tailloir des
chapiteaux occupait moins de place, exigeait un évasement moins
considérable, et s'accommodait mieux aux pénétrations; n'ayant plus
qu'une arête mousse en G ou un simple boudin, la retombée biaise sur les
tailloirs n'offrait plus les surfaces gauches et gênantes que donnaient
les arcs dont la section était C. Peu à peu, les architectes renoncèrent
même à cette section C pour les arcs doubleaux et adoptèrent des
sections analogues à celle H, offrant de même de I en K une grande
résistance de champ, et de L en M une résistance suffisante de plat pour
éviter les torsions, déjà maintenues par les remplissages des voûtes.
C'est ainsi que chaque jour, ou plutôt après chaque tentative, les
architectes arrivaient à supprimer, dans la construction des voûtes,
tout ce qui n'était pas absolument indispensable à leur solidité, qu'ils
abandonnaient les dernières traditions romanes afin d'obtenir; 1º une
plus grande légèreté; 2º des facilités pour asseoir les sommiers,
puisque ces sommiers allaient dorénavant commander la construction des
piles, et, par suite, de tous les membres inférieurs des édifices.
Mais nous sommes obligés, au risque de paraître long dans notre exposé du système des voûtes gothiques, de procéder comme les constructeurs de ce temps, et de suivre, sans la quitter un instant, la marche de leur progrès. Puisque ces constructeurs avaient admis l'arc-boutant, c'est-à-dire une résistance opposée sur certains points aux poussées des voûtes, il fallait bien réunir ces poussées et faire que leur résultante n'agît exactement que sur ces points isolés; donc, il était de la dernière importance que les arcs doubleaux et les arcs ogives se pénétrassent de façon: 1º à ce que la résultante de leurs poussées se convertît en une seule pression au point où venait butter la tête de l'arc-boutant; 2º à ce qu'aucune portion de poussée ne pût agir en dehors ou à côté de cette résultante; en un mot, à ce que le faisceau des poussées fût parfaitement dirigé suivant une seule et même ligne de pression au moment de rencontrer l'arc-boutant comme un obstacle. Des voûtes dont les sommiers étaient posés conformément à la fig. 46 ne pouvaient atteindre ce résultat absolu; leurs poussées devaient être et sont en effet diffuses, et ne se réunissent pas exactement en une résultante dont la direction et la puissance puissent être exactement appréciées. Mais si, au lieu de ces premiers claveaux posés tant bien que mal à côté les uns des autres sur les tailloirs des chapiteaux, occupant une assiette large, sans solidarité entre eux, nous supposons un sommier pris dans une seule assise; si nous combinons le départ des arcs de façon à ce qu'ils se pénètrent complétement, pour ne faire qu'un seul sommier au lieu de trois, déjà nous aurons fait un pas, car la résultante des pressions diverses se produira sur un seul morceau de pierre qu'il faudra seulement rendre immobile; mais si encore, non contents de ce premier résultat, ayant groupé nos naissances d'arcs en un faisceau aussi serré que possible, nous ne considérons les sommiers que comme des assises en encorbellement, que nous placions plusieurs de ces assises ou sommiers les uns sur les autres en taillant leurs lits horizontaux jusqu'à ce que les développements des courbes de chacun des arcs nous permettent de dégager leurs claveaux de cette masse en tas-de-charge, alors nous serons certains d'avoir à la base de nos voûtes une résultante de pressions agissant suivant une ligne dont nous ne pourrons exactement apprécier le point de départ, la puissance et la direction; de plus, nous serons assurés que la tête de l'arc-boutant viendra s'appuyer, non sur une maçonnerie sans liaison et sans force, mais contre une construction rigide présentant une surface homogène, comme le serait la pièce de charpente contre laquelle on appuie la tête d'un étai. Mais nous avons fait des progrès; d'abord, nous avons reconnu que les voûtes en arcs d'ogive comprenant deux travées, c'est-à-dire sur plan carré dont les diagonales sont coupées par un arc doubleau intermédiaire, nous obligent à donner aux voûtes une forme très-bombée qui nous gêne pour poser les charpentes; car les diagonales du carré étant beaucoup plus longues que l'un de ses côtés, ces diagonales, servant de diamètre aux arcs ogives, élèvent leur clef au-dessus de la naissance à une hauteur égale à ce demi-diamètre (voy. fig. 20, 20 bis et 21), hauteur que la clef de nos arcs doubleaux ne peut atteindre, à moins de donner beaucoup d'aiguïté à ces arcs.
Vers 1230, on renonce donc à ce mode de voûte sur plan carré, et l'on établit les arcs ogives des hautes nefs sur plan barlong, c'est-à-dire que chaque travée porte sa voûte complète. Nous pouvons ainsi faire que les clefs des arcs ogives, doubleaux et formerets, atteignent un même niveau ou à peu près. Les constructeurs, voulant avoir des sommiers à lits horizontaux jusqu'au point où ces arcs cessent de se pénétrer, observent que la méthode la plus simple pour que ces sommiers ne donnent pas de difficultés de tracé consiste à donner aux arcs ogives et arcs doubleaux un même rayon.

Soit donc une voûte sur plan barlong (48), l'arc ogive AC rabattu est un plein cintre ABC; reportant le demi-diamètre AD sur la ligne de base de l'arc doubleau AE, nous obtenons en F le centre de l'une des branches de l'arc doubleau, et nous traçons l'arc AG, qui possède le même rayon que l'arc ABC; reportant la longueur AF de E en F', nous obtenons en F' le second centre de l'arc doubleau, et traçons la seconde branche EG. C'est ainsi que sont tracés les arcs des premières voûtes gothiques sur plan barlong 9. Donc les courbes des arcs ogives et arcs doubleaux étant les mêmes, leurs coupes sont pareilles et leurs sommiers ne présentent aucune difficulté de tracé. Voyons maintenant à tracer ces sommiers.

Soit (48 bis) AB la directrice de l'arc doubleau, AC les directrices des arcs ogives. A est posé sur le nu du mur. De ce point A, prenant sur la ligne AB une longueur AD égale à l'épaisseur du claveau de l'arc doubleau, et considérant AD comme rayon, nous formons le demi-cercle D'DD". Nous traçons alors la coupe de l'arc doubleau sur plan horizontal. Nous tirons deux parallèles EF aux directrices AC d'arcs ogives, en laissant entre ces parallèles une distance égale à la largeur des claveaux d'arcs ogives. Ce sont les projections horizontales des arcs ogives. Prenant les points G de rencontre des lignes d'axes des arcs ogives avec la demi-circonférence D'DD'' comme l'intrados des arcs ogives, nous traçons la coupe de ces arcs ogives sur plan horizontal. Nous avons alors le lit inférieur du premier sommier. Dans les vides qui restent entre la demi-circonférence D'DD" et les arcs ogives en H, nous faisons passer les colonnettes qui sont destinées à porter les formerets. Le contour du lit inférieur du premier sommier obtenu, nous pouvons tracer (seulement alors) le tailloir du chapiteau, soit en retour d'équerre comme l'indique IKL, soit en étoile comme l'indique I'K'L'. Sous ces tailloirs, on peut ne mettre qu'un seul chapiteau et une seule colonne M, puisque notre intention est de réunir autant que possible les arcs en un faisceau étroit. Ce chapiteau, qui est une console, une pierre en encorbellement soulagée par la colonne isolée, fait sortir trois corbeilles d'une astragale unique.
Il nous faut rabattre sur la ligne NO l'arc doubleau, et sur la ligne AC l'arc ogive. Il est clair que ces deux arcs cessent de se pénétrer au point P sur plan horizontal. Du point P, élevant une perpendiculaire PP' sur la ligne NO, base de l'arc doubleau, et une seconde perpendiculaire PP" sur la ligne AC, base de l'arc ogive, cette première perpendiculaire PP' viendra rencontrer l'extrados de l'arc doubleau rabattu au point Q. Ce point Q indique donc la hauteur où l'arc doubleau se dégage de l'arc ogive: c'est le niveau du lit du dernier sommier. Il s'agit de diviser la hauteur PQ en un certain nombre d'assises, suivant la hauteur des bancs. Supposons que trois assises suffisent: le lit supérieur du premier sommier sera en R, du second en S et du troisième en T. En Q, l'arc se dégageant, nous pouvons tracer la première coupe QV tendant au centre de l'arc. À partir de ce point, les claveaux, dont la coupe est tracée en U, sont indépendants. Il suffira de procéder de la même manière pour l'arc ogive, en traçant les lits R'S'T' à partir de la ligne de base AC, distants entre eux comme le sont les lits RST. L'arc ogive étant moins épais que l'arc doubleau, il restera derrière son extrados, en Q', jusqu'à la rencontre avec l'extrados de l'arc doubleau, une petite surface de lit horizontal qui nous sera fort utile pour commencer à poser les moellons de remplissage des triangles des voûtes. Ceci fait, nous pouvons donner à l'appareilleur chacun des lits de ces sommiers, en reportant sur plan horizontal, comme nous l'avons tracé en X, les coupes que nous donnent sur les arcs rabattus les lits RST, R'S'T'. Alors nous obtenons: 1º en a le lit inférieur du premier sommier, déjà tracé comme souche des arcs; 2º en b le lit supérieur du premier sommier qui fait le lit inférieur du second; 3º en c le lit inférieur du troisième sommier; 4º en e le lit supérieur de ce troisième sommier avec ses coupes inclinées marquées en d. Il n'est pas besoin de dire que ces sommiers portent, sinon tous, au moins les deux premiers, queue dans le mur dont le nu est en YZ. Voudrions-nous serrer plus encore les arcs ogives contre l'arc doubleau: il suffirait, en commençant l'opération, de rapprocher, sur plan horizontal, les lignes d'axe des arcs ogives du point A. Souvent même, ces lignes d'axe se rencontrent au point A. Pour ne point compliquer inutilement la figure, nous avons supposé des arcs simplement épannelés; sont-ils chargés de moulures, qu'on ne procède pas autrement sur l'épure, mais en traçant les profils, car il est nécessaire de connaître, sur les divers lits horizontaux des sommiers, les coupes biaises qui sont faites sur ces profils, afin de donner au tailleur de pierre des panneaux qui tiennent compte de la déformation plus ou moins sensible des moulures à chaque lit.

Pour faire comprendre, même aux personnes qui ne sont pas familières avec la géométrie descriptive, l'opération que nous venons de tracer, nous supposons (48 ter) les trois sommiers de la figure précédente, vus les uns au-dessus des autres en perspective et moulurés. En A, on voit le premier sommier, en B le second, en C le troisième avec ses coupes normales aux courbes des arcs, en D les claveaux des arcs doubleaux, en D' ceux des arcs ogives affranchis des sommiers, et dès lors semblables entre eux jusqu'à la clef.

Il arrive cependant que les arcs d'une voûte sont de diamètres très-inégaux ou que leurs naissances sont à des hauteurs différentes: cela ne peut en rien gêner l'appareilleur; du moment qu'un des arcs se dégage des autres à l'extrados, il porte une coupe normale à sa courbe et les claveaux se posent, tandis qu'à côté de lui d'autres arcs peuvent rester engagés encore jusqu'à une certaine hauteur et conserver les lits horizontaux des sommiers. Ainsi, par exemple (49), supposons que nous ayons à voûter une salle divisée par une rangée de piles et dont le plan, à l'une de ses extrémités, nous donne, entre la pile A et la pile B, un espace beaucoup plus large que celui restant entre la pile B et le mur CD. Dès lors, nous aurons des voûtes en arcs d'ogive telles que l'indique notre figure. Nous rabattons l'arc doubleau EF, qui nous donne l'arc en tiers-point EGF; nous rabattons l'arc ogive EI, qui nous donne l'arc légèrement brisé EHI; nous rabattons l'arc ogive KL, qui nous donne le demi-cercle KML; nous rabattons l'arc doubleau PN, en traçant cet arc de manière que la clef soit un peu au-dessous du niveau de la clef de l'arc ogive KL, et que sa courbe se rapproche du plein cintre, pour conduire l'oeil, sans brusques changements de niveau, des grandes voûtes comprises entre AB aux voûtes plus étroites et plus basses comprises entre la pile B et le mur CD. Il est utile alors de surélever la naissance de cet arc doubleau PN. Il est rabattu en PON. C'est ce besoin d'éviter les brusques changements de niveau dans ces différents arcs qui nous a fait légèrement relever la clef de l'arc ogive EI au-dessus du plein cintre. On voit ainsi que, du grand arc doubleau compris entre la pile A et B jusqu'au petit arc doubleau compris entre la pile B et le mur, les clefs RMOH et G des arcs soit doubleaux, soit ogives, s'abaissent successivement et par une transition presque insensible à l'oeil en exécution.

Il s'agit maintenant de supposer les sommiers de ces divers arcs sur le chapiteau de la pile B; nous présentons (49 bis) les formes de ces sommiers. En A est le sommier de l'arc doubleau marqué EF sur la figure précédente; en B, le second sommier avec les deux coupes des arcs ogives EI; en C, le troisième sommier dont le lit supérieur est complétement horizontal; en D, le quatrième sommier avec les coupes des deux arcs doubleaux PN, des deux arcs ogives KL et de l'arc doubleau réunissant la pile A à la pile B. On remarquera les renforts R, qui sont laissés dans les assises des sommiers, derrière les claveaux libres, pour recevoir les remplissages en moellon des voûtes. Il y a donc alors: le premier sommier portant la coupe d'un arc; le second sommier portant les coupes de deux arcs; le troisième sommier, à lit supérieur horizontal, sans coupes; le quatrième sommier portant les coupes de cinq arcs.

Ces méthodes donnent une grande liberté aux constructeurs, et il n'y a
pas de surface, quelque irrégulière qu'elle soit, qui ne se puisse
couvrir sans difficulté. Bien plus, le système des voûtes en arcs
d'ogive permet de voûter des salles dont les jours, par exemple, sont
pris à des hauteurs très-différentes, et de faire des voûtes
très-rampantes. Exemple: supposons une salle (49 ter) dont le périmètre
soit le quadrilatère ABCD. Il s'agit de prendre sur la face AB un jour à
10m,00 de hauteur, de ne pas élever les clefs des formerets sur les
faces BC et AD à plus de 6m,00, et la clef du formeret sur la face CD à
plus de 4m,00; le côté CD ayant 8m,00 de long, sur cette face CD nous
tracerons un formeret plein cintre dont la naissance sera posée sur le
sol même; sur les autres faces, nous tracerons nos formerets à notre
guise, soit en tiers-point, soit plein cintre. Divisant les quatre
lignes AB, BC, AD, DC, chacune en deux parties égales, nous réunissons
les points milieux GH, IK, par deux lignes, dont la rencontre en F nous
donne la projection horizontale de la clef des arcs ogives. Élevant la
verticale FE, nous prenons sur cette ligne la hauteur à laquelle doit
arriver la clef L, puis nous traçons les portions de cercle AL, BL, CL,
DL, qui sont les arcs ogives dont la projection horizontale est en AF,
BF, CF, DF. Sur l'ossature des formerets et arcs ogives, il n'y a plus
qu'à faire les remplissages de voûtes, dont les rencontres ou clefs sont
figurées par les lignes ponctuées MN, OP, QR, ST, en tenant compte de
l'épaisseur des claveaux des arcs formerets et arcs ogives, et la clef
centrale étant supposée placée. Mais nous nous occuperons tout à l'heure
de ces remplissages et de la manière de les maçonner. Quelle que soit la
figure en plan de la surface à couvrir, le problème à résoudre est
toujours celui-ci: 1º faire en sorte que cette surface soit divisée par
les ares diagonaux, de manière à présenter une suite de triangles, car,
avec ce système de voûtes, on ne peut couvrir que des triangles; 2º
disposer les arcs diagonaux ou ogives de telle façon que ces arcs se
contre-buttent réciproquement à leur sommet, et que l'un d'eux ou
plusieurs d'entre eux réunis ne puissent presser sur les autres de
manière à les déformer.
Ainsi, pour couvrir une salle polygonale, à cinq, six, sept, huit, dix ou douze pans, ou plus encore, il suffit naturellement de réunir les angles rentrants du polygone par des lignes se rencontrant au centre, ainsi que l'indique la fig. 50. Ces lignes sont les projections horizontales des arcs ogives, et les côtés des polygones sont les projections horizontales des formerets, lesquels peuvent avoir leurs clefs au-dessus ou au-dessous du niveau de la clef centrale, suivant que l'indique le besoin.

S'il faut couvrir une portion du polygone à l'extrémité d'un parallélogramme, ainsi que cela se rencontre dans les sanctuaires des églises, par exemple (51), nous nous arrangerons pour avoir, avant la partie brisée BC, une travée AB, égale à l'un des côtés du polygone BC, afin que la clef D soit également distante des points BCE, etc., et que les triangles BCD, CED, aient leurs côtés BD, CD, ED égaux entre eux. Dans ce cas, les arcs AD contre-buttent les arcs BD, CD, ED, etc., et nous n'avons toujours que des triangles à remplir.

Il y a cependant des exceptions à cette règle, et l'on voit des arcs rayonnants d'absides butter leurs têtes au sommet d'un arc doubleau (51 bis), lorsque, par exemple, le rond-point est une moitié de polygone à dix côtés; mais cette méthode est vicieuse, en ce que les arcs, poussant tous à la clef D' non contre-buttée, peuvent faire gauchir l'arc doubleau GH. Dans ce cas, les constructeurs expérimentés ont bandé deux branches d'arc ogive ID', RD', destinées à contre-butter puissamment la clef D'. Mais si ces voûtes peuvent se construire au moyen d'arcs dont les clefs sont à des niveaux différents, elles peuvent aussi se fermer sur des arcs de diamètres très-différents et dont les clefs sont toutes au même niveau. Il est quelquefois nécessaire de niveler les clefs, si, par exemple, il s'agit de voûtes portant une aire au-dessus d'elles. Ce fait se présente fréquemment dans les porches surmontés de tribunes ou de salles au premier étage.

Le porche de l'église de Notre-Dame de Dijon est un des meilleurs exemples que nous puissions choisir. Son plan (52) continue le plan des trois nefs de l'église elle-même; mais la voûte centrale, au lieu d'être surélevée comme dans l'église, porte ses clefs au niveau des voûtes des collatéraux, car il s'agit, au premier étage, de recevoir un pavage à niveau sur toute la surface de ce porche. Voulant donner de l'assiette à la façade, le constructeur a doublé les piles sur ce point et a bandé des arcs doubleaux parallèles, séparés par un berceau de A en B, de E en G, de B' en C, de G' en H, de A' en D et de E' en F. Puis, la partie centrale du porche est fermée par une voûte en arcs d'ogive GK, EI, croisée d'un arc doubleau LM. Les collatéraux sont voûtés en arcs d'ogive sur plan carré. Nous avons, sur notre plan, figuré les rabattements de tous ces arcs, dont les clefs sont posées sur ce même plan horizontal. Les diamètres de ces arcs étant de longueurs très-différentes, il n'a pas été possible de faire naître ces arcs sur des chapiteaux posés au même niveau. Ainsi, les chapiteaux des arcs ogives GK, EI, et des arcs doubleaux EG, LM, IK, sont posés plus bas que ceux des arcs GM, MI, EL, LK, et des arcs ogives des collatéraux.

Si donc nous donnons une perspective de la pile M (53), nous voyons que l'arc doubleau A naît beaucoup au-dessous des autres arcs, et que son chapiteau B se conforme, par la place qu'il occupe, à cette différence de niveaux. Les tambours de la pile portent les deux sommiers CD de l'arc doubleau ML (du plan), qui se dégage au-dessous des chapiteaux des autres arcs. Quant à ces autres arcs, ils viennent reposer leurs sommiers sur un groupe de chapiteaux soulagé par des colonnettes monolithes. L'effet des poussées inégales et agissant à des hauteurs différentes de ces arcs est neutralisé par les charges verticales que portent les piles, lesquelles charges sont considérables.
Vers le milieu du XIIIe siècle déjà, en Angleterre, on était arrivé à des combinaisons d'arcs de voûte très-savantes et perfectionnées. Les Normands devinrent promptement d'habiles constructeurs, et, dans leurs édifices de l'époque romane, ils avaient fait des efforts remarquables en ce qu'ils indiquent une grande indépendance et une perfection d'exécution exceptionnelle. Déjà, au commencement du XIIe siècle, ils faisaient des voûtes en arcs d'ogive à arêtes saillantes, alors qu'en France on ne faisait guère que des voûtes d'arêtes romaines sans arcs ogives, mais à surfaces courbes en tous sens, ainsi que nous l'avons vu plus haut. Ils savaient le parti que l'on peut tirer des sommiers, et ils divisaient leurs chapiteaux, sinon les supports verticaux, en autant de membres qu'ils avaient d'arcs à recevoir. Ainsi, dans la partie romane de la cathédrale de Péterborough, les voûtes des bas-côtés du choeur qui s'ouvrent sur les transsepts sont, pour l'époque, conçues et exécutées avec plus de savoir et de précision que celles du domaine royal de France, de la Champagne, de la Bourgogne et du centre. Ces voûtes portent alternativement sur des piles cylindriques et prismatiques posées les angles sur les axes. Les chapiteaux passent de la section des piles au lit inférieur des divers arcs au moyen d'encorbellements adroitement combinés.

La fig. 54 présente la section horizontale ABCDEFGH d'une pile, le plan IKLMNOP des tailloirs du chapiteau, la trace du lit inférieur sur ces tailloirs, de l'arc doubleau Q, des archivoltes portant les murs du transsept R, des arcs ogives S, et de la base de la colonne engagée T s'élevant jusqu'à la charpente supérieure qui couvrait le vaisseau principal. Afin que les clefs des arcs ogives des voûtes du collatéral ne dépassent pas le niveau des extrados des archivoltes et arcs doubleaux qui sont plein cintre, ces arcs ogives sont tracés sur une portion de cercle moindre que le demi-cercle. La fig. 54 bis montre, en perspective, ce chapiteau et les retombées d'arcs; en A, on voit une branche d'arc ogive. Le tracé géométral (54 ter) explique la naissance de cette branche d'arc ogive A, le sommier de tous les arcs et les encorbellements du chapiteau.

Quand on compare cette construction avec celles qui lui sont contemporaines dans la France proprement dite, on a lieu de s'étonner du savoir et de l'expérience des architectes normands, qui déjà, au commencement du XIIe siècle, étaient en état de construire des voûtes en arcs ogives, et distribuaient les chapiteaux en autant de membres qu'ils avaient d'arcs à recevoir. Mais avant de suivre les progrès rapides de la voûte anglo-normande et de découvrir les conséquences singulières auxquelles arrivèrent les architectes d'outre-Manche, vers le milieu du XIIIe siècle, il nous faut examiner d'abord les moyens employés par les constructeurs français pour fermer les triangles des voûtes gothiques. Le principe général doit passer avant les variétés et les exceptions.

Soit (55) le plan d'une voûte en arcs d'ogive croisée d'un arc doubleau, suivant la méthode des premiers constructeurs gothiques. AB le demi-diamètre de l'arc doubleau principal; AC le demi-diamètre de l'arc ogive; AD l'arc formeret; DC le demi-diamètre de l'arc doubleau coupant en deux parties égales le triangle AEC. L'arc formeret doit commander d'abord. Supposons que le moellon maniable, qu'un maçon peut facilement poser à la main, ait la largeur XX' (largeur qui varie de 0,08 c. à 0,15 c. dans ces sortes de constructions). Nous rabattons les extrados de tous les arcs sur plan horizontal. Ces rabattements nous donnent, pour l'arc formeret, y compris sa naissance relevée, la courbe brisée AFD; pour l'arc doubleau principal, la courbe brisée EG; pour l'arc ogive, la courbe quart de cercle exact AI; pour l'arc doubleau d'intersection, la courbe brisée DH. N'oublions pas que l'arc ogive étant plein cintre, l'arc doubleau d'intersection doit avoir une flèche CH égale au rayon CI; que, dans les cas ordinaires, l'arc doubleau principal doit avoir une flèche JG moins longue que le rayon CI, et que l'arc formeret doit avoir, y compris sa naissance relevée, une flèche KF moins longue que celle de l'arc doubleau principal. La largeur des douelles du moellon de remplissage étant XX', nous voyons combien l'extrados du demi arc formeret AF, compris sa naissance verticale, contient de fois XX': soit quatre fois; nous marquons les points diviseurs LMN. Nous avons quatre rangées de moellon 10. Ramenant l'arc formeret sur sa projection horizontale AD, le point N pris sur la portion verticale de l'arc formeret tombe en N', le point M en M', le point L en L', le point F de la clef en K. Nous divisons alors la moitié AI de l'extrados de l'arc ogive en quatre parties, et marquons les points O, P, Q. Ramenant de même cette courbe sur sa projection horizontale AC, nous obtenons sur cet arc les points 0', P', Q', C. Nous procédons de la même manière pour l'arc doubleau d'intersection DC, dont l'extrados rabattu est DH. Nous divisons cet extrados en quatre parties, et marquons les points RST. Faisant pivoter l'arc sur son demi-diamètre DC, nous obtenons en projection horizontale les points R'S'T'C. Alors, réunissant le point N' au point O', le point M' au point P', le point L' au point Q', le point K au point C, etc., par des droites, ces droites nous donnent la projection horizontale des plans verticaux dans lesquels doivent passer les coupes d'intrados des douelles de remplissage. Ceci obtenu, l'arc doubleau principal commande le nombre des douelles des voûtes fermant les triangles ECJ. L'étalon XX' diviseur nous donnant sur l'extrados de l'arc doubleau principal rabattu en EG six divisions de douelles, nous marquons les points UVZ, etc., et, opérant comme ci-dessus, nous obtenons, sur la ligne de projection horizontale EJ de cet arc doubleau, les points U'V'Z'. Divisant de même l'extrados de l'arc ogive en six parties et projetant ces divisions sur la ligne de plan EC, nous obtenons les points Y Y'Y", etc. Nous réunissons alors le point U' au point Y, le point V' au point Y', etc., et nous avons la projection horizontale des plans verticaux dans lesquels doivent passer les coupes d'intrados des douelles de remplissage. Cette épure ne se fait pas sur le chantier. Après avoir divisé l'extrados des arcs formerets et des arcs doubleaux principaux qui commandent, suivant le nombre de douelles donné par la largeur du moellon, on divise en nombres égaux l'extrados des arcs ogives, comme nous venons de le démontrer, et l'on procède de suite à la construction des voûtes sans couchis: c'est la méthode employée qui donne en projection horizontale les lignes N'O'M'P'L'Q', etc., U'Y, V'Y', etc., que nous avons tracées sur notre épure.

Voici en quoi consiste cette méthode. Le constructeur dit, par exemple: la ligne CK, réunissant la clef des arcs ogives à la clef des formerets, aura 0,50 c. de flèche; le maçon, habitué à faire ces sortes de voûtes, n'a pas besoin d'en savoir davantage pour construire, sans épure, tout le triangle de remplissage ACD. Il lui suffit de prendre la longueur CK ou CJ, de la tracer en C'K' sur une planche (56), d'élever au milieu de cette ligne une perpendiculaire ab ayant 0,50 c., et de faire passer un arc par les trois points C'bK'. Avec cette courbe tracée à côté de lui, il monte au moins un tiers de chacun des côtés de son remplissage comme un mur. Il lui suffit de prendre, avec une ficelle, la longueur de chaque rang de moellon, de porter cette longueur sur l'arc C'bK' et de voir ce que cette corde donne de flèche à la portion d'arc ainsi coupée; cette flèche est celle qu'il doit prendre pour le rang de moellon à fermer. Le premier tiers des remplissages se rapproche tellement d'un plan vertical, que les moellons tiennent d'eux-mêmes sur leurs lits, à mesure que le maçon les pose, ainsi que le fait voir la fig. 57.

Mais au delà du premier tiers, ou environ, il faut l'aide d'une cerce, d'autant que les rangs de moellon s'allongent à mesure que l'on se rapproche de la clef. Or, parce que ces rangs s'allongent, il faudrait faire tailler une cerce pour chacun d'eux, ce qui serait long et dispendieux. Il faut alors avoir deux cerces, disposées ainsi que l'indique la fig. 58, étant ensemble plus longues que la ligne de clef des remplissages, et l'une des deux pas plus longue que le rang de claveaux, trop incliné pour pouvoir être bandé sans le secours d'un soutien. Chacune des cerces, coupées dans une planche de 0,04 c. environ d'épaisseur, porte au milieu une rainure évidée, concentrique à la courbe donnée par l'arc étalon dont nous avons parlé ci-dessus (fig. 56). À l'aide de deux cales C passant par ces rainures, on rend les deux cerces rigides, et on peut, à chaque rang de claveaux, les allonger suivant le besoin, en les faisant glisser l'une contre l'autre. Les cerces sont fixées sur l'extrados des arcs au moyen des deux équerres en fer AB clouées à l'extrémité des cerces; le maçon doit avoir le soin, après avoir placé les becs AB sur les points marqués sur les arcs, de laisser pendre la face de la cerce verticalement avant de la fixer contre les flancs des arcs, soit par des coins, soit avec une poignée de plâtre. Ainsi l'ouvrier ferme les remplissages des voûtes conformément à l'épure tracée fig. 50; c'est-à-dire, qu'en donnant à chaque rang des claveaux de remplissage une courbe assez prononcée qui les bande et reporte leur charge sur les arcs, il n'en est pas moins contraint de faire passer cette courbe dans un plan vertical, car c'est sous chaque ligne séparative des rangs de moellon qu'il doit placer la cerce, ainsi que le fait voir la fig. 59, et non sous les milieux de ces rangées de moellon. Ce n'est pas sans raison que l'on doit placer les cerces dans un plan vertical, et faire passer par conséquent l'arête du lit de chaque rangée de moellon dans ce plan vertical.

Ces lits (60) à l'intrados traçant des courbes, il en résulte que la section CD se trouve avoir un plus grand développement que la section DB qui commande le nombre des rangées de moellon, et même que la section DA, quoique en projection horizontale la ligne DA soit plus longue que la ligne DC. Le maçon doit tenir compte, à chaque rangée de moellons, de ce surplus du développement, et donner à chacun de ces rangs une douelle présentant la surface tracée en E. Il faut donc que l'ouvrier soit guidé par un moyen mécanique; la cerce, posée toujours verticalement, établit forcément la forme à donner aux douelles. Si le maçon fermait les remplissages par des rangées de claveaux dont les douelles seraient d'une égale largeur dans toute leur étendue, il serait obligé, arrivé à la clef, de tenir compte de tout le surplus du développement que donne la section CD sur la section DB, et il aurait deux derniers rangs de moellon présentant à l'intrados une surface analogue à celle figurée en G, ce qui serait d'un effet désagréable et obligerait d'employer, sur ce point, des moellons d'un échantillon beaucoup plus fort que partout ailleurs. Étant, par la position verticale de la cerce, obligé de faire passer l'arête d'intrados du lit de chaque rang de moellon dans un plan vertical, le maçon arrive, sans le savoir, à répartir sur chacun de ces rangs le surplus de développement imposé par la concavité de la voûte. Tout cela est beaucoup plus simple à exécuter qu'à expliquer, et nous n'avons jamais éprouvé de difficulté à faire adopter cette méthode dans la pratique. Un maçon adroit, aidé d'un garçon qui lui apporte son moellon débité et son mortier, ferme un triangle de voûte sans le secours d'aucun engin, sans cintres et sans autres outils que sa hachette et sa cerce. Une fois que l'ouvrier a compris la structure de ces voûtes (ce qui n'est pas long), il pose les rangs de claveaux avec une grande facilité, n'ayant qu'à les retoucher légèrement avec sa hachette pour leur ôter leur parallélisme. Presque toujours, lorsqu'il a acquis de la pratique, il abandonne les cerces à rainures, et se contente de deux courbes qu'il maintient avec deux broches, les allongeant à chaque rang, car les lits de ces moellons étant très-peu inclinés, si ce n'est près de la clef, il suffit d'un faible soutien pour les empêcher de glisser sur le mortier. Chaque rangée posée formant un arc, la cerce est enlevée sans qu'il en résulte le moindre mouvement. Il faut dire que ces moellons sont généralement peu épais, et que beaucoup de remplissages de grandes voûtes gothiques, surtout à la fin du XIIe siècle, n'ont pas plus de 0,10 c. à 0,12 c. d'épaisseur 11. Cette méthode de construire les voûtes n'est pas la seule; elle appartient uniquement à l'Île-de-France, au Beauvoisis et à la Champagne, pendant la seconde moitié du XIIe siècle; tandis que, dans les autres provinces, des moyens moins raisonnés sont adoptés. En Bourgogne, grâce à certaines qualités particulières de calcaires se délitant en feuilles minces, rugueuses, adhérentes au mortier, on construisit longtemps les voûtes en maçonnerie enduite, bloquée sur couchis de bois. Les voûtes du choeur de l'église abbatiale de Vézelay, bâti vers la fin du XIIe siècle, présentent un singulier mélange des méthodes adoptées par les constructeurs de l'Île-de-France et des traditions bourguignonnes. On voit combien les appareilleurs bourguignons, si habiles traceurs, étaient embarrassés pour donner aux claveaux de remplissage des formes convenables: ne pouvant en faire l'épure rigoureuse, ils tâtonnaient, bandaient les reins en matériaux taillés tant bien que mal; puis, ne sachant comment fermer ces remplissages, ils les terminaient par du moellon brut enduit. Ce n'était pas là une méthode, c'était un expédient.
Au milieu des provinces comprises dans l'ancienne Aquitaine, l'habitude que les constructeurs des Xe et XIe siècles avaient contractée de fermer leurs édifices par des coupoles s'était si bien enracinée, qu'ils ne comprirent que très-tard la voûte d'arête gothique, et qu'ils en adoptèrent l'apparence, mais non la véritable structure.

Chacun sait que les claveaux qui composent une coupole donnent en projection horizontale une succession de cercles concentriques, ainsi que l'indique la fig. 61. A étant la coupe et B le quart de la projection horizontale d'une coupole hémisphérique. Lorsque le système de la construction gothique prévalut dans le domaine royal, et que les architectes reconnurent le parti qu'on en pouvait tirer, on voulut bientôt l'adopter dans toutes les provinces occidentales du continent. Mais ces provinces diverses, séduites par la forme, par les allures franches et les facilités que présentait la nouvelle architecture pour vaincre des obstacles jusqu'alors insurmontables, ne purent cependant laisser brusquement de côté des traditions fortement enracinées parmi les praticiens; il en résulta une sorte de compromis entre la structure et la forme. Au XIIe siècle, on voit élever, sur toute la ligne qui se prolonge du Périgord à la Loire vers Angers et au delà, des voûtes qui, comme structure, sont de véritables coupoles, mais qui cherchent à se soumettre à l'apparence des voûtes d'arête. Ce sont des coupoles sous lesquelles deux arcs diagonaux ont été bandés, plutôt comme une concession au goût du temps que comme un besoin de solidité; car, par le fait, ces arcs ogives, très-faibles généralement, ne portent rien, sont même souvent engagés dans les remplissages et maintenus par eux. Cette observation est d'une importance majeure; nous verrons tout à l'heure quelles en furent les conséquences. Cependant ces faiseurs de coupoles quand même ne furent pas longtemps sans reconnaître que la structure de leurs voûtes n'était nullement en harmonie avec leur forme apparente. Le mouvement était imprimé déjà sur presque toute la surface de la France actuelle vers la fin du XIIe siècle; il fallait se soumettre au mode de construction inventé par les artistes du Nord; il fallait abandonner les traditions romanes: elles étaient épuisées; les populations les repoussaient parce qu'elles ne suffisaient plus aux besoins, et surtout parce qu'elles étaient l'expression vivante de ce pouvoir monastique contre lequel s'élevait l'esprit national. Les écoles soumises à la coupole firent une première concession au nouveau mode de construction; ils comprirent que les arcs ogives (diagonaux) étaient faits, dans la structure gothique, pour porter les remplissages: au lieu donc de poser les rangs de moellon de remplissage, comme ils avaient fait d'abord, sans tenir compte des arcs ogives, ainsi que l'indique la fig. 62, ils prirent l'extrados de ces arcs ogives comme point d'appui et bandèrent les rangs de moellon, non point des formerets ou arcs doubleaux sur les arcs ogives, comme les constructeurs de l'Île-de-France, mais des arcs ogives aux formerets et arcs doubleaux, en les entre-croisant à la clef.

La fig. 63 12 fera comprendre cette disposition. Cette construction était moins rationnelle que celle de la voûte du Nord, mais elle donnait les mêmes coupes; c'est-à-dire que de A, clef des formerets ou arcs doubleaux, à B, clef des arcs ogives, les triangles de remplissage ABC forment un angle rentrant, une arête creuse. Mais comme ces rencontres AB des rangs de moellon produisaient un mauvais effet, et qu'elles offraient une difficulté pour le maçon, qui avait besoin, sur cette ligne AB, d'une courbe en bois pour appuyer chaque rang de moellon à mesure qu'il les posait; on banda un nerf en pierre BF pour recevoir les extrémités des rangs de moellon et cacher les sutures.
À la fin du XIIe siècle, l'Aquitaine était anglo-normande, ainsi que le Maine et l'Anjou. Ce système de voûtes prévalut, non-seulement dans ces contrées, mais passa le détroit et fut adopté en Angleterre. Peu à peu, pendant les premières années du XIIIe siècle, on l'abandonna dans les provinces du continent, pour adopter définitivement le mode de l'Île-de-France; mais, en Angleterre, il persista, il s'étendit, se perfectionna et entraîna bientôt les constructeurs dans un système de voûtes opposé, comme principe, au système français. La manière de poser les rangs de moellon des remplissages des voûtes sur les arcs, empruntée dans l'Île-de-France aux voûtes d'arêtes romaines, en Angleterre à la coupole, eut des conséquences singulières. En France, les surfaces des remplissages restèrent toujours concaves, tandis qu'en Angleterre elles finirent par être convexes à l'intrados, ou plutôt par former des successions de cônes curvilignes renversés se pénétrant, et engendrer des formes bien opposées par conséquent à leur origine. Mais lorsqu'on étudie l'architecture gothique, on reconnaît bientôt que le raisonnement, les conséquences logiques d'un principe admis, sont suivis avec une rigueur inflexible, jusqu'à produire des résultats en apparence très-étranges, outrés, éloignés du point de départ. Pour celui qui ne perd pas la trace des tentatives incessantes des constructeurs, les transitions sont non-seulement perceptibles, mais déduites d'après le raisonnement; la pente est irrésistible: elles paraissent le résultat du caprice, si l'on cesse un instant de tenir le fil. Aussi ne doit-on pas accuser de mauvaise foi ceux qui, n'étant pas constructeurs, jugent ce qu'ils voient sans en comprendre les origines et le sens; ce qu'on peut leur reprocher, c'est de vouloir imposer leur jugement et de blâmer les artistes de notre temps qui croient trouver, dans ce long travail du génie humain, des ressources et un enseignement utile. Chacun peut exprimer son sentiment, quand il s'agit d'une oeuvre d'art, dire: «Ceci me plaît, ou cela me déplaît»; mais il n'est permis à personne de juger le produit de la raison autrement que par le raisonnement. Libre à chacun de ne pas admettre qu'une perpendiculaire abaissée sur une droite forme deux angles droits; mais vouloir nous empêcher de le prouver, et surtout de le reconnaître, c'est pousser un peu loin l'amour de l'obscurité. L'architecture gothique peut déplaire dans sa forme; mais, si l'on prétend qu'elle n'est que le produit du hasard et de l'ignorance, nous demanderons la permission de prouver le contraire, et, l'ayant prouvé, de l'étudier et de nous en servir si bon nous semble.
Avant donc de clore ce chapitre sur les voûtes, voyons comment les Anglo-Normands transformèrent la coupole de l'Ouest en une voûte d'une forme très-éloignée en apparence de la voûte hémisphérique. Nous avons dit tout à l'heure comment les constructeurs de l'Aquitaine, de l'Anjou, du Maine et de l'Angleterre, avaient été entraînés à ajouter un nerf de plus à la voûte en arcs d'ogive pour cacher le croisement des moellons de remplissage sous la ligne des clefs; c'est-à-dire, comment ils divisèrent une voûte carrée ou barlongue en huit triangles au lieu de quatre. Ce point de départ a une si grande importance, que nous demandons à nos lecteurs la permission d'insister.

Supposons une voûte en arcs d'ogive faite moitié par des Français au commencement du XIIIe siècle et moitié par des Anglo-Normands. La voûte française donnera, en projection horizontale (64), le tracé A; la voûte anglo-normande, le tracé B. Dès lors, rien de plus naturel que de réunir la clef du formeret C à la clef des arcs ogives D par un nerf saillant masquant la suture formée par la rencontre des triangles de remplissage en moellon ECD, FCD. Ces triangles de remplissage dérivent évidemment de la voûte en coupole, ou plutôt ce sont quatre pendentifs qui se rencontrent en CD. Les voûtes de l'Aquitaine ou anglo-normandes gothiques primitives ont d'ailleurs les clefs des formerets à un niveau inférieur aux clefs des arcs ogives, et leur ossature présente la fig. 65.

Cette figure fait bien voir que la voûte anglo-normande n'est autre chose qu'une coupole hémisphérique pénétrée par quatre arcs en tiers-point, car les arcs ogives sont des pleins cintres. Sur cette ossature, les rangs des remplissages en moellon sont bandés ainsi qu'il est marqué en G, tandis qu'en France, sur deux arcs ogives et quatre formerets de mêmes dimension et figure, les rangs des remplissages en moellon sont bandés conformément au tracé H. Donc, quoique les nerfs principaux des voûtes en France ou en Angleterre puissent être identiques comme tracé, en France le remplissage dérive évidemment de la voûte d'arête romaine, tandis qu'en Angleterre il dérive de la coupole. Jusqu'alors, bien que les principes de construction de ces deux voûtes fussent très-différents, leur apparence est la même, sauf l'adjonction du nerf réunissant les clefs des formerets ou arcs doubleaux à la clef des arc ogives, adjonction qui n'est point une règle absolue.
Pendant que dans l'Île-de-France et les provinces voisines, à la fin du XIIe siècle, on ne faisait guère que des voûtes en arcs ogives croisés d'arcs doubleaux, c'est-à-dire engendrées toujours par un plan carré et fermées par des triangles de remplissage biais, ainsi que le fait voir notre fig. 55, on cherchait, dans l'Ouest, à obtenir la même légèreté réelle et apparente, mais toujours en conservant quelque chose de la coupole.

Il existe, près de Saumur, une petite église qui indique de la manière la plus évidente les incertitudes des constructeurs de l'Ouest entre les innovations des architectes du domaine royal et les traditions de l'Aquitaine: c'est l'église de Mouliherne; là, les deux systèmes sont en présence. La première travée de l'édifice à une seule nef, touchant la façade, est voûtée conformément au plan (66). De A en B est un gros arc doubleau en tiers-point. De A en C et de B en D sont deux arcs ogives brisés, qui ne sont que des tores à section demi-circulaire. Un second arc doubleau EF à section pareille croise les deux diagonales. De E en G et de F en G sont bandés deux autres arcs diagonaux secondaires rencontrant les arcs ogives principaux en I et en K. Les quatre triangles compris entre les points EGF sont fermés suivant la méthode d'Aquitaine ou anglo-normande, c'est-à-dire conformément au principe de la coupole; les quatre autres triangles EDI, DGI, GCK, CFK, sont fermés d'après le système français, et cependant des nerfs LI, MI, NK, OK, réunissant les clefs des formerets, aux rencontres I et K, saillent au-dessous des rangs de clefs des remplissages. Ces nerfs sont même ornés de figures sculptées en relief. Quant aux triangles AER, BFR, ils sont fermés à la française par des remplissages biais. Mais un demi arc doubleau existant de G en R, le constructeur a cru devoir le continuer comme nerf de clef saillant jusqu'au sommet du gros arc doubleau AB. Donc la section faite suivant GS donne le tracé (67).

Si l'on veut prendre une idée exacte de l'aspect de cette voûte, il faut recourir à la vue perspective que nous donnons (68). Dans le domaine royal, on se serait contenté de fermer les triangles de remplissage (fig. 66) EDR, DGR, GCR, CFR, par des rangs de moellon posés des formerets ED, DG, etc., aux arcs doubleaux et arcs ogives ER, GR, DR, absolument comme on l'a fait pour le triangle AER.

Tant que la voûte de l'Aquitaine et anglo-normande conserva ses arcs ogives très-surhaussés comme ceux de la voûte gothique primitive française, les apparences de ces voûtes furent à peu près les mêmes; mais, en France, on reconnut, dès la fin du XIIe siècle, l'avantage qu'il y aurait à élever les clefs des formerets et arcs doubleaux au niveau des clefs des arcs ogives: 1º pour pouvoir prendre des jours plus hauts; 2º pour laisser passer les entraits des charpentes au-dessus des voûtes, sans élever démesurément les murs latéraux. On voulut imiter ce perfectionnement dans les provinces anglo-normandes. Là, il se présentait une difficulté: le principe de construction des rangs des moellons de remplissage dérivé de la coupole se prêtait mal à l'adoption de cette innovation. Nous venons de dire qu'un nerf avait dû être posé sous la rencontre des abouts de ces rangs de moellon. Or, soit une voûte anglo-normande dont nous donnons la coupe (69), lorsqu'elle était construite suivant le tracé A, le nerf réunissant les clefs BC pouvait offrir par sa courbure une parfaite résistance; mais si elle était construite conformément au tracé D, d'après la nouvelle méthode française, le nerf saillant CE n'avait plus assez de flèche pour présenter une résistance suffisante; si la voûte était grande, il y avait à craindre que ce nerf ne vînt à fléchir en G, vers le milieu de sa longueur. Pour parer à ce danger, les constructeurs anglo-normands n'abandonnèrent pas pour cela leur méthode de remplissage; ils préférèrent soutenir ce point faible G par de nouveaux nerfs saillants, tracés en HI sur la projection horizontale K, et alors, au lieu de bander les arcs de remplissage en moellons comme il est tracé en L, ils les posèrent ainsi qu'il est tracé en K. En examinant le quart de voûte OMPI, on reconnaît que sa surface intérieure était bien près déjà, par suite de la disposition des rangs de moellons de remplissage, de donner une portion de cône curviligne concave. Une fois sur cette voie, les constructeurs anglo-normands ne songèrent plus à la voûte française: ils développèrent franchement le principe qu'ils n'avaient admis peut-être, dans l'origine, qu'à leur insu; ils ne virent dans la voûte gothique qu'un réseau d'arcs s'entrecroisant, se contre-étayant réciproquement, et soutenant des remplissages ne donnant plus chacun que des surfaces à peine concaves.

Au milieu du XIIIe siècle déjà, ils élevaient le choeur de la cathédrale d'Ély, dont les voûtes hautes donnent la projection horizontale (70) et la coupe CD faite suivant C'D'. Se fiant sur la force de ces arcs croisés et contre-étayés, ils n'hésitèrent pas à élever les clefs C'D' des formerets EF au-dessus des clefs G, afin de prendre des jours très-hauts, comme l'indique la coupe CD. Mais l'apparence de ces voûtes, à l'intérieur, est autre que celle des voûtes françaises. Voici la vue perspective d'une naissance des voûtes du choeur de la cathédrale d'Ély (71).

On voit que ces arcs ou arêtes saillantes donnent une gerbe de courbes dont une portion considérable présente une surface conique curviligne concave, et pour rendre cet effet plus saisissant, le constructeur a eu le soin de réunir tous ces arcs sur le tailloir des chapiteaux en un faisceau compacte dont nous indiquons le lit inférieur (71 bis) en A, et la section horizontale au niveau B, en C.

Mais si cette section horizontale trace une portion de polygone portant sur les branches de D en E; de D en F, qui est l'arc formeret, elle rentre brusquement, car la naissance de ce formeret étant beaucoup plus élevée que celle des arcs ogives, arcs doubleaux et tiercerons, le remplissage de moellons GF doit s'élever verticalement dans un plan passant par GF. Ces voûtes présentent donc, jusqu'à la naissance des formerets, un groupe de nervures se détachant de la construction, une masse compacte, lourde par le fait, avec une certaine prétention à la légèreté. Voulant conserver les clefs des formerets au niveau des clefs d'arcs ogives, ainsi que nous l'avons dit plus haut, et étant évidemment gênés dans leurs combinaisons par ces surfaces rentrantes et verticales GF, les constructeurs anglo-normands prirent le parti de relever les naissances des arcs doubleaux, arcs ogives et tiercerons, au niveau de celles des formerets. La présence de la surface FG verticale, à côté des surfaces courbes DE, n'était pas logique pour des rationalistes. Mais, plaçant les naissances de tous les arcs de la voûte au même niveau pour éviter ces surfaces verticales, les architectes anglais prétendaient cependant poser les clefs des arcs ogives et arcs doubleaux sur une même ligne horizontale; il fallait alors que ces arcs doubleaux et arcs ogives fussent très-surbaissés. On arriva donc, en Angleterre, à abandonner pour les arcs doubleaux la courbe en tiers-point, et pour les arcs ogives la courbe plein cintre, et à adopter des courbes composées de portions d'ellipses en conservant seulement les courbes en tiers-point franches pour les formerets, ainsi que l'indique la fig. 72; les clefs ABC sont dans un même plan horizontal.

De ces gerbes de nerfs formant comme des pyramides ou des cônes curvilignes renversés aux voûtes composées de cônes curvilignes se pénétrant, il n'y a pas loin; les constructeurs de la fin du XIVe siècle, en Angleterre, arrivèrent bientôt à cette dernière conséquence (72 bis). Mais ces voûtes ne sont plus fermées par des remplissages en maçonnerie de moellon sur des arcs appareillés; ce sont des voûtes entièrement composées de grandes pierres d'appareil, peu épaisses, exigeant des épures, un tracé compliqué et certains artifices, tels, par exemple, que des arcs doubleaux noyés dans les pavillons renversés, ainsi que nous l'avons marqué en ABC, sur le tracé figurant l'extrados de la voûte 13.

C'est ainsi que, par une suite de déductions, très-logiques d'ailleurs, les constructeurs anglo-normands passèrent de la coupole à ces voûtes étranges composées de pénétrations de cônes curvilignes, et s'éloignèrent entièrement de la construction française. En Normandie, ces voûtes ne furent jamais adoptées; mais de l'influence anglaise il resta quelque chose. Dans cette province, on abandonna souvent, vers la fin du XVe siècle, les voûtes composées de rangs de moellons bandés sur des arcs. On voulut aussi faire de l'appareil. Les Normands, les Manceaux, les Bretons firent volontiers des voûtes composées: soit de grandes dalles appareillées, décorées de moulures à l'intérieur, se soutenant par leurs coupes, sans le secours des arcs, soit de plafonds en pierre posés sur des arcs. On voit, dans l'église de la Ferté-Bernard, près le Mans, de jolies chapelles du XVIe siècle ainsi voûtées 14 (73).

Ce sont des dalles sculptées en caissons à l'intérieur, posées sur des claires-voies de pierre portées par des arcs ogives. Ce système de construction est élégant et ingénieux; mais on voudrait voir ici des fenêtres carrées, car les formerets en tiers-point qui les ferment n'ont plus de raison d'être. Le système des voûtes gothiques devait en venir là, c'était nécessairement sa dernière expression. Fermer les intervalles laissés entre les arcs par des plafonds, et, au besoin, multiplier les arcs à ce point de n'avoir plus entre eux que des surfaces pouvant être facilement remplies par une ou deux dalles, c'était arriver à la limite du système, et c'est ce qui fut tenté, souvent avec succès, au commencement de la renaissance, soit dans les monuments religieux, soit dans l'architecture civile. Il convient même de rendre cette justice aux architectes de la renaissance française qu'ils surent employer avec une grande liberté les méthodes gothiques touchant la construction des voûtes, et qu'en s'affranchissant de la routine dans laquelle se tenaient les maîtres du XVe siècle, ils appliquèrent aux formes nouvelles les ressources de l'art de la construction du moyen âge.
Au commencement du XVIe siècle, les architectes employèrent très-fréquemment le système de voûtes composées de dalles portées sur des nerfs, ce qui leur permit de décorer ces voûtes de riches sculptures et d'obtenir des effets inconnus jusqu'alors. Composant des sortes de réseaux de pierre, avec clefs pendantes ou rosaces aux points de rencontre des nervures, ils posèrent des dalles sculptées entre elles. Ce parti fut souvent adopté, par exemple, pour voûter des galeries ou des rampes d'escaliers en berceau surbaissé (74). Chaque claveau d'arête transversale A porte, des deux côtés de la petite clef pendante, une coupe B pour recevoir les claveaux C longitudinaux; les dalles D viennent simplement reposer en feuillures sur ces claveaux, ainsi que l'indique le détail X; A' est la coupe de l'un des arcs transversaux, B' un des claveaux de plates-bandes longitudinales, D' la coupe de la dalle. Cette méthode est simple, et une pareille construction est bonne, facile à exécuter, les dalles pouvant être sculptées avant la pose; elle présente toute l'élasticité que les constructeurs gothiques avaient obtenue dans la combinaison de leurs voûtes. Mais les artistes de la renaissance oublièrent assez promptement ces traditions excellentes, et s'ils conservèrent encore longtemps ces formes dérivées d'un principe raisonné de construction, ils appareillèrent ces sortes de voûtes comme des berceaux ordinaires, ne considérant plus les arêtes comme des nerfs indépendants.
Pendant les XVe et XVIe siècles, les Anglais et les Normands étaient arrivés, dans la construction des voûtes, à produire des effets surprenants par leur combinaison et leur richesse. Les architectes de l'Île-de-France, de la Champagne, de la Bourgogne et de la Loire, conservèrent, même dans ces derniers temps de la période gothique, plus de sobriété; pendant le XVIe siècle, ils cherchèrent bientôt à reproduire les formes, sinon la structure de la voûte romaine.

Lorsque le caractère des populations est laissé à ses inspirations et n'est pas faussé par un esprit de système étroit, il se peint avec une franchise entière dans les oeuvres d'art, et particulièrement dans celles qui sont en grande partie le résultat d'un raisonnement. Les Normands ont toujours été plutôt des praticiens hardis que des inventeurs; ils ont su, de tout temps, s'approprier les découvertes de leurs voisins et en tirer parti chez eux. Il ne faudrait pas leur demander ces efforts de l'imagination, ces conceptions qui appartiennent aux génies plus méridionaux, mais bien des applications ingénieuses, réfléchies, une exécution suivie et savante, la persistance et le soin dans l'exécution des détails. Ces qualités se retrouvent dans les édifices anglo-normands bâtis pendant les XIIe et XIIIe siècles. Il ne faut pas demander aux Anglo-Normands cette liberté d'allures, cette variété, cette individualité que nous trouvons dans notre construction française. Chez eux, une méthode passe-t-elle pour bonne et pratique, ils la perfectionnent, en étendent les conséquences, en suivent les progrès et s'y tiennent. Chez nous, au contraire, on cherche toujours et on ne perfectionne rien. Les constructions anglo-normandes sont généralement exécutées avec beaucoup plus de soin que les nôtres; mais en connaître une, c'est les connaître toutes: on n'y voit point éclater ces inspirations neuves, hardies, qui ont tourmenté nos architectes des premiers temps de l'art gothique; véritable époque d'émancipation intellectuelle des classes laborieuses du nord de la France.
Note 6: (retour) Bas-côté du choeur de Notre-Dame-du-Port, à Clermont.
Note 7: (retour) Ces arcs ont été détruits depuis et remplacés par des maçonneries et du bois lorsqu'on refît les couvertures, au XVe siècle. Il serait temps de penser à les replacer.
Note 8: (retour) Il est entendu que nous ne parlons ici que de la construction primitive du choeur de Notre-Dame de Paris, avant la construction des chapelles rayonnantes.
Note 9: (retour) On remarquera, en effet, que ces premières voûtes sont, comparativement à celles du milieu du XIIIe siècle, assez plates, et que leurs arcs doubleaux se rapprochent du plein cintre. Plus tard, ces voûtes parurent trop peu solides; on donna de l'aiguïté aux arcs ogives, ou bien on suréleva leur naissance, afin de pouvoir élever les clefs des arcs doubleaux.
Note 10: (retour) Pour ne pas compliquer la figure, nous supposons un nombre de divisions de douelles très-limité. L'opération est la même, quelle que soit la division des douelles.
Note 11: (retour) Les remplissages des grandes voûtes de la cathédrale de Paris n'ont pas plus de 0,10 c. d'épaisseur.
Note 12: (retour) Voûtes du cloître de Fontfroide près Narbonne, des bas-côtés de la cathédrale d'Ély, du cloître de Westminster (Angleterre), des bas-côtés de l'église d'Eu.
Note 13: (retour) Voy. le Mémoire de M. le Dr Willis sur la construction des voûtes au moyen âge, et la trad. de M. C. Daly, t. IV de la Revue d'Archit.
Note 14: (retour) La construction de ces chapelles date de 1543 et 1544.
MATÉRIAUX.--Il est une observation intéressante à faire et qui peut avoir une certaine portée. Plus les peuples sont jeunes, et plus les monuments qu'ils élèvent prennent un caractère de durée; en vieillissant, au contraire, ils se contentent de constructions transitoires, comme s'ils avaient la conscience de leur fin prochaine. Il en est des populations comme des individus isolés: un jeune homme bâtira plus solidement qu'un septuagénaire, car le premier n'a pas le sentiment de sa fin, et il semble croire que tout ce qui l'entoure ne saurait durer autant que lui. Or le moyen âge est un singulier mélange de jeunesse et de décrépitude. La vieille société antique conserve encore un souffle de vie; la nouvelle est au berceau. Les édifices que construit le moyen âge se ressentent de ces deux situations contraires. Au milieu des populations qui sont pénétrées d'une sève jeune et forte, comme les Normands et les Bourguignons par exemple, les constructions sont élevées beaucoup plus solidement et prennent un caractère plus puissant que chez les habitants des bords de la Seine, de la Marne et de la Loire, dont les moeurs se ressentent encore, pendant le XIIe siècle, des traditions romaines. Le Bourguignon a même, sur le Normand, un avantage considérable, en ce qu'il est doué d'une imagination active et que son tempérament est déjà méridional. Pendant la période romane, ses monuments ont un caractère de puissance que l'on ne saurait trouver dans les autres provinces françaises, et lorsque commence à se développer, le système de la construction gothique, il s'en empare et l'applique avec une énergie singulière. Peut-être a-t-il un goût moins sûr que l'habitant des bords de la Seine ou de la Marne, son voisin; mais il a certainement de plus que lui le sentiment de sa force, la conscience de sa durée et les moyens de déployer ces qualités juvéniles. Il semble que le territoire qu'il occupe lui vient en aide, car il lui fournit d'excellents matériaux, résistants, de grandes dimensions, se prêtant à toutes les hardiesses que son imagination ardente lui suggère. Au contraire, dans les bassins de la Seine, de la Marne, de l'Oise et de la Loire moyenne, dans la vieille France, les matériaux fournis par le sol sont fins, légers, peu résistants; ils doivent, par leur nature, éloigner l'idée de la témérité et obliger le constructeur à suppléer par des combinaisons ingénieuses à ce que le sol lui refuse. Il faut tenir compte des propriétés de ces matériaux divers, et de l'influence exercée par leurs qualités sur les méthodes employées par les constructeurs; mais, indépendamment de ces qualités particulières des matériaux propres à bâtir, nous le répétons, le caractère des habitants de ces provinces présente de grandes différences qui influent sur les moyens adoptés.
La transition est complète: de la structure romane, il ne reste plus rien; le principe d'équilibre des forces a remplacé le système de stabilité inerte. Tout édifice, à la fin du XIIe siècle, se compose d'une ossature rendue solide par la combinaison de résistances obliques ou de pesanteurs verticales opposées aux poussées, et d'une enveloppe, d'une chemise qui revêt cette ossature. Tout édifice possède son squelette et ses membranes; il n'est plus qu'une charpente de pierre indépendante du vêtement qui la couvre. Ce squelette est rigide ou flexible, suivant le besoin et la place; il cède ou résiste; il semble posséder une vie, car il obéit à des forces contraires, et son immobilité n'est obtenue qu'au moyen de l'équilibre de ces forces, non point passives, mais agissantes. Déjà nous avons pu apprécier les propriétés de ce système dans la description que nous avons donnée des constructions du choeur de l'église de Notre-Dame de Châlons-sur-Marne (fig. 41, 42 et 43); mais combien cette construction paraît grossière et cherchée à la fois, mesquine et compliquée, si nous la comparons aux belles constructions bourguignonnes de la première moitié du XIIIe siècle. Là, tout est clair, franc, facile à comprendre; et quelle hardiesse savante! hardiesse de gens qui sont certains de ne point faillir, parce qu'ils ont tout prévu, qu'ils n'ont rien laissé au hasard, et connaissent les limites que le bon sens interdit de franchir.
Nous avons atteint la période de la construction au moyen âge pendant laquelle la nature des matériaux employés va jouer un rôle important. Nous ne saurions passer sous silence des observations qui doivent être comme l'introduction aux méthodes de bâtir des architectes gothiques. On avait construit une si grande quantité d'édifices publics et privés pendant le XIIe siècle, qu'on ne peut être surpris de trouver chez les constructeurs une connaissance approfondie des matériaux propres à bâtir et des ressources que présente leur emploi. Les hommes qui ne peuvent acquérir une instruction très-étendue, faute d'un enseignement complété par les observations successives de plusieurs siècles, sont obligés de suppléer à cette pauvreté élémentaire par la sagacité de leur intelligence; ne pouvant s'appuyer sur des documents qui n'existent pas, il leur faut faire eux-mêmes ces observations, les recueillir, les classer, en former une doctrine. La pratique seule les dirige; ce n'est que plus tard que les règles s'établissent, et il faut bien l'avouer, si complète que soit la théorie, si nombreuses et bonnes que soient les règles, elles ne parviennent jamais à remplacer les observations basées sur une pratique de chaque jour. À la fin du XIIe siècle, les constructeurs avaient remué et taillé une si grande quantité de pierres qu'ils étaient arrivés à en connaître exactement les propriétés, et à employer ces matériaux, en raison de ces propriétés, avec une sagacité fort rare. Alors, ce n'était pas, comme aujourd'hui, une chose facile que de se procurer de la pierre de taille; les moyens de transport et d'extraction étaient insuffisants, il fallait se fournir sur le sol; il n'était pas possible de se procurer des pierres de provenances éloignées: c'était donc au moyen des ressources locales que l'architecte devait élever son édifice, et souvent ces ressources étaient faibles. On ne tient pas assez compte de ces difficultés lorsqu'on apprécie l'architecture de ces temps, et on met souvent sur le compte de l'architecte, on considère comme un désir puéril d'élever des constructions surprenantes par leur légèreté, ce qui n'est en réalité qu'une extrême pénurie de moyens. La pierre à bâtir était, aux XIIe et XIIIe siècles, comparativement à ce qu'elle est de notre temps, une matière rare, chère par conséquent; force était de la ménager et de l'employer de façon à n'en faire entrer que le plus faible cubage possible dans les constructions. Il n'est pas besoin de recourir aux documents écrits pour reconnaître cette vérité; il suffit d'examiner les édifices publics ou privés avec quelque attention, on reconnaît bientôt alors que les constructeurs, non-seulement ne posent pas une pierre de plus qu'il n'est nécessaire, mais encore qu'ils ne mettent jamais en oeuvre que les qualités propres à chaque place, économisant avec un grand scrupule les pierres les plus chères, c'est-à-dire celles qui sont d'une très-grande dureté ou d'un fort volume. La main-d'oeuvre, au contraire, étant comparativement alors peu élevée, les architectes ne se faisaient pas faute de la prodiguer. Il est assez dans l'ordre des choses, d'ailleurs, que lorsqu'une matière est chère par elle-même, on cherche à faire ressortir sa valeur par une façon extraordinaire. Nous recommandons ces observations aux personnes qui, non sans raisons, condamnent aujourd'hui l'imitation servile de l'architecture gothique. Voici ce que l'on pourrait dire, mais on n'y a point encore songé: «Si, au XIIe siècle, le mètre cube de pierre valait en moyenne 200 fr. et la journée d'un tailleur de pierre 1 fr., il était raisonnable de n'employer que le moins de pierre possible dans un édifice, et il était naturel de faire ressortir la valeur de cette matière précieuse par une façon qui coûtait si peu. Mais aujourd'hui que la pierre vaut en moyenne 100 fr. le mètre cube et que la journée d'un tailleur de pierre représente 6 et 7 fr., il n'y a plus les mêmes raisons pour tant épargner la pierre aux dépens de la solidité, et donner à cette matière qui coûte si peu une façon qui coûte si cher 15.» Cette argumentation serait plus concluante contre les imitateurs de l'architecture gothique que ne l'est, par exemple, la comparaison d'une nef d'église gothique avec la carène renversée d'un navire; car cette comparaison est un éloge plutôt qu'une critique, comme le serait la comparaison de la coupole du Panthéon avec une ruche d'abeilles. Mais laissons là les comparaisons, qui ne sont point raisons, comme dit le proverbe, et poursuivons. Les constructeurs, au moyen âge, ne connaissaient pas la scie au grès, cette longue lame de tôle battue au moyen de laquelle, par un mouvement horizontal de va-et-vient, un ouvrier peut couper des blocs énormes en tranches aussi minces que le besoin l'exige. Il est encore soixante-dix départements en France dans lesquels cet engin si simple n'est pas employé, et ce sont ceux généralement où on construit le mieux, car on pourrait contester les avantages de la scie au grès. La France abonde en bancs calcaires très-variés, très-bons, et faciles à extraire. Ces bancs, comme chacun sait, sont durs ou tendres, minces ou épais, habituellement minces lorsqu'ils sont durs, épais lorsqu'ils sont tendres. Or il y a toujours avantage, dans les constructions, à respecter l'ordre de la nature; c'est ce que les anciens ont observé souvent, c'est ce qu'ont observé avec plus de scrupule les constructeurs gothiques. Ils ont extrait et employé les matériaux tels que les leur donnaient les bancs de carrières, en soumettant même les membres de l'architecture à ces hauteurs de bancs. Ne dédoublant jamais une pierre, ainsi que nous le faisons aujourd'hui sur nos chantiers, ils les ont posés, dans leurs bâtisses, entières, c'est-à-dire avec leur coeur conservé dans leur partie moyenne, leurs lits de dessous et de dessus, se contentant de les ébousiner 16. Cette méthode est excellente; elle conserve à la pierre toute sa force naturelle, tous ses moyens de résistance. Si les constructeurs gothiques des premiers temps employaient des pierres tendres pour les points d'appui (ce qu'ils étaient souvent forcés de faire, faute d'en trouver d'autres), ils avaient le soin de leur conserver une grande hauteur de banc; car, dans ce cas, la pierre tendre est moins sujette aux écrasements. Quant aux pierres dures, et entre autres les plus minces, qui sont généralement les plus fortes, ils s'en servaient comme de liaisons, de linteaux continus pour réunir des piles distantes les unes des autres; ils en composaient les points d'appui qui devaient porter une très-lourde charge, soit en les empilant les unes sur les autres, si ces points d'appui étaient très-épais, soit en les posant debout, en délit, si ces points d'appui étaient grêles. À l'égard de ces pierres posées en délit, on reconnaît toute la finesse d'observation des constructeurs. Ils n'ignoraient pas que les pierres posées en délit sont sujettes à se déliter; aussi les choisissaient-ils avec un soin particulier dans les bancs bas, très-homogènes et très-compactes, dans le cliquart à Paris, dans les pierres dures de Tonnerre 17, en Basse-Bourgogne et Champagne, dans ces petits bancs de la Haute-Bourgogne, durs comme le grès et sans délits 18. L'expérience leur avait démontré que certaines pierres dures, fines de grain, comme le cliquart et le petit banc dur de Tonnerre, par exemple, se composent de lames calcaires très-minces, superposées et réunies par une pâte solide; que ces pierres, par leur contexture même, ont, posées debout, à contre-fil pour ainsi dire, une force extraordinaire; qu'elles résistent à des pressions énormes, et que, fortement serrées sous une charge puissante, elles se délitent moins facilement que si elles étaient posées sur leur lit; car ce qui fait déliter ces pierres, c'est l'humidité qu'elles renferment entre leurs couches minces et qui gonflent leurs lamelles marneuses: or, posées à plat, elles sont plus aptes à conserver cette humidité que posées de champ. Dans ce dernier cas, l'eau glisse le long de leurs parois, et ne pénètre pas les couches superposées. Comme preuve de ce que nous avançons, nous pourrions citer nombre de chéneaux, de larmiers, de corniches, de dalles en liais ou cliquart, dans de très-anciens édifices, posés sur leur lit, et que l'on trouve fréquemment délités; tandis que les mêmes matériaux, dans les mêmes monuments, posés debout, en délit, se sont parfaitement conservés et ne se sont fendus que par suite d'accidents, tels que l'oxydation de crampons ou goujons, ou quelque défaut. Nous ne devons pas omettre ici un fait important dans les constructions du moyen âge, c'est que les lits sont taillés avec la même perfection que les parements vus, et que les pierres sont toujours posées à bain de mortier et non fichées ou coulées, ce qui est pis. Au surplus, et pour terminer cette digression sur les matériaux propres à bâtir, nous ajouterons que les constructeurs de la première période gothique ont soumis leur système de construction aux matériaux dont ils disposaient, et par conséquent les formes de leur architecture. Un architecte bourguignon, au XIIe siècle, ne bâtissait pas à Dijon comme à Tonnerre; si l'on retrouve dans une même province l'influence d'une même école, dans l'exécution des maçonneries on remarque des différences considérables résultant de la nature de la pierre employée. Mais, comme dans chaque province il est une qualité de matériaux dominante, les architectes adoptent une méthode de bâtir conforme à la nature de ces matériaux. La Bourgogne, si riche en pierres d'une qualité supérieure, nous fournit la preuve la plus évidente de ce fait.
Note 15: (retour) On se demandera peut-être comment il peut se faire que la pierre soit chère pendant que la main-d'oeuvre est bon marché, puisque la pierre n'acquiert de valeur que par son extraction. À cela nous répondrons que l'extraction peut être faite avec plus ou moins d'habileté d'abord et au moyen d'engins plus ou moins puissants; qu'un état industriel très avancé amène toujours une diminution de prix sur les matières premières, par la facilité d'extraction, de transport, et à cause de l'emploi de machines perfectionnées. Un mètre cube de pierre qui ne coûtera de transport que cinq francs, par exemple, par quarante kilomètres, sur un canal, coûtera vingt francs et plus amené sur des chariots, en supposant la même distance parcourue; si les routes sont mauvaises, la différence sera bien plus considérable. Or c'est ce qui avait lieu pendant le moyen âge, sans compter les péages et droits d'extraction qui, souvent, étaient énormes. La centralisation est un des moyens les plus certains d'obtenir les matières premières à bon marché. Autrefois il n'y avait pas un abbé ou un seigneur sur les terres duquel il fallait passer qui ne fît payer un droit de transit, et ces droits étant arbitraires, il en résultait une augmentation considérable sur les prix d'extraction. Et la preuve qu'il en était ainsi, c'est que nous voyons, par exemple, les établissements monastiques aller souvent chercher la pierre à des distances énormes, parce qu'elle provenait de carrières à eux appartenant et qu'elle n'avait qu'à suivre des routes libres de droits, tandis qu'ils ne faisaient pas venir des matériaux très-voisins, mais qui devaient traverser des territoires appartenant à des propriétaires non vassaux de l'abbaye.
Note 16: (retour) Ébousiner une pierre, c'est enlever sur ses deux lits les portions du calcaire qui ont précédé la complète formation géologique ou suivi cette formation; en un mot, c'est enlever les parties susceptibles de se décomposer à l'action de l'air ou de l'humidité.
Note 17: (retour) Ces bancs bas durs de Tonnerre ne sont plus exploités, bien que leurs qualités soient excellentes; on les appelait pierres des bois.
Note 18: (retour) Pierres de le Manse, de Dornecy, de Ravières, de Coutarnoux dur, d'Anstrude, de Thisy, de Pouillenay.
DÉVELOPPEMENTS (XIIIe SIÈCLE)--À Dijon, il existe une église de médiocre dimension, sous le vocable de Notre-Dame; elle fut bâtie vers 1220; c'est un chef-d'oeuvre de raison où la science du constructeur se cache sous une simplicité apparente. Nous commencerons par donner une idée de la structure de cet édifice. Le chevet, sans collatéral, s'ouvre sur la croisée; il est flanqué de deux chapelles ou absidioles orientées comme le sanctuaire, et donnant sur les transsepts dans le prolongement des bas-côtés de la nef.
L'abside de Notre-Dame de Dijon ne se compose, à l'intérieur, que d'un soubassement épais, peu élevé, portant des piles isolées reliées en tous sens, et n'ayant pour clôture extérieure qu'une sorte de cloison de pierre percée de fenêtres. Naturellement, les piles sont destinées à porter les voûtes; quant aux cloisons, elles ne portent rien, elles ne sont qu'une fermeture. À l'extérieur, la construction ne consiste qu'en des contre-forts.

La fig. 75 donne une vue perspective de cette abside; étant dépourvue de bas-côtés, les contre-forts contre-buttent directement la voûte sans arcs-boutants 19. Ces contre-forts sont épais et solides; en eux seuls réside la stabilité de l'édifice. Rien n'est plus simple d'aspect et de fait que cette construction. Des murs minces percés de fenêtres ferment tout l'espace laissé entre les contre-forts. Un passage extérieur en A est laissé pour faciliter les réparations des grandes verrières. Tous les parements sont bien garantis contre la pluie par des pentes sans ressauts et des corniches ou bandeaux. Ce n'est évidemment là qu'une enveloppe solide, un abri. Entrons maintenant dans l'église de Notre-Dame de Dijon. Autant l'extérieur est simple, solide, couvert, abrité, autant l'intérieur présente des dispositions légères, élégantes. Ce monument était et est encore bâti dans un quartier populeux, entouré de rues étroites; l'architecte a pensé qu'il devait tout sacrifier à l'effet intérieur. On reconnaît d'ailleurs qu'il a dû être limité dans ses dépenses, éviter les frais inutiles.

Il ne prodigue pas les matériaux, il n'a pas voulu poser une pierre de trop. L'abside donc, intérieurement (76), se compose d'un soubassement plein A, épais, construit en assises et décoré d'une arcature indépendante, en placage. De ce soubassement partent déjà les colonnettes B, qui montent jusqu'aux naissances des arcs de la grande voûte. Ces colonnettes sont posées en délit de la base à la tablette C, qui les relie par une bague à la construction extérieure. Sur ce soubassement est un passage ou galerie de service destinée à faciliter l'entretien des verrières D et à tendre l'église, s'il est besoin, les jours de fêtes. Les piles E sont isolées; elles se composent de quatre colonnes en délit, de la base aux chapiteaux, une grosse (0,37 c. de diamètre) et trois grêles (0,12 et 0,15 c. de diamètre). En A', nous donnons la section de ces piles. La grosse colonne et les deux latérales sont chacune d'une seule pièce jusqu'à l'assise F des chapiteaux, tandis que la colonnette montant de fond est d'un seul morceau jusqu'à la tablette G. Cette tablette G forme plafond sur la galerie basse et relie la grande arcature avec les parements extérieurs. Dans la hauteur de la galerie du deuxième étage (triforium), même disposition des piles, même section A'; seulement une colonnette intermédiaire H portant une arcature composée elle-même de grands morceaux de pierre minces, comme des dalles posées de champ. Au-dessus du triforium, un second dallage I sert de plafond à ce triforium et relie l'arcature à la construction extérieure; puis naissent les arcs de la grande voûte contre-buttés par les contre-forts extérieurs. Les fenêtres hautes s'ouvrent alors au-dessus de l'arcature du triforium, et ne sont plus en renfoncement comme au-dessous, afin de donner tout le jour possible et de laisser à l'extérieur le passage dont nous avons parlé plus haut. Ainsi la poussée des arcs se reporte obliquement sur les contre-forts extérieurs, lesquels sont bâtis en assises, et les piles intérieures ne sont que des points d'appui rigides, incompressibles, puisqu'ils sont composés de grandes pierres en délit, mais qui, par leur faible assiette, ne présentent qu'un quillage pouvant au besoin s'incliner d'un côté ou de l'autre, en dehors ou en dedans, sans danger, s'il survient un tassement.

Quant aux murs K, ce ne sont, comme nous l'avons dit, que des cloisons de 0,20 c. au plus d'épaisseur. Dépouillons maintenant cette construction de tout ce qui n'est qu'accessoire, prenons son squelette, voici ce que nous trouverons (77): A un contre-fort bâti, masse passive; B quille grêle, mais rigide, résistante comme de la fonte de fer, grâce à la qualité du calcaire employé; C assises au droit des arcs, et par conséquent flexibilité au besoin; D liaison du dedans avec le dehors; E seconde quille, mais plus courte que celle du bas, car le monument s'élève et les mouvements qui se produiraient auraient plus de gravité; F seconde assise de liaison du dedans avec le dehors; G sommiers; H simples fermetures qui n'ont rien à porter et ne servent qu'à clore l'édifice; I buttée là seulement où la poussée de l'arc agit. Rien de trop, mais tout ce qui est nécessaire, puisque cette construction se maintient depuis plus de six siècles et qu'elle ne paraît pas près de sa ruine. Il n'est pas nécessaire de rappeler ici ce que nous avons dit relativement à la fonction des colonnettes monostyles qui accompagnent les colonnes B et E, et que nous avons supposé enlevées dans la fig. 77; elles ne sont que des soutiens accessoires qui donnent de la fermeté et de l'assiette aux colonnes principales, sans être absolument indispensables. La charge des voûtes s'appuie bien plus sur les contre-forts, par suite de l'action de la poussée, que sur les cylindres BE (voy. fig. 33). Les groupes intérieurs de colonnettes ne portant qu'un poids assez faible, il n'était pas besoin de leur donner une grande résistance. Mais si nous avons un bas-côté, si les contre-forts, au lieu d'être immédiatement opposés à l'action des voûtes, en sont éloignés de toute la largeur de ce collatéral, alors les piles verticales doivent avoir plus d'assiette, car elles portent réellement le poids des voûtes.
La nef de la même église de Notre-Dame de Dijon est voûtée suivant la méthode gothique primitive. Les arcs ogives sont sur plan carré et recoupés par un arc doubleau. Les piles inférieures sont cylindriques, élevées en tambours et de diamètres égaux. De deux en deux, les chapiteaux diffèrent cependant, car ils portent alternativement ou un arc doubleau et deux arcs ogives, ou un arc doubleau seulement.

Voici (78) une vue d'une travée intérieure de la nef de Notre-Dame de Dijon. En A' nous avons tracé la section du sommier A, et en B' la section du sommier B, avec la projection horizontale des tailloirs des chapiteaux. Ces chapiteaux portent une saillie plus forte du côté de la nef, pour recevoir les colonnettes qui montent jusqu'aux naissances des voûtes, toujours par suite de ce principe qui consiste à reculer les points d'appui verticaux de façon à soutirer une partie des poussées (voy. fig. 34). En C' nous donnons la section horizontale des piles C et en D' celle des piles D au niveau du triforium, en E' la section horizontale des sommiers E et en F' celle des sommiers F au niveau des tailloirs recevant les grandes voûtes. Cet aperçu général présenté, examinons maintenant avec soin la structure de cette nef.

Nous l'avons dit déjà, l'architecte de l'église de Notre-Dame de Dijon disposait d'un terrain exigu, resserré entre des rues étroites; il ne pouvait donner aux contre-forts de la nef, étayant tout le système, une forte saillie en dehors du périmètre des bas-côtés. S'il eût suivi les méthodes adoptées de son temps, s'il se fût soumis à la routine, ou, pour être plus vrai, aux règles établies déjà par l'expérience, il eût tracé les arcs-boutants de la nef ainsi que l'indique la fig. 79. La poussée de la grande voûte agissant de A en B, il aurait posé le dernier claveau de l'arc en A et son chaperon en B, et il aurait avancé le devant du contre-fort en C de manière à ce que la ligne oblique des poussées ne dépassât pas le point G. Mais il ne peut sortir de la limite I: la largeur réservée à la voie publique ne le lui permet pas; d'un autre côté, il ne peut, à l'intérieur, dépasser le point K, qui est à l'aplomb de la pile engagée intérieure L, sous peine d'avoir un porte-à-faux et de briser l'arc doubleau M, dont il est important de conserver la courbure; car si un poids trop considérable agit sur les reins de cet arc en N, cet arc chassera la pile isolée intérieure suivant une direction OP. Donc, l'architecte doit établir la pile de son arc-boutant dans l'espace compris entre K et I'. Mais nous savons que cette pile doit être passive, immobile, car c'est elle qui est le véritable point d'appui de tout le système; elle ne peut évidemment acquérir cette immobilité (son assiette étroite étant donnée) que par une combinaison particulière, un supplément de résistance verticale.

Voici donc comment le constructeur résout le problème: il élève la pile entre les deux points voulus (79 bis); il charge fortement la tête de l'arc-boutant en A; il incline le chaperon BC de manière à le rendre tangent à l'extrados de l'arc; puis il amène la face postérieure du pinacle D jusqu'au point E en porte-à-faux sur le parement F, de manière que l'espace PF soit un peu moins du tiers de l'espace FG. Ainsi la poussée de la grande voûte est fortement comprimée d'abord par la charge A, elle est neutralisée par cette pression; ce n'est plus que l'arc-boutant qui agit lui-même sur la pile K, d'autant qu'il est chargé en A. Si donc cet arc devait se déformer, ce serait suivant le tracé R; il se briserait en S et la pile K s'inclinerait. Mais l'architecte recule son pinacle, charge la pile en dehors de son aplomb jusqu'au point E, c'est-à-dire jusqu'au point où la rupture de l'arc-boutant aurait lieu; il arrête donc cette rupture, car sous la charge le point S' de l'arc-boutant ne peut se relever; mais le pinacle D ne fait que comprimer l'arc, il ne le charge pas, puisque l'espace CO est plus grand que l'espace OP: donc la charge du pinacle, qui est une construction homogène bien faite, en grandes pierres de taille, se porte sur OC, le centre de gravité du pinacle étant entre O et C; donc, l'arc démoli, ce pinacle resterait debout; donc il charge la pile K d'un poids supérieur à celui qu'aurait un pinacle n'ayant que FG de largeur; donc il assure ainsi la stabilité de la pile FG, trop faible par elle-même pour résister à la poussée sans l'appoint de cette charge, et, en même temps, il comprime les reins de l'arc-boutant au point où cet arc tendrait à se briser en se relevant. Le fait est encore plus probant que toutes les déductions logiques; la construction de la nef de Notre-Dame de Dijon, malgré la faiblesse de ses contre-forts extérieurs, n'a pas subi la moindre déformation. Ne perdons pas de vue l'intérieur; observons que les voûtes ne poussent pas directement sur la tête des arcs-boutants, et qu'entre la tête de ces arcs et le sommier de la voûte il existe, au-dessus du triforium U, un contre-fort intérieur V seulement au droit de cette poussée, et qui neutralise singulièrement son action. Étudions les détails: le bloc de pierre T, contre lequel vient butter le dernier claveau de l'arc-boutant, n'est autre que le linteau portant le contre-fort dont nous venons de parler, et dans la hauteur duquel linteau sont pris les deux chapiteaux qui portent les formerets de la voûte (voy. fig. 78). Ce linteau est juste posé au niveau de l'action de la poussée de la grande voûte.

Disséquons cette construction pièce à pièce (80). Nous voyons en A la colonne, quille principale du triforium au droit des piles qui portent les naissances d'un arc doubleau et de deux arcs ogives, quille flanquée de ses deux colonnettes B. En C les grandes colonnettes en délit qui posent sur le tailloir du gros chapiteau du rez-de-chaussée, et qui passent devant le groupe ABB pour venir sous l'assise M des chapiteaux des arcs de la grande voûte; assise d'un seul morceau. En D le chapiteau du triforium. En E le sommier de l'arcature du triforium, d'un seul morceau. En F les deux morceaux fermant l'arcature. En G l'assise du plafond du triforium reliant l'arcature et l'assise des chapiteaux M au contre-fort extérieur sous le comble, contre-fort dont les assises sont tracées en H. En G' une des dalles posées à la suite de celle G et reliant le reste de l'arcature à la cloison bâtie sous les fenêtres supérieures dont I est l'appui. Ces dalles G' portent le filet-solin K recouvrant le comble du bas-côté. En L le premier morceau de contre-fort extérieur vu au-dessus du comble. En M l'assise des chapiteaux des grandes voûtes portant les deux bases des colonnettes en délit des formerets. En N le sommier des grandes voûtes dont le lit supérieur est horizontal, et qui porte les naissances des deux arcs ogives et de l'arc doubleau. En O le second sommier portant les deux arcs ogives et l'arc doubleau, le lit supérieur de celui-ci étant déjà normal à la courbe, tandis que les lits des deux arcs ogives sont encore horizontaux. En P le troisième sommier ne portant plus l'arc doubleau, qui est dès lors indépendant, mais portant encore les deux arcs ogives dont les lits supérieurs sont horizontaux. En Q le quatrième sommier ne portant plus que l'épaulement derrière les arcs ogives pour poser les premiers moellons des remplissages. En R le linteau dont nous parlions tout à l'heure, reliant les sommiers à la pile dont les assises sont tracées en S; ce linteau porte les épaulements derrière les arcs ogives, car il est important de bien étayer ces arcs ogives indépendants déjà et dont des claveaux sont figurés en T, tandis que l'un des claveaux de l'arc doubleau est figuré en V. En X l'assise de contre-fort extérieur portant amorce de l'appui des fenêtres, bases des colonnettes extérieures de ces fenêtres, et filet passant par-dessus le filet-solin du comble, ainsi que l'indique le détail perspectif Y. L'arrivée des claveaux des arcs-boutants vient donc butter le linteau R, et, à partir de ce linteau, l'intervalle entre la pile S et la voûte est plein (voy. la vue intérieure, fig. 78).
Si nous examinons la coupe fig. 79 bis, nous voyons que le contre-fort X, le mur du triforium Y, le passage Z et la pile intérieure présentent une épaisseur considérable; car ce passage est assez large: le mur et le contre-fort ont ensemble 0,60 c. environ, et le groupe de colonnes composant la pile intérieure 0,50 c. Or tout cela doit porter sur un seul chapiteau, couronnant une colonne cylindrique. Il y aura évidemment un porte-à-faux, et si le contre-fort X vient à s'appuyer sur les reins de l'arc doubleau du bas-côté, la pression qu'il exercera fera chasser la colonne en dedans, lui fera perdre son aplomb, et, une fois son aplomb perdu, tout l'équilibre de la construction est détruit.

Le constructeur a d'abord donné (81) au chapiteau la forme A; c'est-à-dire qu'il a ramené l'axe de la colonne dans le plan vertical passant par le milieu de l'archivolte B. Sur ce chapiteau, il a posé deux sommiers CD à lits horizontaux: le premier sommier C, portant les bases des colonnettes en délit, montant jusqu'à la naissance des grandes voûtes; le troisième sommier E porte les coupes normales aux courbes de l'arc doubleau, des arcs ogives et des archivoltes, car, à partir de ce sommier, les arcs se dégagent les uns des autres. Affranchi des arcs qui dès lors sont posés par claveaux indépendants, le constructeur a monté une pile, formant harpe à droite et à gauche, FGHIK en encorbellement jusqu'à l'aplomb du contre-fort L; dans l'assise I, il a eu le soin de réserver deux coupes M pour recevoir des arcs en décharge portant le mur du triforium N. La pile intérieure O, composée, comme nous l'avons dit ci-dessus, d'un faisceau de colonnettes en délit, porte sur le parement intérieur de cette pile. Il est entendu que les assises FGHIK sont d'un seul morceau chaque, et fortes. Le poids le plus lourd et la résistance qui présente le plus de roide est la pile O, puisqu'elle porte verticalement les voûtes contre-buttées; le contre-fort L ne porte presque rien, car la tête de l'arc-boutant ne le charge pas (voy. fig. 79 bis), il ne fait qu'équilibrer la bâtisse. Donc les pierres KIH, étant chargées à la queue en K'I'H', ne peuvent basculer; donc le contre-fort est soutenu. Quant à la poussée de l'arc doubleau P et des arcs ogives du collatéral, elle est complétement neutralisée par la charge qui vient peser à l'aplomb de la pile O. On comprend maintenant comment il est essentiel que la pile O soit composée de grandes pierres debout et non d'assises, car cette pile supporte une double action de compression: celle de haut en bas, par suite de la charge des voûtes, et celle de bas en haut, par l'effet de bascule produit par les contre-forts L sur la queue des pierres KI. Si donc ces piles O étaient bâties par assises, il pourrait se faire que les joints en mortier, fortement comprimés par cette double action, vinssent à diminuer d'épaisseur; or le moindre tassement dans la hauteur des piles O aurait pour effet de déranger tout l'équilibre du système. Au contraire, l'action de levier produit par les assises I et K sous la pile O a pour résultat (ces piles étant parfaitement rigides et incompressibles) de soutenir très-énergiquement la naissance des grandes voûtes.

On se rendra mieux compte de ce système de construction en supposant, par exemple, qu'on ait employé, pour l'exécuter, de la fonte de fer, de la pierre et du bois (82). Soit une colonne et son chapiteau en fonte A posés sur un dé en pierre et portant un sommier B de pierre. Le constructeur donne, vers l'intérieur de la nef, une plus forte saillie au chapiteau que du côté du collatéral. Sur ce chapiteau, il élève les assises BCDEFG, etc., en encorbellement. Il pose trois colonnes en fonte H le long du parement intérieur, doublées de trois autres colonnes H' (voy. la section H''); ces colonnes HH' sont reliées au contre-fort I par des colliers et un crampon K, afin de rendre le contre-fort solidaire de la pile et d'empêcher le rondissement de l'un ou de l'autre. Le contre-fort I est construit en assises de pierres. Sur les colonnes HH', l'architecte pose les sommiers L de la grande voûte; les deux colonnes latérales OO continuent seules jusqu'au linteau M qui contre-butte les arcs de la grande voûte. À l'extérieur, il élève une pile N en pierre afin de pouvoir maintenir le quillage intérieur dans la verticale au moyen de l'étaiement P contre-butté, pour éviter son relèvement, par les moises R. Il n'y a aucun inconvénient, au contraire, à ce que le contre-fort I, bâti en assises, vienne à se comprimer et tasser, car plus le point Q s'abaissera et plus l'étai P sera roidi contre la queue du linteau M. Cependant ce contre-fort I est nécessaire pour retenir la queue du linteau M dans un plan horizontal, mais surtout pour donner de la stabilité à la colonne A. En effet, il n'est pas besoin d'être fort versé dans la connaissance des lois d'équilibre pour savoir que si, entre une colonne Y et une colonne S, grêles toutes deux (82 bis), nous posons plusieurs assises horizontales, il sera impossible, si chargée que soit la colonne S, et si bien étrésillonnées que soient les assises dans un sens, de maintenir ces deux quilles dans un plan vertical parallèle au plan des étrésillons; tandis que, posant sur une colonne T (82 ter) des assises horizontales V, étrésillonnées dans un sens, et sur ces assises deux supports ou chandelles XX' passant dans un plan vertical perpendiculaire au plan des étrésillons, en supposant d'ailleurs ces deux chandelles XX' chargées, nous pourrons maintenir les colonnes XX' et T dans des plans parallèles aux étrésillons. C'est en cela que consiste tout le système de la construction des nefs gothiques posant sur des colonnes. Là est l'explication des galeries superposées de l'architecture bourguignonne, sorte de contre-fort vide dont le parement intérieur est rigide et le parement extérieur compressible, donnant ainsi une grande puissance de résistance et d'assiette aux naissances des voûtes hautes, évitant des culées énormes pour contre-butter les arcs-boutants, et détruisant par son équilibre et sa pression sur deux points distants l'effet de poussée des voûtes des bas-côtés.
En vérité, tout ceci peut paraître compliqué, subtil, cherché; mais on voudra bien reconnaître avec nous que c'est ingénieux, fort habile, savant, et que les auteurs de ce système n'ont fait aucune confusion de l'art grec avec l'art du Nord, de l'art romain avec l'art oriental; qu'ils n'ont pas mis la fantaisie à la place de la raison, et qu'il y a dans ces constructions mieux que l'apparence d'un système logique. Nous admettons parfaitement que l'on préfère une construction grecque, romaine ou même romane à celle de l'église de Notre-Dame de Dijon; mais on voudra bien nous permettre de croire qu'il y a plus à prendre ici, pour nous architectes du XIXe siècle, appelés à élever des édifices très-compliqués, à jouer avec la matière, possédant des matériaux très-différents par leur nature, leurs propriétés et la façon de les employer; forcés de combiner nos constructions en vue de besoins nouveaux, de programmes très-variés, très-différents de ceux des anciens...; qu'il y a plus à prendre, disons-nous, que dans la structure primitive et si simple du temple de Minerve d'Athènes, ou même dans la structure concrète, immobile, du Panthéon de Rome. Il est fâcheux que nous ne puissions toujours bâtir comme les anciens et observer perpétuellement ces règles si simples et si belles des constructeurs grecs ou romains; mais nous ne pouvons élever raisonnablement une gare de chemin de fer, une halle, une salle pour nos assemblées, un bazar ou une bourse, en suivant les errements de la construction grecque et même de la construction romaine, tandis que les principes souples appliqués déjà par les architectes du moyen âge, en les étudiant avec soin, nous placent sur la voie moderne, celle du progrès incessant. Cette étude nous permet toute innovation, l'emploi de tous les genres de matériaux, sans déroger aux principes posés par ces architectes, puisque ces principes consistent précisément à tout soumettre, matériaux, forme, dispositions d'ensemble et de détail, au raisonnement; à atteindre la limite du possible, à substituer les ressources de l'industrie à la force inerte, la recherche de l'inconnu à la tradition. Il est certain que si les constructeurs gothiques eussent eu à leur disposition de grandes pièces en fonte de fer, ils n'auraient pas manqué d'employer cette matière dans les bâtiments, et je ne répondrais pas qu'ils ne fussent bientôt arrivés à des résultats plus judicieux, mieux raisonnés que ceux obtenus de notre temps, car ils auraient franchement pris cette matière pour ce qu'elle est, en profitant de tous les avantages qu'elle présente et sans se préoccuper de lui donner d'autres formes que celles qui lui conviennent. Leur système de construction leur eût permis d'employer simultanément la fonte de fer et la pierre, chose que personne n'a osé tenter à notre époque, tant la routine a d'action sur nos constructeurs, qui ne cessent de parler de progrès, comme ces choristes d'opéras qui crient «Partons!» pendant un quart d'heure, sans bouger de la scène. Nous ne sachions pas que l'on ait essayé en France, jusqu'à ce jour, si ce n'est dans la construction des maisons de quelques grandes villes, de porter des masses considérables de maçonnerie, des voûtes en brique ou même en pierre, de bonnes bâtisses bien raisonnées et appareillées, élégantes et solides, sur des points d'appui isolés en fonte. C'est qu'en effet l'instruction classique ne peut guère permettre ces essais que les architectes du moyen âge n'eussent certainement pas manqué de faire, et probablement avec un plein succès.
Quant à s'arrêter en chemin, ce n'est pas ce qu'on peut reprocher aux architectes gothiques; nous allons voir avec quelle ardeur ils se lancent dans l'application de plus en plus rigoureuse des principes qu'ils avaient posés, et comme ils arrivent, en quelques années, à pousser à bout ces principes, à employer la matière avec une connaissance exacte de ses qualités, à jouer avec les problèmes les plus compliqués de la géométrie descriptive.
L'église de Notre-Dame de Dijon est un petit édifice, et on pourrait croire que les architectes bourguignons de la première moitié du XIIIe siècle n'ont osé se permettre des hardiesses pareilles dans des monuments d'une grande étendue comme surface et fort élevés. C'est le contraire qui a lieu; il semble qu'en opérant sur une vaste échelle, ces constructeurs prennent plus d'assurance encore et développent avec plus de franchise encore leurs moyens d'exécution. Le choeur de la cathédrale de Saint-Étienne d'Auxerre fut rebâti, de 1215 à 1230 environ, sur une crypte romane (voy. CRYPTE), qui fit adopter certaines dispositions inusitées dans les grandes églises de cette époque. Ainsi le sanctuaire est entouré d'un simple collatéral avec une seule chapelle absidale carrée. Quant à sa construction, elle présente une parfaite analogie, dans les oeuvres basses, avec celle de l'église de Notre-Dame de Dijon. Toutefois, à Auxerre, la bâtisse est plus légère encore, et certaines difficultés, résultant des dispositions romanes du plan qu'on ne voulait pas changer, ont été résolues de la manière la plus ingénieuse.

Nous donnons (83) la moitié du plan de la chapelle absidale placée sous le vocable de la sainte Vierge. Ce plan est pris à la hauteur de la galerie du rez-de-chaussée portant, comme à Notre-Dame de Dijon, sur une arcature. En X, nous avons figuré, à une plus petite échelle, la projection horizontale de la voûte du collatéral devant cette chapelle. Suivant la méthode bourguignonne, les formerets sont isolés du mur; ils reposent sur des colonnettes en délit AB, CD, EF, GH, etc. Des colonnes-noyau, également posées en délit, supportent l'effort des pressions, et la voûte se compose de deux arcs ogives IK, LM, d'un arc doubleau NO, et de deux arcs intermédiaires PQ, RS. Ces deux arcs intermédiaires viennent, au droit du collatéral, retomber sur deux colonnes isolées QS, en délit, d'un seul morceau chaque, ayant 0,24 c. de diamètre sur 6m,60 de haut de la base au-dessous du chapiteau. La difficulté était de neutraliser si exactement les diverses poussées qui agissent sur ces colonnes QS, qu'elles ne pussent sortir de la verticale. C'était un problème à résoudre semblable à celui que l'architecte des chapelles de Notre-Dame de Châlons-sur-Marne s'était posé, mais sur une échelle beaucoup plus grande et avec des points d'appui incomparablement plus grêles. Plaçons-nous un instant dans le bas-côté, et regardons le sommet de la colonne S, dont le diamètre, ainsi que nous l'avons dit déjà, n'est que de 0,24 c. Sur cette colonne est posé un chapiteau dont le tailloir est octogone et assez large pour recevoir la naissance des deux arcs ST, SR; plus deux colonnettes portant les arcs doubleaux SQ, SY. Un haut sommier, dont le lit inférieur est en A (84) et le lit supérieur en B, est renforcé dans les angles restant entre les arcs et les colonnettes par des gerbes de feuillages.

Jusqu'au niveau du tailloir du chapiteau C, l'arc D du bas-côté s'élève et se courbe déjà au moyen de deux autres sommiers à lits horizontaux, tandis que l'arc E (intermédiaire de la chapelle), d'un diamètre plus grand, s'éloigne plutôt de la verticale, et se compose, à partir du lit B, de claveaux indépendants. Les colonnettes F des arcs doubleaux d'entrée de la chapelle sont monolithes et étayent ces sommiers, les roidissent et s'appuient fermement sur deux faces du tailloir.

La fig. 85 donne la section de cette naissance de voûtes au niveau GH. Cette construction est hardie, on ne saurait le nier; mais elle est parfaitement solide, puisque, depuis six siècles et plus, elle n'a subi aucune altération. Nous voyons là une des applications les plus ingénieuses du système de la voûte gothique, la preuve non équivoque de la liberté des constructeurs, de leur sûreté d'exécution et de leur parfaite connaissance de la résistance des matériaux. Ces colonnettes sont en pierre dure de Tonnerre, ainsi que les sommiers. Quant à l'effet que produit cette chapelle et son entrée, il est surprenant, mais sans inspirer cette inquiétude que cause toute tentative trop hardie. Les arcs se contre-buttent si bien en réalité, mais aussi en apparence, que l'oeil est satisfait. Jusqu'à cette quadruple gerbe de feuillage qui surmonte le chapiteau et donne du corps au sommier inférieur, tout concourt à rassurer l'observateur. Mais pourquoi, objectera-t-on peut-être, ces deux colonnes d'entrée? pourquoi l'architecte ne s'est-il pas contenté de jeter un arc doubleau d'une pile d'angle de cette chapelle à l'autre? À cela il n'est qu'une réponse; recourons à nos fig. 41, 42 et 44 de cet article, et l'explication est donnée: il s'agit, à cause de la disposition rayonnante du bas-côté, d'obtenir sur la précinction extérieure un plus grand nombre de points d'appui que sur la précinction intérieure, afin d'avoir des arcs doubleaux à peu près égaux comme base, exactement égaux sous clef pour fermer les triangles des voûtes au même niveau.
Si les voûtes de la chapelle de la Vierge et du collatéral de la cathédrale d'Auxerre sont disposées comme la plupart des voûtes bourguignonnes du XIIIe siècle, c'est-à-dire si leurs formerets sont éloignés des murs, et si un dallage portant chéneau réunit ces formerets aux têtes de ces murs, l'architecte du choeur n'a pas cru probablement que ce procédé de construction fût assez solide pour terminer les grandes voûtes du vaisseau principal. Il a dû craindre le quillage de ce système dans un édifice très-vaste, et il a pris un moyen terme entre le système champenois et le système bourguignon.

Le système champenois consiste bien à isoler le formeret du mur, mais à bander entre ce formeret et le mur un berceau sur l'extrados dudit formeret. Examinons donc en quoi consiste le système champenois. Nous le voyons arrivé à son apogée dans un petit édifice de la Marne, l'église de Rieux, près Montmirail. Voici d'abord (86) la moitié du plan de l'abside de cette jolie église. On voit que ce plan ressemble beaucoup à celui de l'abside de Notre-Dame de Dijon. Mais nous sommes en Champagne, sur un territoire où les matériaux résistants et d'une grande dimension sont rares; aussi les pilettes A ne sont plus composées de colonnes en délit: ce sont des groupes de colonnettes engagées présentant une assez forte section pour pouvoir être bâties en assises.

De plus, ces pilettes, au lieu d'être élancées, sont courtes. Examinons maintenant l'abside de Rieux à l'intérieur (87); nous voyons en B des berceaux concentriques aux formerets, y tenant, circonscrivant les fenêtres et portant la charpente du comble et la corniche extérieure 20. Ainsi, voici deux provinces Voisines, la Bourgogne et la Champagne, qui chacune partent du même principe de construction; mais dans la première de ces provinces, les matériaux propres à la maçonnerie sont abondants, fermes, faciles à extraire en grands morceaux; la construction se ressent des propriétés particulières au calcaire bourguignon; dans la seconde, au contraire, on ne trouve que des bancs de craie, des pierres marneuses, peu solides, ne pouvant être extraites des carrières qu'en morceaux petits; les architectes soumettent leur mode de construction à la nature des pierres de leur province. L'église de Rieux date des premières années du XIIIe siècle; la sculpture appartient presque au XIIe. La Champagne est en avance sur la Bourgogne et même sur l'Île-de-France, quand il s'agit de développer le principe de la construction gothique. Déjà les fenêtres de l'abside de Rieux sont pourvues de meneaux en délit, tandis que, dans l'Île-de-France, on ne les voit guère apparaître que vingt ans plus tard, et, en Bourgogne, vers 1260 seulement. La méthode indiquée dans la fig. 87, pour la construction des voûtes et des points d'appui qui les supportent, est déjà appliquée dans la chapelle absidale de l'église de Saint-Remy de Reims, antérieure de vingt ans au moins à l'abside de Rieux; elle est développée dans la cathédrale de Reims, dans les voûtes des chapelles et du grand vaisseau (voy. CATHÉDRALE, fig. 14, CHAPELLE, fig. 36).

Revenons maintenant à la cathédrale d'Auxerre; examinons le parti que
son architecte a su tirer des deux méthodes bourguignonne et
champenoise. Voici (88) une vue de l'intérieur du haut choeur; nous
avons supposé une des grandes fenêtres enlevée, pour laisser voir
comment les arcs-boutants contre-buttent la voûte et comment le
contre-fort intérieur est percé à la hauteur du triforium et de la
galerie au-dessus. En A, on distingue le berceau bandé entre les
formerets et l'archivolte des fenêtres; mais, par une concession au
système bourguignon, ce berceau ne naît pas, comme en Champagne, sur les
chapiteaux B; il ne commence qu'un peu plus haut sur un linteau C posé
sur les flancs du contre-fort intérieur. Ce berceau est ici posé sur
l'extrados du formeret, il est indépendant; tandis que, dans la
construction champenoise, le berceau et le formeret ne font qu'un, ou
plutôt le berceau n'est qu'un très-large formeret. Les meneaux des
fenêtres sont construits en assises, et non composés de colonnes et de
châssis en délit. Nous donnons en D la section horizontale de la pile
haute au niveau E; en F, la section de la pile au niveau G du triforium.
Suivant le principe bourguignon, ces piles sont en délit dans toute la
hauteur des passages. La corniche et le chéneau supérieur ne posent donc
pas sur un dallage comme dans les bas-côtés et la chapelle de la Vierge
de ce même édifice, mais sur les arcs A. La charpente du comble est
assise sur les formerets. Le chéneau supérieur rejette ses eaux sur les
chaperons de claires-voies surmontant, chargeant et consolidant les
arcs-boutants. Ces chaperons sont assez résistants, assez épais, assez
bien supportés par la claire-voie, dont les montants sont très-serrés,
pour former un véritable étai de pierre opposant sa rigidité à la
poussée de la voûte. La fig. 89 donne une vue extérieure de l'un de ces
arcs-boutants, fort bien construits et bien abrités par les saillies du
chaperon.
Laissons un instant les provinces de Champagne et de Bourgogne pour examiner comment, pendant ce même espace de temps, c'est-à-dire de 1200 à 1250, les méthodes de la construction gothique avaient progressé dans les provinces françaises, l'Île-de-France, la Picardie et le Beauvoisis.
Une des qualités propres à l'architecture gothique (et c'est peut-être la plus saillante), c'est que l'on ne saurait étudier sa forme, son apparence, sa décoration, indépendamment de sa structure 21. On peut mentir avec l'architecture romaine, parce que sa décoration n'est qu'un vêtement qui n'est pas toujours parfaitement adapté à la chose qu'il recouvre; on ne saurait mentir avec l'architecture gothique, car cette architecture est avant tout une construction. C'est principalement dans les édifices de l'Île-de-France que l'on peut constater l'application de ce principe. Nous avons vu qu'en Bourgogne, grâce à la qualité excellente des matériaux et à la possibilité de les extraire en grands morceaux, les architectes ont pu se permettre certaines hardiesses qui peuvent passer pour des tours de force. Ce défaut ne saurait être reproché aux architectes de l'Île-de-France ou à leur école; ces constructeurs sont sages, ils savent se maintenir dans les limites que la matière impose, et même lorsque l'architecture gothique se lance dans l'exagération de ses propres principes, ils conservent encore, relativement, la modération, qui est le cachet des hommes de goût.
Les bassins de la Seine et de l'Oise possèdent des bancs calcaires excellents, mais dont les épaisseurs sont faibles lorsque les matériaux sont durs, fortes lorsqu'ils sont tendres; c'est du moins la loi générale. Les constructions élevées dans ces bassins se soumettent à cette loi.
Toute la partie antérieure de la cathédrale de Paris fut élevée dès les premières années du XIIIe siècle; comme construction, c'est une oeuvre irréprochable. Tous les membres de l'immense façade occidentale, supérieure comme échelle à tout ce que l'on construisit à cette époque, sont exactement soumis à la dimension des matériaux employés. Ce sont les hauteurs de bancs qui ont déterminé les hauteurs de toutes les parties de l'architecture.
Jusqu'à présent, en fait de constructions primitives de l'époque gothique, nous n'avons guère donné que des édifices d'une dimension médiocre; or les procédés qui peuvent être suffisants lorsqu'il s'agit de construire un petit édifice, ne sont pas applicables lorsqu'il s'agit d'élever des masses énormes de matériaux à une grande hauteur. Les architectes laïques du XIIIe siècle, praticiens consommés, ont très-bien compris cette loi, tombée aujourd'hui dans l'oubli, malgré nos progrès scientifiques et nos connaissances théoriques sur la force et la résistance des matériaux propres à bâtir. Les Grecs n'ont guère élevé que des monuments petits relativement à ceux de l'époque romaine, ou si, par exception, ils ont voulu dépasser l'échelle ordinaire, il faut reconnaître qu'ils n'ont pas subordonné les formes à ce changement des dimensions: ainsi, par exemple, la grande basilique d'Agrigente, connue sous le nom de temple des Géants, reproduit, en colossal, des formes adoptées dans des temples beaucoup plus petits; les chapiteaux engagés de cet édifice sont composés de deux blocs de pierre juxtaposés. Faire un chapiteau engagé, en réunissant deux pierres l'une à côté de l'autre, de façon à ce qu'il y ait un joint dans l'axe de ce chapiteau, est une énormité en principe. Dans ce même monument, les colosses, qui probablement étaient adossés à des piles et formaient le second ordre intérieur, sont sculptés dans des assises de pierre si faibles, que leurs têtes se composent de trois morceaux. Faire une statue, une cariatide, fût-elle colossale, au moyen d'assises superposées, est encore une énormité pour un véritable constructeur. Les joints étaient cachés sous un stuc peint qui dissimulait la pauvreté de l'appareil, soit; à notre point de vue, en nous mettant à la place du constructeur gothique, l'ignorance du principe n'est pas moins évidente. Mais il faut juger les arts en leur appliquant leurs propres principes, non point en leur appliquant les principes qui appartiennent à des arts étrangers. Nous ne faisons pas ici un procès à l'architecture grecque; seulement nous constatons un fait, et nous demandons qu'on juge l'architecture gothique en prenant ses éléments propres, son code, et non en lui appliquant des lois qui ne sont pas faites pour elle.
Les Romains n'ont qu'une seule manière de bâtir applicable à tous leurs édifices, quelle que soit leur dimension; nos lecteurs le savent déjà, les Romains moulent leurs édifices sur une forme ou dans une forme, et les revêtent d'une enveloppe purement décorative, qui n'ajoute et ne retranche rien à la solidité. Cela est excellent, cela est raisonnable; mais cela n'a aucun rapport avec la construction gothique, dont l'apparence n'est que le résultat de la structure 22.
Revenons à notre point de départ. Nous disions donc que les architectes gothiques du XIIIe siècle ont soumis leur mode de construction à la dimension des édifices qu'ils voulaient élever. Il est une loi bien simple et que tout le monde peut comprendre, sans avoir les moindres notions de statique; c'est celle-ci: les pierres à bâtir étant données et ayant une hauteur de banc de 0,40 c., par exemple, si nous élevons une pile de 3m,20 de hauteur avec ces pierres, nous aurons neuf lits horizontaux dans la hauteur de la pile; mais si, avec les mêmes matériaux, nous élevons une pile ayant 6m,40 de hauteur, nous aurons dix-sept lits. Si chaque lit subit une dépression d'un millimètre, pour la petite pile, le tassement sera de 0,009m, et, pour la grande, de 0,017m. Encore faut-il ajouter à cette dépression résultant de la quantité des lits le plus grand poids, qui ajoute une nouvelle cause de tassement pour la grande pile. Donc, plus le constructeur accumule des pierres les unes sur les autres, plus il augmente les chances de tassement, par suite de déchirements et d'instabilité dans les divers membres de son édifice, puisque, si son édifice grandit, les matériaux sont les mêmes. Ces différences ne sont pas sensibles entre des édifices qui diffèrent peu par leurs dimensions, ou lorsque l'on consent à mettre un excès énorme de forces dans les constructions; mais si l'on ne veut mettre en oeuvre que la quantité juste de matériaux nécessaires, et si, avec les mêmes matériaux, on veut élever une façade comme celle d'une église de village et comme la façade de Notre-Dame de Paris, on comprendra la nécessité d'adopter des dispositions particulières dans le grand édifice, afin de combattre les chances singulièrement multipliées des tassements, des ruptures et, par suite, de dislocation générale. Nous avons vu déjà comment les constructeurs gothiques primitifs avaient trouvé une ressource contre les tassements et les déformations qui en résultent dans l'emploi des pierres debout, en délit, pour roidir les piles les plus hautes, bâties par assises. Nous avons fait connaître aussi comment, pendant l'époque romane, des constructeurs avaient enveloppé un blocage dans un revêtement de pierre conservant à l'extérieur l'apparence d'une construction de grand appareil. Les architectes gothiques, ayant pu constater l'insuffisance de ce procédé et son peu de cohésion, substituèrent la maçonnerie en petit appareil au blocage, et prétendirent lui donner de la résistance et surtout du roide en y adjoignant de grands morceaux de pierre isolés, reliés seulement, de distance en distance, au corps de la bâtisse, par des assises posées sur leur lit pénétrant profondément dans cette bâtisse. Des pierres en délit, ils firent des colonnes, et des assises de liaison, des bases, des bagues, des chapiteaux, des frises et bandeaux. C'est là l'origine de ces arcatures de soubassement, de ces ordonnances de colonnettes plaquées contre des parements, et souvent même de ces revêtements ajourés qui décorent les têtes des contre-forts extérieurs ou des murs. La façade de la cathédrale de Paris nous fournit de beaux exemples de cette construction mixte, composée d'assises et de placages en délit, dont la fonction est si franchement accusée et qui présente de si brillants motifs de décoration. Il faut, il est vrai, avoir été appelé à disséquer ces constructions pour en reconnaître le sens pratique; rien n'est plus simple en apparence, comme construction, que l'énorme façade de Notre-Dame de Paris, et c'est une de ses qualités. En voyant une pareille masse, on ne peut supposer qu'il faille employer certains artifices, des combinaisons très-étudiées pour lui donner une parfaite stabilité. Il semble qu'il a suffi d'empiler des assises de pierre de la base au faîte et que cette masse énorme doit se maintenir par son propre poids. Mais, nous le répétons, élever une façade de vingt mètres de haut ou de soixante-neuf mètres, ce sont deux opérations différentes; et la façade de vingt mètres, parfaitement solide, bien combinée, dont les dimensions seraient triplées en tous sens, ne pourrait être maintenue debout. Ce sont là de ces lois que la pratique seule peut faire connaître. Il n'est pas besoin de faire des calculs compliqués pour comprendre, par exemple, qu'une pile dont la section horizontale carrée donne un mètre superficiel, et dont la hauteur est de dix mètres, donne dix mètres cubes reposant sur une surface carrée d'un mètre de côté; que si nous doublons cette pile en hauteur, épaisseur et largeur, bien que les rapports entre sa hauteur et sa base soient pareils à ceux de la première pile, nous obtenons une surface carrée de deux mètres de côté, soit quatre mètres superficiels et un cube de quatre-vingts mètres. Dans le premier cas, le rapport de la surface avec le cube est de 1 à 10, dans le second, de 1 à 20. Les rapports des pesanteurs avec les surfaces augmentent donc dans une proportion croissante à mesure que l'on augmente l'échelle d'un édifice 23. Cette première règle élémentaire posée, il se présente, dans la construction de très-grands édifices, une difficulté qui vient encore augmenter l'effet des pesanteurs produites par l'accroissement du cube. Si les matériaux ne dépassent pas une certaine hauteur de banc, leurs dimensions en longueur et largeur sont également limitées; il en résulte que si l'on peut élever, par exemple, une pile donnant un mètre de surface dans sa section horizontale au moyen d'assises prises chacune dans un seul bloc de pierre, il n'en sera pas de même lorsqu'une pile donnera quatre mètres de surface dans sa section horizontale, car on ne peut guère se procurer des assises de cette dimension. Ainsi, en augmentant l'échelle d'un édifice, d'une part on change les rapports entre les cubes ou pesanteurs et les surfaces, de l'autre on ne peut obtenir une homogénéité aussi complète dans les parties qui le constituent. Nouvelle cause de rupture, de dislocation. Pour éviter le danger qui résulte d'une charge trop considérable reposant sur une surface peu étendue, naturellement on est amené à augmenter cette surface à la base, quitte à la diminuer à mesure que la construction s'élève et que les pesanteurs deviennent moindres par conséquent. Le type qui se rapproche le plus de ce principe est une pyramide; mais une pyramide est un amas, ce n'est pas une construction.

Supposons une tour élevée sur quatre murs; en coupe, cette tour présente la fig. 90. Nous avons donné aux murs, à la base, une épaisseur suffisante pour résister à la pression des parties supérieures, et, autant pour diminuer cette pression que pour ne pas empiler des matériaux inutiles, nous avons successivement réduit l'épaisseur de ces murs à mesure que notre construction s'est élevée. Mais alors toute la charge AB s'appuie sur la surface CD, et si le surcroît de force DEF n'est pas parfaitement relié, ne fait pas exactement corps avec la charge AB, du bas en haut, le tassement le plus considérable devant se faire de A en B, il se déclarera des déchirures d'abord en I, puis en H, puis en G; ce surcroît de force DEF que nous avons ajouté sera plus nuisible qu'utile, et toute la pesanteur venant alors à charger effectivement sur la surface CD, le parement intérieur de la muraille s'écrasera. Si notre tour n'est pas fort élevée, il nous sera facile de relier parfaitement, au moyen de longues pierres, les parements extérieurs avec les parements intérieurs, de faire une maçonnerie homogène, et alors ce sera réellement la base CE qui portera toute la charge; mais si notre tour est très-haute, si sa masse est colossale, quelques précautions que nous prenions, la construction devant se composer d'une quantité considérable de pierres, jamais nous ne pourrons relier les deux parements assez exactement pour résister à cette différence de pression qui s'exerce à l'intérieur et à l'extérieur; notre maçonnerie se dédoublera, et les effets que nous venons de signaler se produiront. Il faut donc user d'artifice. Il faut faire en sorte que le parement extérieur, moins chargé, présente une roideur supérieure au parement intérieur, et qu'au droit des retraites il y ait une liaison très-puissante avec le corps de la bâtisse. En d'autres termes, il faut que le parement extérieur étaye le corps de la maçonnerie et produise l'effet que rend sensible la fig. 90 bis. Or cela n'est pas aisé lorsque l'on ne possède que des pierres ayant toutes à peu près la même dimension. Cependant l'architecte de la façade de la cathédrale de Paris est arrivé à ce résultat par la combinaison très-savante et bien calculée de sa construction. Il a commencé par établir chaque tour, non sur des murs pleins, mais sur des piles (voy. le plan de la cathédrale de Paris, au mot CATHÉDRALE), car il est plus aisé de donner de l'homogénéité à la construction d'une pile qu'à celle d'un mur. Ces piles extérieures et intérieures sont bâties en assises de pierre dure, régulières, bien arasées, renfermant un blocage excellent et composé de grosses pierres noyées dans un bain de mortier. La pile intérieure est contre-buttée en tous sens puisqu'elle est intérieure, et elle supporte un poids vertical; mais les piles donnant à l'extérieur, sur le parvis ou latéralement, ont dû être étayées par un puissant empattement. Or toute la construction est bien parementée en longues pierres à l'intérieur et à l'extérieur, et, du soubassement à la souche des tours, les contre-forts sont construits ainsi que l'indique la fig. 91.

Il est résulté de la méthode employée que, bien qu'il y ait eu une pression beaucoup plus forte exercée sur le parement intérieur (dont la ligne ponctuée AB indique la pénétration à travers la saillie des jambages des baies à différentes hauteurs) que sur le parement extérieur des contre-forts, et que, par suite de cette pression, on puisse remarquer un tassement sensible à l'intérieur, toutes les charges se reportant, par la disposition des blocs de pierre noyés dans l'épaisseur du blocage et cramponnés à diverses hauteurs, sur le parement extérieur, et formant, comme l'indique la fig. 91 bis, une superposition d'angles en dents de scie, la charge CD pèse sur la base EF, la charge EG pèse sur la base IK, la charge IL pèse sur toute la base MN, et ainsi de suite jusqu'en bas du contre-fort. Mais puisque, par le fait, la dépression doit se faire entre les points EG, IL, MO, PR, il en résulte que les saillies GF, LK, ON, RS, viennent appuyer très-fortement leurs angles F, K, N, S, sur le parement extérieur V; or celui-ci subissant une dépression moindre que le parement intérieur, puisqu'il est moins chargé, remplit l'office de l'étayement que nous avons indiqué dans la fig. 90 bis.
Aujourd'hui que nous n'élevons plus de ces constructions colossales et composées de parties très-diverses, nous ne soupçonnons guère les effets qui se manifestent dans des circonstances pareilles, et nous sommes fort étonnés quand nous les voyons se produire en causant les plus sérieux désordres. Il est aisé de raisonner théoriquement sur ces énormes pesanteurs réparties inégalement; mais dans la pratique, faute de précautions de détail, et en abandonnant l'exécution aux méthodes de la routine, nous en sommes réduits, le plus souvent, à reconnaître notre impuissance, à accuser l'art que nous professons, le sol sur lequel nous bâtissons, les matériaux, les entrepreneurs, tout et tout le monde, sauf la parfaite ignorance dans laquelle on veut nous laisser, sous prétexte de conserver les traditions classiques. Nous admettons volontiers que l'architecture des Romains soit supérieure à l'architecture gothique, cela d'autant plus volontiers, que, pour nous, l'architecture des Grecs, des Romains et des Occidentaux du moyen âge, est bonne, du moment qu'elle reste fidèle aux principes admis par chacune de ces trois civilisations; nous ne disputerons pas sur une affaire de goût. Mais si nous voulons élever des monuments à l'instar de ceux de Rome antique, il nous faut les bâtir comme bâtissaient les Romains; ayons de la place, des esclaves, une volonté puissante; soyons les maîtres du monde, allons requérir des hommes et prendre des matériaux où bon nous semblera... Louis XIV a pris le rôle du Romain constructeur au sérieux, jusqu'à prétendre parfois bâtir comme un Romain. Il a commencé l'aqueduc de Maintenon en véritable empereur de l'antique cité; il a commencé sans pouvoir achever. L'argent, les bras, et, plus que tout cela, la raison impérieuse, ont manqué. Dans nos grands travaux des voies ferrées, nous nous rapprochons aussi des Romains, et c'est ce que nous avons de mieux à faire; mais pour nos constructions urbaines, les monuments ou les habitations de nos cités, lorsque nous prétendons les singer, nous ne sommes que ridicules, et nous ferions plus sagement, il nous semble, de profiter des éléments employés chez nous avec raison et succès par des générations d'artistes ayant admis des principes qui s'accordent avec nos besoins, nos moyens, nos matériaux et le génie moderne.
Déjà nous en avons dit assez sur la construction du moyen âge pour faire comprendre en quoi son principe diffère complétement du principe de la construction romaine, comment les procédés qui conviennent à l'une ne peuvent convenir à l'autre, comment les deux méthodes sont la conséquence de civilisations, d'idées et de systèmes opposés. Ayant admis le principe de l'équilibre, des forces agissantes et opposées les unes aux autres pour arriver à la stabilité, les constructeurs du moyen âge devaient, par suite du penchant naturel à l'homme vers l'abus en toute chose, arriver à exagérer, dans l'application successive de ces principes, ce qu'ils pouvaient avoir de bon, de raisonnable et d'ingénieux. Cependant, nous le répétons, l'abus se fait moins sentir dans les provinces du domaine royal et particulièrement dans l'Île-de-France que dans les autres contrées où le système de la construction gothique avait pénétré.
Ce qu'il est facile de reconnaître, c'est que, déjà au milieu du XIIIe siècle, les constructeurs se faisaient un jeu de ces questions d'équilibre si difficiles à résoudre dans des édifices d'une très-grande dimension et composés souvent de matériaux faibles. Dans le nord, ils ne construisent qu'en pierre; mais ils emploient simultanément, dans le même édifice, la pierre appareillée par assises, posée sur son lit de carrière, le gros moellon noyé dans le mortier, masse compressible au besoin, et les blocs en délit, rigides, inflexibles, pouvant être, dans certains cas, d'un grand secours. L'élasticité étant la première de toutes les conditions à remplir dans des monuments élevés sur des points d'appui grêles, il fallait pourtant trouver, à côté de cette élasticité, une rigidité et une résistance absolues. C'est faute d'avoir pu ou voulu appliquer ce principe dans toute sa rigueur que la cathédrale de Beauvais n'a pu se maintenir. Là, l'élasticité est partout. Ce monument peut être comparé à une cage d'osier... Nous y reviendrons tout à l'heure, car ses défauts même sont un excellent enseignement... Ne quittons pas sitôt notre cathédrale de Paris. La coupe d'un des contre-forts des tours fait assez voir que les constructeurs du commencement du XIIIe siècle n'empilaient pas les pierres les unes sur les autres sans prévision et sans se rendre compte des effets qui se produisaient dans d'aussi grands édifices par suite des lois de la pesanteur. Leur maçonnerie vit, agit, remplit une fonction, n'est jamais une masse inerte et passive. Aujourd'hui, nous bâtissons un peu nos édifices comme un statuaire fait une statue; pourvu que la forme humaine soit passablement observée, cela suffit; ce n'en est pas moins un bloc inorganisé. L'édifice gothique a ses organes, ses lois d'équilibre, et chacune de ses parties concourt à l'ensemble par une action ou une résistance. Tout le monde n'a pu voir l'intérieur des contre-forts des tours de Notre-Dame de Paris, et nous prévoyons l'objection qui nous a quelquefois été adressée, savoir: que notre imagination nous fait prêter à ces artistes des siècles passés des intentions qu'ils n'ont jamais eues. Prenons donc pour les esprits défiants un exemple qu'ils pourront vérifier avec la plus grande facilité dans le même monument. Les grandes voûtes de la nef de la cathédrale de Paris sont composées, comme chacun peut le voir, d'arcs diagonaux comprenant deux travées et recoupés d'un arc doubleau; c'est le système primitif des voûtes gothiques longuement développé dans cet article. Il résulte de cette combinaison que les piliers de la grande nef sont chargés inégalement, puisque, de deux en deux, ils reçoivent un arc doubleau seulement ou un arc doubleau et deux arcs ogives, et cependant ces piliers de la grande nef sont tous d'un diamètre égal. Il y a là quelque chose de choquant pour la raison, dans un très-grand édifice surtout, puisque ces charges inégales doivent produire des tassements inégaux, et que si les piles qui reçoivent trois arcs sont assez puissantes, celles qui n'en reçoivent qu'un le sont trop; si, au contraire, celles qui ne reçoivent qu'un arc sont d'un diamètre convenable, celles qui en reçoivent trois sont trop grêles. En apparence, il n'y a rien à objecter à cette critique, et nous devons avouer que nous avons été longtemps à nous expliquer un pareil oubli des principes les plus simples chez des artistes procédant toujours par le raisonnement.
Cependant, voici qui nous prouve qu'il ne faut jamais se presser de porter un jugement sur un art qu'à peine nous commençons à déchiffrer. Entrons dans les collatéraux de la cathédrale, doubles dans la nef comme autour du choeur; mais remarquons, en passant, que cette nef fut bâtie quinze ou vingt ans après le choeur, et que les architectes du commencement du XIIIe siècle qui l'ont élevée profitaient des fautes commises par leur prédécesseur. Nous observons que les piliers qui séparent les doubles collatéraux de la nef ne sont pas semblables entre eux; de deux en deux, nous voyons alternativement une colonne monocylindrique composée de tambours de pierre, et une colonne centrale également composée de tambours, mais flanquée de dix colonnettes en délit d'un seul morceau chacune (voy. le plan fig. 92).

Pourquoi cette
différence de construction?... Est-ce caprice, fantaisie? Mais pour peu
qu'on ait étudié ces monuments, on demeure convaincu que le caprice
n'entre pour rien dans les combinaisons des constructeurs de cette
époque, surtout s'il s'agit d'un membre d'architecture aussi important
que l'est un pilier
24. La question: «Pourquoi cette différence?» étant
posée, avec quelque attention nous la résoudrons bientôt. Ces piliers
intermédiaires A, entourés de colonnettes en délit, sont au droit des
colonnes de la grande nef qui reçoivent la charge la plus forte,
c'est-à-dire un arc doubleau et deux arcs ogives. Or il faut savoir que,
primitivement, les arcs-boutants de la nef n'étaient pas ceux que nous
voyons aujourd'hui, qui ne datent que de la seconde moitié du XIIIe
siècle. Ces arcs-boutants primitifs étaient à double volée, c'est-à-dire
qu'ils venaient d'abord se reposer sur un pilier intermédiaire posé sur
les piles AB du double collatéral, et qu'ils étaient contre-buttés à
leur tour par des arcs-boutants secondaires franchissant les espaces AC,
BD (voy., au mot CATHÉDRALE, la fig. 2 donnant la coupe de la nef de
Notre-Dame de Paris). Certainement les arcs-boutants destinés à
contre-butter l'arrivée des arcs doubleaux et arcs ogives des grandes
voûtes étaient plus puissants que ceux destinés seulement à
contre-butter un simple arc doubleau à peine chargé. Peut-être même
l'arc doubleau intermédiaire des grandes voûtes n'était-il pas
contre-butté par un arc-boutant, ce qui n'eût pas empêché les voûtes de
conserver leur courbure, puisque, dans les deux bras de la croisée, nous
voyons encore des arcs doubleaux simples, ainsi abandonnés à eux-mêmes,
qui ne se sont pas déformés. Les explications précédentes contenues dans
cet article ont fait voir que le pilier vertical portant les voûtes ne
joue qu'un rôle secondaire, et qu'une grande partie du poids des voûtes
soutirée par les arcs-boutants vient peser sur la culée de ces
arcs-boutants. Donc il était raisonnable de donner aux piliers destinés
à porter les piles sur lesquelles reposaient les arcs-boutants, ou tout
au moins des arcs-boutants plus puissants que les autres, une plus
grande résistance. Mais l'architecte eût-il donné un diamètre un peu
plus fort aux piles A qu'aux piles B (fig. 92), que ces piliers A
auraient encore été comprimés par la charge très-forte qu'ils devaient
supporter, et que leur tassement eût occasionné des désordres
très-graves dans les oeuvres hautes, la rupture des arcs-boutants et,
par suite, la déformation des grandes voûtes. L'architecte ne voulait
pas cependant donner à ces piliers A une épaisseur telle qu'ils eussent
rendu la construction des voûtes des collatéraux difficile et produit un
effet très-disgracieux; il a donc, comme toujours, usé d'artifice: il a
entouré ses piles cylindriques, élevées par assises, de fortes
colonnettes en délit; il a entouré les tambours de dix étais résistants,
incompressibles (93), certain que ce système de construction ne pouvait
subir ni tassement ni déformation, et que, par conséquent, des
arcs-boutants très-puissants, pesant sur ces piles, ne pourraient subir
aucun affaissement. Cette disposition avait encore l'avantage de laisser
au-dessus des chapiteaux, entre les arcs doubleaux et arcs ogives, une
forte assise E portant directement sur la colonne centrale A (voy. fig.
92).
La méthode consistant à employer les matériaux (pierres) soit sur leur lit, soit en délit, se perfectionne rapidement pendant la première moitié du XIIIe siècle. C'est qu'en effet il y avait là une ressource à laquelle nous, qui prétendons tout avoir inventé, nous recourons chaque jour, puisque nous employons la fonte de fer dans nos constructions avec beaucoup moins d'intelligence, disons-le, que ne le faisaient les constructeurs gothiques lorsqu'ils cherchaient à obtenir des points d'appui incompressibles et rigides en employant certaines pierres d'une excellente qualité.
Voyons d'autres applications mieux raisonnées encore de ces principes. Le choeur de la cathédrale d'Amiens, bâti quelques années avant celui de Beauvais, est, au point de vue de la construction gothique, un chef-d'oeuvre, surtout dans les parties basses 25. Examinons d'abord les piles du sanctuaire de Notre-Dame d'Amiens. Ces piles donnent en plan une grosse colonne cylindrique ayant 1m,20 de diamètre, cantonnée de quatre colonnes, dont trois d'un diamètre de 0,45 c. et une d'un diamètre de 0,35 c.

Ces quatre colonnes ne sont engagées que d'un quart dans le cylindre central. Les tailloirs des chapiteaux sont tracés pour recevoir exactement les arcs des voûtes, ainsi qu'il apparaît dans la fig. 94, et les profils de ces arcs sont eux-mêmes taillés en raison de leurs fonctions. Les archivoltes A sont composées d'un double rang de claveaux; elles portent le mur. Les arcs doubleaux B des bas-côtés, qui ne soutiennent que la voûte et étrésillonnent la construction, ont un profil plus grêle, et toute leur résistance se présente de champ, comme un nerf, une côte. Les arcs ogives C sont profilés d'après le même principe, mais plus fins que les arcs doubleaux, la charge qu'ils ont à supporter étant plus légère et leur fonction moins importante. Un seul sommier, le premier D, a son lit supérieur horizontal; au-dessus de ce sommier, chaque arc se dégage et se forme de claveaux indépendants les uns des autres.

On observera que les triangles E des remplissages des voûtes montent verticalement jusqu'au point où leur rencontre avec l'extrados du second arc F, faisant fonction de formeret, leur permet de suivre sa courbure. Supposons une section horizontale de cette construction au niveau P, nous obtenons la fig. 95, sur laquelle nous avons tracé, par des lignes blanches et ponctuées, la combinaison de l'appareil alternatif des assises. En S est un massif solidement bâti, non point en blocage, mais au moyen d'assises superposées formant tas-de-charge et portant la bascule du contre-fort de la galerie supérieure. Si nous coupons verticalement la pile suivant son axe MN, nous trouvons cette construction (96).

A est le niveau des chapiteaux à la naissance des voûtes du bas-côté; B, le sommier de ces voûtes avec son chaînage provisoire R, posé seulement pendant la construction, afin de maintenir le devers des piles et d'arrêter la poussée des arcs latéraux jusqu'à ce que ces piles soient chargées (voy. CHAÎNAGE); C, l'arc doubleau qui est libre; D, les assises en encorbellement recevant le contre-fort E de la galerie de premier étage. Ce contre-fort, composé de grands morceaux de pierre posés en délit, est relié à la pile maîtresse I par un linteau intermédiaire F. En G est l'assise formant couverture de la galerie, passage supérieur au niveau de l'appui des fenêtres hautes et liaison. En H, la colonne isolée composée de grands morceaux de pierre comme le contre-fort, par conséquent rigide, laquelle vient soulager la tête de l'arc-boutant. Toute la charge est ainsi reportée sur la pile I, d'abord parce que c'est sur cette pile que naissent les arcs des voûtes, puis parce que le contre-fort E, ainsi que la colonne H, étant composés de pierres en délit, le tassement et la charge, par conséquent, se produisent sur cette pile I. Cette charge étant beaucoup plus considérable que celle s'appuyant sur le contre-fort E, il en résulte que les assises D en encorbellement détruisent complétement la bascule ou le porte-à-faux du contre-fort E. L'arc doubleau C est libre; il ne peut être déformé par la pression des piles E, puisqu'elle n'agit pas sur ses reins. Cette construction est fort simple; encore fallait-il la trouver; mais voici qui indique la sagacité extraordinaire des maîtres de l'oeuvre de cette partie si remarquable de la cathédrale d'Amiens. Les bas-côtés et chapelles rayonnantes du rond-point de cet édifice donnent en plan horizontal, au-dessus des bases, la fig. 97. Les arcs-boutants qui contre-buttent la poussée des voûtes supérieures sont à double volée, c'est-à-dire qu'ils chargent sur une première pile posée sur les faisceaux A de colonnes, et sur une seconde pile posée sur les culées B. En coupe suivant CB, ces arcs-boutants présentent le profil (98).

Cette coupe fait assez voir que si la charge portant sur les piles C est considérable, celle portant sur les piles A est plus puissante encore, en ce qu'elle est active, produite non-seulement par le poids du contre-fort D, mais par la pression de l'arc-boutant. Toute construction composée d'assises tasse, et ce tassement est d'autant plus prononcé que la charge est plus forte. Un tassement se produisant sur les piles C n'aura aucun danger si les piles A tassent moins, car, en examinant la coupe 98, on verra que l'abaissement de quelques millimètres de la pile C, si la pile A résiste, n'aura pour effet que de faire presser davantage l'arc-boutant contre les reins des voûtes hautes et de bander toute la bâtisse avec plus de puissance en la pressant vers l'intérieur, qui ne peut se déformer du dehors au dedans, puisqu'il est sur plan polygonal; mais il faut que la pile A ne tasse pas autant que la pile C. Toute la résistance de la construction est soumise à cette condition. Or voici comment les constructeurs ont résolu ce problème. Les piles C ont été montées par assises séparées par des joints de mortier épais, suivant la méthode des maçons de cette époque; les piles A, au contraire, sont composées de faisceaux de colonnes élevées en grands morceaux de pierre, sortes de chandelles (pour nous servir d'un terme de charpenterie) qui ne peuvent tasser comme le font des assises nombreuses posées à bain de mortier. Ne voulant pas donner à ces piles A une large assiette afin de n'encombrer point l'entrée des chapelles, il n'était pas de meilleur moyen pour les rendre très-rigides sous la charge qu'elles devaient supporter que de les composer d'un faisceau de colonnes presque monolithes, et, en diminuant ainsi le nombre des joints, d'éviter toute cause de tassement. Observons que les matériaux dont disposaient les architectes picards peuvent être impunément posés en délit, et que s'ils ont élevé ces colonnes des piles A en plusieurs morceaux, c'est qu'ils ne pouvaient se procurer des monolithes de dix mètres de hauteur; ils ont pris les plus grandes pierres qu'ils ont pu trouver, variant entre un et deux mètres, tandis que les piles C sont composées d'assises de 0,50 c. à 0,60 c. de hauteur.
À Amiens, la théorie et la pratique ont eu raison des difficultés que présentait l'érection d'un vaisseau ayant 15m,00 de largeur d'axe en axe des piles sur 42m,50 de hauteur sous clef, flanqué de collatéraux de 7m,00 de largeur dans oeuvre sur 19m,00 de hauteur sous clef. Cette vaste construction a conservé son assiette, et les mouvements qui ont dû nécessairement se produire dans une bâtisse aussi étendue n'ont pu en altérer la solidité.

Alors les architectes avaient renoncé aux voûtes croisées comprenant deux travées; voulant répartir les poussées également sur les points d'appui séparant ces travées, ils avaient adopté, dès 1220, les voûtes en arcs d'ogive barlongues, conformément au plan (99); c'était plus logique: les piles AMIH étaient pareilles et les contre-forts B semblables entre eux, les arcs-boutants de même puissance. Les constructeurs allaient en venir aux formules; leur sentiment d'artiste avait dû être choqué par ces voûtes croisées sur des travées doubles paraissant reporter les charges de deux en deux piles, et dont les arcs ogives CD, par leur inclinaison, venaient masquer les fenêtres ouvertes de C en E sous les formerets. D'ailleurs, ainsi que nous l'avons dit déjà, ces arcs ogives, ayant un diamètre CD très-long relativement aux diamètres des arcs doubleaux CF, les obligeaient à relever beaucoup les clefs G, ce qui gênait la pose des entraits des charpentes, ou nécessitait des élévations considérables de bahuts au-dessus des formerets CE. En bandant des voûtes en arcs d'ogive par travées, les arcs ogives AH étant plein cintre, il était facile de faire que les clefs L de ces arcs ogives ne fussent pas au-dessus du niveau des clefs K des arcs doubleaux AI-MH qui étaient en tiers-point.
Nos lecteurs en savent assez maintenant, nous le croyons, pour comprendre, dans son ensemble aussi bien que dans ses détails, la construction d'une grande église du XIIIe siècle, telle, par exemple, que la cathédrale de Beauvais. Nous allons donc, afin d'éviter les redites, et pour résumer les méthodes éparses dont nous venons de donner une idée, suivre pas à pas une de ces grandes constructions depuis les fondements jusqu'à la charpente des combles. Si nous choisissons la cathédrale de Beauvais, ce n'est pas que cet édifice soit parfait quant à l'exécution, mais c'est qu'il est l'expression la plus vraie et la plus absolue de la théorie du constructeur vers le milieu du XIIIe siècle. Cet édifice s'est en partie écroulé moins d'un siècle après l'achèvement du choeur; cependant il était conçu de façon à pouvoir demeurer debout pendant des siècles. La catastrophe qui en a complétement altéré le caractère fut causée par une exécution médiocre, le défaut de points rigides ou leur trop faible résistance, et surtout par la nature des matériaux, qui n'étaient ni assez grands ni assez solides. Si l'architecte du choeur de Beauvais eût possédé les matériaux de la Bourgogne, ceux employés à Dijon et à Semur, par exemple, les beaux calcaires de Châtillon-sur-Seine, ou encore la pierre de Montbard, d'Anstrude ou de Dornecy, ou même, ce qui eût été possible, les pierres de Laversine, de Crouy, et certains bancs durs des bassins de l'Oise ou de l'Aisne, le choeur de Beauvais fût resté debout. Le maître de l'oeuvre de Beauvais fut un homme de génie, qui voulut arriver aux dernières limites du possible en fait de construction de pierre; ses calculs étaient justes, ses combinaisons profondément savantes, sa conception admirable; il fut mal secondé par les ouvriers, les matériaux mis à sa disposition étaient insuffisants. Son oeuvre n'en est pas moins un sujet d'études très-précieux, puisqu'il nous fournit le moyen de connaître les résultats auxquels le système de construction du XIIIe siècle pouvait atteindre. Nous avons donné, à l'article CATHÉDRALE, fig. 22, le plan du choeur de Beauvais. Ce plan, si on le compare à celui de la cathédrale d'Amiens, fait voir que les deux travées parallèles voisines des piles de la croisée sont plus étroites que les deux suivantes; le constructeur évitait ainsi des poussées trop actives sur les deux piles des transsepts formant entrée du choeur. Quant aux deux travées suivantes, elles ont une largeur inusitée (près de 9m,00 d'axe en axe des piles). Le besoin de donner les espaces libres est si évident à Beauvais, que les piles du rond-point ne sont pas cantonnées de colonnettes latéralement pour recevoir les archivoltes, mais seulement dans le sens des rayons de l'abside pour recevoir les nerfs des grandes voûtes, les arcs doubleaux et arcs ogives du collatéral. Conformément à la méthode des constructeurs de cette époque, lorsqu'ils ne sont pas détournés de leurs théories par des questions d'économie, la fondation du choeur est admirablement faite. Les chapelles portent sur un massif plein, circulaire, revêtu de pierres de taille, comme à la cathédrale d'Amiens, présentant à l'extérieur un puissant empattement également revêtu de libages bien dressés et posés à bain de mortier. Cette précinction de maçonnerie pleine se relie au mur qui porte les piles isolées du sanctuaire par des murs rayonnants, sous le sol.

À la cathédrale d'Amiens, où nous avons pu examiner la fondation jusqu'au bon sol, nous avons trouvé, en dehors, le profil (100). En A est une couche de terre à brique de 0,40 c. d'épaisseur posée sur l'argile vierge; en B est un lit de béton de 0,40 c. d'épaisseur; puis, de C en D, quatorze assises de 0,30 à 0,40 c. d'épaisseur chacune, en libages provenant des carrières de Blavelincourt près d'Amiens. Cette pierre est une craie remplie de silice, très-forte, que l'on exploite en grands morceaux. Au-dessus, on trouve une assise E en pierre de Croissy, puis trois assises de grès sous le sol extérieur. Au-dessus du sol extérieur, tout l'édifice repose sur six autres assises de grès bien parementées et d'une extrême dureté. Derrière les revêtements de la fondation est un blocage de gros fragments de silex, de pierre de Blavelincourt et de Croissy, noyés dans un mortier très-dur et bien fait. C'est sur ce roc factice que repose l'immense cathédrale. À Notre-Dame de Paris, les fondations sont de même faites avec le plus grand soin, revêtues de forts libages d'une grande épaisseur, le tout reposant sur le bon sol, c'est-à-dire sur le sable inférieur de la Seine, qui est à gros grains et verdâtre. Pour les pilotis que l'on prétend exister sous la maçonnerie de la plupart de nos grandes cathédrales, nous n'en avons jamais trouvé de traces 26.

Maintenant, revenons à Notre-Dame de Beauvais. Nous avons donné, à l'article ARC-BOUTANT, fig. 61, l'ensemble du système adopté pour la construction des arcs-boutants de l'abside de la cathédrale de Beauvais. Il nous faut revenir sur les détails de cette construction; on verra comme l'architecte de ce choeur tenta de dépasser l'oeuvre de son confrère d'Amiens. Cependant ces deux absides sont bâties en même temps, celle de Beauvais est peut-être plus récente de quelques années. Nous supposons, ainsi que nous venons de procéder pour un arc-boutant du choeur de Notre-Dame d'Amiens, une coupe faite sur l'axe des piles de l'abside de Beauvais (101). Il est intéressant de mettre en parallèle ces deux coupes; aussi les donnons-nous à la même échelle. À Amiens, les piles du sanctuaire ont 14m,00 de hauteur du pavé du collatéral au tailloir des chapiteaux recevant les arcs des voûtes des bas-côtés; à Beauvais, ces mêmes piles ont 15m,90. Mais, à Amiens, les chapelles absidales ont toute la hauteur du collatéral, tandis qu'à Beauvais elles sont beaucoup plus basses, et, entre les terrasses qui les couvrent et les voûtes de ce collatéral, il existe une galerie, un triforium F. À Amiens, c'est la pile intermédiaire qui possède la résistance passive, rigide, grâce à sa masse et au système de construction des piles inférieures, ainsi que nous venons de le démontrer; la seconde pile n'est qu'un appoint, une sûreté, un surcroît de précaution, nécessaire cependant. À Beauvais, le maître de l'oeuvre prétendit donner à cette pile intermédiaire une résistance active, agissante, et reporter sur la seconde pile, celle extérieure, cette résistance passive qu'il faut toujours trouver quelque part. Il crut ainsi pouvoir obtenir plus de légèreté dans l'ensemble de sa construction, plus de hauteur et plus de solidité. Ainsi que nous venons de le dire, les piles E du sanctuaire ont plus de champ, sont plus épaisses que celles d'Amiens, dans le sens des poussées. Les faisceaux de colonnettes portant l'arc ogive et les formerets des voûtes hautes sont posés en encorbellement sur le chapiteau inférieur G. L'assiette HI est donc plus grande, et le contre-fort K du grand triforium porte d'aplomb sur la pile inférieure. Sur ce contre-fort du triforium, ce n'est plus une seule colonne qui s'élève, comme à Amiens, pour recevoir la tête de l'arc-boutant: ce sont deux colonnettes en délit jumelles, comme le fait voir la section horizontale A' faite sur AB. Ces colonnettes jumelles soulageaient le linteau L, qui était une assise formant plafond. Deux autres colonnettes étaient posées entre cette assise-linteau et la tête du premier arc-boutant, laquelle tête s'appuie contre un bloc énorme de pierre M, chargé par une assise de corniche et un piédestal N portant une statue colossale. Deux colonnettes jumelles sont encore posées devant cette statue, entre le premier et le second arc-boutant. Ces dernières colonnettes ne portent pas la tête de cet arc-boutant, mais un pinacle dont nous indiquerons tout à l'heure la forme et la structure. Cet ensemble se rapporte à peu près à ce que nous avons vu à Amiens. Nous observons cependant que tout ce système de construction double porte d'aplomb sur la pile inférieure, la partie intérieure étant construite en assises et celle extérieure en grands morceaux rigides, posés en délit, afin de donner du roide à cet ensemble si grêle et si élevé 27; nous observons encore que le très-fort linteau L, le bloc M et sa charge N, tendent évidemment à ajouter un poids considérable au sommet du quillage inférieur pour le maintenir dans la verticale et faire que sa fonction d'étançon soit bien réelle. Voilà donc la pile intérieure rendue aussi rigide que possible; il s'agit maintenant de résister à la poussée de la voûte qui s'exerce à une prodigieuse hauteur. L'architecte ne crut pas pouvoir se contenter d'un seul arc-boutant, comme à Amiens, fût-il surmonté d'une claire-voie rigide; il avait raison, car à Amiens, dans les parties parallèles du choeur qui reçoivent trois nerfs de voûtes au lieu d'un seul, ces arcs-boutants, avec claires-voies, se sont relevés par suite de la pression des voûtes, et, au XVe siècle, il fallut bander de nouveaux arcs-boutants sous ceux du XIIIe. Mais voici où le maître de l'oeuvre de Beauvais fit preuve d'une hardiesse sans exemple et en même temps d'une sagacité rare. On voit que la pile O intermédiaire ne porte pas d'aplomb sur la pile P, tête de chapelle, comme à la cathédrale d'Amiens, mais que son axe est à l'aplomb du parement intérieur de cette pile P. Disons tout de suite que cette pile O, dont nous donnons la section horizontale sur CD en C', présente plus de poids vers son parement C que sur celui D. Son centre de gravité est donc en dedans de la ligne ponctuée R, c'est-à-dire sur la pile P. Cependant cette pile est ainsi en équilibre, tendant à s'incliner plutôt vers l'intérieur de l'église que vers le gros contre-fort extérieur; elle vient donc, par sa position: 1º soutirer la poussée des deux arcs-boutants, 2º ajouter à la résistance opposée par ces arcs-boutants une tendance d'inclinaison vers le choeur. La pile O verticale remplit ainsi la fonction d'un étai oblique. Si cette résistance active ne suffit pas (et elle ne saurait suffire), la pile O est maintenue à son tour, dans sa fonction, par les deux derniers arcs-boutants ST et le gros contre-fort passif. Mais, objectera-t-on peut-être, pourquoi cette pile intermédiaire? pourquoi les grands arcs-boutants ne viennent-ils pas se reposer simplement sur le gros contre-fort passif extérieur? C'est que le gros contre-fort extérieur ne pourrait contre-butter la poussée d'arcs-boutants d'un aussi grand rayon, à moins d'être augmenté du double, et que, grâce au contre-fort intermédiaire O, il n'a plus qu'à contre-butter une pression diffuse, presque nulle.

Pour expliquer nettement la fonction de la pile O, supposons que nous
ayons à étayer le choeur de Beauvais; supposons que nous ne possédions,
pour faire cet étayement, que le gros contre-fort: si (101 bis) nous
posons nos étais ainsi qu'il est indiqué en A, nous renverserons
certainement le contre-fort C; mais si, entre ce contre-fort C, nous
posons, suivant le tracé B, un étai DE intermédiaire, légèrement incliné
vers le choeur, mais maintenu dans un plan vertical passant par l'axe
des piles ou le rayon du sanctuaire, et que, de cet étai, nous serrions
deux batteries FG contre la voûte, puis deux autres batteries HI, nous
n'aurons plus à craindre l'effet des poussées de la voûte V sur le gros
contre-fort C, car l'étai intermédiaire DE soutirera une grande partie
de la poussée des deux batteries FG et la reportera sur sa semelle D. Là
est tout le problème que s'est posé et qu'a résolu l'architecte du
choeur de Notre-Dame de Beauvais. Malheureusement, l'exécution est
défectueuse. Il est certain cependant que cet énorme édifice aurait
conservé une parfaite stabilité, si l'architecte eût posé les
colonnettes jumelles au-dessus du triforium plus fortes et plus
résistantes, s'il eût pu les faire en fonte, par exemple. Les désordres
qui se sont manifestés dans la construction sont venus tous de là; ces
colonnettes, trop grêles, se sont brisées, car elles ne pouvaient
résister à la charge qui se reporta sur elles lorsque les piles
intérieures vinrent à tasser par suite de la dessication des mortiers.
Se brisant, les linteaux L cassèrent (fig. 101), les gros blocs M, en
bascule, s'appuyèrent trop fortement sur la tête du premier arc-boutant,
celui-ci se déforma, et la voûte suivant le mouvement, la pression sur
ces arcs-boutants fut telle qu'ils se chantournèrent presque tous; leur
action devint nulle, par suite les arcs-boutants supérieurs lâchèrent un
peu, puisque la voûte ne pressait plus sur eux. L'équilibre était rompu:
il fallut faire des travaux considérables pour éviter une chute totale
de l'édifice. La fig. 101 ter, donnant en perspective le sommet des
contre-forts recevant la tête des arcs-boutants, nous fait bien voir que
l'intention du maître de l'oeuvre était d'obtenir, au droit des piles du
choeur de la cathédrale de Beauvais et sous les arcs-boutants, des
contre-forts évidés, mais parfaitement rigides, afin: 1º de charger le
moins possible les piles inférieures; 2º de faire que les tassements des
parties intérieures construites en assises, roidies par les colonnettes
en délit, reportassent naturellement les charges en dedans. De cet
exemple et de ceux appartenant à la construction gothique proprement
dite, il découle ce principe, savoir: que toute construction élevée au
moyen d'assises superposées en grand nombre doit être étayée, roidie par
l'adjonction de monolithes entourant, flanquant, épaulant les piles
composées de pierres superposées. Ce principe est à peine appliqué par
les Romains, qui n'avaient pas besoin d'y recourir; il appartient aux
constructeurs gothiques. De ce principe, ils font un des motifs les plus
ordinaires de la décoration des édifices, et, en effet, il se prête aux
combinaisons les plus brillantes et les plus hardies.
Certes, il y a, dans l'exemple de construction que nous venons de donner à nos lecteurs, de graves défauts, et nous ne les dissimulons pas. Cet échafaudage extérieur de pierre, qui fait toute la force de la bâtisse, est soumis aux intempéries de l'atmosphère: il semble que le constructeur, au lieu de chercher à protéger les organes essentiels de son monument, ait pris plaisir à les exposer à toutes les chances de destruction. Son système d'équilibre dépend de la résistance absolue de matériaux trop souvent imparfaits. Il veut évidemment étonner, et il sacrifie tout à ce désir. Mais à côté de ces défauts si graves, quelle connaissance approfondie des lois de l'équilibre! quel assujettissement de la matière à l'idée, quelle théorie fertile en applications! N'imitons jamais ces constructions subtiles; mais profitons hardiment de tant de connaissances acquises. Pour en profiter, faut-il au moins les cultiver et les pratiquer.
À l'article CHAÎNAGE, nous avons indiqué quels étaient, pendant le moyen âge, les procédés employés pour chaîner les édifices. Aux longrines de bois usitées pendant l'époque romane, les constructeurs du XIIIe siècle, s'apercevant que celles-ci étaient promptement pourries, substituèrent des crampons en fer reliant les pierres composant les assises. Toutefois, cette méthode ne fut guère employée que dans l'Île-de-France avec une singulière exagération. Il est tel monument, comme la Sainte-Chapelle du Palais à Paris, où toutes les assises, de la base au faîte, sont cramponnées. À Notre-Dame de Paris même, on s'aperçoit que toutes les constructions élevées ou reprises à partir des premières années du XIIIe siècle sont, à des hauteurs assez rapprochées, reliées par des crampons coulés en plomb. Certainement ces constructeurs n'avaient pas une entière confiance en leurs méthodes si ingénieuses, et leur bon sens naturel leur faisait sentir déjà qu'ils poussaient la hardiesse trop loin. La façon dont sont disposés ces chaînages fait bien voir d'ailleurs que ce qu'ils redoutaient le plus, c'était le bouclement ou la torsion des piles et des murs, et, en cela, le système de chandelles de pierre adopté par les architectes bourguignons avait une supériorité marquée sur l'emploi dangereux des crampons de fer scellés en pleines pierres. Il faut dire aussi que les constructeurs de l'Île-de-France se procuraient difficilement des pierres longues, résistantes, pouvant être impunément posées en délit, tandis qu'elles étaient communes en Bourgogne et d'une excellente qualité.
Il est temps maintenant d'entretenir nos lecteurs d'un édifice qui, à lui seul, résume, en les exagérant avec une grande adresse, toutes les théories des constructeurs de l'école gothique. Nous voulons parler de l'église Saint-Urbain de Troyes. En 1261, Jacques Pantaléon, natif de Troyes, fut élu pape sous le nom d'Urbain IV, à Viterbe; il mourut en 1264. Pendant son pontificat, il voulut faire élever à Troyes une église sous le vocable de saint-Urbain: ce monument fut commencé, rapidement construit; il resta inachevé cependant, le successeur d'Urbain n'ayant probablement pas jugé à propos de continuer l'oeuvre de son prédécesseur. Telle qu'elle est, l'église de Saint-Urbain de Troyes indique chez le maître de l'oeuvre qui fut chargé de son érection une hardiesse singulière et une science de constructeur faite pour étourdir. Si la date de la fondation de l'église Saint-Urbain et celle de l'interruption des travaux n'était pas un fait historique d'une authenticité incontestable, on serait tenté de supposer que cet édifice fut construit vers le commencement du XIVe siècle. Nous-même, devant des preuves aussi peu discutables, nous avons hésité longtemps avant de croire que le XIIIe siècle avait vu commencer et achever ce qui existe de ce monument: ayant pour habitude de nous fier tout d'abord aux signes archéologiques, nous ne pouvions donner à la construction de Saint-Urbain une date antérieure au XIVe siècle; mais une étude approfondie de la construction nous a fait voir que la tradition historique était d'accord avec le fait. On ne construisait plus ainsi au XIVe siècle. Seulement l'architecte de Saint-Urbain était un de ces artistes chez lesquels les principes les plus avancés de la théorie s'allient à une expérience profonde, à une pratique qui n'est jamais en défaut, à une connaissance sûre de la qualité des matériaux, à des ressources infinies dans l'exécution et une originalité naturelle; c'était, pour tout dire en un mot, un homme de génie. Son nom nous est inconnu comme ceux de la plupart de ces artistes laborieux; si le pape Urbain IV eût envoyé d'Italie un architecte pour bâtir son église à Troyes, certes nous le connaîtrions, mais nous n'aurions pas à nous étendre longuement sur son oeuvre, car l'Italie méridionale, alors, n'élevait que des édifices qui ne fournissent guère de types propres à être étudiés.

Le plan de l'église de Saint-Urbain de Troyes est champenois. Le choeur rappelle celui de la petite église de Rieux que nous venons de donner; sur les quatre piliers de la croisée devait s'élever une tour probablement fort élevée, si l'on examine la section large de ces piliers. Deux autres clochers flanquaient l'entrée, accompagnée d'un porche saillant comme celui de l'église Saint-Nicaise de Reims. La tour centrale ne fut point commencée, la nef et la façade restèrent inachevées. On peut toutefois, par ce qui reste de ces parties, se rendre un compte exact de ce que devait être cette église. Le choeur et les transsepts sont complets. Jetons les yeux d'abord sur le plan de l'église de Saint-Urbain (102), pris au niveau du rez-de-chaussée; cet ensemble est nécessaire pour apprécier les diverses parties de sa construction. Ce plan présente des points d'appui solides, épais, résistants, une disposition générale très-simple. Planté entre deux rues, deux porches profonds, bien abrités, donnent entrée dans les deux branches de la croix. Au-dessus du rez-de-chaussée, à la hauteur de 3m,30, toute la construction ne présente plus qu'une lanterne vitrée, d'une extrême légèreté, maintenue par les contre-forts qui seuls restent pleins jusqu'aux chéneaux supérieurs. C'est donc la construction de ces contre-forts qui doit nous préoccuper en premier lieu.

Voici (103) l'un des contre-forts de l'abside présenté parallèlement à l'une des faces latérales. Le soubassement plein, de 3m,30 de haut, s'arrête en A. En B' est tracée la section horizontale du contre-fort au niveau B, et en C' la section horizontale au niveau C. D est la claire-voie vitrée extérieurement de la galerie G; F, la claire-voie libre portant le plafond H servant de passage au niveau de l'appui des grandes fenêtres supérieures; E, les meneaux de ces fenêtres vitrées. Les archivoltes des fenêtres dont l'arrachement est en I servent de formerets aux grandes voûtes. Le chéneau supérieur K est porté, intérieurement par le remplissage posé sur les archivoltes I, extérieurement par un arc L et tout un système d'ajours dont nous donnerons le détail tout à l'heure. Les claires-voies D et F sont en partie posées en feuillure, de sorte que ces claires-voies sont indépendantes des contre-forts et sont de véritables châssis de pierre compris entre les contre-forts.
Disons un mot des matériaux qui entrent dans cette construction, car leur qualité est en partie la cause du système adopté. À Troyes même, on ne peut se procurer de la pierre de taille: les environs ne fournissent que de la craie, bonne tout au plus pour faire des remplissages de voûtes. L'architecte de Saint-Urbain a dû faire venir de la pierre de Tonnerre pour les pièces d'appareil, et, afin d'économiser ces matériaux transportés à grand frais, il s'est servi, autant qu'il a pu, d'une certaine pierre dite de Bourgogne que l'on trouve à quelques lieues de Troyes, et qui n'est qu'un calcaire grossier assez ferme, mais bas de banc et se taillant mal. C'est avec ces derniers matériaux qu'il a élevé la partie massive des contre-forts, en revêtissant leur face externe M de grandes plaquettes de pierre de Tonnerre posées en délit et finement taillées. C'est aussi avec la pierre de Tonnerre qu'il a fait les piles intérieures, les claires-voies, les arcs, les chéneaux et toutes les parties délicates de la construction: or la qualité de Tonnerre employée ici est un banc peu épais, très-résistant, très-ferme, très-compacte et pouvant être posé en délit sans danger. Par le fait, cette construction est une bâtisse en moellon smillé, solide mais grossier, habillée d'une pierre fine très-belle, employée avec la plus stricte économie, comme on le ferait du marbre aujourd'hui. La légèreté des claires-voies, des meneaux, dépasse tout ce que nous connaissons en ce genre, et cependant les matériaux employés ont été si bien choisis, l'élasticité de cette construction est si complète, que très-peu de morceaux se sont brisés. D'ailleurs la structure étant parfaitement solide et bien pondérée, les détériorations survenant aux claires-voies et fenêtres n'ont nulle importance, celles-ci pouvant être facilement remplacées, comme de véritables châssis, sans toucher au gros oeuvre. L'anatomie de cette construction doit être examinée avec le plus grand soin. Nous allons essayer d'en faire toucher du doigt les détails.

Prenons donc d'abord toute la partie du contre-fort comprise entre H et O, c'est-à-dire le plafond de la galerie et son linteau reliant la pile intérieure au contre-fort, l'enchâssement de claires-voies et l'écoulement des eaux sur ce point. En A (104), on voit la coupe prise dans l'axe du contre-fort et de la pile. B est la gargouille rejetant à l'extérieur les eaux recueillies sur le passage G, c'est-à-dire non-seulement la pluie tombant verticalement sur ce dallage, ce qui est peu de chose, mais celle fouettant contre les vitraux; C est le caniveau de recouvrement faisant parpaing, c'est-à-dire prenant toute l'épaisseur du contre-fort; D, la console soulageant le linteau E, lequel sert de caniveau et relie la pile intérieure H au contre-fort; F, l'assise de recouvrement de la galerie portant chéneau; I, les deux joues formant parements extérieurs et maintenant le linteau-caniveau E, ainsi que l'indique le détail perspectif K en I'. Dans ce détail, le morceau E' est le linteau-caniveau; C', le second caniveau, et B' la gargouille. Le grand détail L montre, en place, les deux morceaux I en I'', le caniveau C en C'' et le morceau de recouvrement F en F'' avec le linteau E en E''. Tout cet appareil est fait avec le plus grand soin, les pierres bien taillées et bien posées; aussi ne voit-on aucune rupture. Observons que le caniveau-linteau E (détail A) est laissé libre dans sa portée de R en S sous les morceaux I; c'est-à-dire que le lit RS est épais, jointoyé, seulement après que les tassements de la construction ont produit leur effet, afin d'éviter toute chance de rupture. On voit en M (détail L) les feuillures destinées à recevoir les claires-voies vitrées extérieures de la galerie, et en N celles destinées à recevoir la claire-voie intérieure supportant la pièce de recouvrement et les meneaux des fenêtres. Comment des claires-voies aussi minces peuvent-elles être maintenues toutes deux dans des plans verticaux? Celle intérieure n'a que 0,21 c. d'épaisseur et celle extérieure 0,22 c., compris toutes saillies. Leur rigidité est obtenue par le moyen le plus simple, en ce que l'arcature de chacune d'elles, comprise entre les feuillures dont nous venons de parler, est d'un seul morceau. Chaque claire-voie n'est donc composée que de trois morceaux: deux pieds-droits et une dalle de champ percée d'ajours. Il ne faut pas oublier ce que nous avons dit plus haut des matériaux employés dans la construction de l'église de Saint-Urbain. L'architecte avait fait sa bâtisse résistante en pierre commune, sorte de moellon piqué, et tout ce qui n'était qu'accessoire, décoration, chéneaux, claires-voies, en pierres de Tonnerre, basses de banc, très-fermes, mais de grandes dimensions en longueur et largeur. Ces pierres de Tonnerre ne sont réellement que des dalles dont l'épaisseur varie de 0,20 c. à 0,30 c., d'une excellente qualité. L'édifice ne se compose que de contre-forts entre lesquels sont posées des dalles de champ ajourées. Ce singulier système de construction est appliqué partout avec cette logique rigoureuse qui caractérise l'architecture de la fin du XIIIe siècle 28.

Prenons donc la claire-voie extérieure de la galerie du choeur de Saint-Urbain, et examinons comment elle est taillée, posée, et comment elle se maintient dans son plan vertical. Nous la traçons ici (105), en plan A, en élévation extérieure B, et en coupe C. La pierre de recouvrement D, rendant ces deux arcatures solidaires, formant chéneau et appui des fenêtres hautes, est faite d'une ou de deux pièces venant se joindre aux morceaux pris sous les piliers intérieurs et tracés en F'' dans le détail L de la fig. 104. Pour donner plus de poids et plus de rigidité à la grande dalle ajourée formant l'arcature extérieure vitrée (fig. 105), et dont la coupe est tracée en E, cette dalle porte une balustrade G faisant corps avec elle, prise dans le même morceau, de sorte que le chéneau D, formant plafond de la galerie, est porté sur une saillie réservée à l'intérieur le long de l'arcature extérieure, tandis que le lit inférieur de ce plafond vient mordre l'arcature intérieure, également composée d'une grande dalle de champ ajourée et maintenue à ses extrémités par les feuillures N de notre détail L de la fig. 104. Il faut dire que, pour produire un effet plus piquant, l'architecte a donné à l'arcature ajourée intérieure un dessin plus délicat, une autre forme qu'à l'arcature extérieure; ces deux claires-voies produisent ainsi la plus brillante découpure, des jeux surprenants qui se détachent sur un fond de vitraux colorés 29.
Voyons maintenant la partie supérieure de la construction du choeur de Saint-Urbain, car c'est là où l'architecte a déployé une sagacité remarquable. Si nous recourons à la fig, 103, nous observerons que les fenêtres hautes sont posées à l'aplomb du bahut du comble en I, que leurs archivoltes servent en même temps de formerets et d'arcs de décharge pour porter la charpente, que le chéneau K pose partie sur une saillie réservée au-dessus de cette archivolte et sur une claire-voie L établie à 0,50 c. environ en avant de la fenêtre.

Voici (106) en A la face extérieure de cette claire-voie; en B, la coupe faite suivant CDEF, Sur cette coupe, on trouve, en G la coupe de la fenêtre, son archivolte-formeret en H et la voûte en I. La claire-voie portant le chéneau K se compose d'un arc renforcé d'un gâble remplissant les fonctions de liens de charpente. Des cercles L ajourés contribuent à soutenir le chéneau dans la longueur de sa portée de E en M. Ce chéneau, à chaque travée, est seulement fait de deux morceaux de pierre se joignant au point culminant des pentes en N; chacun de ces morceaux est taillé ainsi qu'il est indiqué en O, la portée sur la claire-voie ayant lieu de E' en M', et la partie P étant évidée et ne portant plus larmier pour laisser passer le sommet du gâble. L'appareil de ce gâble et des cercles à jour L est fidèlement tracé sur notre figure. Le fleuron, sa souche pénétrant dans la balustrade et la pointe des gâbles sont pris dans un seul morceau de pierre, afin d'ajouter un poids nécessaire à l'extrémité de l'appareil. Mais, pour éviter toute chance de déversement de ce gâble en dehors; les deux morceaux de balustrade R ne sont pas posés suivant une ligne droite, mais forment un angle légèrement obtu, ainsi que l'indique le plan S; T, étant la souche du fleuron, sommet du gâble, et R'R' étant les deux morceaux de balustrade taillés chacun dans une seule dalle: ainsi, le sommet T du gâble ne peut se déverser en dehors, contre-butté qu'il est par les deux dalles à jour R'R' qui s'appuient sur les sommets des contre-forts percés de gargouilles pour l'écoulement des eaux, ainsi qu'on le voit en V. C'est plutôt là une combinaison de charpente qu'une construction de maçonnerie; mais n'oublions pas que la qualité de la pierre employée à Saint-Urbain se prête à une pareille structure, et que, grâce à ces artifices, l'architecte est arrivé à élever un monument d'une légèreté extraordinaire, qui ne se compose réellement que d'une maçonnerie de moellon et de dalles de champ ajourées. Les arcs-boutants qui buttent les grandes voûtes de cette église au-dessus des chapelles sont construits conformément à ce système de claires-voies et de grands morceaux de pierre posés en guise d'étais (voy. ARC-BOUTANT, fig. 66).
L'architecte de l'église de Saint-Urbain (sa donnée acceptée) a été fidèle à son principe dans toutes les parties de sa construction. Il a compris que dans un édifice aussi léger, bâti avec du moellon et des dalles, il fallait laisser à ces claires-voies une grande liberté pour éviter des ruptures; aussi n'a-t-il engagé ces dalles que dans des feuillures qui permettent à la maçonnerie de tasser sans briser les délicates clôtures ajourées qui remplacent les murs. On voit, en examinant la fig. 106, que les chéneaux sont libres, réduits presque au rôle de gouttières, et qu'en supposant même une brisure, les infiltrations ne peuvent causer aucun préjudice à la maçonnerie, puisque ces chéneaux sont suspendus sur le vide au dehors, au moyen de ces gâbles ajourés. Il fallait être hardi pour concevoir une construction de ce genre; il fallait être habile et soigneux pour l'exécuter, tout calculer, tout prévoir et ne rien laisser au hasard: aussi cette construction, malgré son excessive légèreté, malgré l'abandon, et des réparations inintelligentes, est-elle encore solide après cinq cent soixante ans de durée. L'architecte n'a demandé aux carrières de Tonnerre que des dalles, ou tout au plus des bancs de 0,30 c. d'épaisseur, d'une grande dimension il est vrai, mais d'un poids assez faible: il évitait ainsi la dépense la plus forte à cette époque, celle du transport. Quant à la main-d'oeuvre, elle est considérable; mais ce n'était pas alors ce qui coûtait le plus. L'église de Saint-Urbain se présentera souvent dans le cours de cet ouvrage, car elle est certainement la dernière limite à laquelle la construction de pierre puisse atteindre, et, comme composition architectonique, c'est un chef-d'oeuvre (voy. ARC-BOUTANT, BALUSTRADE, CROIX, FENÊTRE, GARGOUILLE, PORCHE, PORTE, VITRAUX).
Il faut revenir quelque peu sur nos pas. Dans l'Île-de-France, ainsi que nous l'avons déjà fait observer, nous ne saurions signaler les hardiesses des Bourguignons du commencement du XIIIe siècle et des Champenois de la fin de ce siècle, lorsque ceux-ci purent employer de grands matériaux, durs, serrés de grain et résistants comme la pierre de Tonnerre. Les constructeurs de l'Île-de-France ne font guère de ces claires-voies prises dans une seule pierre, de ces cloisons ajourées; ils maintiennent la stabilité de leurs édifices, moins par des surfaces ou des quilles rigides, que par des poids accumulés sur les points qui leur paraissent ne pas présenter une assiette suffisante. Nous trouvons une preuve remarquable de ce fait, dès le milieu du XIIIe siècle, dans les grandes constructions.

Nous avons vu que les architectes gothiques étaient arrivés, dans les édifices voûtés, à considérer les formerets comme des arcs de décharge et à vider complétement la construction sous ces formerets, à ne conserver que des contre-forts. Ils supprimaient les murs comme étant une accumulation inutile de matériaux entre ces contre-forts, puisque ceux-ci devaient recevoir et supporter toutes les charges; mais ces formerets, n'étant pas chargés à la clef, pouvaient dévier du plan vertical, par suite de la pression et de la poussée des rangs de moellon des voûtes qu'ils recevaient. Remarquons (107) que le formeret ABC, au sommet de ses deux branches d'arc, à la clef B, là où cet arc en tiers-point présente le plus de flexibilité, reçoit précisément les derniers rangs de moellons BD de remplissage, lesquels ont une légère action de poussée de D en B, par suite de leur courbure. Il pouvait se faire que le sommet B s'écartât du plan vertical, si on ne parvenait à le rendre immobile. Élever un mur sur ce formeret ABC ne pouvait consolider cet arc que faiblement, puisque ces deux triangles de maçonnerie AEB, CFB chargeaient beaucoup plus les reins de cet arc que sa clef B. Le moyen le plus sûr était de charger cette clef B. Les constructeurs arrivèrent donc, vers le milieu du XIIIe siècle, à élever, à l'extérieur, sur les formerets des voûtes, faisant encadrement de baies, des gâbles HIG en maçonnerie, et rendirent ainsi, par l'adjonction de cette charge BG, les sommets des formerets immobiles ou du moins assez stables pour résister à la poussée des clefs des remplissages des voûtes BD. Un des premiers essais de ce système se voit à la Sainte-Chapelle du Palais à Paris. Observons que les architectes champenois, qui avaient adopté des formerets d'une résistance très-puissante il cause de leur grande épaisseur, puisqu'ils étaient de véritables berceaux en tiers-point, recevant les remplissages des voûtes; que les architectes bourguignons, qui isolaient leurs formerets des clôtures extérieures, en laissant entre eux et ces clôtures un espace assez large étrésillonné par les assises de couronnement, n'avaient pas besoin de recourir à l'artifice expliqué par la fig. 107. Aussi n'est-ce guère que dans l'Île-de-France, le Beauvoisis et la Picardie que nous voyons, vers 1240, adopter ce moyen de donner de la stabilité aux formerets. C'est ainsi que des différences dans le caractère de l'architecture des diverses provinces de France, au XIIIe siècle, se trouvent presque toujours expliquées par une nécessité de la construction. Si l'on veut se rendre compte de l'utilité de ces gâbles, regardés généralement comme un motif de décoration, il faut examiner la fig. 108.

Mais l'architecture est un art impérieux: dès que vous modifiez un de ses membres, dès que vous ajoutez quelque chose à l'ordonnance, vous voyez les difficultés de détail s'accumuler. Un premier changement du système, que vous supposez peu important tout d'abord, en exige un second, puis un troisième, puis une foule d'autres. Alors ou il faut rétrograder, ou devenir l'esclave des exigences que vous avez provoquées par une première tentative ou une première concession. On se débat contre ces difficultés successives qui semblent naître à mesure qu'on les surmonte. Dans les temps où la paresse d'esprit est regardée comme une vertu, on traite ces tentatives périlleuses de tendances perverses, d'oubli des saines doctrines. Mais les architectes du moyen âge, et surtout de l'époque dont nous nous occupons en ce moment, n'auraient jamais cru qu'un pas en arrière ou un repentir fût un progrès: ils sentaient qu'ils étaient entraînés par leurs propres principes, et ils résolvaient avec courage chacune des difficultés nouvelles qu'ils soulevaient sans repos...
Surmonter les formerets de triangles de pierre pour charger leurs clefs, ce n'est, au premier abord, qu'un peu plus de pierre et un peu plus de main-d'oeuvre. Mais il faut des chéneaux sur les formerets, des balustrades sur ces chéneaux; il faut que ces chéneaux posent sur les formerets et non sur les remplissages des voûtes; il faut que les pentes de ces gâbles rejettent elles-mêmes les eaux quelque part; il faut orner ces lignes rigides; il faut que ce nouveau membre ajouté à l'architecture trouve sa place sans empiéter sur celle des autres membres indispensables. Notre fig. 108 explique comment les constructeurs du milieu du XIIIe siècle surent concilier à la fois les exigences purement matérielles et celles de l'art. Leur formeret A (voir la coupe), bandé et doublé souvent d'une archivolte B, ayant l'épaisseur des moellons de remplissage de la voûte, ils posèrent, sur les deux tiers environ de la largeur de ces arcs, le gâble plein C, en ménageant une entaille peu profonde à sa base pour incruster le chéneau D posé sur le dernier tiers de la largeur des arcs. Le gâble dégagé, ce chéneau portait larmier de recouvrement de la corniche, ainsi qu'on le voit en E, et recevait la balustrade, suivant l'usage, dans une rainure. Deux pierres F, portant cuvette et gargouilles, étaient disposées à la base du gâble pour recueillir les eaux tombant sur les tablettes de recouvrement de ces gâbles. Ces tablettes, prises dans de longs morceaux pour éviter les joints, étaient taillées suivant le tracé G, au-dessous de la corniche, s'incrustaient dans les tympans et étaient munies, derrière les crochets posés en feuillure, d'une petite rigole I, propre à recueillir les eaux et à les conduire dans les cuvettes des gargouilles. Au-dessus de la corniche, ces tablettes étaient alors taillées conformément au tracé H, rejetant les eaux devant et derrière. Un chapeau K, pris dans un seul morceau de pierre, maintenait l'extrémité des deux tablettes inclinées ainsi que les branches de crochets. La balustrade L se posait en arrière, affleurant le nu postérieur du gâble, afin de laisser passer les rangs de crochets M rapportés dans des rainures par incrustement. Plus tard, on évida entièrement ces gâbles, qui parurent trop lourds comme aspect, au-dessus des meneaux si légers des fenêtres. Cet exemple fait comprendre combien chaque nouveau membre ajouté à l'architecture gothique entraînait une série de détails, d'études et de combinaisons. On nous dira peut-être que ce sont là des efforts bien grands pour les motifs qui les provoquent: la critique sera juste, mais elle frappe beaucoup plus haut. Dans l'ordre naturel, combien ne voyons-nous pas de combinaisons compliquées, de détails, d'efforts longs et puissants, pour produire en apparence de minces résultats? Ce n'est pas nous qui avons créé le monde, qui avons présidé à son ordonnance; et si les choses y sont bien arrangées, il faut reconnaître que cet arrangement n'est rien moins que simple. Les architectes du moyen âge admettront une critique qui pourrait s'adresser au grand ordonnateur de l'univers. Ces architectes ont, comme leurs prédécesseurs, eu la matière inerte à leur disposition; ils ont dû se soumettre aux lois de l'attraction, de la résistance, tenir compte du vent et de la pluie. En présence de la matière inerte et de l'action des forces naturelles, ils ont cru que l'équilibre était la loi vraie de la construction: peut-être se sont-ils trompés; mais on avouera du moins qu'ils se sont trompés en gens de génie, et il y a toujours quelque chose de bon à prendre chez les hommes de génie, même quand ils se trompent. D'ailleurs, il faut bien reconnaître que plus l'homme cherche, plus il combine et complique les choses, et plus tôt il arrive à constater l'infirmité de son jugement. Voici des rationalistes (qu'on me passe le mot), des artistes qui suivent un principe, vrai à tout prendre, en se conformant aux règles les plus rigoureuses de la logique; qui prennent, pour bâtir, de la pierre de taille, c'est-à-dire une matière qui est formée de manière à être employée par superposition, par assises, en un mot: par conséquent, les lignes principales de leurs constructions doivent donc être horizontales. Point; après un demi-siècle de recherches, de combinaisons toutes plus ingénieuses les unes que les autres, ils arrivent, au contraire, à faire dominer, dans leurs édifices, la ligne verticale sur la ligne horizontale, et cela sans cesser un seul instant de suivre les conséquences du principe vrai qu'ils ont posé. Bien des causes les conduisent à ce résultat. Nous en avons signalé quelques-unes, comme, par exemple, l'utilité des pierres posées debout pour roidir les constructions, la nécessité de charger les points d'appui sollicités à sortir de la verticale par les poussées obliques. Il en est une dernière qui a son importance. Dans les villes du moyen âge, le terrain était rare. Toute ville, par suite du système féodal, était fortifiée, et on ne pouvait reculer les fortifications d'une cité tous les dix ans. Il fallait donc renfermer les monuments dans des espaces étroits, n'occuper que le moins de surface possible. Or si vous bâtissez d'après un principe qui fait que toutes les actions de votre construction soient obliques, et si vous ne pouvez vous étendre, il faut bien suppléer par des pesanteurs verticales à l'espace qui vous manque en surface. Une loi imposée d'abord par la nécessité et que l'on subit comme telle devient bientôt une habitude et un besoin, si bien que, lors même que l'on pourrait s'en affranchir, on s'y soumet, elle plaît, elle est entrée dans les moeurs. Dès que les architectes du moyen âge ont compris que la structure de leurs édifices voûtés les amenait à multiplier les charges verticales pour résister à toute pression oblique, ils ont franchement pris leur parti, et comme il faut nécessairement que, dans un édifice, la ligne horizontale l'emporte sur la ligne verticale, ou celle-ci sur la ligne horizontale, à moins de se résoudre à faire de véritables échiquiers, ils sont arrivés à supprimer presque complétement la ligne horizontale, ne conservant plus celle-ci que comme arasement d'étages, pour indiquer un repos intérieur, un sol. D'ailleurs, toujours de plus en plus conséquents avec leurs principes, les maîtres des oeuvres, à la fin du XIIIe siècle, indiquent clairement, à l'extérieur des édifices, l'ordonnance intérieure, et en cela nous ferions bien de les imiter. Examinons un bâtiment gothique à l'extérieur, nous dirons s'il est voûté en pierre ou s'il est couvert par une charpente 30. Ses pinacles nous indiqueront le nombre de ses points d'appui intérieurs; ses bandeaux, les arases au-dessus des voûtes; la puissance de ses contre-forts, l'énergie des poussées, leur direction; ses fenêtres, le nombre des formerets et des travées; la forme des combles, le périmètre des diverses salles, etc.
À Saint-Urbain de Troyes déjà, les divers membres de la construction sont si délicats, ils possèdent chacun une fonction si nette et indépendante, que l'architecte les assemble, mais ne les relie pas; il les pose à côté les uns des autres, les maintient ensemble par des embrèvements, des incrustements, comme de la menuiserie; mais il évite de les liaisonner, car le liaisonnement produit l'homogénéité de toutes les parties, et c'est ce que le constructeur redoute dans l'emploi d'un système où toute partie de la construction agit, résiste, possède son action ou sa résistance propre, action et résistance qui ne peuvent être efficaces qu'autant qu'elles sont indépendantes. Au commencement du XIVe siècle, ce parti pris de laisser à chaque membre de la construction française sa fonction propre et de réunir ces membres en raison de la fonction particulière à chacun d'eux, est poussé jusqu'à l'exagération du principe. Cela est bien sensible dans un monument fort intéressant, élevé de 1320 à 1330; nous voulons parler du choeur de l'église Saint-Nazaire de Carcassonne, l'une des rares conceptions originales d'une époque pendant laquelle l'art de l'architecture tombait déjà dans l'application des formules et laissait de côté toute tentative nouvelle, toute expression individuelle.
L'examen attentif, l'analyse de ce monument, nous ont révélé un fait intéressant aujourd'hui pour nous: c'est la méthode simple suivie par l'architecte et ses subordonnés pour élever une construction fort compliquée en apparence, et qui semblerait devoir exiger une quantité fabuleuse d'opérations et de tracés. En réalité, les difficultés d'appareil n'existent pas. Cette construction n'est qu'un assemblage de plans verticaux dont les rabattements n'exigent qu'un seul tracé chacun. Il faut admettre, bien entendu, avant toute chose, que l'architecte sait ce qu'il veut, qu'il voit son édifice sous tous ses aspects avant de commencer les fondations, qu'il s'est rendu compte des diverses parties de sa construction; qu'il a fait, avant la taille de la première pierre, le travail que nous faisons sur un édifice que nous mesurons et examinons dans ses derniers détails. L'architecture gothique est exigeante à ce point, et c'est peut-être ce qui lui attire le plus d'ennemis. Il est si consolant de dire, lorsque se présente une difficulté sur le tas: «Nous verrons cela au ravalement.» Il est si pénible, lorsque tout n'est pas prévu d'avance, d'entendre, chaque jour, une longue série de questions présentées par l'appareilleur ou le conducteur; questions auxquelles il faut répondre clairement, simplement, en homme qui sait ce qu'il va dire, comme s'il eût prévu ce qu'on aurait à lui demander! Donc, l'architecte du choeur de Saint-Nazaire de Carcassonne a fait non-seulement le plan de son édifice, non-seulement des élévations et des coupes, mais il sait d'avance le point exact des naissances des divers arcs, de leur rencontre, de leur pénétration; il a tracé leurs profils et sait sur quoi ils doivent porter; il connaît les résultats des poussées, leur direction, leur puissance; il a calculé les charges, il a réduit les forces et les résistances à leurs plus justes limites. Il sait tout cela d'avance, il faut qu'il le sache dès la première assise au-dessus de terre. Sa conception étant ainsi entière, fixée sur son papier et dans son cerveau, ses subordonnés marchent en aveugles. Il dit à l'un: «Voici le dessin de la pile A qui se répète deux fois; voici le dessin du contre-fort C qui se répète dix fois, etc.; voici le tracé de la fenêtre A qui se répète six fois, celui de la fenêtre B qui se répète sept fois; voici une branche d'arc ogive avec ses sommiers, d'arc doubleau avec ses sommiers, etc.» Ceci dit, l'architecte peut s'en aller et laisser tailler toutes les assises et morceaux de chacun de ces membres. Les tailles finies, survient un maître poseur, qui, sans erreur possible, fait monter et assembler toutes ces diverses pièces prenant forcément leur place chacune comme les pièces d'une machine bien conçue. Cette façon de procéder explique comment, à cette époque (à la fin du XIIIe siècle et au XIVe), des architectes français faisaient exécuter des monuments dans des contrées où peut-être ils n'avaient jamais mis les pieds; comment on demandait d'Espagne, du midi de la France, de Hongrie, de Bohême, des projets de monuments à ces architectes, et comment ces monuments pouvaient s'élever et rappeler exactement, sauf dans quelques détails de profils et de sculpture, les édifices bâtis entre la Somme et la Loire. Le choeur de l'église de Saint-Nazaire de Carcassonne fut probablement érigé ainsi, à l'aide de tracés fournis par un architecte du Nord qui peut-être ne séjourna guère dans cette ville; ce qui nous le ferait croire, c'est qu'évidemment l'architecte a évité toute difficulté exigeant une décision sur place, ces difficultés qu'on ne résout pas par un dessin, mais par des explications données aux appareilleurs et aux ouvriers même sur le chantier, en suivant de l'oeil leur travail, en prenant au besoin le troussequin, la règle, l'équerre, et se couchant sur l'épure. L'architecte, par exemple, a presque entièrement, dans les voûtes de cet édifice, renoncé aux sommiers communs à plusieurs arcs; il a donné la courbe de chacun de ces arcs, leurs profils; on les a taillés chacun sans avoir à s'occuper de l'arc voisin, et le maître poseur est venu arranger tout cela comme un jeu de patience. Mais pour faire apprécier la singulière méthode de construction employée dans le choeur de l'église Saint-Nazaire de Carcassonne, il est utile de donner d'abord la moitié du plan de ce choeur avec son transsept (109).

Nous voyons dans ce plan la projection horizontale des voûtes; elles ont toutes leurs clefs au même niveau ou peu s'en faut, bien que leurs dimensions et leurs formes soient dissemblables; nécessairement les naissances de ces voûtes se trouvent dès lors à des niveaux très-différents. Il faut voir encore la coupe générale de cette construction sur AB.

L'architecte avait pensé fermer les voûtes C (110) à un niveau inférieur aux grandes voûtes du sanctuaire et du transsept; la construction avait même été élevée ainsi jusqu'au-dessus des naissances de ces basses voûtes, ainsi que le font voir les lignes ponctuées DE; mais l'architecte a dû céder au désir de produire plus d'effet en relevant les clefs de toutes les voûtes au même niveau. Peut-être une exigence du clergé fit-elle adopter ce dernier parti; ce qui est certain, c'est que les naissances basses, indiquées ponctuées, furent coupées au nu des piles, ainsi qu'il est facile de le reconnaître, et que ces naissances furent relevées, comme l'indique notre tracé, afin d'avoir sur tout le pourtour de l'édifice des fenêtres égales en hauteur.

La fig. 111 présente la coupe sur la ligne GH du plan. Remarquons tout de suite que, pour empêcher le rondissement des piles si grêles sollicitées par des poussées inégales, produites par l'exhaussement des voûtes secondaires, l'architecte a posé des étrésillons en fer I de 0,05 c. carrés, visibles dans nos deux coupes; que la pierre employée est un grès dur très-résistant et qui permettait de poser les voûtes sur des points d'appui grêles. Examinons maintenant avec soin les détails de cette construction; prenons la tête de la pile K (du plan) au point où cette pile reçoit un grand arc doubleau intermédiaire du sanctuaire, deux archivoltes, un arc doubleau de chapelle et deux branches d'arcs ogives.

La section horizontale de cette pile (112) est tracée en A. De B en C, nous voyons quatre assises de sommiers qui reçoivent le grand arc doubleau. À partir de la coupe C, normale à la courbe de l'arc doubleau E, les claveaux de cet arc sont indépendants; la pile s'élève derrière le remplissage F de cet arc, sans liaisons avec lui, jusqu'au chapiteau de formeret G. La saillie de ce chapiteau forme liaison avec le remplissage, puis la pile s'élève encore indépendante jusqu'à sa rencontre avec le formeret H. Au-dessus du chapiteau G, le remplissage monte verticalement de I en K. Il est évidé d'un trèfle L, qui décore la nudité de ce triangle recevant les voûtains en moellons taillés. Les deux barres de fer M servent d'étrésillons entre cette pile et la suivante; ils maintiennent la poussée de l'arc doubleau E.

Prenons la pile suivante L du plan, celle de l'angle rentrant, qui se trouve prise entre trois meneaux, qui reçoit un gros arc doubleau, deux grandes branches d'arcs ogives des voûtes principales, et une troisième branche d'arc ogive de chapelle (113). On voit encore ici que le tracé de chacune de ces parties a été fait indépendamment des autres, et que l'appareil ne présente que le moins de liaisons possible pour éviter les épures trop compliquées. Cette indépendance des divers membres des voûtes venant retomber sur les piles laisse une grande élasticité à la construction, élasticité nécessaire dans un monument aussi léger, très-élevé et chargé fort inégalement. On peut constater en effet, dans le choeur de l'église de Saint-Nazaire, des torsions, des mouvements considérables, sans que pour cela la bâtisse ait rien perdu de sa solidité. Encore une fois, ce ne sont pas là des exemples à suivre, mais fort utiles à connaître, à cause des moyens simples et pratiques mis en oeuvre. Voyons le côté extérieur de cette même pile (114).

Nous sommes placés dans l'angle de la chapelle, au point V du plan; nous supposons la partie supérieure des meneaux de la grande fenêtre de cette chapelle enlevée 31. On voit en A la barre de fer qui maintient la tête des colonnettes de ces meneaux et qui sert en même temps de chaînage à la naissance des arcs (voy. MENEAU); en B, la rainure réservée pour poser la partie cintrée ajourée des meneaux; en C, les sommiers du formeret qui enveloppe le châssis en pierre découpée; en E, la branche d'arc ogive de la voûte de la chapelle dont les deux assises de sommiers se confondent avec celles de l'arc formeret. À partir du lit D, les claveaux de cet arc ogive sont indépendants. En G, l'archivolte entourant la découpure cintrée et ajourée de la première fenêtre du sanctuaire et tenant lieu de formeret de voûte à l'intérieur; en F, l'archivolte-formeret des meneaux non vitrés séparant la chapelle du choeur. Ici on observera que cet arc F est mouluré dans la partie cachée par la maçonnerie de l'angle rentrant derrière l'arc ogive E: ce qui prouve de la manière la plus évidente que chaque membre de la construction a été tracé et taillé séparément sur le chantier d'après des épures partielles, et que ces diverses parties ainsi préparées par l'appareilleur ont été mises en place par le poseur, qui seul connaissait chacune de leurs fonctions et leurs rapports dans l'ensemble de la bâtisse. Le maçon est venu remplir les intervalles restant entre ces membres s'enchevêtrant, se pénétrant, tout en restant libres. Nous avons tracé en K la projection horizontale de cet angle rentrant avec la pénétration des deux archivoltes-formerets G.
Une pareille construction ne se compose que de piles recevant des nerfs élastiques, mais résistants, portant les remplissages des voûtes, ou maintenant des châssis de pierre dans de larges feuillures; elle nous fait connaître que le maître de l'oeuvre ne pouvait rien abandonner au hasard, rien ajourner, tout prévoir dès la première assise, classer ses épures avec méthode, et qu'il n'avait besoin, la pierre étant taillée sur ces épures, et les morceaux prêts, que de donner ses instructions à un poseur habile qui venait prendre successivement toutes les parties de l'édifice et les mettre en place dans leur ordre, comme le gâcheur du charpentier prend une à une les pièces d'une charpente taillée à l'avance sur l'aire, pour les mettre au levage. Aujourd'hui on procède autrement: on accumule des blocs de pierre, sans trop savoir souvent quelle sera la forme définitive qu'ils prendront, et on taille à même ces blocs les pénétrations des sommiers, les moulures, comme on pourrait le faire dans une masse homogène, sans trop se soucier des lits, des joints qui ne coïncident pas avec les formes données. Est-ce mieux? Est-ce le moyen d'obtenir une construction plus solide? Il est permis d'en douter. On peut affirmer toutefois que c'est moins raisonnable, moins habile, moins intelligent et plus coûteux.
Il n'est pas de construction religieuse du moyen âge plus avancée que celle des églises de Saint-Urbain de Troyes et de Saint-Nazaire de Carcassonne dans la voie ouverte par les architectes du XIIIe siècle. On ne pouvait, en effet, aller au delà sans substituer le métal à la pierre. Soit que les architectes du XIVe siècle aient été arrêtés par cette impossibilité, soit que de fâcheux essais leur aient démontré qu'ils dépassaient déjà les limites imposées par la matière, toujours est-il qu'une réaction eut lieu vers 1330, et que les constructeurs abandonnèrent ces méthodes trop hardies pour revenir à un système plus sage; mais cette réaction eut pour effet de détruire l'originalité: on en vint aux formules. À cette époque, nous voyons les architectes laisser de côté, dans les oeuvres vives de leurs bâtisses, l'assemblage simultané des pierres sur leur lit et en délit qui avait fourni aux constructeurs du XIIIe siècle de si beaux motifs d'architecture; ils conservent les formes imposées par ce système, mais ils n'en apprécient plus la raison; perdant quelque chose de l'esprit aventureux de leurs devanciers, ils renoncent aux délits pour les points d'appui, comme moyens de rigidité, et reviennent aux constructions élevées par assises, en réservant les pierres en délit pour les meneaux, les arcatures en placages, c'est-à-dire pour les membres de l'architecture qui ne portent pas charge et ne sont que des châssis ou des décorations. Cependant comme pour suivre, au moins quant à l'apparence, les conséquences du système de construction admis au XIIIe siècle, ils multiplient les lignes verticales, ils veulent que non-seulement les membres des voûtes, les arcs, aient chacun leur point d'appui, mais encore les moulures dont ces arcs sont ornés. Il résulte dès lors entre la forme donnée aux piles, par exemple, et la construction de ces piles, la contradiction la plus évidente. Par le fait, les constructeurs du XIVe siècle reviennent à des formes plus lourdes, bien qu'ils s'efforcent de dissimuler cette réaction sous une apparence de légèreté, en multipliant les membres déliés de l'architecture. Comme praticiens, ils sont fort habiles, fort prudents, pleins d'expérience et adroits; mais ils manquent complétement d'invention: ils n'ont plus de ces hardiesses qui dénotent le génie; ils sont plus sages que leurs prédécesseurs du XIIIe siècle, mais ils ont les défauts qui accompagnent souvent la sagesse: leurs méthodes sûres, leurs formules, sont empreintes, malgré tous leurs efforts, d'une monotonie fatigante.
L'exemple le plus frappant et l'un des plus complets de la construction religieuse du XIVe siècle est la cathédrale de Narbonne, dont le choeur seul fut bâti de 1370 à 1400 32. C'est l'oeuvre d'un maître consommé dans son art, mais dépourvu de cette imagination, de ces ressources inattendues qui charment dans les constructions du XIIIe siècle et qui se prêtent aux conceptions les plus variées. Ce qui donne le degré d'habileté pratique à laquelle les architectes du XIVe siècle étaient arrivés, ce sont ces reprises en sous-oeuvre, ces reconstructions partielles faites dans des édifices plus anciens. À cette époque, les matériaux employés sont toujours de la première qualité, le trait savant, l'appareil excellent, la taille exécutée avec un soin remarquable. D'ailleurs le système général de la construction se modifie très-peu, il est appliqué avec plus de sûreté et avec une parfaite connaissance des forces passives et actives, des pesanteurs et des poussées. Les arcs-boutants, par exemple, sont bien tracés, posés exactement où ils doivent l'être. Nous en avons une preuve bien évidente à la cathédrale de Paris. Tous les arcs-boutants de la nef et du choeur furent refaits à cette époque (vers 1330), et refaits de façon à franchir les galeries du premier étage et à venir retomber sur les gros contre-forts extérieurs (voy. ARC-BOUTANT, fig. 59, CATHÉDRALE). Ces arcs-boutants, qui ont un rayon très-étendu et par conséquent une courbure très-peu prononcée, ont été calculés avec une exacte connaissance de la fonction qu'ils avaient à remplir, et lorsqu'on songe qu'ils ont dû tous être refaits dans des conditions nouvelles, appuyant d'anciennes constructions, on est obligé de reconnaître, chez ces constructeurs du XIVe siècle, une grande expérience et une adresse peu commune. Nous ne croyons pas qu'il soit nécessaire de nous étendre plus longuement sur les constructions religieuses du moyen âge, car nous n'apprendrions rien de nouveau à nos lecteurs après ce que nous avons déjà dit. Les articles du Dictionnaire constatent d'ailleurs les différences qui résultent des perfectionnements de détail apportés par les architectes des XIVe et XVe siècles dans les constructions religieuses. Nous nous occuperons maintenant des constructions civiles et militaires qui procèdent d'après leurs méthodes particulières, n'ayant que peu de rapports avec les constructions des édifices purement religieux.
Note 19: (retour) On voudra bien nous permettre à ce sujet une observation: en appréciant le plus ou moins de mérite des édifices religieux gothiques, quelques critiques (qui ne sont pas architectes, il est vrai) ont prétendu que, des églises du moyen âge en France, la plus parfaite, celle qui indique de la part de l'architecte une plus grande somme de talent, est la Sainte-Chapelle de Paris, car cette église conserve une parfaite stabilité sans le secours des arcs-boutants; et, partant de là, les mêmes critiques, heureux sans doute d'avoir fait cette découverte, ont ajouté: «L'arc-boutant, étai permanent de pierre, accusant l'impuissance des constructeurs, n'est donc qu'une superfétation barbare, un jeu inutile, puisque, même pendant le moyen âge, des artistes habiles ont su s'en passer.» L'argument est fort; mais la Sainte-Chapelle n'a pas de bas-côtés; partant, l'architecte n'était pas obligé de franchir cet espace et de reporter les poussées des grandes voûtes à l'extérieur en dehors de ces bas-côtés. C'est ainsi pourtant que l'on parle presque toujours d'un art qu'on ne connaît pas; et la foule d'applaudir, car les praticiens ne croient pas qu'il soit nécessaire de réfuter de pareils arguments. Ils ont tort: une erreur répétée cent fois, fût-elle des plus grossières, mais répétée avec assurance, finit chez nous par être admise parmi les vérités les moins contestables; et nous voyons encore imprimer aujourd'hui, de la meilleure foi du monde, sur les arts et en particulier sur l'architecture gothique, des arguments réfutés depuis longtemps par la critique des faits, par l'histoire, par les monuments et par des démonstrations appuyées sur la géométrie. Tout ce travail de la vérité qui veut se faire jour passe inaperçu aux yeux de certains critiques, qui prétendent probablement ne rien oublier et ne rien apprendre.
Note 20: (retour) M. Millet a bien voulu relever pour nous ce charmant petit édifice fort peu connu, et le meilleur type peut-être de l'architecture champenoise du commencement du XIIIe siècle.
Note 21: (retour) Nous avons été souvent appelé à défendre des projets de restauration de monuments gothiques, à donner la raison de dépenses nécessaires et considérables pour les sauver de la ruine. Dans l'espoir bien naturel d'obtenir des économies, on nous a souvent répété: «Ne faites que le strict nécessaire, laissez à des temps meilleurs le soin d'achever, de sculpter, de ravaler, etc.» La réponse était difficile, car il eût fallu faire suivre un cours d'architecture gothique aux personnes qui nous ouvraient ces avis, pour leur faire comprendre que dans les édifices gothiques tout se tient, que la pierre est posée ravalée et sculptée, et qu'on ne peut, à vrai dire, construire un monument gothique en laissant quelque chose à faire à ceux qui viendraient après nous. Au point de vue de l'art, est-ce donc là un défaut? Et n'est-ce donc pas, au contraire, le plus bel éloge que l'on puisse faire d'une architecture, de dire, après l'avoir démontré, que tout ce qui la constitue est si intimement lié, que sa parure fait si bien partie de sa structure, que l'on ne peut séparer l'une de l'autre?
Note 22: (retour) On nous accusera peut-être de nous répéter dans le cours de cet ouvrage; mais les préjugés contre lesquels il nous faut combattre ne sont que le résultat de l'erreur ou de fausses appréciations répétées avec une persistance rare. En pareil cas, la vérité, pour faire briller ses droits, n'a d'autre ressource que d'employer la même tactique.
Note 23: (retour) Nous avons quelquefois rencontré des architectes fort surpris de voir les piles de leurs églises s'écraser sous la charge, et dire: «Mais nous avons exactement suivi les proportions relatives de tel édifice et employé des matériaux analogues, comme résistance; la construction gothique ne présente réellement aucune sécurité.» On pourrait répondre: «Nulle sécurité, il est vrai, si l'on veut augmenter ou diminuer les échelles en conservant les proportions relatives; la construction gothique demande que l'on prenne le temps de l'étudier et d'en connaître les principes, et les architectes gothiques ont eu le tort d'inventer un système de construction qui, pour être appliqué, doit être connu et raisonné.»
Note 24: (retour) Le caprice est une de ces explications admises dans bien des cas, lorsque l'on parle de l'architecture gothique; elle a cet avantage de rassurer la conscience des personnes qui aiment mieux trancher d'un mot une question difficile que de tenter de la résoudre.
Note 25: (retour) Voyez, au mot CATHÉDRALE, le résumé historique de la construction de Notre-Dame d'Amiens. Les parties hautes du choeur ne purent être terminées qu'avec des ressources insuffisantes.
Note 26: (retour) Il en est de ces pilotis de Notre-Dame de Paris, de Notre-Dame d'Amiens, comme de tant d'autres fables que l'on répète depuis des siècles sur la construction des édifices gothiques. Il ne serait pas possible de construire une grande cathédrale sur pilotis. Ces édifices ne peuvent être fondés que sur de larges empattements; les pesanteurs étant très-inégales en élévation, la première condition de stabilité était de trouver une masse parfaitement homogène et résistante au-dessous du sol.
Note 27: (retour) Au XIVe siècle, les colonnettes posées sur le triforium s'étant brisées furent remplacées par une pile pleine (voy. la fig. 61, à l'article ARC-BOUTANT); mais on peut encore aujourd'hui reconnaître leur position et à peu près leur diamètre.
Note 28: (retour) Comment se fait-il que nous, qui possédons aujourd'hui la fonte de fer, ou bien encore qui pouvons nous procurer des pierres de taille d'une qualité excellente et en très-grands morceaux, n'avons-nous pas songé à mettre en pratique la méthode si heureusement appliquée à la construction de l'église de Saint-Urbain? Quelles ressources ne trouverait-on pas dans l'étude et l'emploi de ce système si vrai, si simple, et qui conviendrait si bien à beaucoup de nos édifices dans lesquels on demande de grands jours, de la légèreté, et qu'il nous faut élever très-rapidement?
Note 29: (retour) Cette décoration qui clôt le sanctuaire de Saint-Urbain ne fut probablement pas admirée de tout le monde à Troyes: car, il y a quelques années, on eut l'idée de la masquer par une énorme décoration de sapin et de carton-pierre peinte en blanc. Rien n'est plus ridicule que cet échafaudage de carton qui étale sa misère prétentieuse devant une des plus charmantes conceptions de l'art du XIIIe siècle à son déclin. La barbarie qui dévaste est certes plus dangereuse que la barbarie des auteurs du maître-autel de Saint-Urbain; mais, cependant, que diraient les amis des arts en Europe, s'ils voyaient élever une façade en plâtre sculpté devant la façade occidentale de la cour du Louvre, sous le prétexte de l'embellir? Que de progrès nous avons à faire encore pour ne plus mériter l'épithète de barbares que nous donnons si volontiers à des temps où certes on ne se serait jamais permis de masquer une oeuvre exécutée avec intelligence, avec soin et talent, derrière une superfétation inutile, grossière par la matière et le travail, sans forme, sans goût, produit de l'ignorance mêlée à la plus ridicule vanité.
Note 30: (retour) À ce propos, et pour démontrer jusqu'à quel point les opinions sur l'architecture sont fausses aujourd'hui, nous citerons ce jugement d'un homme fort éclairé d'ailleurs, qui, voyant des contre-forts extérieurs indiqués dans un projet, prétendait les faire supprimer par l'architecte, en donnant pour raison que les progrès de la construction devaient faire renoncer à ces appendices appliqués aux édifices dans des temps barbares, et qui n'indiquent autre chose que l'ignorance, etc. Autant dire que nous sommes trop civilisés pour être vrais, et que le mensonge est la marque la plus certaine du progrès.
Note 31: (retour) Cette opération ayant été faite sous nos yeux, nous avons pu reconnaître très-exactement et reproduire ici cette construction.
Note 32: (retour) Il faut dire que nous n'avons pas en France un seul grand édifice complet d'architecture religieuse du XIVe siècle. Le XIIIe siècle n'avait pas laissé de grands monuments à construire en ce genre. Le XIVe siècle ne put que terminer des édifices déjà commencés, et n'eut pas le loisir d'achever le petit nombre de ceux qu'il fonda.
CONSTRUCTIONS CIVILES. Vers les premiers temps du moyen âge, les traditions romaines s'étaient perpétuées, sur le sol des Gaules, dans les constructions civiles comme dans les constructions militaires; cependant le bois jouait alors un rôle plus important que pendant la période gallo-romaine. Le système de construction gallo-romaine ne diffère pas du système romain: ce sont les mêmes procédés employés, plus grossiers quant à l'exécution. Pendant la période mérovingienne, on reconnaît l'emploi très-fréquent du bois, non-seulement pour les couvertures, mais dans les plafonds, les lambris, les portiques, les parois même des habitations. La Germanie et les Gaules produisaient le bois de charpente à profusion, et cette matière étant d'un emploi facile, il était naturel de s'en servir de préférence à la pierre et à la brique, qui exigent une extraction difficile, des tailles, des transports pénibles ou une cuisson préalable et du temps 33.
Les incendies qui détruisirent un si grand nombre de villes et de bourgades pendant les IXe, Xe et XIe siècles, contribuèrent à faire abandonner le bois dans la construction des bâtiments privés comme dans la construction des églises. On n'employa plus ces matériaux que pour les planchers, les combles et les divisions intérieures des habitations. Au XIIe siècle déjà, nombre de villes présentaient des façades de maisons en pierre d'appareil ou en moellon, si ce n'est cependant sur certains territoires dépourvus de carrières, comme en Champagne et en Picardie, par exemple.
Les établissements monastiques, si riches au XIIe siècle, donnèrent l'exemple des constructions civiles en pierre, et cet exemple fut suivi par les particuliers. Il faut dire, à l'honneur des constructeurs de cette époque, qu'en adoptant la pierre ou le moellon à la place du bois, ils prirent très-franchement un mode de construction approprié à ces matériaux, et ne cherchèrent pas à reproduire, dans leur emploi, les formes ou les dispositions qui conviennent au bois de charpente. Toujours disposés à conserver à la matière mise en oeuvre sa fonction réelle et l'apparence qui lui convient, ils n'essayèrent point de dissimuler la nature des matériaux. Les moyens employés étaient d'ailleurs d'une extrême simplicité, et ces artistes qui, dans leurs constructions religieuses, montraient, dès le XIIe siècle, une subtilité singulière, une recherche de moyens si compliqués, se contentaient, pour les bâtiments civils, des méthodes les plus naturelles et les moins cherchées. Économes de matériaux qui coûtaient alors, comparativement, plus cher qu'aujourd'hui, leurs habitations sont, pendant les XIIe et XIIIe siècles, réduites au nécessaire, sans prétendre paraître plus ou autre chose qu'elles ne sont, c'est-à-dire des murs percés de baies, soutenant des planchers composés de poutres et de solives apparentes, bien abrités sur la rue et les cours par des toits saillants rejetant les eaux loin des parements. Très-rarement, si ce n'est dans quelques villes du midi et du centre, les rez-de-chaussée étaient voûtés; par conséquent, nul contre-fort, nulle saillie à l'extérieur. Le plus souvent des murs en moellons smillés apparents, avec quelques bandeaux, des jambages et des linteaux de portes et de fenêtres en pierre de taille; encore ces linteaux et ces jambages ne faisaient-ils pas parpaings, mais seulement tableaux sur le dehors; les bandeaux seuls reliaient les deux parements intérieur et extérieur des murs.

Pour donner une idée de ces constructions civiles les plus ordinaires au XIIe siècle et au commencement du XIIIe, de la simplicité des moyens employés, nous choisissons, parmi un assez grand nombre d'exemples, l'une des maisons de la ville de Cluny, si riche en habitations du moyen âge. Voici (115) la face du mur extérieur de cette maison sur la rue. On voit que la construction ne consiste qu'en un moellonnage avec quelques pierres de taille pour les bandeaux, les arcs, les fenêtres et leurs linteaux. Les arcs du bas s'ouvrent dans des boutiques. À droite est la porte de l'allée qui conduit à l'escalier. Le premier étage présente une galerie à jour composée de pieds-droits et de colonnettes éclairant la grande salle. Les baies sont carrées pour pouvoir recevoir des châssis ouvrants. Dans les linteaux, sous les arcs intérieurs qui portent le mur du second étage, sont percés de petits jours dormants. Le second étage est éclairé par une claire-voie moins importante, et un comble très-saillant rejette les eaux loin des parements.

En plan, le premier étage donne la fig. 116, et la fig. 117 reproduit le mur de face vu de l'intérieur, avec ses arcs de décharge au-dessus des linteaux du premier étage, les bancs dans les fenêtres et la portée des poutres soutenant le solivage. Ces poutres principales, posées sur le mur de face entre les arcs, reliaient les deux murs parallèles de la maison et servaient de chaînage; elles étaient soulagées sous leur portée par des corbeaux en bois, ainsi que le fait voir la coupe. (118) (voy. MAISON).

C'est là
l'expression la plus simple de l'architecture privée pendant le moyen
âge; mais les constructions civiles n'avaient pas toujours un caractère
aussi naïf. Dans les grandes habitations, dans les châteaux, les
services étant beaucoup plus compliqués, les habitants très-nombreux, il
fallait trouver des distributions intérieures, des dégagements.
Cependant il était certaines dispositions générales qui demeuraient les
mêmes pour l'habitation seigneuriale comme pour celle du bourgeois. Il
fallait toujours avoir la salle, le lieu de réunion de la famille chez
le bourgeois, de la maisnée
34 chez le seigneur; puis les chambres,
avec leurs garde-robes et leurs retaits; des dégagements pour arriver à
ces pièces, avec des escaliers particuliers: c'était donc, sous le même
toit, des pièces très-grandes et d'autres très-petites, des couloirs, de
l'air et du jour partout. On se figure, bien à tort, que les habitations
des seigneurs comme des petits bourgeois, au moyen âge, ne pouvaient
être que sombres et tristes, mal éclairées, mal aérées; c'est encore là
un de ces jugements absolus comme on n'en doit point porter sur cette
époque. À moins que des dispositions de défense n'obligeassent les
seigneurs à n'ouvrir que des jours très-rares, ils cherchaient, au
contraire, dans leurs châteaux, la lumière, l'air, la vue sur la
campagne, les orientations différentes pour avoir partout du soleil ou
de la fraîcheur à volonté. Pour peu que l'on prenne la peine d'y songer,
on comprendra, en effet, que des hommes qui passaient la plus grande
partie de leur existence à courir la campagne ne pouvaient bénévolement
se renfermer, quelquefois pendant des semaines entières, dans des
chambres sombres, sans vue, sans air, sans lumière. Si les dispositions
défensives d'une résidence obligeaient les habitants à ouvrir le moins
de jours possible à l'extérieur, si les cours des châteaux entourés de
bâtiments élevés étaient tristes et sombres souvent, les habitants,
cependant, cherchaient, par toutes sortes de moyens ingénieux, à se
procurer des vues sur la campagne, de l'air et du soleil. De là ces
tourelles flanquantes, ces échauguettes, ces encorbellements, ces
retours d'équerre qui permettaient d'ouvrir des jours masqués du dehors.
Des habitudes fort sensées imposaient encore aux architectes, dans les
grandes habitations, des dispositions particulières. On n'admettait,
pendant le moyen âge, pas plus que pendant l'antiquité, qu'une grande
salle et une petite chambre eussent la même hauteur entre planchers;
qu'un couloir fût aussi élevé que les pièces qu'il est destiné à
desservir. Il a fallu des siècles de faux raisonnements en architecture
pour oublier des principes si vrais et pour nous obliger à vivre dans de
grandes salles basses sous plafond, si l'étage que nous occupons est
bas, ou dans de petits cabinets démesurément élevés, si nous possédons
un étage ayant quatre ou cinq mètres entre planchers. Dans de grandes
villes, les étages étant réglés forcément, on comprend encore que la
nécessité ait imposé des dispositions aussi peu commodes que ridicules;
mais là où l'architecte est libre, dans une maison de plaisance, dans un
château, il est fort peu raisonnable de ne pas avoir égard aux
dimensions en superficie des pièces pour fixer la hauteur qui convient à
chacune d'elles, d'éclairer des cabinets ou couloirs par des fenêtres
ayant la même dimension que celles ouvertes sur de grandes pièces, de
faire que des corridors latéraux obstruent tous les jours d'une des
faces d'un bâtiment, que des paliers d'escaliers coupent des baies à
moitié de leur hauteur, que des entre-sols soient pris aux dépens de
grandes fenêtres pour ne pas déranger une certaine ordonnance
d'architecture qui importe assez peu aux habitants d'un palais; ou bien
encore, d'établir, au milieu de bâtiments doubles, des corridors
desservant des pièces à droite et à gauche, corridors éclairés par des
jours de souffrance, mal aérés, sombres, bruyants comme des couloirs
d'auberges, perdant une place précieuse et chargeant les planchers dans
leur partie la plus faible. Les architectes du moyen âge ne faisaient
rien de tout cela, et ne pensaient même pas que ce fût possible; ce
n'est pas nous qui les en blâmerons. Leurs bâtiments d'habitation
étaient presque toujours simples en profondeur, et pour que les pièces
qui les divisaient transversalement ne se commandassent pas, ce qui eût
été fort incommode dans bien des cas, ils établissaient, le long de ces
bâtiments, des galeries fermées, basses, qui desservaient chaque pièce,
en permettant encore d'ouvrir des jours au-dessus d'elles. Exemple
(119).


Si le bâtiment avait plusieurs étages, cette disposition pouvait être conservée avec tous ses avantages (120). On voit en A le premier étage avec sa galerie de service C, au-dessus de laquelle s'ouvrent des jours éclairant les salles; en B, l'étage supérieur, presque toujours lambrissé, éclairé par des fenêtres surmontées de lucarnes du côté opposé à la galerie et par des lucarnes seulement au-dessus de cette galerie. Le couloir de l'étage supérieur est porté sur des arcs qui permettent, entre leurs pieds-droits, l'ouverture des jours éclairant directement le premier étage. Une disposition de ce genre existe encore au Palais-de-Justice de Paris, dans la partie occidentale; elle date du XIIIe siècle. On ne peut méconnaître ce qu'il y a de raisonnable, de vrai, dans une pareille construction, qui donne à chaque service son importance relative, qui laisse aux pièces principales tout l'air et la lumière dont elles ont besoin, et qui accuse bien franchement, à l'extérieur, les services et les distributions intérieures du bâtiment. Cela est certainement plus conforme aux bonnes traditions antiques que ne l'est une suite de colonnes ou de pilastres plaqués, on ne sait pourquoi, contre un mur. C'est qu'en effet l'architecture religieuse du moyen âge, qui s'écarta des formes antiques, en sut longtemps conserver l'esprit dans l'architecture civile. Nous allons en fournir plus d'une preuve.
Lorsque les habitations sont vastes et les bâtiments composés de plusieurs étages, ce dont les architectes du moyen âge ne se faisaient pas faute, par cette raison simple que deux étages l'un sur l'autre coûtent moins à bâtir que si l'on couvre une superficie égale à celle de ces deux étages à rez-de-chaussée, puisque alors il faut doubler les fondations et les combles; si, disons-nous, les bâtiments contiennent plusieurs étages, l'architecte multiplie les escaliers de façon que chaque appartement ait le sien. Cependant il y a toujours un degré principal, un escalier d'honneur qui conduit aux pièces destinées aux réceptions. Pendant la période romane, les degrés de pierre de taille sont assez rares; on les faisait, le plus souvent, en charpente, c'est-à-dire en superposant des tronçons de poutres équarris, des billes de bois quelque peu engagées dans les murs latéraux. Alors les escaliers se composaient de deux rampes droites avec paliers, et se trouvaient compris dans une cage barlongue longitudinalement traversée par un mur de refend (voy. ESCALIER). Cette méthode fut presque entièrement abandonnée par les constructeurs du XIIIe siècle, qui adoptèrent les escaliers à vis avec noyau et emmarchements de pierre, comme tenant moins de place et desservant plus aisément les divers étages auxquels il fallait arriver. Si ces escaliers à vis étaient d'un très-petit diamètre, c'est-à-dire de cinq pieds dans oeuvre, ils étaient souvent noyés dans l'épaisseur des murs formant une saillie peu prononcée à l'extérieur plutôt qu'à l'intérieur; si, au contraire, ils occupaient une cage cylindrique ou polygonale d'un assez grand diamètre dans oeuvre (huit ou dix pieds), ils formaient complétement saillie à l'extérieur et ne gênaient pas les distributions intérieures. Quant aux corps de logis, ils possédaient chacun leur comble particulier, et si les bâtiments étaient doubles en profondeur, il y avait un comble sur chacun d'eux avec chéneau intermédiaire. Les architectes du moyen âge ayant cru devoir adopter des combles dont la pente est au-dessus de 45 degrés, et ne connaissant pas les toits à brisis, ne pouvaient comprendre un bâtiment double en profondeur sous un seul toit, car ce toit eût atteint alors des dimensions énormes en hauteur. Chaque corps de logis, chaque pavillon, chaque escalier possédant son comble particulier, soit en pyramide, soit en appentis, soit à deux pentes avec pignons ou avec croupes, il était facile de poser, au besoin, ces combles à des niveaux différents, d'obtenir ainsi des pièces élevées entre planchers lorsqu'elles étaient grandes, ou basses lorsqu'elles étaient petites. Cette méthode employait beaucoup de bois, une surface de couverture très-étendue, exigeait des chéneaux en plomb à l'intérieur; mais elle avait cet avantage sur celle qui consiste à envelopper tous les services d'un bâtiment sous un même toit, de fournir aux architectes des ressources variées quant aux hauteurs à donner aux pièces, de leur permettre d'ouvrir un très-grand nombre de lucarnes pour éclairer les pièces supérieures, de dégager les couronnements des escaliers qui servaient ainsi de guettes au-dessus des combles et procuraient une ventilation pour les étages inférieurs. Comme aspect, ces combles distincts couvrant des corps de logis groupés, accusant leur forme et leur destination, étaient très-pittoresques et donnaient aux grandes habitations l'apparence d'une agglomération de maisons plus ou moins hautes, plus ou moins étendues en raison des services qu'elles contenaient. Cela, on le conçoit, différait de tous points de nos constructions modernes, et il faut dire que ces traditions se conservèrent jusque vers le milieu du XVIIe siècle. Comme principe, sinon comme forme, on retrouve dans ces dispositions la trace des grandes habitations antiques, des villæ, qui n'étaient, à vrai dire, que des groupes de bâtiments plus ou moins bien agencés, mais distincts par leur forme, leur hauteur et leur couverture. Très-peu soumis aux lois de la symétrie, les architectes du moyen âge plaçaient d'ailleurs les différents services des grandes habitations, d'après l'orientation, en raison des besoins des habitants et en se conformant à la configuration du sol. C'était encore là un point de ressemblance avec les villæ antiques qui, dans leur ensemble, n'avaient rien de symétrique. Dans les cités, presque toutes fortifiées alors, le terrain était rare comme dans toutes les villes fermées. Dans les châteaux, dont on cherchait toujours à restreindre le périmètre autant par des motifs d'économie que pour les pouvoir défendre avec une garnison moins nombreuse, la place était comptée. Il fallait donc que les architectes cherchassent, à la ville comme à la campagne, à renfermer le plus de services possibles dans un espace relativement peu étendu. Sous ce rapport, les constructions civiles du moyen âge diffèrent de celles des anciens; ceux-ci, dans leurs villæ, ne bâtissaient guère que des rez-de-chaussée et occupaient de grandes surfaces. Obligés de se renfermer dans des espaces resserrés, les constructeurs du moyen âge se virent contraints de prendre des dispositions intérieures différentes également de celles adoptées chez les Romains, de superposer les services, de trouver des dégagements dans l'épaisseur des murs; par suite, de chercher des combinaisons de constructions toutes nouvelles. N'oublions pas cependant ce point important, savoir: que les traditions antiques se perpétuent dans les constructions civiles, par cette raison bien naturelle que tout ce qui tient à la vie de chaque jour se transmet de générations en générations sans interruption possible, que les habitudes intérieures ne peuvent se modifier brusquement, et que s'il est possible de faire une révolution radicale dans le système de construction de monuments publics, comme les églises, cela devient impossible pour les maisons ou les palais que l'on habite, et dans lesquels chacun a pris l'habitude de vivre comme vivait son père.
Le système de construction appliqué, à la fin du XIIe siècle, aux édifices religieux, n'a, dans les édifices civils, qu'une faible influence. L'arc en tiers-point avec ses conséquences si étendues, comme nous l'avons fait voir, apparaît à peine dans ces derniers édifices. La construction civile et militaire conserve quelque chose de l'art romain, quand déjà les dernières traces de cet art ont été abandonnées depuis longtemps dans l'architecture religieuse. Il y avait donc, à dater de la fin du XIIe siècle, deux modes bien distincts de bâtir: le mode religieux et le mode civil; et cet état de choses existe jusque vers le milieu du XVIe siècle. Les monastères même adoptent l'un et l'autre de ces modes; les bâtiments d'habitation n'ont aucun rapport, comme système de construction, avec les églises ou les chapelles. Cependant l'une des qualités principales de la construction au moment où elle abandonne les traditions romanes, la hardiesse, se retrouve aussi bien dans l'architecture civile que dans l'architecture religieuse; mais, dans l'architecture civile, il est évident que les idées positives, les besoins journaliers, les habitudes transmises, ont une influence plus directe sur les méthodes adoptées par le constructeur. Ainsi, par exemple, les constructions en moellons et blocages se retrouvent longtemps dans l'architecture civile, après que toutes les constructions religieuses s'élèvent en pierre de taille; les plates-bandes en pierre s'appliquent partout aux habitations des XIIe, XIIIe, XIVe et XVe siècles, quand on n'en trouve plus trace dans les églises. Les contre-forts, même lorsqu'il existe des étages voûtés, sont évités autant que possible à l'extérieur des palais et maisons, tandis qu'à eux seuls ils constituent tout le système de la construction des églises. Le bois ne cesse d'être employé par les architectes civils, tandis qu'il n'est plus réservé que pour les combles des cathédrales et de tous les monuments religieux de quelque importance. Enfin, les architectes cherchent à éviter les pleins, à diminuer les points d'appui, ils arrivent à supprimer totalement les murs en élevant leurs grandes constructions religieuses; tandis que, dans l'architecture civile, ils augmentent l'épaisseur des murs à mesure que les habitudes de bien-être pénètrent partout, et que l'on tient à avoir des habitations mieux fermées, plus sûres et plus saines. L'étude de ces deux modes de bâtir doit donc être poursuivie séparément, et si nous trouvons des points de rapport inévitables entre ces deux systèmes, c'est moins dans les moyens pratiques que dans cette allure franche et hardie, ces ressources infinies qui appartiennent aux architectes laïques du moyen âge.

Toutes les personnes qui ont quelque notion d'architecture savent que les Romains, même lorsqu'ils construisaient des édifices voûtés, maintenaient plutôt la poussée des voûtes par des contre-forts intérieurs que par des piles formant saillie à l'extérieur. Ils avaient adopté, surtout en élevant des bâtiments civils, le système de construction que nous appellerons cellulaire, c'est-à-dire qu'ils composaient ces bâtiments d'une série de salles voûtées en berceau sur des murs de refend se contre-buttant réciproquement et n'exerçant ainsi aucune action de poussée à l'extérieur. De ce principe, suffisamment expliqué par la fig. 121, découlaient des conséquences naturelles. Si, par exemple, on voulait de toutes ces cellules accolées ne faire qu'une seule salle, il suffisait de faire pénétrer un berceau longitudinalement à travers tous ces berceaux transversaux: on obtenait ainsi une succession de voûtes d'arête (122), bien contre-buttées par les contre-forts intérieurs A, restes des murs de refend B, indiqués en plan perspectif dans la fig. 121. Cette disposition permettait d'élever en C soit des murs pleins, soit des claires-voies aussi légères que possible, puisque rien ne les chargeait. C'était là une construction très-simple, très-durable, facile à élever, et qui servit longtemps de type aux édifices civils de l'époque carlovingienne.

Pour éviter la dépense, et si l'on ne tenait pas absolument aux voûtes, on se contentait de poser, pendant la période romane, des planchers sur deux rangées parallèles d'arcs plein-cintre. On pouvait, par ce moyen, élever plusieurs étages les uns sur les autres, sans craindre de voir les murs latéraux se déverser, puisqu'ils étaient composés de contre-forts donnant une suite de piliers à l'intérieur et réunis par des arcs qui les étrésillonnaient; sous ces arcs, on ouvrait des baies autant que le besoin l'exigeait pour donner de l'air et de la lumière aux salles. Les fig. 115, 116, 117 et 118, qui nous présentent une des maisons élevées au XIIIe siècle dans la ville de Cluny, conservent encore les restes de cette tradition romaine, car le mur de face de cette maison ne se compose, en réalité, que d'une suite d'arcs en décharge masqués derrière le parement extérieur. Si cette combinaison se prêtait aux constructions civiles les plus ordinaires, elle était également favorable aux constructions militaires, ainsi que nous le verrons bientôt; elle fut appliquée fort tard encore dans la construction des grand'salles des châteaux et des évêchés, puisque la salle de Henri II à Fontainebleau nous en montre un des derniers exemples, qu'avant elle on voyait une salle du XIIIe siècle dans l'enceinte du château de Montargis, et que l'on voit encore à Angers, près de la cathédrale, une ancienne salle synodale du XIIe siècle, élevées toutes deux d'après ce principe (voy. SALLE).
Ce qu'il est fort important de constater dans les constructions civiles du moyen âge, c'est l'attention avec laquelle les constructeurs prévoient jusqu'aux moindres détails de la bâtisse. Ont-ils un plancher à monter, ils réserveront les trous des poutres bien équarris dans les parements intérieurs des murs, et ne les perceront pas après coup; ils engageront des corbeaux de pierre sous la portée de ces poutres; ils réserveront des rainures horizontales pour recevoir, le long des murs de refend, les lambourdes dans lesquelles s'assembleront les solives ou les trous régulièrement espacés de leurs scellements. Dans les ébrasements des baies, ils scelleront les gonds en construisant, ils ménageront des renforts à l'intérieur des meneaux pour recevoir les gâches des targettes ou verroux. Leurs cheminées, élevées en même temps que les murs, auront des tuyaux taillés avec le plus grand soin à l'intérieur; les jambages des âtres seront reliés aux murs et non accolés; le passage des tuyaux à travers les planchers, les supports des foyers supérieurs indiquent une extrême prévoyance, des dispositions étudiées avant la mise à exécution. Toutes ces choses seraient pour nous aujourd'hui un excellent enseignement, si nous voulions voir et nous défaire de cette manie de croire que nous ne pouvons rien prendre de bon dans le passé, lorsque ce passé est en-deçà des monts. Dans les grandes constructions civiles, comme les salles d'assemblée, les halles, les constructeurs du moyen âge ont presque toujours le soin de prendre des jours inférieurs et supérieurs: les jours inférieurs permettent de voir ce qui se passe au dehors, de donner de l'air; les jours supérieurs envoient la lumière directe du ciel. Ces baies relevées sont prises dans la hauteur du comble et forment lucarnes à l'extérieur. Si étendues que fussent les salles comme surface et hauteur, les fenêtres se trouvaient toujours proportionnées à la dimension humaine, et, ce qui est plus important, à la dimension raisonnable que l'on peut donner à un châssis de menuiserie destiné à être ouvert fréquemment. Quant aux châssis des lucarnes, ils s'ouvraient en tabatière au moyen de poulies et de cordelles (voy. LUCARNE) 35.
On est trop porté à croire que, pendant le moyen âge, si ingénieux que fussent les architectes, ceux-ci ne savaient concevoir ces larges dispositions d'ensemble, ces vastes bâtiments d'ordre civil réclamés par nos besoins modernes prenant de jour en jour plus d'importance: c'est là encore un préjugé. Il faut dire que la plupart de nos grandes églises, debout encore aujourd'hui, font bien voir que, dans l'architecture religieuse, les constructeurs savaient entreprendre et mener à fin des monuments très-vastes; mais pour les bâtiments civils du moyen âge, dénaturés pendant les derniers siècles, condamnés à une destruction systématique depuis la révolution, méprisés par nos édilités françaises, qui se donnent, en petit, le faible de Louis XIV, et veulent que tout dans leur ville rappelle leur passage..., pour nos bâtiments civils d'une date ancienne, disons-nous, ils sont devenus très-rares, et il n'est pas surprenant que les populations en aient perdu jusqu'au souvenir. Cependant il eût été bien étrange que des hommes capables de concevoir et d'exécuter de si vastes édifices religieux se fussent contentés, pour les besoins ordinaires de la vie, de petits bâtiments peu étendus, peu élevés, étroits, sortes de cabanes de chétive apparence. Il est certaines personnes qui voudraient faire croire, par suite d'un esprit de système dont nous n'avons pas à faire ici la critique, parce qu'il est complétement étranger aux idées d'art, que la société du moyen âge était enserrée entre l'église et la forteresse; qu'elle était, par suite, hors d'état de concevoir et de mettre à exécution de ces grands établissements d'utilité publique réclamés par nos moeurs modernes; qu'enfin elle vivait misérable, étouffée sous une oppression double, souvent rivale, mais toujours unie pour arrêter son développement. Au point de vue politique, le fait peut être discuté, ce n'est pas notre affaire; mais, au point de vue de l'art, il n'est pas soutenable. Les artistes qui traçaient les plans de nos cathédrales n'étaient point embarrassés lorsqu'il s'agissait de construire de ces grands établissements civils, tels que des hospices, des colléges, des maisons de ville, des marchés, des fermes amplement pourvues de tous leurs services. Comme architectes, il nous importe peu de savoir si ces hôpitaux, ces colléges, ces fermes dépendaient d'abbayes ou de chapitres, si ces maisons de ville étaient fréquemment fermées par les suzerains, si ces marchés payaient un impôt au seigneur du lieu. Ces établissements existaient, c'est là tout ce que nous tenons à constater; ils étaient bien disposés, bien construits, d'une manière durable et sage, c'est là ce qu'il faut reconnaître 36.
Prenons quelques exemples: examinons les belles dispositions des grand'salles des abbayes d'Ourscamp, de Saint-Jean-des-Vignes de Soissons, du Mont-Saint-Michel-en-Mer, des hôpitaux d'Angers 37, de Chartres, qui datent de la fin du XIIe siècle et du commencement du XIIIe. Où trouverons-nous de meilleures constructions, mieux conçues, plus grandioses, plus saines, sans luxe, et qui donnent une plus haute idée du savoir et du sens pratique des architectes? Les ensembles et les détails de quelques-uns de ces vastes bâtiments étant gravés avec un soin minutieux dans l'ouvrage de M. Verdier sur l'architecture civile, nous ne croyons pas nécessaire de les reproduire ici; nous donnerons à nos lecteurs quelques constructions qui n'ont point encore été étudiées et qui ont une importance au moins égale à celles-ci. Il existait, dans l'abbaye de Sainte-Marie de Breteuil, un vaste bâtiment flanqué de quatre tourelles et crénelé, qui pouvait au besoin se défendre. Son rez-de-chaussée renfermait les cuisines et leurs dépendances. Le premier étage contenait les dortoirs des hôtes du monastère; le deuxième, une grande infirmerie; le troisième, des magasins de provisions, et le quatrième, sous le comble, un grenier pour les grains. Un escalier latéral, passant à travers les contre-forts et couvert en appentis, s'élevait jusqu'au second étage; les tourelles d'angles possédaient en outre des escaliers à vis communiquant d'un étage à l'autre. Ce bâtiment n'était voûté qu'à rez-de-chaussée et sous les combles; il était divisé par un rang de piliers dans la longueur. Des contre-forts latéraux maintenaient la poussée des voûtes.

Voici (123) quel était l'aspect de ce bâtiment à l'extérieur 38. Nous voyons le pignon auquel est adossée la grande cheminée de la cuisine. Un contre-fort triangulaire, un éperon donnent de la force à ce mur pignon au droit du tuyau de la cheminée.

Pour bien saisir cette construction, il faut recourir au plan (123 bis), pris au niveau du rez-de-chaussée. Tout l'espace AA, c'est-à-dire la dernière travée de la salle, est occupé par la cheminée dont le tuyau s'élève en B entre deux arcs. En C sont des ouvertures extérieures communiquant par une trémie à des ventouses D destinées à activer vigoureusement le feu posé sur des grilles relevées, et à établir un courant d'air suffisant pour entraîner la fumée dans le tuyau central.

La fig. 123 ter, faite sur la ligne IK du plan, nous indique en B le tuyau de la cheminée, en C, la trémie ponctuée, et en D, les ventouses. On observera que la circulation du crénelage latéral n'est point interrompue par les tourelles et les pignons, mais, au contraire, que cette circulation subsiste devant les pignons à un niveau inférieur.

La fig. 123 quater indique, en A, la coupe du rez-de-chaussée sur la ligne EF du plan, et, en B, cette coupe sur la ligne GH. Dans la coupe A, on voit en C les arcs qui forment le manteau de la cheminée divisée par la grosse pile; en D, les bouches de ventouses avec la grille relevée. Dans la coupe B, les arcs M qui forment la voussure de la cheminée sont en brique, et le tuyau est marqué ponctué en O. Un tracé ponctué indique également les deux prises d'air P destinées à alimenter les ventouses par la trémie derrière la languette en brique qui forme le contre-coeur de la cheminée.

La coupe (124) faite sur le travers du bâtiment, en regardant le pignon opposé à la cheminée, complète la description de cette belle et simple construction. On voit, en A, l'escalier latéral qui monte jusqu'au second étage, à travers les contre-forts, augmentés de saillie pour le laisser passer. Les fenêtres B du troisième étage servant de magasins sont percées dans le pignon, au niveau du sol intérieur, afin de faciliter le montage des objets emmagasinés par des poulies et des potences extérieures. Il en est de même des portes G percées au niveau du sol du grenier. Les murs latéraux, épais, maintenaient à l'intérieur une température égale; l'aération des étages pouvait se faire facilement, au moyen des fenêtres ouvertes sur les quatre faces du bâtiment isolé de toutes parts. Les contre-forts enserrant les murs évitaient tout chaînage transversal, et cela d'autant mieux que souvent le nu des murs à l'intérieur était posé en surplomb d'un étage à l'autre, ainsi que l'indique la coupe transversale, fig. 124. C'était là un moyen souvent employé pour faire tendre les murs à s'incliner du dehors au dedans, et c'est en effet un excellent principe de construction, lorsque l'on peut donner à la base des murs assez d'épaisseur pour ne pas craindre un bouclement. Il faut remarquer, d'ailleurs, qu'habituellement les planchers intermédiaires (voy. la coupe transversale) ne relient pas les murs-goutterots; car voici comme sont disposées les portées de ces planchers sur les piliers intermédiaires. À chaque étage, les piles sont munies d'un chapiteau A (125), saillant seulement au droit des portées des poutres.

Il fallait donc que les murs-goutterots exerçassent une action de pression sur ces poutres et non de tirage. On peut ne pas adopter cette méthode dans les constructions, mais elle n'est pas sans avoir ses avantages, et, bien avant l'époque dont nous nous occupons, les Grecs de l'antiquité l'avaient suivie en élevant leurs temples. Si, dans les grandes constructions voûtées portées sur des piles isolées, les architectes du moyen âge avaient suivi des lois d'équilibre dont nous avons essayé de faire apprécier l'importance, ils avaient en même temps cherché à obtenir la concentration, la réunion de toutes les forces agissantes au centre de leurs édifices, de façon à ce que toutes les parties eussent une certaine disposition à se contre-butter réciproquement. Dans les constructions civiles, où les voûtes ne jouent qu'un rôle secondaire, où les planchers offrent des surfaces horizontales et rigides à différentes hauteurs, les constructeurs adoptèrent des méthodes de bâtir qui agissent du dehors en dedans contre ces surfaces rigides. Ils arrivaient à ce résultat par des dispositions d'ensemble et par des procédés tenant au détail de la construction. Ils donnaient aux murs, par exemple, des retraites en saillie les unes sur les autres à l'intérieur, comme nous l'avons dit tout à l'heure, et ils bâtissaient ces murs au moyen de grandes pierres à l'extérieur et de pierres basses de banc ou de moellon à l'intérieur.

Supposons la coupe d'un mur AB destiné à porter des planchers (126): le parement extérieur de ce mur sera composé de hautes assises de pierre ne formant pas parpaing, et chaque étage, séparé par un bandeau de pierre, sera en retraite de quelques centimètres l'un sur l'autre. Le parement intérieur, au contraire, sera monté en pierres plus basses et portera une saillie à chaque étage sur celui du dessous. Ainsi ce mur aura une propension à s'incliner du dehors au dedans: 1º parce que son axe B tombera en B' en dedans de l'axe inférieur A, 2º parce que le parement extérieur offrira une surface moins compressible que le parement intérieur. Donc ce mur ainsi construit exercera contre les bouts des poutres C une pression d'autant plus puissante que ces planchers seront plus élevés au-dessus du sol. Donc il sera superflu de chaîner les murs, qui, loin de tendre à s'écarter, auront au contraire une propension à s'incliner vers le centre du bâtiment.
On voit, par cet exemple, que, bien que la construction civile du moyen âge ait son caractère propre, distinct de la construction religieuse, cependant les architectes cherchent, dans l'une comme dans l'autre, à remplacer les masses inertes par des forces agissantes. Dans les constructions civiles, les planchers sont considérés comme des étrésillonnements posés entre des murs qui tendent à se rapprocher. Ainsi ces planchers sont roidis par la pression des murs, et l'ensemble de la bâtisse offre une grande solidité par suite de ces pressions contre un étrésillonnement.
Les constructeurs du moyen âge font preuve, dans les combinaisons des voûtes tenant aux édifices civils, d'une grande indépendance: le berceau, la voûte d'arête romaine, la voûte gothique en arcs d'ogive plein-cintre ou surbaissée, la voûte composée d'arcs espacés supportant des plafonds ou des voûtains, tout leur est bon, suivant l'occasion ou le besoin. Lorsque, dans l'architecture religieuse, ils ne suivaient plus qu'un seul mode de voûte, c'est-à-dire pendant les XIIIe et XIVe siècles, ils avaient cependant le bon esprit de n'appliquer ce système, dans les constructions civiles, qu'autant qu'il offrait des avantages. Souvent des bâtiments très-larges nécessitaient l'érection d'un ou deux rangs de piliers à l'intérieur pour porter les planchers des étages supérieurs, ainsi que nous l'avons vu plus haut; alors le rez-de-chaussée était généralement voûté; mais, comme ces quilles superposées, étrésillonnées seulement par les planchers, n'avaient pas de stabilité, on faisait en sorte de les bien asseoir, au moins sur les piles inférieures portant les voûtes, et, dans la crainte d'écraser les sommiers de ces voûtes sous la charge, on les rendait indépendants des piles.

Ainsi, par exemple (127): soit une pile A de rez-de-chaussée destinée à porter des voûtes, on établissait sur cette pile deux ou trois assises B formant encorbellement sur les quatre faces; on obtenait ainsi un repos C. Aux angles, on posait des sommiers D suivant les diagonales du carré, pour recevoir les claveaux E des arcs ogives de la voûte; au centre, on continuait d'élever librement la pile G recevant les planchers supérieurs, puis on fermait en moellon les remplissages H des voûtes. Les sommiers de ces voûtes, non plus que ses remplissages, ne recevaient aucune charge, et le massif garnissant les reins ne faisait qu'étrésillonner les piles. Craignant l'action des poussées au rez-de-chaussée sur des murs qui n'étaient pas toujours munis de contre-forts, les constructeurs établissaient souvent de très-puissants encorbellements le long de ces murs, pour diminuer d'autant les poussées et reporter leur résultante en plein mur ou même sur le parement intérieur de ces murs. Sur ces encorbellements, ils pouvaient alors se permettre de poser des arcs surbaissés, afin de prendre moins de hauteur.

Renonçant aux voûtes d'arêtes ou en arcs d'ogive sur les grands arcs A perpendiculaires aux murs (128), ils montaient des tympans verticaux B jusqu'au niveau de l'extrados de la clef de ces arcs A; puis ils bandaient, sur ces tympans, des berceaux C surbaissés eux-mêmes. Par ce moyen, ils arrivaient à voûter de grands espaces sans prendre beaucoup de hauteur et sans faire descendre les naissances des arcs assez bas pour gêner le passage. En multipliant et rapprochant ces arcs, ils pouvaient remplacer les voûtains C par des dalles formant plafond, posées sur des pannes en pierre (si les matériaux s'y prêtaient), ainsi que le fait voir la fig. 129.

Ces pannes étaient munies de feuillures, de façon à présenter leur surface supérieure au niveau de l'aire du dallage, comme l'indique la ligne ponctuée EF. Ces méthodes de bâtir se conservèrent très-tard sans modifications sensibles, car nous voyons encore des constructions du XVe siècle qui reproduisent ces dispositions sévères, grandioses et simples. Le plus bel exemple que nous connaissions de ces constructions civiles dans lesquelles les encorbellements jouent un rôle très-important est le château de Hoh-Koenigsbourg près Schelestadt 39. On pourrait prendre les salles principales de ce château pour des constructions du XIIIe siècle, tandis qu'elles ne furent bâties qu'au XVe siècle. Mais l'Alsace avait conservé, surtout dans l'architecture civile, les anciennes traditions de la bonne époque gothique. Le bâtiment principal du château de Hoh-Koenigsbourg, adossé au rocher (130), ne se compose que de contre-forts intérieurs avec mur extérieur fort mince du côté des cours. Il contient quatre étages; le rez-de-chaussée, qui servait de cuisines, est voûté en berceau surbaissé reposant sur des arcs très-plats en moellon, bandés d'une pile à l'autre. Le premier étage est plafonné au moyen de grandes plates-bandes appareillées soulagées par de puissants corbeaux; entre les plates-bandes, les parallélogrammes restant vides sont bandés en moellon. Le second étage est couvert par un plancher en bois dont les poutres maîtresses portent sur des corbeaux engagés dans les piles. Le troisième étage est voûté en berceau plein-cintre reposant sur des plates-bandes et sur de larges encorbellements disposés comme ceux du premier. Cette voûte supérieure portait une plate-forme ou terrasse couverte en dalles.

La coupe perspective (fig. 130) donne l'ensemble de cette singulière construction. Il faut dire que les matériaux du pays (grès rouge) se prêtent à ces hardiesses; on ne pourrait, avec nos matériaux calcaires des bassins de la Seine, de l'Oise ou de l'Aisne, se permettre l'emploi de linteaux aussi minces et d'une aussi grande portée 40. Mais dans l'architecture civile et militaire, plus encore que dans l'architecture religieuse, la nature des matériaux eut une influence très-marquée dans l'emploi des moyens de construction: cet exemple en est une preuve. Les plates-bandes longitudinales entre les contre-forts et celles transversales d'un contre-fort à l'autre sont appareillées en coupes.

Si nous faisons une section longitudinale sur ce bâtiment, chaque travée nous donne la fig. 131 41. On ne peut se faire une idée de la grandeur magistrale de ces bâtiments si on ne les a vus. Ici, rien n'est accordé au luxe; c'est de la construction pure, et l'architecture n'a d'autre forme que celle donnée par l'emploi judicieux des matériaux; les points d'appui principaux et les linteaux sont seuls en pierre de taille; le reste de la bâtisse est en moellon enduit. Nous avouons que cette façon de comprendre l'architecture civile a pour nous un attrait particulier. Il faut dire que le château de Hoh-Koenigsbourg est bâti sur le sommet d'une haute montagne, huit mois de l'année au milieu des neiges et des brouillards, et que, dans une pareille situation, il eût été fort ridicule de chercher des formes architectoniques qui n'eussent pu être appréciées que par les aigles et les vautours; que l'aspect sauvage de ces constructions est en parfaite harmonie avec l'âpreté du lieu.
À ce propos, nous nous permettrons une observation qui ne manque pas d'importance. Nous croyons être les premiers appréciateurs de ce qu'on appelle le pittoresque, parce que, depuis le XVIIe siècle, on ne trouvait plus de beautés que dans les parcs plantés à la française, dans les bâtiments alignés et symétriques, dans les terrasses revêtues de pierres et les cascades doublées de plomb. Sans nier la valeur de cette nature arrangée par l'art, il faut reconnaître cependant que la nature livrée à elle-même est plus variée, plus libre, plus grandiose et partant plus réellement belle. Un seigneur de la cour de Louis XIV ou de Louis XV préférait de beaucoup les parcs de Versailles ou de Sceaux aux aspects sauvages des gorges des Alpes ou des Pyrénées; le duc de Saint-Simon, qui n'avait aucun emploi à la cour, aimait mieux demeurer dans un appartement étroit et sombre à Versailles que de vivre dans sa charmante résidence de la Ferté. Or nos seigneurs du moyen âge étaient au contraire sensibles à ces beautés naturelles, ils les aimaient parce qu'ils vivaient au milieu d'elles. Sans parler de l'appréciation très-vive de la nature que l'on trouve dans les nombreux romans du moyen âge, nous voyons que les châteaux, les manoirs, les abbayes sont toujours situés de manière à faire jouir leurs habitants de l'aspect des sites qui les entourent. Leur construction s'harmonise avec les localités; sauvage et grandiose dans les lieux abrupts, élégante et fine au pied de riants coteaux, sur les bords des rivières tranquilles, au milieu de plaines verdoyantes. Dans les habitations, les vues sur les points les plus pittoresques sont toujours ménagées avec art et de façon à présenter des aspects imprévus et variés. Il faut donc, lorsqu'on étudie les constructions civiles du moyen âge, avoir égard au lieu, à la nature du climat, au site, car tout cela exerçait une influence sur le constructeur. Tel bâtiment qui est convenablement disposé et construit en plaine, dans une contrée douce et tranquille d'aspect, serait ridicule au sommet d'un rocher sauvage, entouré de précipices. Tel autre, par son caractère sévère, brutal même, semble tenir au sol désolé sur lequel il s'élève, mais paraîtrait difforme et grossier entouré de prairies et de vergers. Ces hommes barbares, au dire de plusieurs, étaient donc sensibles aux beautés naturelles, et leurs habitations reflétaient, pour ainsi dire, ces divers genres de beauté, se mettaient en harmonie avec elles. Nous qui sommes civilisés et qui prétendons avoir inventé le pittoresque, nous élevons des pavillons élégants sur quelque site agreste qui semble destiné à porter une forteresse, et nous bâtissons des constructions massives au bord d'un ruisseau courant à travers des prés. Ceci nous ferait croire que ces barbares du moyen âge aimaient et comprenaient la nature, sans en faire autrement de bruit, et que nous, qui la vantons à tout propos, en prose et en vers, nous la regardons d'un oeil distrait, sans nous laisser pénétrer par ses beautés. Les siècles sont comme les individus, ils veulent toujours qu'on les croie doués des qualités qui leur manquent et se soucient médiocrement de celles qu'ils possèdent. Tout le monde se battait pour la religion au XVIe siècle, et les neuf dixièmes des combattants, d'une part comme de l'autre, ne croyaient même pas en Dieu. On se piquait de chevalerie et de belles manières au XVIIe siècle, et les esprits se tournaient très-fort, à cette époque déjà, vers les idées positives et la satisfaction des besoins matériels. On ne parlait, au XVIIIe siècle, que de vertu, de nature, de douce philosophie, quand la vertu n'était guère de mise, qu'on observait la nature à travers les vitres de son cabinet, et qu'en fait de douce philosophie on ne pratiquait que celle appuyée sur un bien-être assuré pour soi et ses amis.
Revenons à nos bâtisses... Le système de constructions en encorbellement était fort en vogue, dès le XIIe siècle, dans les bâtiments civils; c'est qu'en effet il est économique et présente quantité de ressources, soit pour soutenir des planchers, pour éviter de fortes épaisseurs de murs et des fondations considérables, recevoir des charpentes, porter des saillies, obtenir des surfaces plus étendues dans les étages supérieurs des bâtiments qu'à rez-de-chaussée, trouver des dégagements, des escaliers de communication d'un étage à un autre, offrir des abris, etc. C'était encore une application de ce principe des architectes du moyen âge, consistant à employer des forces agissantes au lieu de forces passives; car un encorbellement est une bascule qui demande un contre-poids pour conserver la fonction qu'on prétend lui donner. Les encorbellements ont l'avantage de ne pas produire des poussées, toujours difficiles à maintenir dans des constructions composées, comme toute habitation, de murs peu épais se coupant irrégulièrement, suivant la destination des pièces. Ils prennent moins de hauteur que les arcs, ou peuvent neutraliser leur poussée en avançant les sommiers en dehors des parements des murs, ce qu'il est facile de démontrer.

Soit AB (132) l'ouverture d'une salle dont le plancher sera supporté par des arcs, ainsi que le font voir les fig. 128 et 129; AC, BD, l'épaisseur des murs; CE, la hauteur entre planchers. Si nous bandons des arcs GF venant pénétrer dans les murs, en admettant même que nous ayons une forte charge en K, il y a lieu de croire que nous exercerons une telle poussée de G en H que le mur bouclera en dehors, car la résistance de frottement du lit GH ne sera pas suffisante pour empêcher un glissement; s'il n'y a pas de glissement, la longueur GH n'est pas telle que le lit ne puisse s'ouvrir en dehors et s'épauffrer en dedans, ainsi qu'il est figuré en I, effet qui produira le bouclement du mur et, par suite, la chute des arcs. Mais si nous avons un sommier très-saillant L et deux assises en encorbellement MN, en supposant une charge raisonnable K', nous pourrons résister au glissement par un lit LO beaucoup plus étendu et par un frottement plus considérable; la courbe des pressions exercée par l'arc venant pénétrer le lit LO en P trouvera là une résistance qui se résoudra en une ligne PR, plus ou moins inclinée en raison inverse du plus ou moins de poids de la charge K' supérieure. Si cette charge est très-puissante, du point R la résultante des poussées pourra devenir verticale et tomber en dedans du parement intérieur du mur, ou peu s'en faudra; c'est tout ce que l'on doit demander. Le constructeur a le soin, dans ce cas, de placer au moins une assise ayant son parement intérieur vertical à l'aplomb de la rencontre de l'arc avec le sommier en encorbellement, car il augmente ainsi la résistance à la poussée par le frottement de deux lits de pierres, tandis que s'il ne mettait qu'une seule assise en encorbellement sous le sommier, comme nous l'avons tracé en S, il n'aurait à opposer à la poussée que la résistance du lit TV, et le bouclement du mur pourrait se produire en Y comme il se produit en H'.

Lorsque les constructeurs ne peuvent donner à leur encorbellement, par une cause quelconque, la hauteur de trois ou quatre assises, alors ils se procurent des pierres très-résistantes et (133) ils les posent assez en saillie, comme l'indique la coupe A, pour que la courbe des pressions de l'arc tombe en B en dedans du parement intérieur du mur; alors la pierre A tend à basculer, ils la soulagent par une faible saillie C; son mouvement de bascule décrirait une portion de cercle dont D est le centre. Pour résister à ce mouvement de bascule, il y a la charge E, plus le remplissage F en maçonnerie. Ne pouvant basculer, l'encorbellement A ne tend plus qu'à glisser de B en G. Or il s'agit de rendre le frottement assez puissant sur ce lit DG au moyen de la charge verticale E pour empêcher ce glissement. Les encorbellements possèdent donc deux propriétés: le soulagement des portées au moyen des bascules arrêtées par les charges en queue, et l'action de résistance aux poussées obliques par l'augmentation des surfaces de frottement.
On reconnaît donc que, dans tous les cas, les constructeurs du moyen âge emploient les résistances actives, c'est-à-dire le système d'équilibre, au lieu du principe des résistances passives de la construction romaine. Comme toujours, d'ailleurs, ces constructeurs poussent les conséquences d'un principe admis jusqu'à ses dernières limites; ils ne semblent pas connaître ces impossibilités que notre art moderne oppose, sous forme de veto académique, aux tentatives hardies. La construction, pour eux, n'est pas cette science qui consiste à dire: «Voici les règles, voici les exemples, suivez-les, mais ne les franchissez pas.» Au contraire, la science, pour eux, dit: «Voici les principes généraux, ils sont larges, ils n'indiquent autre chose que des moyens. Dans l'application, étendez-les autant que la matière et votre expérience vous le permettent; nous ne vous demandons que de rester fidèles à ces principes généraux: d'ailleurs, tout est possible à celui qui les sait appliquer.» Est-ce là un art stationnaire, hiératique, étranger à l'esprit moderne, comme on a prétendu si longtemps nous le faire croire? Est-ce rétrograder que de l'étudier, de s'en pénétrer? Est-ce la faute de cet art si beaucoup n'en traduisent que l'apparence extérieure, en compromettent le développement par des pastiches maladroits? Imputons-nous à l'antiquité les mauvaises copies de ses arts? Pourquoi donc faire retomber sur les arts du moyen âge en France les fausses applications qu'on a pu en faire, soit en Italie avant la renaissance, soit chez nous de notre temps? Depuis le moment où il a été admis qu'il n'y avait d'architecture qu'en Italie, que les architectes ont été, comme des moutons marchant sur les pas les uns des autres, étudier leur art dans cette contrée, l'enseignement académique n'a voulu voir le moyen âge que là. Or les édifices du moyen âge en Italie sont, au point de vue de la structure, des bâtisses médiocrement entendues. Presque toujours ce ne sont que des constructions dérivées de l'antiquité romaine, revêtues d'une assez méchante enveloppe empruntée aux arts du Nord ou de l'Orient. À coup sûr, ce n'est pas là ce qu'il faut aller étudier au delà des monts. Comme construction, on n'y trouve ni principes arrêtés, ni suite, mais un amas désordonné de traditions confuses, des influences qui se combattent, un amour barbare pour le luxe à côté d'une impuissance évidente 42. Qu'est-ce que les basiliques de Rome, par exemple, reconstruites la plupart au XIIIe siècle, si on les compare aux édifices élevés chez nous à cette époque? De mauvais murs de brique, mal maçonnés sur des tronçons et des chapiteaux arrachés à des monuments antiques. Dans ces bâtisses barbares, où est l'art, où est l'étude? Si nous les considérons avec respect et curiosité, n'est-ce pas parce qu'elles nous présentent les dépouilles d'édifices magnifiques? Si nous nous émerveillons devant de riches joyaux pillés dans un palais, est-ce le pillard qui excite notre admiration? Soyons donc sincères, et mettons les choses à leur vraie place. Si les Romains du moyen âge trouvaient un sol couvert de débris antiques; si, au XIIIe siècle encore, les thermes d'Antonin Caracalla étaient debout et presque intacts, ainsi que le Colisée, le Palatin, et tant d'autres édifices, irons-nous admirer les oeuvres d'hommes plus barbares que les Vandales et les Huns, qui ont détruit froidement ces monuments pour élever de mauvaises bâtisses, dans lesquelles ces débris même sont maladroitement employés, grossièrement mis en oeuvre? Nous ne voyons apparaître là que la vanité d'un peuple impuissant; l'intelligence, les idées, l'art enfin font complétement défaut. Quel autre spectacle chez nous! C'est alors que les architectes laïques en France poursuivent avec persistance leur labeur; sans songer à leur gloire personnelle, ils ne cherchent qu'à développer les principes qu'ils ont su découvrir; ils croyaient que l'avenir était pour eux, et ce n'était pas une illusion, car, les premiers, ils commencent, dans l'ère moderne, la grande lutte de l'homme intellectuel contre la matière brute. Les constructeurs de l'antiquité sont les alliés et souvent les esclaves de la matière, ils subissent ses lois; les constructeurs laïques du moyen âge se déclarent ses antagonistes, ils prétendent que l'esprit doit en avoir raison, qu'il doit l'assujettir, et qu'elle obéira. Est-ce bien à nous, qui perçons les montagnes pour voyager plus à l'aise et plus vite, qui ne tenons plus compte des distances et défions les phénomènes naturels, de méconnaître ceux qui, par leur esprit investigateur et subtil, leur foi désintéressée en des principes basés sur la raison et le calcul (désintéressée, certes, car à peine quelques-uns nous ont laissé leur nom), nous ont devancés de quelques siècles, et n'ont eu que le tort d'arriver trop tôt, d'être trop modestes, et d'avoir cru qu'on les comprendrait. On dit que l'histoire est juste: c'est à souhaiter; mais sa justice se fait parfois attendre longtemps. Nous accordons que, du XIIe au XVe siècle, la société politique est désordonnée, le clergé envahissant, les seigneurs féodaux des tyrans, les rois des ambitieux tantôt souples, tantôt perfides; les juifs des usuriers, et les paysans de misérables brutes; que cette société est mue par de ridicules superstitions, et se soucie peu de la morale; mais nous voyons à travers ce chaos naître sans bruit une classe d'hommes qui ne sont ni religieux, ni nobles, ni paysans, s'emparant de l'art le plus abstrait, celui qui se prête aux calculs, aux développements logiques; de l'art auquel chacun doit recourir, car il faut se loger, se garder, se défendre, faire des temples, des maisons et des forteresses. Nous voyons cette classe attirer autour d'elle tous les artisans, les soumettre à sa discipline. En moins d'un demi-siècle, cette association de travailleurs infatigables a découvert des principes entièrement nouveaux, et qui peuvent s'étendre à l'infini; elle a fait pénétrer dans tous les arts l'analyse, le raisonnement, la recherche, à la place de la routine et des traditions décrépites; elle fonde des écoles; elle marche sans s'arrêter un jour, isolée, mais ordonnée, tenace, subtile, au milieu de l'anarchie et de l'indécision générale. Elle franchit les premiers échelons de l'industrie moderne dont nous sommes fiers avec raison; et parce que cette association passe son temps au travail au lieu de tracer des mémoires à sa louange; parce que ses membres, plus soucieux de faire triompher leurs principes que d'obtenir une gloire personnelle, inscrivent à peine leurs noms sur quelques pierres; qu'à force de recherches ils arrivent à l'abus même de ces principes; parce qu'enfin cette association est écrasée sous les trois derniers siècles dont la vanité égale au moins l'éclat, nous serions assez ingrats aujourd'hui pour ne pas reconnaître ce que nous lui devons, assez fous pour ne pas profiter de son labeur? Et pourquoi cette ingratitude et cette folie? Parce que quelques esprits paresseux ont leur siége fait et prétendent conserver les principes d'un art mort, qu'ils se gardent de mettre en pratique, qu'ils n'énoncent même pas clairement? Qui sont les esprits rétrogrades? Sont-ce ceux qui nous condamneraient à reproduire éternellement les tentatives incomplètes ou mal comprises faites par les trois derniers siècles pour régénérer l'architecture des Romains, ou ceux qui cherchent à remettre en honneur les ressources d'un art raisonné et audacieux à la fois, se prêtant à toutes les combinaisons et à tous les développements que nécessitent les besoins variables de la civilisation moderne? La balance de l'histoire des arts serait juste si on voulait la tenir d'une main impartiale, si on ne mettait pas toujours dans ses plateaux des noms au lieu d'y placer des faits, des individualités au lieu de monuments. Qu'avons-nous, en effet, à opposer à des noms comme ceux de Dioti Salvi, d'Arnolpho di Lapo, de Brunelleschi, de Michelozzo, de Baltazar Peruzzi, de Bramante, de San Micheli, de Sansovino, de Pirro Ligorio, de Vignola, d'Ammanati, de Palladio, de Serlio, de Jean Bullant, de Pierre Lescot, de Philibert Delorme, de Ducerceau, deux ou trois noms à peine connus. Mais si nos monuments français du moyen âge pouvaient parler; s'ils pouvaient nous donner les noms modestes de leurs auteurs; si surtout, en face des oeuvres des hommes que nous venons de citer, ils pouvaient nous montrer tous les mystères de leur construction, certainement alors l'histoire leur rendrait justice, et nous cesserions d'être les dupes, à notre détriment, d'une mystification qui dure depuis plus de trois siècles.
L'Europe occidentale peut s'enorgueillir à bon droit d'avoir provoqué le grand mouvement intellectuel de la renaissance, et nous ne sommes pas de ceux qui regrettent ce retour vers les arts et les connaissances de l'antiquité païenne. Notre siècle vient après celui de Montesquieu et de Voltaire; nous ne renions pas ces grands esprits, nous profitons de leurs clartés, de leur amour pour la vérité, la raison et la justice; ils ont ouvert la voie à la critique, ils ont étendu le domaine de l'intelligence. Mais que nous enseignent-ils? Serait-ce, par hasard, de nous astreindre à reproduire éternellement leurs idées, de nous conformer sans examen à leur goût personnel, de partager leurs erreurs et leurs préjugés, car ils n'en sont pas plus exempts que d'autres? Ce serait bien mal les comprendre. Que nous disent-ils à chaque page? «Éclairez-vous; ne vous arrêtez pas; laissez de côté les opinions toutes faites, ce sont presque toujours des préjugés; l'esprit a été donné à l'homme pour examiner, comparer, rassembler, choisir, mais non pour conclure, car la conclusion est une fin, et bien fou est celui qui prétend dire: «J'ai clos le livre humain!» Est-ce donc le goût particulier à tel philosophe qu'il faut prendre pour modèle, ou sa façon de raisonner, sa méthode? Voltaire n'aime pas le gothique, parce que l'art gothique appartient au moyen âge dont il sape les derniers étais: cela prouve seulement qu'il ne sait rien de cet art et qu'il obéit à un préjugé; c'est un malheur pour lui, ce n'est pas une règle de conduite pour les artistes. Essayons de raisonner comme lui, apportons dans l'étude de notre art son esprit d'analyse et de critique, son bon sens, sa passion ardente pour ce qu'il croit juste, si nous pouvons, et nous arrivons à trouver que l'architecture du moyen âge s'appuie sur des principes nouveaux et féconds, différents de ceux des Romains; que ces principes peuvent nous être plus utiles aujourd'hui que ne le sont les traditions romaines. Les esprits rares qui ont acquis en leur temps une grande influence sont comme ces flambeaux qui n'éclairent que le lieu où on les place; ils ne peuvent faire apprécier nettement que ce qui les entoure. Est-ce à dire qu'il n'y ait au monde que les objets sur lesquels ils ont jeté leurs clartés? Placez-les dans un autre milieu, ils jetteront sur d'autres objets la même lumière. Mais nous sommes ainsi faits en France: nous regardons les objets éclairés sans nous soucier du flambeau, sans le transporter jamais ailleurs pour nous aider de sa lumière afin de tout examiner. Nous préférons nous en tenir aux jugements prononcés par des intelligences d'élite plutôt que de nous servir de leur façon d'examiner les faits, pour juger nous-mêmes. Cela est plus commode, en vérité. Nous admirons leur hardiesse, l'étendue de leurs vues, mais nous n'oserions être hardis comme eux, chercher à voir plus loin qu'eux ou autre chose que ce qu'ils ont voulu ou pu voir.
Mais nous voici bien loin de nos maîtres des oeuvres du moyen âge. Retournons à eux, d'autant qu'ils ne se doutaient guère, probablement, qu'il fallût un jour noircir tant de papier, dans leur propre pays, pour essayer de faire apprécier leurs efforts et leurs progrès. En avance sur leur siècle, par l'étendue de leurs connaissances, et plus encore par leur indépendance comme artistes; dédaignés par les siècles plus éclairés, qui n'ont pas voulu se donner la peine de les comprendre, en vérité leur destinée est fâcheuse. Le jour de la justice ne viendra-t-il jamais pour eux?
Les besoins de la construction civile sont beaucoup plus variés que ceux de la construction religieuse; aussi l'architecture civile fournit-elle aux architectes du moyen âge l'occasion de manifester les ressources nombreuses que l'on peut trouver dans les principes auxquels ils s'étaient soumis. Il est nécessaire de bien définir ces principes, car ils ont une grande importance. L'architecture des Romains (non celle des Grecs, entendons-nous bien 43) est une structure revêtue d'une décoration qui devient ainsi, par le fait, l'architecture, l'architecture visible. Si l'on relève un monument romain, il faut faire deux opérations: la première consiste à se rendre compte des moyens employés pour élever la carcasse, la construction, l'édifice véritable; la seconde, à savoir comment cette construction a pris une forme visible plus ou moins belle, ou plus ou moins bien adaptée à ce corps. Nous avons rendu compte ailleurs de cette méthode 44. Ce système possède ses avantages, mais il n'est souvent qu'un habile mensonge. On peut étudier la construction romaine indépendamment de l'architecture romaine, et ce qui le prouve, c'est que les artistes de la renaissance ont étudié cette forme extérieure sans se rendre compte du corps qu'elle recouvrait. L'architecture et la construction du moyen âge ne peuvent se séparer, car cette architecture n'est autre chose qu'une forme commandée par cette construction même. Il n'est pas un membre, si infime qu'il soit, de l'architecture gothique, à l'époque où elle passe aux mains des laïques, qui ne soit imposé par une nécessité de la construction; et si la structure gothique est très-variée, c'est que les besoins auxquels il lui faut se soumettre sont nombreux et variés eux-mêmes. Nous n'espérons pas faire passer sous les yeux de nos lecteurs toutes les applications du système de la construction civile chez les gens du moyen âge; nous ne pouvons prétendre non plus tracer à grands traits les voies principales suivies par ce système; car l'un des caractères les plus frappants de l'art comme des moeurs du moyen âge, c'est d'être individuel. Si l'on veut généraliser, on tombe dans les plus étranges erreurs, en ce sens que les exceptions l'emportent sur la règle; si l'on veut rendre compte de quelques-unes de ces exceptions, on ne sait trop quelles choisir, et on rétrécit le tableau. On peut, nous le croyons, faire ressortir les principes, qui sont simples, rigoureux, et chercher parmi les applications celles qui expriment le mieux et le plus clairement ces principes.
Les quelques exemples que nous avons donnés mettent en lumière, nous en avons l'espoir, les conséquences du principe admis par les architectes laïques du moyen âge: apparence des moyens employés dans la structure des édifices, et apparence produisant réellement l'architecture, c'est-à-dire la forme visible; solution des problèmes donnés, par les lois naturelles de la statique, de l'équilibre des forces, et par l'emploi des matériaux en raison de leurs propriétés; acceptation de tous les programmes, quelle que soit leur variété, et assujettissement de la construction à ces programmes, par suite de l'architecture elle-même, puisque cette architecture n'est que l'apparence franchement admise de cette construction. Avec ces principes médités, avec quelques exemples choisis parmi les applications de ces principes, il n'est pas un architecte qui ne puisse construire comme les maîtres du moyen âge, procéder comme eux et varier les formes en raison des besoins nouveaux qui naissent perpétuellement au milieu d'une société comme la nôtre, puisque chaque besoin nouveau doit provoquer une nouvelle application du principe. Si l'on nous accuse de vouloir faire rétrograder notre art, il est bon que l'on sache du moins comment nous entendons le ramener en arrière; la conclusion de tout ce que nous venons de dire étant: «Soyez vrais.» Si la vérité est un signe de barbarie, d'ignorance, nous serons heureux d'être relégués parmi les barbares et les ignorants, et fiers d'avoir entraîné quelques-uns de nos confrères avec nous.
Les encorbellements jouent un rôle important dans les constructions civiles, nous en avons donné plus haut la raison; il nous reste à suivre les applications variées de cette méthode. Il existe dans la partie de la Champagne qui touche à la Bourgogne, et vice versâ, des maisons, très-simples d'ailleurs, construites pendant les XIIIe et XIVe siècles, qui portent pignon sur rue, et se composent, à l'extérieur, d'une sorte de porche avec balcon au-dessus, abrité par un comble très-saillant. Tout le système ne se compose que d'encorbellements adroitement combinés.

Ainsi (134), les murs goutterots portent un premier encorbellement en retour d'équerre, destiné à soutenir un poitrail recevant les bouts des solives du plancher du premier étage portant aussi sur le mur en retraite. Ce poitrail est surmonté d'un garde-corps. Un second encorbellement A donne aux murs goutterots une saillie qui protège le balcon et reçoit une ferme de pignon disposée de façon à porter le plancher du grenier et à permettre l'introduction des provisions dans ce grenier. La clôture en retraite à l'aplomb du mur de rez-de-chaussée n'est qu'un pan de bois hourdé.

Observons que le second encorbellement A (134 bis) laisse, au-dessus de sa dernière assise H, une portion de mur vertical HI, afin de charger les queues de pierres en encorbellement par une masse de maçonnerie. En arrière est le pan de bois G, qui clôt le premier étage. Pour éviter à la masse en encorbellement toute chance de bascule, les doubles sablières N qui portent le comble et qui couronnent les murs goutterots sur toute leur longueur, sont armées à leur extrémité de fortes clefs O qui maintiennent la tête des encorbellements. Cette disposition si simple se retrouve dans beaucoup de maisons de paysans (voy. MAISON).
Mais voyons maintenant comment, dans des bâtisses plus riches, plus compliquées, plus importantes, les constructeurs arrivent à se servir des encorbellements avec adresse, en se soumettant à des dispositions commandées par un besoin particulier. Il s'agit de percer une porte dans l'angle rentrant formé par deux bâtiments qui se coupent à angle droit, disposition assez commode, d'ailleurs, et qui était souvent commandée par les habitants d'un manoir ou d'une maison; de faire que cette porte donne entrée dans les salles du rez-de-chaussée à droite et à gauche, puis au premier étage; de supprimer le pan coupé dans lequel s'ouvre la porte, de retrouver l'angle droit formé par la rencontre des murs de face, dont l'un des deux, au moins, fera mur de refend en se prolongeant, et d'établir alors, au-dessus de cette porte et dans l'angle rentrant, un escalier de service communiquant du premier étage aux étages supérieurs. À force de ferrailles recouvertes de plâtre, on arriverait facilement aujourd'hui à satisfaire à ce programme. Mais s'il ne faut point mentir à la construction, la chose devient moins aisée.

Soit donc (135) le plan A du rez-de-chaussée de cette construction et le plan B du premier étage. On voit, en C, la porte qui s'ouvre dans le pan coupé; en D, les piles intérieures; en E, la projection horizontale des encorbellements intérieurs supportant l'angle rentrant, et en F, la projection horizontale des encorbellements portant l'angle saillant; GG sont les arcs contre-buttant l'angle rentrant et portant les murs de refend du premier étage.

Nous présentons (136) la vue extérieure de la porte avec les encorbellements qui lui servent d'auvent et qui portent l'angle saillant de l'escalier de service tracé sur le plan B du premier étage. Au besoin même, ces encorbellements peuvent masquer un mâchicoulis destiné à défendre la porte.

La fig. 137 donne la vue intérieure de la porte avec les encorbellements portant l'angle rentrant; en G sont les deux arcs contre-buttant ces encorbellements et supportant les murs de refend supérieurs. Le noyau de l'escalier s'élève sur le milieu H du pan coupé, et les encorbellements intérieurs et extérieurs sont maintenus en équilibre par les pesanteurs opposées des deux angles saillants de la cage de cet escalier. On a, depuis, voulu obtenir des résultats analogues au moyen de trompes; mais les trompes chargent les maçonneries inférieures beaucoup plus que ce système d'encorbellements, exigent des matériaux plus nombreux et plus grands, des coupes de pierres difficiles à tracer et plus difficiles encore à tailler. Ce n'est donc point là un progrès, à moins que l'on ne considère comme un progrès le plaisir donné à un appareilleur de montrer son savoir au détriment de la bourse de celui qui fait bâtir.
Si, pendant les XIVe et XVe siècles, les constructions religieuses ne modifièrent que peu les méthodes appliquées à l'art de bâtir par les architectes du XIIIe siècle, il n'en est pas de même dans les constructions civiles. Celles-ci prennent une allure plus franche; les procédés employés sont plus étendus, les méthodes plus variées; les architectes font preuve de cette indépendance qui leur manque dans les monuments religieux. C'est que déjà, en effet, la vie se retirait de l'architecture religieuse et portait toute son énergie vers les constructions civiles. Sous les règnes de Charles V et de Charles VI, le développement de l'architecture appliquée aux édifices publics, aux châteaux et aux maisons, est très-rapide. Aucune difficulté n'arrête le constructeur, et il arrive, en étendant les principes admis par ses devanciers, à exécuter les constructions les plus hardies et les mieux entendues sous le double point de vue de la solidité et de l'art. À cette époque, quelques seigneurs surent donner une impulsion extraordinaire aux constructions; ils les aimaient, comme il faut les aimer, en laissant à l'artiste toute liberté quant aux moyens d'exécution et au caractère qui convenait à chaque bâtiment 45. Les ducs de Bourgogne et Louis d'Orléans, frère de Charles VI firent élever des résidences, moitié forteresses, moitié palais de plaisance, qui indiquent chez les artistes auxquels furent confiés ces travaux une expérience, un savoir rares, en même temps qu'un goût parfait; chez les seigneurs qui commandèrent ces ouvrages, une libéralité sage et bien entendue qui n'est guère, depuis lors, la qualité propre aux personnages assez riches et puissants pour entreprendre de grandes constructions. Si Louis d'Orléans fut un grand dissipateur des deniers publics et s'il abusa de l'état de démence dans lequel le roi son frère était tombé, il faut reconnaître que, comme grand seigneur pourvu d'immenses richesses, il fit bâtir en homme de goût. Ce fut lui qui reconstruisit presque entièrement le château de Coucy, qui éleva les résidences de Pierrefonds, de la Ferté-Milon, et augmenta celles de Crépy et de Béthisy. Toutes les constructions entreprises sous les ordres de ce prince sont d'une exécution et d'une beauté rares. On y trouve, ce qu'il est si difficile de réunir dans un même édifice, la parfaite solidité, la force, la puissance avec l'élégance, et cette richesse de bon aloi qui n'abandonne rien aux caprices. À ce point de vue, les bâtiments de Coucy, élevés vers 1400, ont toute la majesté grave des constructions romaines, toute la grâce des plus délicates conceptions de la renaissance. Laissant de côté le style de l'époque, on est obligé de reconnaître, chez les architectes de ce temps, une supériorité très-marquée sur ceux du XVIe siècle, comme constructeurs; leurs conceptions sont plus larges et leurs moyens d'exécution plus sûrs et plus savants; ils savent mieux subordonner les détails à l'ensemble et bâtissent plus solidement. La grand'salle du château de Coucy, dite salle des Preux, était une oeuvre parfaite (voy. SALLE); nous n'en montrerons ici que certaines parties tenant plus particulièrement à l'objet de cet article. Cette salle s'élevait au premier étage sur un rez-de-chaussée dont les voûtes reposaient sur une épine de colonnes et sur les murs latéraux. Elle n'a pas moins de 16m,00 de largeur sur une longueur de 60m,00; c'est dire qu'elle pouvait contenir facilement deux mille personnes. D'un côté, elle prenait ses jours sur la campagne, à travers les épaisses courtines du château; de l'autre, sur la cour intérieure (voy. CHÂTEAU, fig. 16 et 17). Deux énormes cheminées doubles la chauffaient, et les baies latérales étaient au nombre de six, trois sur le dehors et trois sur la cour, sans compter un immense vitrage percé au midi sous le lambris de la voûte en bois. Les baies latérales étaient surmontées de lucarnes pénétrant dans le comble.


Voici (138) la coupe de cette salle prise sur une des fenêtres latérales avec la lucarne ouverte au-dessus, et (139) la vue perspective intérieure de cette fenêtre, qui n'a pas moins de 4m,00 d'ébrasement. La plate-bande qui la couvre est appareillée de dix claveaux, posés avec grand soin, lesquels, serrés par les courtines qui ont près de 4m,00 d'épaisseur, se sont maintenus horizontaux sans le secours d'aucune armature de fer. Dans la vue perspective, nous avons supposé le comble enlevé en A, afin de faire voir la construction de la lucarne du côté de l'intérieur. Ces lucarnes (voy. la coupe) donnaient sur le large chemin de ronde crénelé extérieur, de sorte qu'au besoin les gens postés sur ce chemin de ronde pouvaient parler aux personnes placées dans la salle. Les défenseurs étaient à couvert sous un petit comble posé sur le crénelage et sur des piles isolées A. La lumière du jour pénétrait donc sans obstacle dans la salle par les lucarnes, et cette construction est à une si grande échelle que, de la salle en B, on ne pouvait voir le sommet du comble du chemin de ronde, ainsi que le démontre la ligne ponctuée BC 46. De la charpente, il ne reste plus trace, et on ne trouve sur place, aujourd'hui, de cette belle construction, que les fenêtres et la partie inférieure des lucarnes; ce qui suffit, du reste, pour donner une idée de la grandeur des dispositions adoptées. Dans la salle des Preuses, dépendant du même château, nous voyons encore des fenêtres dont les ébrasements sont voûtés, ainsi que l'indique la fig. 140, afin de porter une charge considérable de maçonnerie. Les sommiers des arcs doubles en décharge s'avancent jusqu'à la rencontre de l'ébrasement avec les pieds-droits A (voy. le plan) de la fenêtre, afin d'éviter des coupes biaises dans les claveaux dont les intrados sont ainsi parallèles entre eux. L'arc supérieur seul reparaît à l'extérieur et décharge complétement le linteau.

Mais il va sans dire que les constructeurs n'employaient cette puissance de moyens que dans des bâtiments très-considérables et qui devaient résister moins à l'effort du temps qu'à la destruction combinée des hommes. Il semble même que, dans les intérieurs des châteaux, là où l'on ne pouvait craindre l'attaque, les architectes voulussent distraire les yeux des habitants par des constructions très-élégantes et légères. On sait que Charles V avait fait faire dans le Louvre, à Paris, un escalier et des galeries qui passaient pour des chefs-d'oeuvre de l'art de bâtir, et qui fixèrent l'admiration de tous les connaisseurs jusqu'au moment où ces précieux bâtiments furent détruits. Les escaliers particulièrement, qui présentent des difficultés sans nombre aux constructeurs, excitèrent l'émulation des architectes du moyen âge. Il n'était pas de seigneur qui ne voulût avoir un degré plus élégant et mieux entendu que celui de son voisin, et, en effet, le peu qui nous reste de ces accessoires indispensables des châteaux indique toujours une certaine recherche autant qu'une grande habileté dans l'art du tracé (voy. ESCALIER).
Pour les habitations plus modestes, celles des bourgeois des villes, leur construction devint aussi, pendant les XIVe et XVe siècles, plus légère, plus recherchée. C'est alors que l'on commence à vouloir ouvrir des jours très-larges sur la voie publique, ce qui était d'autant plus nécessaire que les rues étaient étroites; que l'on mêle avec adresse le bois à la pierre ou à la brique; que l'on cherche à gagner de la place dans les intérieurs en diminuant les points d'appui, en empiétant sur la voie publique par des saillies données aux étages supérieurs; que, par suite, les constructeurs sont portés à revenir aux pans-de-bois en façade.
Nous ne voulons pas étendre cet article, déjà bien long, outre mesure, et donner ici des exemples qui trouvent leur place dans les autres articles du Dictionnaire; nous avons essayé seulement de faire saisir les différences profondes qui séparent la construction civile de la construction religieuse au moyen âge. Nos lecteurs voudront bien recourir, pour de plus amples détails, aux mots BOUTIQUE, CHARPENTE, CHÉNEAU, ÉGOUT, ESCALIER, FENÊTRE, FONTAINE, GALERIE, MAISON, PAN-DE-BOIS, PLANCHER, PONT, etc.
Note 33: (retour) Ce n'est guère que vers la fin du XIIIe siècle que les forêts des Gaules commencèrent à perdre en étendue et en qualité, c'est-à-dire au moment où l'organisation féodale décroît. Pendant le XIVe siècle, beaucoup de seigneurs féodaux furent obligés d'aliéner partie de leurs biens, et les établissements monastiques, les chapitres ou les communes défrichèrent une notable portion des forêts dont ils étaient devenus possesseurs. Lors des guerres des XIVe et XVe siècles, les forêts n'étant plus soumises, dans beaucoup de localités, au régime conservateur du système féodal, furent cruellement dévastées. Celles qui existaient sur les montagnes furent ainsi perdues à tout jamais, par suite de l'entraînement des terres sur les pentes rapides. C'est ainsi que le midi et tout le centre de la France actuelle se virent dépouillés des futaies qui garnissaient les plateaux et dont nous constatons l'existence encore vers la fin du XIIIe siècle.
Note 34: (retour) La maisnée, c'est-à-dire la maisonnée, comprenant non-seulement la famille, mais les serviteurs, les hommes et femmes à gage et tout le personnel d'un château.
Note 35: (retour) On établissait des lucarnes avec face en pierre sur les bâtiments dès le XIIIe siècle, et cependant, sous Louis XIV, on prétendit que ce mode d'ouvrir des jours à la base des combles fut inventé par Mansard; et pour consacrer le souvenir de cette utile invention, on a donné depuis lors, à ces jours, le nom de mansardes, comme si tous les bâtiments civils, les châteaux et les maisons n'étaient pas pourvus de mansardes sous François 1er, sous Louis XIII et bien avant eux. Mais tel est le faible du XVIIe siècle, qui prétendit avoir tout trouvé. Or ce n'est qu'une prétention. Il en est de celle-ci comme de beaucoup d'autres à cette époque. Il a été écrit et répété bien des fois que la brouette, par exemple, avait été inventée au XVIIe siècle, lors des grands travaux de terrassement entrepris à Versailles; or nous avons des copies nombreuses de brouettes figurées sur des manuscrits et des vitraux du XIIIe siècle. Il est vrai que la forme de ces petits véhicules, à cette époque, est beaucoup plus commode pour le porteur que celle adoptée depuis le XIIIe siècle, et que nous reproduisons religieusement dans nos chantiers, comme si c'était là un chef-d'oeuvre. Il en est de même du haquet, inventé, dit-on, par Pascal.
Note 36: (retour) On peut comprendre l'esprit de passion qui fit détruire les châteaux et même les églises; mais ce qu'il est plus difficile d'expliquer, c'est la manie aveugle qui a fait démolir en France, depuis soixante ans, quantité d'édifices civils fort bons, fort beaux, fort utiles, uniquement parce qu'ils étaient vieux, qu'ils rappelaient un autre âge, pour les remplacer par des constructions déplorables et qui coûtent cher, bien qu'elles soient élevées avec parcimonie et qu'elles soient souvent très-laides. Beaucoup de villes se sont privées ainsi d'établissements qui eussent pu satisfaire à des besoins nouveaux, qui attiraient l'attention des voyageurs, et qui, à tout prendre, leur faisaient honneur.
Note 37: (retour) Voy. l'Archit. civ. et domest. de MM. Aymar Verdier et Cattois.
Note 38: (retour) Voy. la Monog. d'abbayes. Bib. Sainte-Geneviève.
Note 39: (retour) Voy. le plan général de ce château au mot CHÂTEAU, fig. 30 et 31, salle M.
Note 40: (retour) Au XVIe siècle, un accident obligea les propriétaires du château de Hoh-Koenigsbourg à bander des arcs sous le plafond du premier étage.
Note 41: (retour) M. Boeswilwald, qui a relevé le château de Hoh-Koenigsbourg avec le plus grand soin, a bien voulu mettre ses dessins à notre disposition.
Note 42: (retour) Un seul exemple pour prouver que nous n'exagérons pas. Nous avons vu, dans cet article, à la suite de quels efforts persistants les constructeurs du Nord sont arrivés à se rendre maîtres de la poussée des voûtes, et dans quelles conditions ils voulaient assurer la stabilité de ces voûtes. Or, en Italie, les écartements des arcs des monuments voûtés pendant le moyen âge et même la renaissance sont maintenus au moyen de barres de fer posées à leur naissance et restées visibles. À ce compte, on peut bien se passer d'arcs-boutants et de tout l'attirail des contre-forts, de combinaisons d'équilibre. On se garde bien, ou de reproduire ces barres de fer dans les dessins qu'on nous donne, ou d'en parler dans les ouvrages sur la matière. Mais, en vérité, est-ce là un moyen de construction? N'est-ce pas plutôt un aveu d'impuissance?
Note 43: (retour) Pour les architectes qui ont quelque peu étudié les arts de l'antiquité, la différence entre l'architecture des Grecs et celle des Romains est parfaitement tranchée: ces deux arts suivent, ainsi que nous l'avons dit bien des fois, des voies opposées; mais pour le vulgaire, il n'en est pas ainsi, et l'on confond ces deux arts, comme si l'un n'était qu'un dérivé de l'autre. Combien de fois n'a-t-on pas dit et écrit, par exemple, que le portail de Saint-Gervais, à Paris, est un portail d'architecture grecque? Il n'est guère plus grec que romain. C'est cependant sur des jugements aussi aveugles que la critique des arts de l'architecture se base chez nous depuis longtemps, et cela parce que nous, architectes, par insouciance peut-être, nous sommes les seuls en France qui n'écrivons pas sur notre art.
Note 44: (retour) Voy. nos Entretiens sur l'Architecture.
Note 45: (retour) Rien ne nous semble plus funeste et ridicule que de vouloir, comme cela n'arrive que trop souvent aujourd'hui, imposer aux architectes autre chose que des programmes; rien ne donne une plus triste idée de l'état des arts et de ceux qui les professent, que de voir les artistes accepter toutes les extravagances imposées par des personnes étrangères à la pratique, sous le prétexte qu'elles payent. Les tailleurs ont, à ce compte, plus de valeur morale que beaucoup d'architectes; car un bon tailleur, si on lui commande un habit ridicule, dira: «Je ne puis vous faire un vêtement qui déshonorerait ma maison et qui ferait rire de vous.» Ce mal date d'assez loin déjà, car notre bon Philibert Delorme écrivait, vers 1575: «...Je vous advertiray, que depuis trente cinq ans en ça, et plus, j'ay observé en divers lieux, que la meilleure partie de ceux qui ont faicts ou voulu faire bastiments, les ont aussi soubdainement commencez, que légèrement en avoient délibéré: dont s'en est ensuivy le plus souvent repentance et dérision, qui toujours accompagnent les mal advisez: de sorte que tels pensans bien entendre ce qu'ils vouloient faire, ont veu le contraire de ce qui se pouvoit et devoit bien faire. Et si par fortune ils demandoient à quelques uns l'advis de leur délibération et entreprinse, c'estoit à un maistre maçon, ou à un maistre charpentier, comme l'on a accoutumé de faire, ou bien à quelque peintre, quelque notaire, et autres qui se disent fort habiles, et le plus souvent n'ont gueres meilleur jugement et conseil que ceux qui le leur demandent... Souventes fois aussi j'ay veu de grands personnages qui se sont trompez d'eux-mêmes, pour autant que la plupart de ceux qui sont auprès d'eux, jamais ne leur veulent contredire, ains comme désirant de leur complaire, ou bien à faulte qu'ils ne l'entendent, respondent incontinent tels mots, C'est bien dict, monsieur; c'est une belle invention, cela est fort bien trouvé, et montrez bien que vous avez très bon entendement; jamais ne sera veu une telle oeuvre au monde. Mais les fascheux pensent tout le contraire, et en discourent par derrière, peult-être ou autrement. Voilà comment plusieurs seigneurs se trompent et sont contentez des leurs.» Nous pourrions citer les six premiers chapitres tout entiers du traité de Philibert Delorme; nous y renvoyons nos lecteurs comme à un chef-d'oeuvre de bon sens, de raison, de sagesse et d'honnêteté.
Note 46: (retour) Ces grandes salles étaient habituellement dallées; on les lavait chaque jour, et des gargouilles étaient réservées pour l'écoulement de l'eau. «Le sang des victimes s'écoulait de toute part et ruisselait par les ouvertures (rigel-stein) pratiquées vers le seuil des portes.» (Les Niebelungen, 35e aventure.)
CONSTRUCTIONS MILITAIRES. Entre les constructions militaires des premiers temps du moyen âge et les constructions romaines, on ne peut constater qu'une perfection moins grande apportée dans l'emploi des matériaux et l'exécution; les procédés sont les mêmes; les courtines et les tours ne se composent que de massifs en blocages revêtus d'un parement de moellon menu ou d'un très-petit appareil. Il semble que les Normands les premiers aient apporté, dans l'exécution des ouvrages militaires, certains perfectionnements inconnus jusqu'à eux et qui donnèrent, dès le XIe siècle, une supériorité marquée à ces constructions sur celles qui existaient sur le sol de l'Europe occidentale. L'un de ces perfectionnements les plus notables, c'est la rapidité avec laquelle ils élevaient leurs forteresses. Guillaume le Conquérant couvrit en peu d'années l'Angleterre et une partie de la Normandie de châteaux forts en maçonnerie, exécutés avec une parfaite solidité, puisque nous en trouvons un grand nombre encore debout aujourd'hui. Il est à croire que les Normands établis sur le sol occidental employèrent les procédés usités par les Romains, c'est-à-dire les réquisitions, pour bâtir leurs forteresses, et c'est, dans un pays entièrement soumis, le moyen le plus propre à élever de vastes constructions qui ne demandent que des amas très-considérables de matériaux et beaucoup de bras. On ne trouve, d'ailleurs, dans les constructions militaires primitives des Normands, aucune trace d'art: tout est sacrifié au besoin matériel de la défense. Ces sortes de bâtisses n'ont rien qui puisse fournir matière à l'analyse; elles n'ont d'intérêt pour nous qu'au point de vue de la défense, et, sous ce rapport, leurs dispositions se trouvent décrites dans les articles ARCHITECTURE MILITAIRE, CHÂTEAU, DONJON, TOUR.
Ce n'est guère qu'à la fin du XIIe siècle que l'on voit employer des procédés de construction particuliers aux ouvrages défensifs, composant un art à part. Aux blocages massifs opposant une résistance égale et continue, on substitue des points d'appui réunis par des arcs de décharge et formant ainsi, dans les courtines comme dans les tours, des parties plus résistantes que d'autres, indépendantes les unes des autres, de façon à éviter la chute de larges parties de maçonnerie, si on venait à les saper. C'est alors aussi que l'on attache une grande importance à l'assiette des ouvrages militaires, que les constructeurs choisissent des sols rocheux difficiles à entamer par la sape, et qu'ils taillent souvent le rocher même pour obtenir des escarpements indestructibles; c'est qu'en effet, pendant les grands siéges entrepris à cette époque, notamment par Philippe-Auguste, la sape et la mine étaient les moyens les plus ordinaires employés pour renverser les murailles (voy. SIÉGE).

Un des bas-reliefs qui décorent la façade occidentale de Notre-Dame-la-Grande à Poitiers, et qui date du commencement du XIIe siècle, nous représente déjà des murs de ville composés d'arcs de décharge portant sur des contre-forts extérieurs peu saillants (141). Mais il ne faut pas trop s'arrêter à ces représentations de monuments qui ne sont pas toujours conformes à la réalité. Les arcs de décharge, lorsqu'ils existent, sont habituellement apparents à l'intérieur des murailles pour porter le chemin de ronde et masqués par le parement extérieur. Le simple bon sens indiquait, en effet, que les arcs de décharge vus à l'extérieur marquaient aux assiégeants les points où il fallait attacher la sape et que la saillie des contre-forts cachait les pionniers. On doit donc prendre l'exemple ci-dessus comme la figure retournée de la muraille pour les besoins de la décoration sculpturale.
L'esprit que nous voyons déployer par les constructeurs français, vers la fin du XIIe siècle, dans les édifices religieux et civils, se retrouve dans les édifices militaires: ils songent à remplacer les forces passives de la construction romaine par des forces actives; mais, dans l'architecture militaire, il ne s'agit pas seulement de résister aux agents extérieurs, aux lois naturelles de la pesanteur, il faut opposer une résistance à la main destructive des hommes. La logique des artistes qui développent l'art de l'architecture au moyen âge, et le font sortir de l'ornière romane, est rigoureuse; nous avons eu l'occasion de le démontrer à nos lecteurs dans les deux premières parties de cet article; on comprendra que cet esprit logique et vrai trouvait une belle occasion de s'exercer dans la construction des édifices militaires, où tout doit être sacrifié au besoin de se défendre. La sape et la mine pratiquées au moyen des étançonnements auxquels on mettait le feu étant le principe d'attaque le plus ordinaire au XIIe siècle, il fallait opposer à ce principe un système capable de rendre inutiles les travaux des assaillants.

Si donc (142) nous construisons une tour conformément au plan A, et que les mineurs viennent s'attacher sur deux points rapprochés de la paroi extérieure et pratiquent les deux trous BC en les étançonnant avec des potelets, lorsqu'ils mettront le feu à ces potelets, toute la partie EF de la tour tombera en dehors et l'ouvrage sera détruit; mais si, en employant le même cube de matériaux et en occupant la même surface de pleins, nous avons le soin d'élever, au lieu d'un mur plein, une suite de niches comprises entre des contre-forts intérieurs, comme l'indique le plan G, il y a chance égale pour que le mineur tombe au-dessous d'un vide au lieu de tomber sous un plein, et alors son travail d'étançonnements incendiés ne produit pas de résultats; mais s'il s'attache sous un plein, celui-ci offrant une épaisseur plus grande que dans le plan A, son travail devient plus long et plus difficile; les renfoncements H permettent d'ailleurs de contre-miner, s'il travaille au-dessous de ces niches. De plus, les niches H peuvent être étançonnées elles-mêmes, à l'intérieur, de façon à rendre la chute d'une portion de la tour impossible, en admettant même que les trous de mine aient été faits en I et en K, sous les piédroits. Ainsi, déjà vers la fin du XIIe siècle, avec un cube de matériaux égal à celui employé précédemment, et même moindre, les constructeurs militaires étaient arrivés à donner une assiette beaucoup plus forte à leurs ouvrages. De plus, les constructeurs noyaient, dans l'épaisseur des maçonneries, de fortes pièces de bois chevillées entre elles par des chevilles de fer, afin de cercler leurs tours à différentes hauteurs. Le principe était excellent, mais le moyen très-mauvais; car ces pièces de bois, complétement dépourvues d'air, s'échauffaient rapidement et pourrissaient. Plus tard on s'aperçut de la destruction très-prompte de ces bois, et on y suppléa par des chaînages composés de crampons de fer scellés entre deux lits d'assises (voy. CHAÎNAGE).
Il est une remarque que chacun peut faire et qui ne laisse pas d'être intéressante. Les mortiers employés généralement, pendant le XIIe siècle et le commencement du XIIIe, dans les églises et la plupart des constructions religieuses, sont mauvais, manquent de corps, sont inégalement mélangés, souvent même le sable fait défaut et paraît avoir été remplacé par de la poussière de pierre; tandis que les mortiers employés dans les constructions militaires à cette époque, comme avant et après, sont excellents et valent souvent les mortiers romains; il en est de même des matériaux. Les pierres employées dans les fortifications sont d'une qualité supérieure, bien choisies et exploitées en grand; elles accusent, au contraire, une grande négligence ou une triste économie dans la plupart des constructions religieuses. Évidemment les seigneurs laïques, lorsqu'ils faisaient bâtir des forteresses, avaient conservé la méthode romaine de réquisitions et d'approvisionnements que les abbés ou les évêques ne voulaient ou ne pouvaient pas maintenir. Il semblerait que les seigneurs normands eussent été les premiers à réorganiser le système de travail de bâtiments employé par les Romains 47, et leur exemple avait été suivi dans toutes les provinces du nord et de l'ouest. L'enthousiasme produit de grandes choses, mais il est de peu de durée. C'était un sentiment de réaction contre la barbarie qui avait fait élever les églises abbatiales et les vastes bâtiments qui les entouraient, c'était un désir de liberté et un mouvement de foi qui avaient fait élever les cathédrales (voy. CATHÉDRALE); mais, ces moments d'effervescence passés, les abbés comme les évêques ne trouvaient plus qu'un dévouement refroidi; par suite, des négligences ou des tromperies dans l'exécution des travaux. Avec la noblesse laïque, il n'en pouvait pas être ainsi; on ne demandait pas aux paysans du dévouement, on exigeait d'eux des corvées régulièrement faites, sous une surveillance inflexible. Cette méthode était certainement meilleure pour exécuter régulièrement des travaux considérables. Aussi ne devons-nous pas être surpris de cette haine transmise de génération en génération chez nous contre les forteresses féodales, et de l'affection que les populations ont conservée à travers les siècles pour leurs cathédrales. À la fin du dernier siècle, on a certes détruit beaucoup d'églises, surtout d'églises conventuelles, parce qu'elles tenaient à des établissements féodaux; mais on a peu détruit de cathédrales, tandis que tous les châteaux, sans exception, ont été dévastés, beaucoup même avaient été ruinés sous Louis XIII et Louis XIV. Pour nous constructeurs, qui n'avons ici qu'à constater des faits dont chacun peut tirer des conséquences suivant sa manière devoir les choses, nous sommes obligés de reconnaître qu'au point de vue du travail matériel on trouve, dans les forteresses du moyen âge, une égalité et une sûreté d'exécution, une marche régulière et une attention qui manquent dans beaucoup de nos édifices religieux.
Dans la construction des églises, on remarque des interruptions, des tâtonnements, des modifications fréquentes aux projets primitifs; ce qui s'explique par le manque d'argent, le zèle plus ou moins vif des évêques, des chapitres ou des abbés, les idées nouvelles qui surgissaient dans l'esprit de ceux qui ordonnaient et payaient l'ouvrage. Tout cela est mis bénévolement sur le compte de l'ignorance des maîtres des oeuvres, de la faiblesse de leurs moyens d'exécution 48. Mais quand un seigneur puissant voulait faire construire une forteresse, il n'était pas réduit à solliciter les dons de ses vassaux, à réchauffer le zèle des tièdes et à se fier au temps et à ses successeurs pour terminer ce qu'il entreprenait. C'était de son vivant qu'il voulait son château, c'était en vue d'un besoin pressant, immédiat. Rien ne coûte à Richard Coeur-de-Lion quand il veut élever la forteresse des Andelis, le château Gaillard, ni les usurpations, ni les sacrifices, ni les violences, ni l'argent; il commence l'édification de la place, malgré l'archevêque de Rouen, bien que la ville d'Andeli lui appartînt. La Normandie est déclarée en interdit, à l'instigation du roi de France. L'affaire est portée aux pieds du pape, qui conclut à une indemnité en faveur du prélat et lève l'interdit. Mais pendant ces protestations, ces menaces, ces discussions, Richard ne perd pas une journée; il est là, surveillant et activant les ouvriers; sa forteresse s'élève, et en un an elle est construite, et bien construite, la montagne et les fossés taillés, la place en état complet de défense, et l'une des plus fortes du nord de la France. Quand Enguerrand III fit élever le château de Coucy, c'était dans la prévision d'une lutte prochaine et terrible avec son suzerain. Un mois de retard pouvait faire échouer ses projets ambitieux; aussi peut-on voir encore aujourd'hui que les énormes travaux exécutés sous ses ordres furent faits avec une rapidité surprenante, rapidité qui ne laisse passer aucune négligence. De la base au fait, ce sont les mêmes matériaux, le même mortier, bien mieux, les mêmes marques de tâcherons; nous en avons compté, sur les parements encore visibles, près d'une centaine. Or chaque marque de tâcheron appartient à un tailleur de pierre, comme encore aujourd'hui en Bourgogne, en Auvergne, dans le Lyonnais, etc. 49 Cent tailleurs de pierre, de nos jours, donnent les proportions suivantes dans les autres corps d'ouvriers, en supposant une construction semblable à celle d'Enguerrand III:
|
Tailleurs de pierre Traceurs, appareilleurs, souffleurs Bardeurs, pinceurs, poseurs Terrassiers, manoeuvres, corroyeurs Maçons et aides Pour approvisionner les chantiers: Carriers et chaufourniers Tireurs de sable Charretiers et aides Total Soit, nombre rond. |
100 20 100 200 200 100 25 50 795 800 |
Huit cents ouvriers occupés à la maçonnerie seulement supposent un nombre à peu près égal de charpentiers, serruriers, plombiers, couvreurs, paveurs, menuisiers et peintres (car tous les intérieurs du château de Coucy étaient peints sur enduit frais). On peut donc admettre que seize cents ouvriers au moins ont travaillé à la construction de cette forteresse. Et si nous examinons l'édifice: l'égalité de la pose et de la taille, la parfaite unité de la conception dans son ensemble et dans ses détails, l'uniformité des profils, indiquent une promptitude d'exécution qui rivalise avec ce que nous voyons faire de nos jours. Une pareille activité aboutissant à des résultats aussi parfaits sous le rapport de l'exécution ne se trouve qu'exceptionnellement dans les constructions religieuses, comme, par exemple, à la façade de Notre-Dame de Paris, dans les soubassements de la cathédrale de Reims, dans la nef de la cathédrale d'Amiens. Mais ce sont des cas particuliers, tandis que dans les forteresses du moyen âge, du XIIe au XVe siècle, on retrouve toujours la trace de cette hâte en même temps qu'une exécution excellente, des plans bien conçus, des détails étudiés, nul tâtonnement, nulle indécision.

Prenons, par exemple, une des tours d'angle du château de Coucy, qui ont chacune 15 mètres de diamètre hors oeuvre, non compris les talus inférieurs. Chacune de ces tours renferme cinq étages, plus l'étage de combles. L'étage inférieur, dont le sol est un peu au-dessus du sol extérieur, est voûté en calotte entre des murs d'une épaisseur de 3m,50 c. environ, plus le talus. Au-dessus de cet étage, qui n'est qu'une cave destinée aux provisions, s'élève un étage voûté en arcs d'ogive, à six pans intérieurement. Les autres étages sont fermés par des planchers. Voici (143) les plans superposés des étages au-dessus de la cave. Les piles de l'hexagone sont alternativement posées, pleins sur vides, de sorte qu'en coupe perspective nous voyons que les pieds-droits s'élèvent sur les clefs des arcs en tiers-point formant niches d'une pile à l'autre, ainsi que l'indique la fig. 144.

Cette construction évite le déliaisonnement qui peut se produire et se produit ordinairement dans un cylindre renfermant des niches percées les unes au-dessus des autres; elle permet aussi d'ouvrir des meurtrières se chevauchant et découvrant tous les points de l'horizon. Nous supposons détruite la voûte de l'étage inférieur au-dessus de la cave, afin de laisser voir l'ensemble de la construction. On ne peut descendre dans cette cave que par l'oeil percé au sommet de la voûte. On comprend comment une pareille construction, reposant sur un massif plein et sur un étage inférieur dont les murs cylindriques sont très-épais et renforcés par un talus extérieur, s'épaulant à chaque étage par le moyen des piles chevauchées, devait défier tous les efforts de la sape; car, pour faire tomber une tour ainsi bâtie, il eût fallu saper la moitié de son diamètre, ce qui n'était pas facile à exécuter au sommet d'un escarpement, et en présence d'une garnison possédant des issues souterraines sur les dehors.
Examinons maintenant la construction du donjon de Coucy, bâti par Enguerrand III vers 1225. C'est un cylindre de plus de 30 mètres de diamètre hors oeuvre sur une hauteur de 60 mètres. Il comprend trois étages voûtés de 13 mètres de hauteur chacun et une plate-forme crénelée. Le sol du rez-de-chaussée est à 5 mètres au-dessus du fond du fossé, et depuis ce sol intérieur jusqu'au dallage du fossé, le cylindre s'empatte en cône. La maçonnerie, pleine dans la hauteur des deux étages inférieurs, a 5m,50 c. d'épaisseur et est encore consolidée par des piles intérieures formant douze contre-forts portant les retombées des voûtes (voy. DONJON).

La fig. 145 donne la coupe perspective de cette énorme tour. Les niches inférieures sont étrésillonnées à moitié de leur hauteur par des arcs A formant des réduits relevés au-dessus du sol, propres au classement des armes et engins. Au premier étage, les niches entre les contre-forts s'élèvent jusqu'à la voûte, et leurs arcs en sont les formerets. Au second étage, la construction pouvait être plus légère; aussi le cylindre se retraite à l'intérieur pour former une galerie relevée B permettant à un très-grand nombre de personnes de se réunir dans la salle supérieure. Mais il faut expliquer la construction remarquable de cette galerie. En plan, le quart de cet étage du donjon présente la fig. 146. Sur les douze piles AB portent les arcs doubleaux de tête C tenant lieu de formerets à la grande voûte centrale D. Ces piles AB ont leurs deux parements latéraux parallèles. Des points b sont bandés d'autres arcs doubleaux G parallèles aux arcs C, mais plus ouverts, et dont les naissances viennent pénétrer les surfaces biaises des piles. Sur les arcs doubleaux C et G sont bandés des berceaux en tiers-point EF. D'autres berceaux IK parallèles aux côtés L du polygone à vingt-quatre côtés viennent reposer sur les pieds-droits e, sur les faces M et sur les cornes en encorbellement O. La coupe perspective, vue du point P, donne la fig. 146 bis, qui explique les pénétrations des arcs et berceaux dans ces surfaces verticales biaises.


Le plan 146 et la coupe perspective 146 bis font assez voir qu'au commencement du XIIIe siècle les architectes s'étaient familiarisés avec les combinaisons les plus compliquées de voûtes, et qu'ils savaient parfaitement en varier les dispositions en raison des besoins. Ce ne sont plus là les constructions religieuses. Ces contre-forts qui s'évasent pour se relier puissamment au cylindre extérieur et l'épauler au moyen des berceaux IK du plan 146, indiquent une observation très-savante des effets qui peuvent se produire dans d'aussi vastes constructions; et, en effet, bien que l'ingénieur Métézau ait chargé un fourneau de mine au centre du donjon pour le faire sauter, il ne put parvenir qu'à lancer les voûtes en l'air et à lézarder la tour sur trois points de son diamètre sans la renverser. L'énorme cylindre produisit l'effet d'un tube chargé de poudre et lançant les voûtes comme de la mitraille. Cette galerie supérieure porte un large chemin de ronde D (voy. la fig. 145) à ciel ouvert, et la voûte centrale était couverte en plomb.
En E (même figure) sont des chaînages en bois de 0,30 c. d'équarrissage formant un double dodécagone à chaque étage et se reliant à des chaînages rayonnants K, également en bois, qui se réunissaient au centre de la voûte au moyen d'une enrayure. Les trois voûtes centrales se composent chacune de douze arêtiers plein-cintre avec des formerets dont les clefs sont posées au niveau de la clef centrale; les triangles entre les douze arêtiers sont construits suivant la méthode ordinaire. Ainsi, chacune des douze travées étant très-étroite relativement au diamètre de la voûte, il en résulte que les arêtiers ne portent que des murs rayonnants jusqu'aux deux tiers de la voûte environ, et que cette construction centrale, étant très-légère, produit cependant un étrésillonnement puissant au centre du cylindre. Il n'est pas de système de voûtes, en dehors du système gothique, qui pût offrir des dispositions aussi favorables, il faut bien le reconnaître. L'ouvrage est, du haut en bas, construit en pierre d'appareil de 0,40 c. à 0,45 de hauteur, dont les parements sont taillés au taillant droit, librement, mais parfaitement dressés. À mesure que l'art de l'attaque des places devient plus méthodique, les constructions militaires se perfectionnent, les matériaux employés sont plus grands et mieux choisis, les murs plus épais et mieux maçonnés, les massifs remplis avec plus de soin et le mortier plus égal et plus ferme. Pendant le XIIIe siècle, les constructions militaires sont exécutées avec le plus grand soin, les moyens de résistance opposés aux attaques singulièrement étendus. On renonce le plus souvent aux parements de petit appareil ou de moellons usités pendant les XIe et XIIe siècles; ils sont faits en pierre d'appareil dure, possédant des queues assez longues pour ne pas être facilement arrachées par la pince ou le pic-hoyau des pionniers. Dans les massifs, on rencontre souvent des chaînes de pierre et des arcs de décharge noyés en pleine maçonnerie. Les parapets sont composés de parpaings, les surfaces extérieures admirablement dressées.

Jusque vers 1240 il arrive souvent que les assises sont posées sur des lits de mortier très-épais (0,04 c. à 0,05 c.), garnis d'éclats de pierre dure (147); mais ce procédé, qui donnait aux lits des assises une grande adhérence à cause de la quantité de mortier qui s'y trouvait employée 50, avait l'inconvénient de faciliter aux pionniers l'introduction de la pince entre les lits pour desceller les pierres. Au contraire, à dater de cette époque, les lits des assises formant les parements des fortifications sont minces (0,01 c. environ, quelquefois moins), les arêtes des pierres sont vives, sans épauffrures, et leurs faces rugueuses formant même souvent des bossages saillants afin de cacher la ciselure des lits et joints (148). Il était difficile, en effet, d'entamer les assises de pierres ainsi parementées; soit au moyen de la sape, soit par le mouton, le bélier et tous les engins propres à battre les murailles.

Sous Philippe le Hardi et Philippe le Bel, les constructions militaires firent un retour vers les traditions antiques. Nous avons vu comme les constructeurs du château d'Enguerrand III, à Coucy, avaient adopté pour les tours une enveloppe cylindrique épaisse extérieure, et comme, intérieurement, ils avaient admis des dispositions assez légères pour porter les voûtes ou les planchers, des piles minces formant entre elles des cellules voûtées en tiers-point; ils semblaient ainsi vouloir concilier les besoins de la défense avec les nouvelles méthodes de bâtir des architectes laïques du commencement du XIIIe siècle. Si, dans les constructions religieuses et civiles, ces principes nouveaux, développés dans le commencement de cet article, ne cessèrent de progresser et de s'étendre jusqu'à l'abus et la recherche, il n'en fut pas de même dans les constructions militaires; les architectes revinrent à des dispositions plus simples, à un système de construction plus homogène. À chaque pas, nous sommes obligés ainsi de nous arrêter dans l'étude de l'art de bâtir des artistes du moyen âge et de reprendre une nouvelle voie; car cet art logique se prête à toutes les exigences, à tous les besoins qui se développent, sans tenter jamais d'imposer une routine. Au moment où nous voyons les édifices religieux exclure le plein-cintre et l'art de la construction s'abandonner à une recherche excessive dans les églises, il revient, dans les constructions militaires, aux formes les plus sévères, au système de bâtisse concret, passif, aux principes, enfin, si bien développés par les Romains. Nous avons, dans les fortifications de la cité de Carcassonne, bâties à la fin du XIIIe siècle et au commencement du XIVe, un exemple frappant de cette révolution.
Comme nous avons l'occasion de présenter, dans le Dictionnaire, une grande partie des ouvrages principaux et des détails de ces fortifications 51, nous nous bornerons ici à donner, dans son ensemble et ses détails, une des défenses les plus importantes de cette enceinte, afin de faire voir à nos lecteurs ce qu'était devenu l'art de la construction militaire sous Philippe le Hardi. Nous choisissons la tour principale de cette enceinte, la tour dite du Trésau, qui ne le cède en rien aux plus belles constructions antiques que nous connaissions. Cette tour défend un des saillants de l'enceinte intérieure. Elle est construite suivant le système expliqué dans notre fig. 142(G), c'est-à-dire que ses deux étages au-dessus du sol extérieur se composent, du côté de l'attaque, de niches comprises entre des contre-forts intérieurs, niches au fond desquelles sont percées des meurtrières qui battent les dehors. D'un étage à l'autre, ces niches se chevauchent comme celles de la tour du château de Coucy. Le sol de la ville est à 7 mètres au-dessus du sol extérieur.

La fig. 149 donne le plan de la tour du Trésau, au niveau du rez-de-chaussée (cave pour la ville), de plain-pied avec le sol extérieur. Sous cet étage existe une cave taillée dans le roc, revêtue de maçonnerie et voûtée, à laquelle on descend par l'escalier à vis placé dans l'angle de droite de la tour.

Le premier étage (150) est élevé de quelques marches au-dessus du sol de la ville. Ce rez-de-chaussée et ce premier étage (rez-de-chaussée pour la ville) sont voûtés au moyen d'arcs doubleaux, de formerets et d'arcs ogives, suivant la méthode gothique. Le premier étage (fig. 150) possède une cheminée G, une porte donnant sur le terre-plein de la cité, un réduit E pour le chef du poste, et des latrines F en encorbellement sur le dehors. Le second étage (premier pour la ville) (fig. 151) possède des murs pleins vers le dehors, afin de charger et de relier puissamment la construction inférieure, dont le mur circulaire est percé de niches chevauchées et de meurtrières; cet étage est couvert par un plancher.

Le troisième étage (152) présente un chemin de ronde A à ciel ouvert, et, au centre, une salle sous comble, éclairée par deux fenêtres percées dans le mur-pignon D. Outre l'escalier B qui monte de fond, se trouve cependant, à partir du chemin de ronde, un second escalier B'; tous deux montent jusqu'au sommet de deux guettes qui flanquent le pignon D.

En se plaçant, le dos au pignon, sur le pavé du rez-de-chaussée (plan fig. 149), et regardant du côté de la défense, nous voyons (153) quelle est la construction intérieure de cette tour. Nous supposons la voûte séparant le rez-de-chaussée du premier étage démolie, afin de faire comprendre la disposition des niches intérieures formant meurtrières, chevauchées et portant les pleins sur les vides, pour découvrir tous les points de la circonférence à l'extérieur, et aussi pour couper les piles et éviter les ruptures verticales, conformément au système adopté pour les tours de Coucy, expliqué plus haut. La simplicité de cette construction, sa solidité, le soin avec lequel les parements sont appareillés en belles pierres de taille à l'intérieur et à l'extérieur, indiquent assez l'attention que les architectes de la fin du XIIIe siècle donnaient à l'exécution de ces bâtisses, comment ils sacrifiaient tout au besoin de la défense, comme ils savaient soumettre leurs méthodes aux divers genres de construction.
En parcourant les fortifications élevées autour de la cité de Carcassonne, sous Philippe le Hardi, on ne supposerait guère que, peu d'années plus tard, on élevait, dans la même ville, le choeur de l'église de Saint-Nazaire, dont nous avons présenté quelques parties à nos lecteurs.

La tour du Trésau est couverte par un comble aigu formant croupe conique du côté de la campagne, et qui vient, du côté de la ville, s'appuyer sur un pignon percé de fenêtres éclairant les divers étages. Si nous faisons une coupe transversale sur la tour en regardant le pignon, nous obtenons la fig. 154. En examinant les plans, on voit que ce mur-pignon est, relativement à sa hauteur, peu épais. Mais, de ce côté, il s'agissait seulement de se clore à la gorge de la tour, et ce mur est d'ailleurs solidement maintenu dans son plan vertical par les deux guettes FF, qui, par leur assiette et leur poids, présentent deux points d'appui d'une grande solidité. La jonction de la couverture avec le pignon est bien abritée par ces degrés qui forment solins sur le parement intérieur et qui facilitent la surveillance des parties supérieures de la tour. La toiture (dont la pente est indiquée par la ligne ponctuée IK) repose sur les deux grands bahuts K séparant absolument le chemin de ronde F de la salle centrale. Au niveau du rempart, le chemin de ronde G pourtourne la construction du côté de la ville, dont le sol est en CD, comme celui du dehors est en AB.
D'ailleurs, le soin apporté dans les conceptions d'ensemble de ces édifices militaires se manifeste jusque dans les moindres détails. On retrouve partout la marque d'une observation réfléchie et d'une expérience consommée. Ainsi, sans nous étendre trop sur ces détails qui trouvent leur place dans les articles du Dictionnaire, nous nous bornerons à signaler une de ces dispositions intérieures de la structure des fortifications de Carcassonne à la fin du XIIIe siècle. Quelques-unes des tours les plus exposées aux efforts de l'assaillant sont munies, à leur partie antérieure, de becs saillants destinés à éloigner les pionniers et à offrir une résistance puissante aux coups du mouton (bélier) (voy. ARCHITECTURE MILITAIRE, TOUR). Or voici, dans ce cas particulier, comment est disposé l'appareil des assises (155).

Les joints des pierres, dans la partie antérieure de la tour, ne sont point tracés normaux à la courbe, mais à 45 degrés par rapport à l'axe AB; de sorte que l'action du mouton sur le bec saillant (point le mieux défilé et par conséquent le plus attaquable) est neutralisée par la direction de ces joints, qui reportent la percussion aux points de jonction de la tour avec les courtines voisines. Si l'assiégeant emploie la sape, après avoir creusé sous le bec et même au-delà, il trouve des joints de pierre qui ne le conduisent pas au centre de la tour, mais qui l'obligent à un travail long et pénible, car il lui faut entamer au poinçon chaque bloc qui se présente obliquement, et il ne peut les desceller aussi facilement que s'ils étaient taillés en forme de coins. Dans notre figure, nous avons tracé l'appareil de deux assises par des lignes pleines et des lignes ponctuées.
Lorsque l'architecture religieuse et civile se charge d'ornements superflus, que la construction devient de plus en plus recherchée, pendant les XIVe et XVe siècles, la construction militaire, au contraire, emploie chaque jour des méthodes plus sûres, des moyens plus simples et des procédés d'une plus grande résistance. Les constructions militaires de la fin du XIVe siècle et du commencement du XVe adoptent partout le plein-cintre et l'arc surbaissé; l'appareil est fait avec un soin particulier; les maçonneries de blocages sont excellentes et bien garnies, ce qui est rare dans les constructions religieuses. On évite toute cause de dépense inutile. Ainsi, par exemple, les arcs des voûtes qui, au XIIIe siècle et au XIVe encore, retombent sur des culs-de-lampe, pénètrent dans les parements, ainsi que l'indique la fig. 156 52.

Les sommiers de l'arc ogive sont pris dans les assises de parements de la tour. Il n'y a plus de formerets: ce membre paraît superflu avec raison. Le premier claveau A des remplissages des voûtes tient lui-même au parement; une simple rainure taillée dans ce parement reçoit les autres moellons remplissant les triangles entre les arcs. En même temps que tous les détails de la construction deviennent plus simples, d'une exécution moins dispendieuse, l'appareil se perfectionne, les matériaux sont mieux choisis en raison de la place qu'ils doivent occuper; les parements sont dressés avec un soin extrême jusque dans les fondations, car il s'agit de ne laisser prise sur aucun point au travail du mineur. Si l'on bâtit sur le roc, celui-ci est dérasé avec toute la perfection que l'on donne à un lit de pierres de taille; si le rocher présente des anfractuosités, des vides, ils sont bouchés au moyen de bonnes assises. On reconnaît sur tous les points cette surveillance, cette attention, ce scrupule qui sont, pour les constructeurs, le signe le plus évident d'un art très-parfait, d'une méthode suivie.
L'artillerie à feu vient arrêter les architectes au moment où ils ont poussé aussi loin que possible l'étude et la pratique de la construction militaire. Devant elle, ces raffinements de la défense deviennent inutiles; il faut opposer à ce nouveau moyen de destruction des masses énormes de maçonnerie ou des terrassements. Le canon, en bouleversant ces parapets couverts et ces mâchicoulis si bien disposés, en écrétant les remparts, en les sapant à la base, ne permet plus l'emploi de ces combinaisons ingénieuses faites pour résister à l'attaque rapprochée. Et cependant telle était la puissance de beaucoup de places fortes aux XIVe et XVe siècles, qu'il a fallu souvent des siéges en règle pour y faire brèche et les réduire. Afin de ne pas étendre davantage cet article déjà fort long, nous renvoyons nos lecteurs, pour l'étude des détails de la fortification au moyen âge, aux mots ARCHITECTURE MILITAIRE, BOULEVARD, CHÂTEAU, COURTINE, CRÉNEAU, DONJON, ÉCHAUGUETTE, MÂCHICOULIS, PORTE, SIÉGE, TOUR.
Note 47: (retour) En Normandie, il existait, pendant le moyen âge, une classe de paysans désignés sous le nom général de bordiers. Les bordiers étaient assujettis aux travaux les plus pénibles, et entre autres aux ouvrages de bâtiments, tels que transports de matériaux, terrassements, etc.; en un mot, ils aidaient les maçons. (Voy. Étud. sur la condit. de la classe agric. en Normandie au moyen âge, par Léop. Delisle, 1851, p. 15, 20, 79, 83, et les notes p. 709.)
Note 48: (retour) On ne manque jamais, par exemple, de dire que l'on a mis deux siècles à bâtir telle cathédrale, sans songer que, sur ces deux cents ans, on y a travaillé dix ou vingt ans seulement.
Note 49: (retour) Les marques gravées sur les parements vus, par les tailleurs de pierre, étaient faites pour permettre au chef d'atelier de constater le travail de chacun; ces marques prouvent que le travail était payé à la pièce, à la tâche, et non à la journée (voy. CORPORATION); de plus, elles donnent le nombre des ouvriers employés, puisque chacun avait la sienne.
Note 50: (retour) Il faut remarquer ici que le mortier a d'autant plus de force de cohésion, qu'il se trouve en plus grande masse; un lit de mortier très-mince est brûlé (comme disent les maçons) par la pierre, et n'est plus qu'une lame poudreuse, gercée, sans adhérence, parce qu'en posant les pierres, celles-ci boivent rapidement l'eau contenue dans le mortier, et que celui-ci, se desséchant trop vite, perd sa qualité.
Note 51: (retour) Voy. aussi les Archives des monum. hist., publiées, sous les auspices de M. le ministre d'État, par la Commission des monuments historiques. (Gide, édit.)
Note 52: (retour) Des tours du château de Pierrefonds; commencement du XVe siècle.
CONTRE-COURBE, s. f. C'est le nom que l'on donne aujourd'hui aux courbes renversées qui terminent un arc en tiers-point à son sommet. Les contre-courbes forment l'extrémité supérieure d'un arc en accolade (voy. ACCOLADE). C'est pendant le XIVe siècle que l'on voit poindre les contre-courbes au sommet des arcs aigus. Elles ne prennent d'abord que peu d'importance, puis peu à peu elles se développent et deviennent un des motifs les plus riches de l'architecture gothique à son déclin. On voit déjà des contre-courbes surmonter les archivoltes des fenêtres éclairant les chapelles au nord de la cathédrale d'Amiens, et ces chapelles datent de 1375.

Voici comme se tracent les contre-courbes; en règle générale, les contre-courbes prennent d'autant moins d'importance que les arcs sont plus aigus. Ainsi (1) soit un arc brisé ABC, ayant les centres des deux courbes en A et B: c'est un arc en tiers-point parfait. Dans ce cas, les contre-courbes ne prennent guère naissance qu'au cinquième de la courbe en D. Tirant une ligne de B en D et la prolongeant jusqu'à sa rencontre avec l'axe OX de l'arc, puis une seconde ligne de A en D également prolongée, on élève une perpendiculaire sur le milieu de la ligne DE. La rencontre de cette perpendiculaire avec la ligne AD prolongée donne le point F, qui est le centre d'une des contre-courbes, lesquelles devront dès lors se toucher au point E. Si l'arc est moins aigu et que ses centres soient placés aux points G qui divisent la base de cet arc en trois parties, chaque courbe sera divisée en quatre parties, et la naissance de la contre-courbe sera en H. On procédera comme ci-dessus, tirant une ligne IH prolongée jusqu'à sa rencontre avec l'axe OX, puis une seconde ligne GH prolongée; on élèvera une perpendiculaire sur le milieu de la ligne HK, et la rencontre de cette perpendiculaire avec la ligne GH prolongée donnera en L le centre de la contre-courbe. Si l'arc est plein cintre ou surbaissé, ainsi qu'il arrive fréquemment au commencement du XVIe siècle (tracé P), la contre-courbe prendra naissance en R, moitié du quart de cercle ST, et, employant la même méthode, on obtiendra la contre-courbe RV. Les profils de l'archivolte étant UU', l'opération devra être faite sur l'arête Z du membre saillant de cette archivolte; on obtiendra ainsi le tracé Y, de manière que les différents membres a des moulures aient leur contre-courbe pénétrant dans la courbe maîtresse. Quant à l'espace b, il ne se creuse pas habituellement plus profondément que le nu d du mur, et il se décore d'ornements, de bas-reliefs, ou reste plat; le membre saillant seul de l'archivolte forme la contre-courbe. Au XVIe siècle, on rencontre souvent des archivoltes à contre-courbes brisées, ainsi que l'indique le tracé Q, les rayons gh, iR étant égaux entre eux. Ce sont ces abus des formes de l'art gothique qui ont été repoussés avec raison par les architectes de la renaissance, et il faut dire que c'est presque toujours sur ces abus que l'on veut juger cet art, qui certes pouvait se passer de recherches d'autant moins motivées qu'elles contrarient l'appareil et gênent le constructeur. Mais les architectes des derniers temps du moyen âge avaient été amenés peu à peu à surmonter les arcs brisés de ce membre inutile par la prédominance croissante de la ligne verticale sur la ligne horizontale. Les arcs brisés eux-mêmes leur semblaient contrarier, par leur courbe terminée au sommet, les lignes ascendantes des édifices; il fallait que ces arcs arrivassent, comme toutes les parties de l'architecture, à la ligne verticale. On est toujours disposé à l'indulgence pour les artistes qui, bien qu'engagés dans une voie fausse, rachètent le vice du principe par une exécution parfaite et un certain goût dans les détails. C'est ce qui arrive lorsque l'on examine nos édifices de la fin du XVe siècle. Sans approuver les abus dans lesquels ils tombent, la recherche dans la combinaison des formes, on est souvent séduit par le charme qu'ils ont su répandre dans les infinis détails de ces combinaisons. Les artistes de l'Île-de-France ont été les seuls qui, à cette époque de décadence, aient su conserver une certaine modération; chez eux on aperçoit toujours la marque d'un goût épuré, même à travers leurs erreurs. Et pour ne parler ici que des contre-courbes surmontant les archivoltes, nous les voyons dans cette province privilégiée, donner à cette singulière innovation des formes, des proportions relatives, que l'on ne pourrait trouver ailleurs. Ils se gardent d'appliquer les contre-courbes à de grandes archivoltes, ce qui est toujours d'un effet lourd et disgracieux; ils les tracent seulement au-dessus d'arcs secondaires, et souvent ils dissimulent leur aiguïté supérieure en rectifiant quelque peu la courbe donnée par le trait de compas. Il nous suffira d'un exemple pour faire ressortir cette observation. Dans la cour du charmant hôtel de la Trémoille que nous avons vu démolir en 1841 (non sans regrets, car cette destruction a été un acte de vandalisme inutile et auquel il eût été facile de ne pas se livrer), il existait une tourelle dont la partie saillante était portée sur deux colonnes 53. Une archivolte surmontait ces deux points d'appui, et elle était taillée à contre-courbure. (Voir ci-contre la fig. 2.)

On voit qu'ici l'architecte a tracé les contre-courbes, non point seulement au moyen de deux traits de compas, mais en rectifiant l'aiguïté, ainsi que nous venons de le dire. Cette archivolte n'a qu'un mètre environ d'ouverture et n'est point appareillée en claveaux; sa partie supérieure est prise dans une seule assise reposant sur deux sommiers. Ce n'est donc qu'une décoration, et les contre-courbes marient adroitement le sommet de l'arc avec les nombreux membres verticaux dont la tourelle est garnie du haut en bas. Il en est de cet exemple comme de toute oeuvre d'art: chacun peut connaître la règle, mais il n'y a que les artistes de goût qui savent l'appliquer comme il convient. Dans les monuments nombreux du XVe siècle qui couvrent la France et l'Allemagne, les contre-courbes sont rarement tracées avec autant de finesse; leurs naissances, placées trop bas ou trop haut, écrasent l'arc inférieur ou ne se marient pas avec ses branches. Ajoutons que les contre-courbes ne produisent jamais un bon effet que lorsqu'elles surmontent des arcs d'un petit diamètre.
Note 53: (retour) Quelques fragments de cet hôtel sont aujourd'hui déposés dans l'avant-cour de l'École des beaux-arts.
CONTRE-FICHE, s. f. Pièce de charpente inclinée, dont la fonction est de servir d'étai dans la charpenterie (voy. CHARPENTE). La pièce A (1) est une contre-fiche.

CONTRE-FORT, s. m. Pilier, pilare. C'est un renfort de la maçonnerie élevé au droit d'une charge ou d'une poussée. Il n'est pas nécessaire d'expliquer ici la fonction du contre-fort, cette fonction étant longuement développée dans l'article CONSTRUCTION. Nous nous bornerons à signaler les différentes formes apparentes données aux contre-forts dans les édifices religieux et civils, et les transformations que ce membre de l'architecture a subies du Xe au XVIe siècle.
Les Romains, ayant adopté la voûte d'arête dans leurs édifices, durent
nécessairement chercher les moyens propres à maintenir l'effet de
poussée de ces voûtes. Ils trouvèrent ces masses résistantes dans la
combinaison du plan des édifices, ce que l'on peut reconnaître en
visitant les salles des Thermes, et particulièrement l'édifice connu à
Rome sous le nom de basilique de Constantin. Mais lorsque les barbares
s'emparèrent des dernières traditions de l'art de la construction
laissées par les Romains, ils ne trouvèrent pas des artistes assez
savants ou éclairés pour comprendre ce qu'il y a de sage et de raisonné
dans les plans des édifices voûtés de l'antiquité romaine; cherchant à
imiter les plans des basiliques latines, voulant voûter d'abord les nefs
latérales, ils furent conduits forcément à résister extérieurement à la
poussée de ces voûtes par des renforts en maçonnerie auxquels ils
donnèrent d'abord l'apparence de colonnes ou demi-cylindres engagés,
puis bientôt de piliers carrés montant jusqu'aux corniches.
Parmi les contre-forts les plus anciens du moyen âge, on peut citer ceux qui maintiennent les murs de l'église de Saint-Remy de Reims (Xe siècle). Ce sont des demi-cylindres (1) consolidant les murs des collatéraux au droit des poussées des voûtes, et les murs de la nef centrale au droit des fermes de la charpente; car alors cette nef centrale n'était point voûtée. Ces contre-forts primitifs sont couronnés soit par des cônes, soit par des chapiteaux qui souvent ne portent rien. La forme cylindrique fut bientôt abandonnée dans le nord pour les contre-forts, tandis que cette forme persiste dans l'ouest jusque vers le milieu du XIIe siècle. On voit encore, dans le Beauvoisis, quantité d'églises ou d'édifices monastiques qui adoptent la forme angulaire pour les contre-forts, très-large à la base et assez étroite au sommet pour ne pas dépasser la saillie de la corniche. Nous en donnerons ici un exemple, tiré de la petite église d'Allonne, dont le chevet paraît avoir été construit vers la fin du XIe siècle(2).

Ces contre-forts maintiennent la poussée des voûtes d'arête, et ils sont composés de façon à pouvoir former retour d'équerre, ainsi que l'indique le plan A. Leur sommet, qui n'est plus qu'un pilastre de 0,20 c. de saillie environ, est terminé par un ornement sculpté B, figurant à peu près un chapiteau sur lequel repose la tablette servant de corniche. Cependant les contre-forts rectangulaires primitifs, peu saillants, sont généralement couronnés et empattés, ainsi que l'indique la fig. 3, dans l'Île-de-France, la Champagne, la Bourgogne et la Normandie; mais dans cette dernière province, dès le XIe siècle, ils se composent souvent de deux ou trois corps retraités en section horizontale, tandis qu'en élévation ils montent de fond, sans ressauts: tels sont les contre-forts qui flanquent la façade de l'église abbatiale de Saint-Étienne à Caen (4). D'ailleurs, contrairement à la méthode bourguignonne et champenoise, ces contre-forts normands anciens, dans les constructions monumentales, sont élevés en assises basses, régulières, de même hauteur que celles composant les parements des murs et se reliant parfaitement avec elles. Mais dans les bâtisses élevées avec économie, n'ayant que des murs en moellonnages enduits, les contre-forts normands se composent d'assises inégales et souvent de carreaux posés en délit. Alors, quelquefois, les fenêtres éclairant les intérieurs sont percées dans l'axe même des contre-forts; c'est un moyen d'éviter les fournitures de pierres qui devraient être faites pour former les jambages et archivoltes de ces fenêtres, si elles étaient percées entre les contre-forts. Il est entendu que ces baies ouvertes au milieu des piles ne peuvent appartenir qu'à des édifices non voûtés et couverts par des lambris en charpente.

Nous connaissons plusieurs exemples de cette disposition singulière, l'un dans l'église de Saint-Laurent près Falaise (5), l'autre dans celle de Montgaroult (Orne)(6), un troisième à Écajeul près Mézidon 54.

Nous donnons ailleurs, à l'article CONSTRUCTION, les procédés d'appareil employés pendant l'époque romane pour élever des contre-forts en pierre et les relier aux murs. Nous n'aurons donc à nous occuper ici que des formes données à ces points d'appui pendant le moyen âge.
On admettra facilement que les édifices étant très-simples à l'extérieur, avant le XIIe siècle, les contre-forts dussent participer à cette simplicité et qu'ils dussent aussi présenter des saillies assez faibles, puisque les murs étaient eux-mêmes très-épais. En effet, ils n'étaient guère alors qu'une chaîne de pierre, saillante, renforçant les points d'appui principaux, et ils étaient terminés à leur sommet ainsi que l'indiquent les figures précédentes, ou ils se trouvaient couverts par la tablette de la corniche, conformément au tracé (7), ne débordant pas la saillie de celle-ci.

Mais lorsque au XIIe siècle le système de construction employé jusqu'alors fut modifié par l'école laïque, que cette école, laissant de côté les traditions romaines, put appliquer avec méthode les principes de la construction gothique, le contre-fort devint le membre principal de tout édifice voûté. Les murs ne furent plus que des remplissages destinés à clore les vaisseaux, des sortes d'écrans, n'ajoutant rien ou peu de chose à la stabilité. À l'extérieur alors, les contre-forts constituant à eux seuls les édifices couverts par des voûtes en maçonnerie, il fallut faire apparaître franchement leur fonction, leur donner des formes en rapport avec cette fonction, et les décorer autant que peut l'être tout membre d'architecture qui doit non-seulement être solide, mais conserver encore l'apparence de la force. Ce n'est cependant que par des transitions que les premiers architectes gothiques arrivent à oser donner aux contre-forts l'importance qu'ils devaient prendre dans des constructions de ce genre. Leurs premiers essais sont timides; les traditions de l'architecture romane ont sur eux un reste d'influence à laquelle ils ne peuvent se soustraire brusquement. Il est clair que tout en voulant adopter, à l'intérieur, leur nouveau système de voûtes, ils cherchent à conserver, à l'extérieur des édifices, l'apparence romane à laquelle les yeux s'étaient habitués, ou que si, par force, les contre-forts doivent présenter un relief assez considérable sur le nu des murs, ils essayent de rappeler, dans la manière de les décorer, des formes d'architecture qui appartiennent plutôt à des piliers portant une charge verticale qu'à des piliers buttants. Ces tentatives sont évidentes dans le Beauvoisis, fertile en édifices voûtés de l'époque de transition. Nous en donnons deux exemples à nos lecteurs.

Le contre-fort (8) épaule le mur des collatéraux de la nef de l'église de Saint-Étienne de Beauvais (XIIe siècle); il est, comme toute la maçonnerie de cet édifice, construit en petits matériaux, et les colonnettes supérieures paraissant supporter la corniche sont montées en assises se reliant à la bâtisse.

Le contre-fort (9), plus saillant que ceux de l'église de Saint-Étienne, appartient à l'ancienne collégiale de Saint-Évremont à Creil (XIIe siècle). On voit ici que l'architecte n'a eu d'autre idée, pour décorer ce pilier buttant, que de lui donner l'apparence d'un pilastre décoré de chapiteaux. Ne sachant trop comment amortir ce pilier, il l'a couvert d'un talus en pierre décoré d'écailles simulant des tuiles. Le parti de décorer les contre-forts par des colonnettes engagées aux angles et destinées à en dissimuler la sécheresse appartient, pendant les XIIe et XIIIe siècles, presque exclusivement aux bassins de l'Oise et de l'Aisne. Mais on s'aperçoit néanmoins que les architectes de cette contrée, déjà fort habiles, au XIIe siècle, dans la construction des voûtes, sont assez embarrassés de savoir comment faire concorder les retraites successives qu'ils doivent donner aux piliers buttants pour résister aux poussées obliques des voûtes avec l'apparence de support vertical conservé à ces piliers. On reconnaît la trace de ces incertitudes dans les contre-forts d'angle de la tour sud de l'église de Saint-Leu d'Esserent, contre-fort dont nous donnons les membres superposés (10).

À propos de ces contre-forts d'angle, il faut ici observer qu'il se présentait une difficulté à laquelle les architectes du XIIe siècle ne donnèrent pas tout d'abord la solution la plus naturelle. Si ces contre-forts épaulaient une tour, par exemple, dont les murs, à cause de leur élévation, doivent se retraiter à chaque étage, il arrivait que, plantant leurs contre-forts à rez-de-chaussée, ainsi que l'indique la fig. 11, ils ne savaient comment relier la tête de ces contre-forts avec le point B, angle de l'étage supérieur de la tour; il leur fallait élever les parements EF de ces contre-forts verticalement et retraiter les parements GH pour atteindre ce point B, ce qui produisait un mauvais effet, les contre-forts paraissant s'élever de travers, ainsi que le démontre la fig. 10. Pour éviter ce défaut, le moyen était bien simple; aussi, après quelques tâtonnements, fut-il employé: c'était (11 bis) d'élever les contre-forts au droit des parements intérieur et extérieur de l'étage supérieur ABC, et de laisser ressortir dans l'angle K les empattements des étages inférieurs des murs. Cette méthode fut, depuis lors, invariablement suivie par les constructeurs gothiques.

Sur les parois de l'église de Saint-Martin de Laon, citée plus haut, et dont la construction date du milieu du XIIe siècle, on voit déjà des contre-forts composés avec art et se reliant bien à la bâtisse. Le pignon du transsept méridional de cette église possède des contre-forts d'angle qui se retraitent adroitement, et un contre-fort posé dans l'axe sous la rose, afin de bien épauler le mur (voy. PIGNON). Le bandeau, sous les fenêtres inférieures, pourtourne ces contre-forts et sert de première assise au talus de leur seconde retraite. Au-dessus ce sont les tailloirs des chapiteaux de ces mêmes fenêtres qui commencent la troisième retraite, plus forte sur la face que sur les côtés, afin de ne pas diminuer trop brusquement la largeur de ces piles. Le contre-fort central seul reçoit un troisième bandeau se mariant avec les archivoltes des secondes fenêtres, tandis que les contre-forts d'angle s'arrêtent, par un simple talus, sous ce bandeau. Avec cette liberté, qui est une des qualités de l'architecture du XIIe siècle au moment où elle quitte les traditions romanes, les constructeurs de l'église de Saint-Martin de Laon, ayant eu l'idée de placer dans les bras de croix trois chapelles carrées orientées, et voulant voûter ces bras au moyen de deux voûtes d'arête seulement, ont dû élever un contre-fort dans l'axe de la chapelle du milieu. Voici comme ils ont procédé pour résoudre ce problème: sur les murs séparatifs des chapelles, ils ont construit deux contre-forts A, A (12), réunis par un arc en tiers-point; puis, sur la clef de cet arc, ils ont élevé le contre-fort B destiné à contre-butter l'arc doubleau et les arcs ogives de la voûte haute. Cette disposition leur a permis de percer une fenêtre sous le contre-fort B, afin d'éclairer le bras de croix au-dessus de l'archivolte d'entrée de la chapelle centrale. Nous voyons encore, à l'extérieur de l'abside de l'église conventuelle de Saint-Leu d'Esserent, une chapelle centrale à deux étages dont les contre-forts supérieurs portent sur les archivoltes des fenêtres inférieures. La pesanteur de ces contre-forts se répartit sur les jambages et trumeaux séparant ces fenêtres. Au XIIIe siècle, les architectes renoncent à chevaucher ainsi les pleins et les vides, les contre-forts portent de fond; cependant il y avait, dans ce procédé de bâtir, une ressource précieuse, en ce qu'elle permettait de diviser inégalement les différents étages d'un édifice, ce qui, dans bien des cas, est commandé par les dispositions intérieures. Jusqu'à la fin du XIIe siècle, on n'avait point encore songé à augmenter la stabilité des contre-forts au moyen d'une charge supérieure; on cherchait à les rendre stables par leur masse et l'assiette de leur section horizontale. Cependant nons voyons déjà, dans l'exemple précédent (fig. 12), que la tête du contre-fort dépasse la corniche de l'édifice et qu'elle est chargée d'un pinacle 55. Mais lorsque les constructeurs diminuèrent les surfaces occupées par les points d'appui, ils suppléèrent à la faible section horizontale de ces points d'appuis par des charges supérieures.

Avant de faire connaître les progrès successifs de la construction du
contre-fort pendant le XIIIe siècle, nous devons signaler certaines
variétés de ce membre important de l'architecture dans les principales
provinces. Dans l'Île-de-France, la Champagne et la Normandie, les
contre-forts affectent généralement la forme rectangulaire, et ils
prennent, dès l'époque romane, l'apparence qui leur convient, celle d'un
pilier buttant, d'une masse résistante. Mais dans les provinces où les
traditions gallo-romaines s'étaient conservées, comme en Bourgogne, en
Auvergne, dans le Poitou, la Saintonge et le Languedoc, jusqu'à la fin
du XIIe siècle, les architectes cherchent à donner à leurs contre-forts
l'apparence d'une ordonnance romaine, c'est-à-dire qu'ils les composent
d'une ou de plusieurs colonnes engagées, surmontées de leurs chapiteaux,
et portant l'entablement, réduit à une simple tablette moulurée.
Nous voyons, à l'extérieur des chapelles absidales des églises d'Auvergne, d'une partie de la Guyenne, du Bas-Languedoc et du Poitou, des contre-forts composés d'après ce système (voy. CHAPELLE, fig. 27 et 33). En Bourgogne, souvent ces contre-forts-colonnes se terminent par un talus posé sur le chapiteau, ainsi que le fait voir la fig. 13 56. Quelquefois même, les contre-forts du XIIe siècle, dans la Haute-Marne et le long de la Saône, affectent, sur leur face antérieure, la forme de pilastres romains cannelés, avec chapiteaux imités de l'ordre corinthien, comme autour de l'abside de la cathédrale de Langres. Les contre-forts des chapelles absidales de l'église Notre-Dame de Châlons-sur-Marne ne sont que des colonnes engagées, cannelées, dont les chapiteaux portent des statuettes couvertes de dais se mariant avec la corniche. Ces traditions furent complétement rejetées par les artistes du XIIIe siècle. Dans l'architecture de cette époque, et lorsque l'art gothique est franchement adopté, le contre-fort est un contre-fort, et n'essaye plus de se cacher sous une forme empruntée à l'architecture antique. Nous avons un exemple remarquable du contre-fort gothique primitif dans l'abside de l'église de Vétheuil près Mantes. Nous donnons (14) l'élévation de ces contre-forts, et (15) leur plan, à la hauteur du passage extérieur qui règne au-dessous des appuis des fenêtres tout au pourtour du chevet.


Il n'est pas douteux qu'ici l'architecte a voulu opposer à la courbe des pressions exercées par les arcs de la voûte une buttée oblique, résistante par sa masse et par la coupe de son profil, composée d'une succession de retraites, mais qu'il n'a pas songé encore à neutraliser la poussée oblique par une surcharge verticale. On s'aperçut bientôt que ces glacis répétés étaient dégradés par les eaux pluviales tombant en cascade de l'un sur l'autre; qu'il n'était pas besoin de donner aux contre-forts une largeur aussi forte, puisque la résultante des poussées n'agissait que dans leur axe, et qu'il suffisait d'assurer leur stabilité par une largeur proportionnée à leur hauteur, en les considérant comme des portions de murs. Les contre-forts des chapelles absidales de la cathédrale du Mans, bâties vers 1220, en conservant le principe admis à Vétheuil, présentent déjà un perfectionnement sensible.

Ces contre-forts (16) se retraitent au-dessus de chaque glacis, et ils sont couronnés par des gargouilles qui jettent les eaux du comble loin des retraites supérieures. Il faut dire que ces chapelles sont bâties sur le penchant d'un escarpement, et qu'il a fallu donner aux contre-forts un empattement considérable pour maintenir la construction, dont le sol intérieur est élevé de cinq mètres environ au-dessus du sol extérieur. Vers le milieu du XIIIe siècle, les architectes renoncèrent définitivement aux glacis: ils montèrent leurs contre-forts verticalement sur les faces latérales, sauf un empattement à la base, en les retraitant de quelques centimètres seulement sur leur face antérieure au-dessus de chaque bandeau ou larmier qui protégeait les parements de ces faces à différentes hauteurs. C'est ainsi que sont construits les contre-forts de la Sainte-Chapelle du Palais à Paris et ceux des chapelles absidales de la cathédrale d'Amiens (voy. CHAPELLE, fig. 3 et 40). Les contre-forts conservant ainsi à leur sommet une saillie à peu près égale à celle de leur plan au niveau du sol, on eut l'idée de les couronner par la corniche qui servait de chéneau et de placer aux angles saillants de cette corniche ou au milieu de leur larmier des gargouilles qui, dans cette position, rejetaient les eaux pluviales loin des parements. Au-dessus de la corniche, on éleva des pinacles qui, par leur poids, augmentaient la stabilité des contre-forts. La construction devenant, à la fin du XIIIe siècle, de plus en plus légère, les architectes, cherchant sans cesse les moyens de diminuer le cube des matériaux en conservant la stabilité de leur bâtisse par des charges verticales, n'élevèrent souvent alors leurs contre-forts que jusqu'au point de la poussée des voûtes, et, sur ces piles engagées, ils montèrent des pinacles détachés de la construction n'ayant plus d'autre effet que de charger la portion buttante des piles. On trouve un des meilleurs exemples de cette sorte de construction autour des chapelles absidales de la cathédrale de Séez (fin du XIIe siècle) (17).

La poussée des voûtes n'agit pas au-dessus du niveau A. Là, le contre-fort se termine par un pignon et cesse de se relier à l'angle de la chapelle; à cheval sur le pignon, s'élève un pinacle détaché B, relié seulement à la bâtisse par la gargouille qui le traverse et par le bloc C qui participe à la balustrade. Ainsi, ce pinacle charge le contre-fort, sert de support à la gargouille, maintient l'angle saillant de la balustrade, n'a pas l'apparence lourde du contre-fort montant d'une venue jusqu'à la corniche, et sert de transition entre les parties inférieures massives et la légèreté des couronnements, en donnant de la fermeté aux angles saillants des chapelles.
Vers le milieu du XIIIe siècle, dans les édifices religieux et les salles voûtées, les architectes avaient pris le parti de supprimer entièrement les murs et d'ouvrir, sous les formerets des voûtes, des fenêtres qui occupaient l'intervalle laissé entre deux contre-forts (voy. ARCHITECTURE RELIGIEUSE, CONSTRUCTION). Cette disposition, donnée par le système de la construction qui tendait de plus en plus à reporter la charge sur ces contre-forts, donnait une apparence très-riche à l'extérieur des édifices, en occupant par des fenestrages à meneaux tous les espaces laissés libres, mais faisait d'autant plus ressortir la nudité des piles extérieures auxquelles il fallait donner une grande solidité. Les architectes furent donc entraînés à décorer aussi les contre-forts, afin de ne pas présenter un contraste choquant entre la légèreté des fenestrages et la lourdeur des piles. C'est ainsi qu'au commencement du XIIIe siècle déjà nous voyons les contre-forts de la cathédrale de Chartres se décorer de niches et de statues. Cette ornementation, d'abord timide, renfermée dans la silhouette donnée par la bâtisse, se développe promptement; elle se marie avec les pinacles supérieurs comme autour de la nef de la cathédrale de Reims (voy. PINACLE), comme aussi sur la face occidentale de la grand'salle synodale de Sens (voy. SALLE), vers 1240. Jusqu'au XVe siècle, cependant, les contre-forts conservent l'aspect de force et de solidité qui leur convient; pendant le XIVe siècle même, il semble que les architectes renoncent à décorer leurs faces: ils se contentent de les surmonter de pinacles très-élevés et très-riches, comme autour des chapelles de la cathédrale de Paris. Mais n'oublions pas que le XIVe siècle, qui souvent tombe dans l'excès de légèreté, est généralement sobre de sculpture. Parmi les contre-forts les plus richement ornés de la fin du XIIIe siècle et du commencement du XIVe, on peut citer ceux du choeur de l'église de Saint-Urbain de Troyes. La décoration de ces contre-forts ne consiste toutefois qu'en un placage de pierres en délit superposées et attachées par des crampons aux piles construites en assises (voy. CONSTRUCTION, fig. 103). Ce système de revêtements décoratifs, fort en usage au XIIIe siècle, est complétement abandonné par les architectes du siècle suivant, qui sont avant tout des constructeurs habiles, et ne laissent à l'imagination de l'artiste qu'une faible place.

Vers la fin du XIVe siècle, on commence à modifier l'épannelage des contre-forts, qui jusqu'alors conservaient leurs faces parallèles et perpendiculaires au nu des murs; on cherche à dissimuler la rigidité de leurs angles, à diminuer l'obscurité produite par leurs fortes saillies, en posant leurs assises diagonalement, ainsi que l'indique la fig. 18. Au moyen des pans abattus AB, on obtenait des dégagements; les fenestrages placés entre eux étaient moins masqués et recevaient plus de lumière du dehors. Les deux carrés se pénétrant, corne en face, permettaient une superposition de pyramides d'un effet assez heureux. Il existe de très-jolis contre-forts construits d'après ce système le long des chapelles de la nef de la cathédrale d'Évreux (19).

L'époque gothique à son déclin ne fit que surcharger de détails ces membres essentiels de l'architecture, au point de leur enlever leur caractère de piliers de renfort. Leurs sections horizontales ne présentèrent plus que d'étranges complications de courbes et de carrés se pénétrant, laissant des niches pour des statuettes, formant des culs-de-lampe pour les supporter; tout cela tracé et taillé avec une science et une perfection extraordinaires, mais ne présentant aux yeux, après tant d'efforts et de difficultés d'exécution, que confusion. Celui qui veut se rendre compte, par exemple, du tracé des gros contre-forts qui épaulent la façade occidentale de la cathédrale de Rouen, et qui furent élevés au commencement du XVIe siècle sous le cardinal d'Amboise, peut passer un mois entier à relever leurs plans, à comprendre les pénétrations des centaines de prismes qui les composent; et cependant ce travail et cette recherche ne produisent, en exécution, qu'un effet désagréable.
Les contre-forts du XVe siècle et du commencement du XVIe se composent généralement d'un corps dont les faces se coupent et se pénètrent suivant des angles à 45 degrés. Ainsi la base est carrée, présentant une face parallèle au mur et deux faces perpendiculaires à ce mur. Au-dessus de la première retraite, le carré, au lieu de présenter un de ses côtés sur la face, présente un angle; les deux côtés diagonaux alors sont flanqués jusqu'à une certaine hauteur de deux appendices à base carrée, les faces parallèles aux faces de la génératrice, et formant des prismes terminés par des pyramides; au-dessus, le contre-fort se présente d'angle et porte des pignons, puis son pinacle.

Le plan (20) donne la
section horizontale de ces sortes de contre-forts, et l'élévation (21)
leur aspect. Ce principe, pendant les derniers temps de l'architecture
gothique, est appliqué avec une monotonie désespérante. Quelquefois, ces
carrés, posés leurs faces parallèles aux parements ou diagonalement, se
subdivisent encore, se creusent en niches, se couvrent d'un plus ou
moins grand nombre de profils; mais le principe est toujours le même
(voy. PINACLE, TRAIT). C'est encore dans l'Île-de-France que les abus de
ces pénétrations sont le moins fréquents et que l'on rencontre,
jusqu'aux derniers efforts du gothique, un goût fin; que l'on sent, chez
les architectes, une sorte de répulsion pour les exagérations.
Le joli hôtel de la Trémoille à Paris, dont la démolition est à jamais regrettable, et qui avait été bâti dans les premières années du XVIe siècle, conservait, au milieu du luxe d'architecture de cette époque, cette sobriété dans les détails et cette raison dans la composition sans lesquelles toute oeuvre d'architecture fatigue les yeux. Un portique voûté, ouvert sur la cour, régnait le long du bâtiment bâti sur la rue. Ces voûtes reposaient sur des piles grêles épaulées par des nerfs saillants tenant lieu de contre-forts et donnant de l'assiette à ces piles 57. Les archivoltes des portiques pénétraient dans les faces obliques des contre-forts, de manière à marier les courbes avec les points d'appui verticaux. À l'hôtel de la Trémoille, on ne trouvait pas ces surcharges de dais, de culs-de-lampe, ces pénétrations de prismes qui donnent à un édifice l'apparence d'une oeuvre d'orfévrerie faite pour être curieusement examinée de près. La construction de cette habitation était si bien entendue que, malgré l'extrême légèreté des piles et la poussée des voûtes, rien n'avait bougé; cependant, lorsque la démolition se fit, on ne trouva aucun chaînage de fer au niveau du premier étage. Il va sans dire qu'au niveau des naissances des arcs des voûtes on n'avait pas placé, comme dans les portiques de l'architecture italienne, ces barres de fer horizontales qui accusent si brutalement l'impuissance des constructeurs.
La renaissance se trouva évidemment fort embarrassée lorsque la nécessité l'obligeait à placer des contre-forts à l'extérieur des édifices pour résister à des poussées. Elle n'imagina rien de mieux que de les décorer de pilastres ou de colonnes empruntées à l'art romain. Quelquefois, comme dans la cour du château vieux de Saint-Germain-en-Laye, elle les réunit aux différents étages de la construction par des arcs formant galerie ou balcons; mais c'était encore là une tradition gothique dont nous indiquons l'origine dans notre article sur la CONSTRUCTION, fig. 120. Elle ne tarda pas à s'éteindre comme les autres, et lorsqu'il fallut absolument établir des contre-forts devant les façades des bâtiments religieux ou civils, on superposa des ordres romains les uns sur les autres. Si cette application singulière des ordres antiques produisit un grand effet (ce que nous nous garderons de décider, puisque c'est matière de goût), elle eut pour résultat de dissimuler la véritable fonction du contre-fort; comme construction, d'occasionner des dépenses inutiles et d'étager plusieurs corniches les unes sur les autres: or, ces corniches répétées ont l'inconvénient d'arrêter les eaux pluviales et de faire pénétrer l'humidité dans les maçonneries. Mais n'oublions pas que l'affaire importante, pour les architectes, depuis la fin du XVIe siècle, c'était de chercher des prétextes pour placer des colonnes, n'importe où ni comment. Chacun voulait avoir élevé un ou plusieurs ordres, et tout le monde trouvait cela fort beau. Dès l'instant qu'en architecture on sort des règles imposées par le bons sens et la raison, nous avouons que, pour nous, il importe assez peu que les formes adoptées soient empruntées aux Romains ou aux gothiques. On a fini par considérer le contre-fort comme un aveu d'impuissance, et par les supprimer dans les constructions modernes; mais comme il faut que les maçonneries se tiennent debout, que les poussées soient contre-buttées et que le dévers ou le bouclement des murs soit arrêté dans des bâtiments vastes, on a pris le parti de donner aux murs l'épaisseur qu'on eût dû donner seulement à quelques piles isolées, aux contre-forts en un mot. Les maçonneries étant estimées en raison du cube en oeuvre, c'est ainsi qu'on est arrivé à payer très-cher le plaisir de dire et de répéter que les constructeurs gothiques étaient des barbares; et ce qui est plaisant, c'est d'entendre dire très-sérieusement à ceux qui payent ces gros murs inutiles, que les contre-forts accusent l'ignorance des constructeurs.
Note 54: (retour) Ces deux dessins nous sont fournis par M. Ruprich Robert, à qui nous devons une excellente restauration de l'église de la Trinité de Caen.
Note 55: (retour) Le pinacle actuel a dû être refait au XIVe siècle; mais on voit qu'il en existait un au XIIe siècle.
Note 56: (retour) De l'obédience de Saint-Jean-les-Bons-Hommes, près Avallon (voy. ARCHITECTURE MONASTIQUE, fig. 12, XIIe siècle). Ici le glacis qui termine le chapiteau est taillé dans un seul morceau de pierre.
Note 57: (retour) Voy. Archit. civ. et domest., de MM. Verdier et Cattois, t.II.
COQ, s. m. Guillaume Durand 58, dans son Rational des divins offices, s'exprime ainsi à propos du coq qui surmonte le point culminant de l'église en Occident:
«Le coq, placé sur l'église, est l'image des prédicateurs, car le coq veille dans la nuit sombre, marque les heures par son chant, réveille ceux qui dorment, célèbre le jour qui s'approche; mais d'abord il se réveille et s'excite lui-même à chanter, en battant ses flancs de ses ailes. Toutes ces choses ne sont pas sans mystère; car la nuit, c'est ce siècle; ceux qui dorment, ce sont les fils de cette nuit, couchés dans leurs iniquités; le coq représente les prédicateurs qui prêchent à voix haute et réveillent ceux qui dorment, afin qu'ils rejettent les oeuvres de ténèbres, et ils crient: «Malheur à ceux qui dorment! lève-toi, toi qui dors!» Ils annoncent la lumière à venir, lorsqu'ils prêchent le jour du jugement et la gloire future; mais, pleins de prudence, avant de prêcher aux autres la pratique des vertus, ils se réveillent du sommeil du péché et châtient leur propre corps. L'apôtre lui-même en est témoin, quand il dit: «Je châtie mon corps, et je le réduis en servitude, de peur que par hasard, après avoir prêché aux autres, je ne vienne moi-même à être réprouvé.» Et de même que le coq, les prédicateurs se tournent contre le vent, quand ils résistent fortement à ceux qui se révoltent contre Dieu, en les reprenant et en les convainquant de leurs crimes, de peur qu'ils ne soient accusés d'avoir fui à l'approche du loup. La verge de fer sur laquelle le coq est perché représente la parole inflexible du prédicateur, et montre qu'il ne doit pas parler de l'esprit de l'homme, mais de celui de Dieu, selon cette parole: «Si quelqu'un parle, que ce soit les discours de Dieu...» Et parce que cette verge elle-même est posée au-dessus de la croix ou du faîte de l'église, cela signifie que les Écritures sont consommées et confirmées...»
Ainsi donc, au XIIIe siècle, il était bien entendu que le coq placé au sommet des clochers était un symbole; de plus, il est clair que ce coq était mobile et servait de girouette. Mais, bien avant cette époque, il est question de coqs posés sur les flèches des églises. La tapisserie de Bayeux, qui date au moins du commencement du XIIe siècle, nous représente un coq sur l'église abbatiale de Westminster, et ce coq, contrairement aux usages modernes, a les ailes éployées 59.
Walstan, auteur du Xe siècle, dans le livre de la Vie de saint Switin, parle d'une manière assez poétique du coq placé au sommet de l'église que l'évêque Elfège avait fait bâtir à Winchester 60:
«Un coq d'une forme élégante, et tout resplendissant de l'éclat de l'or, occupe le sommet de la tour; il regarde la terre de haut, il domine toute la campagne. Devant lui se présentent et les brillantes étoiles du nord et les nombreuses constellations du zodiaque. Sous ses pieds superbes, il tient le sceptre du commandement, et il voit au-dessous de lui tout le peuple de Winchester. Les autres coqs sont les humbles sujets de celui qu'ils voient ainsi planant au milieu des airs, et commandant avec fierté à tout l'Occident; il affronte les vents qui portent la pluie, et, se retournant sur lui-même, il leur présente audacieusement sa tête. Les efforts terribles de la tempête ne l'ébranlent point, il reçoit avec courage et la neige et les coups de l'ouragan; seul il a aperçu le soleil à la fin de sa course se précipitant dans l'océan, et c'est à lui qu'il est donné de saluer les premiers rayons de l'aurore. Le voyageur qui l'aperçoit de loin fixe sur lui ses regards; sans penser au chemin qu'il a encore à faire, il oublie ses fatigues; il s'avance avec une nouvelle ardeur. Quoiqu'il soit encore en réalité assez loin du terme, ses yeux lui persuadent qu'il y touche.»
Ce symbole de vigilance, de lutte contre les efforts du vent, placé au point le plus élevé des monuments religieux, appartient à l'Occident. Il n'est pas question de coqs placés sur les clochers des églises de l'Italie méridionale. Serait-ce pour cela qu'on les a enlevés de la plupart de nos églises? ou que du moins on ne les replace pas généralement lorsqu'on les restaure?
Nous n'avons point trouvé de coqs de clochers d'une époque ancienne, ou ceux que nous avons pu voir étaient d'un dessin et d'un travail si grossier que nous ne croyons pas nécessaire de les reproduire ici. Nous ne pouvons que souhaiter que les coqs reprennent leur ancienne place; ne fût-ce que comme girouettes, ils ont leur utilité.
Note 58: (retour) Rational, l. I, ch. 1, § XXII.
Note 59: (retour) Nous renvoyons nos lecteurs à la savante dissertation de M. Barraud sur les coqs des églises. (Bull. monum., t. XVI, p. 277.)
Note 60: (retour) Nous empruntons cette traduction à la notice de M. Barraud.
CORBEAU, s. m. Support de pierre ou de bois formant saillie sur le parement d'un mur, ayant sa face antérieure moulurée ou sculptée, présentant ses deux faces latérales droites, et recevant, soit une tablette de corniche, soit un bandeau, ou encore une naissance de voûte, une pile en encorbellement, un linteau de porte, une poutre-maîtresse, etc. L'origine véritable du corbeau est donnée par la saillie que présente une solive de bois sur le nu d'un mur, ainsi que l'indique la figure 1, saillie ménagée pour porter un pan-de-bois en encorbellement, un comble, un poteau, etc.

Les Romains, pendant le Bas-Empire, avaient adopté les corbeaux en pierre ou en marbre pour porter en saillie, sur les murs, de petits ordres d'architecture, des chambranles, des pieds-droits, ou encore des tablettes de corniches et de bandeaux. Les architectes de l'époque romane s'emparèrent de ce membre et ne se contentèrent pas seulement de l'employer comme un détail décoratif, ils l'utilisèrent si bien qu'il devint un des moyens de construction très-usité pendant les XIe et XIIe siècles. À leur tour, les architectes de l'époque gothique s'en servirent dans un grand nombre de cas avec succès. Les constructions de bois furent pendant longtemps admises par les barbares devenus les maîtres des Gaules, et lorsqu'ils purent élever des édifices en maçonnerie, ils conservèrent à certains détails de l'architecture les formes données par la charpente; seulement ils imitèrent ces formes en pierre. Les plus anciens corbeaux affectent toujours la forme d'un bout de poutre ou de solive, orné par des profils ou de la sculpture: tels sont les corbeaux que l'on voit dans la nef de l'église de Saint-Menoux près Moulins (IXe ou Xe siècle), et qui supportent une tablette recevant dans l'origine un plafond en charpente (2).

Au-dessous de cette corniche, entre les archivoltes des collatéraux et à l'aplomb des colonnes, on voit aussi des corbeaux sculptés en forme de têtes humaines (3), et qui étaient destinés probablement à recevoir le pied des liens soulageant les entraits de la charpente. Les imagiers des Xe, XIe et XIIe siècles, paraissent avoir pris les corbeaux de pierre comme un des motifs les plus propres à recevoir de la sculpture. Ils les décorent de figures d'hommes et d'animaux, de têtes, de sujets symboliques, tels que les vices et les vertus, les signes du zodiaque, les travaux de l'année; ils s'évertuent à les varier. C'est surtout en Auvergne, dans le Berri, le Poitou, le Bourbonnais et le long de la Garonne, que l'on trouve, sur les édifices de l'époque romane, une quantité prodigieuse de corbeaux d'une exécution remarquable, à dater de la fin du XIe siècle. Ces corbeaux sont presque toujours destinés à porter les tablettes des corniches ou bandeaux.
Bien que les voûtes aient été très-anciennement adoptées dans les édifices de l'Auvergne, cependant la tradition des couvertures en charpente se fait sentir par la présence des corbeaux qui sont conservés sous les tablettes des corniches jusqu'à la fin du XIIe siècle. L'église de Notre-Dame-du-Port à Clermont, celle de Saint-Étienne de Nevers, possèdent des corniches à corbeaux historiés fort intéressants à observer. La plupart affectent la forme donnée par la fig. 4.

C'est évidemment là une imitation d'un bout de solive oeuvrée. Ces rouleaux qui accompagnent le nerf principal ne sont autre chose que les copeaux produits par la main du charpentier pour dégager ce nerf du milieu. Il suffit de savoir comment l'ouvrier peut, avec la bisaiguë, évider le bout d'une solive de façon à y réserver un renfort, pour reconnaître que ces rouleaux reproduisent les copeaux obtenus par le travail du charpentier. Une figure (5) rendra notre explication intelligible pour tout le monde. Soit une solive à l'extrémité de laquelle on veut ménager un renfort A. L'ouvrier enlèvera, des deux côtés de ce renfort, avec sa bisaiguë, une suite de copeaux minces pour ne pas fendre son bois; puis il les coupera à leur base, s'il veut complétement dégager le renfort. Voyant que ces copeaux formaient un ornement, on aura eu l'idée, primitivement, de ne les point couper, et les solives auront été ainsi posées. Plus tard, cette décoration, produite par le procédé d'exécution employé par l'ouvrier, aura été figurée en pierre. C'est ainsi que la plupart des ornements de l'architecture qui ne sont pas imités du règne végétal ou du règne animal prennent leur origine dans les moyens d'exécution les plus naturels.
Si l'on veut chercher l'origine des formes d'un art de convention, comme l'architecture, il faut recourir aux moyens pratiques qui se conservent les mêmes à travers les siècles et se résoudre à étudier ces moyens pratiques, sans quoi on peut faire bien des bévues. Peu à peu, à la place de l'arête centrale renforçant le bout de la solive, et la laissant cependant dégagée de manière à l'allégir, on a figuré des animaux, des têtes; les copeaux latéraux perdent de leur importance, mais se retrouvent encore tracés sur les côtés.
C'est ainsi que sont sculptés la plupart des corbeaux de l'église abbatiale de Saint-Sernin de Toulouse, qui datent du XIIe siècle, et qui sont d'une singulière énergie de composition. Voici l'un d'eux provenant de la corniche de la porte du sud (6).

Les copeaux disparaissent complétement vers le milieu du XIIe siècle, ainsi que nous en avons la preuve en examinant la corniche de l'abside de la petite église du Mas d'Agen (7).

Les corbeaux persistent sous les tablettes des corniches des édifices du Poitou, de la Saintonge et du Berri, jusque pendant les premières années du XIIIe siècle. La belle arcature qui clôt le bas-côté de la nef de la cathédrale de Poitiers (1190 à 1210) est surmontée d'une corniche dont la tablette formant galerie est portée sur de charmants corbeaux ornés de figures (8).
Les corbeaux de pierre disparaissent des corniches pendant le XIIIe siècle, et ne sont plus guère employés que comme supports exceptionnels, pour soutenir des balcons, des encorbellements, des entraits de charpente ou des poutres-maîtresses de planchers.

Voici (9) un riche corbeau découvert près de la cathédrale de Troyes, qui date du commencement du XIIIe siècle, et qui paraît avoir été destiné à supporter une forte saillie, telle que celle d'un balcon, par exemple, ou la poutre-maîtresse d'un plancher. Souvent alors, dans les édifices civils ou militaires, on rencontre de puissants corbeaux de pierre composés de plusieurs assises et remplissant exactement la fonction d'un lien de charpente sous une poutre-maîtresse. Tels sont les corbeaux encore en place dans les salles hautes de la porte Narbonnaise à Carcassonne (fin du XIIIe siècle), et qui soutenaient les énormes entraits des pavillons des deux tours (10). Le constructeur a certainement eu ici l'idée de mettre ce membre de pierre en rapport de formes avec la pièce de bois qu'il soulageait.

La salle d'armes de la ville de Gand, en Belgique, a conservé des corbeaux analogues sous ses poutres-maîtresses (11), mais beaucoup plus riches et figurant exactement un lien reposant sur un corbeau A engagé dans le mur, et portant sous la poutre un chapeau B, ainsi que cela se doit pratiquer dans une oeuvre de charpenterie.

Au XVe siècle, ces formes rigides sont rares, et les corbeaux destinés à porter des poutres sont riches de sculpture, souvent ornés de figures et d'armoiries, mais ne conservent plus l'apparence d'une pièce de bois inclinée ou placée horizontalement et engagée dans la muraille. Tels sont les corbeaux des grand'salles des châteaux de Coucy et de Pierrefonds (12), qui soulageaient les entraits des charpentes.

Les mâchicoulis usités dans les ouvrages militaires des XIVe et XVe siècles sont supportés par des corbeaux composés de trois ou quatre assises en encorbellement (voy, MÂCHICOULIS).
Depuis l'époque romane jusqu'au XVIe siècle, les linteaux des portes en pierre sont habituellement soulagés par des corbeaux saillants sur les tableaux, de façon à diminuer leur portée et par conséquent les chances de rupture. Quand les portes ont une grande importance comme place et comme destination, ces corbeaux sont décorés de sculptures très-riches et exécutées avec un soin particulier, car elles se trouvent toujours placées près de l'oeil. Il existe, sous le linteau de la porte sud de la nef de l'église de Saint-Sernin à Toulouse, deux corbeaux en marbre blanc.
Nous donnons (13) l'un d'eux, qui représente le roi David assis sur deux lions; on voit encore apparaître ici la trace des copeaux latéraux, sous forme d'un simple feston. Cette sculpture appartient au commencement du XIIe siècle. Les linteaux des portes principales de nos grandes églises du XIIIe siècle sont supportés toujours par des corbeaux d'une extrême recherche de sculpture. Nous citerons ceux des portes de la cathédrale de Paris, de la porte nord de l'église de Saint-Denis, ceux des cathédrales de Reims, d'Amiens. Les architectes ont habituellement fait sculpter sur ces corbeaux de portes des figures qui se rattachent aux sujets placés sur les pieds-droits ou les linteaux.

La Bourgogne, si riche en beaux matériaux, présente une variété extraordinaire de corbeaux, et ceux-ci affectent des formes qui appartiennent à cette province. Sans parler des corbeaux fréquemment employés dans les corniches (voy. CORNICHE), ceux qui soutiennent les linteaux de porte ont un caractère de puissance très remarquable. Ils sont renforcés parfois vers leur milieu, afin d'opposer à la pression une plus grande résistance. Nous donnons (14) un de ces corbeaux de la fin du XIIe siècle qui provient de la porte occidentale de l'église de Montréale (Yonne). Plus tard, leurs profils sont encore plus accentués, ainsi que le fait voir la fig. 15 (corbeau provenant d'une des portes du bas-côté du choeur de la cathédrale d'Auxerre, XIIIe siècle).

Au XIIe siècle, les arcs des voûtes sont souvent supportés par des corbeaux. Pendant cette époque de transition, il arrivait que les constructeurs, suivant la donnée romane, n'élevaient des colonnes engagées que pour porter les archivoltes et les arcs doubleaux, et que, voulant bander des arcs ogives, pour recevoir les triangles des voûtes, ils ne trouvaient plus, une fois les piles montées, une assiette convenable pour recevoir les sommiers de ces arcs ogives; alors, au-dessus des chapiteaux des arcs doubleaux, ils posaient un corbeau qui servait de point de départ aux arcs diagonaux. C'est ainsi que sont construites les voûtes du collatéral de la nef de l'église Notre-Dame de Châlons (16) et celles du bas-côté du choeur de la cathédrale de Sens. Dans l'église de Montréale que nous venons de citer, pour ne pas embarrasser le sanctuaire par des piles engagées portant de fond, l'architecte a porté non-seulement les arcs ogives, mais encore l'arc doubleau séparant les deux voûtes qui couvrent l'abside carrée, sur de puissants corbeaux profondément engagés dans la construction (17). Dans cette figure, on voit, en A, le tirant de bois posé pour maintenir la poussée des arcs pendant la construction, et coupé au nu du sommier lorsque cette construction s'est trouvée suffisamment chargée.

Au XIIIe siècle, lorsque les voûtes ne portent pas de fond, elles ne reposent plus sur des corbeaux, mais sur des culs-de-lampe (voy. ce mot). Le corbeau de pierre appartient presque exclusivement à l'époque romane, au XIIe siècle et au commencement du XIIIe. Quant au corbeau de bois, c'est-à-dire aux saillies formées par les poutres ou les solives sur le nu d'un mur, il se retrouve dans toutes les constructions de bois jusqu'à l'époque de la renaissance (voy. CHARPENTE, MAISON, PAN-DE-BOIS, SOLIVE).
CORBEILLE, s. f. Forme génératrice du chapiteau autour de laquelle se groupent les ornements, feuillages ou figures qui le décorent. La corbeille repose, à sa partie inférieure, sur l'astragale, et est surmontée du tailloir ou abaque (voy. CHAPITEAU).
CORDON, s. m. Moulure composée d'un seul membre, qui règne horizontalement sur un mur vertical. Le cordon n'a pas l'importance du bandeau, qui indique toujours une arase de la construction, comme un plancher, par exemple, un étage. Le cordon est un membre intermédiaire dont la place n'est indiquée que par le goût, afin de détruire la nudité de parties verticales trop hautes. On ne trouve de cordons que dans l'architecture romane, car, dans l'architecture gothique, toutes les assises horizontales formant saillie ont toujours une signification réelle et indiquent un sol, une arase.
CORNICHE, s. f, Entablement. Couronnement d'une construction en pierre ou en bois et destiné à recevoir la base du comble. La corniche est un des membres de l'architecture du moyen âge qui indique le mieux combien les principes de cette architecture diffèrent de ceux admis par les Romains.
Dans l'architecture romaine, la corniche appartient à l'entablement, qui lui-même appartient à l'ordre, de sorte que si les Romains superposent plusieurs ordres dans la hauteur d'un monument, ils ont autant de corniches que d'ordres. Ainsi un édifice composé de plusieurs ordres superposés n'est qu'un échafaudage d'édifices placés les uns sur les autres. Bien mieux, si le Romain place un ordre à l'intérieur d'une salle, il lui laisse sa corniche, c'est-à-dire son couronnement destiné à recevoir le comble. Cela peut produire un grand effet, mais ne saurait satisfaire la raison. D'ailleurs, dans les ordres romains, qui sont dérivés des ordres grecs, la corniche, par la forme de ses moulures, sa saillie et les appendices dont elle est accompagnée, indique clairement la présence d'un chéneau, c'est-à-dire la base d'un comble et le canal longitudinal recevant les eaux de pluie coulant sur la surface de ce comble. Or, à quoi bon un chéneau à mi-hauteur d'un mur et surtout à l'intérieur d'une salle voûtée ou lambrissée? Donc, pourquoi une corniche? Nous avons dit ailleurs combien le Romain était peu disposé à raisonner l'enveloppe, la décoration de ses édifices 61. Nous ne leur en faisons pas un reproche, seulement nous constatons ce fait: que, dès l'époque romane, les architectes, si grossiers qu'ils fussent, partaient de principes très-opposés à ceux des Romains, ne se servant des divers membres de l'architecture qu'en raison de leur fonction réelle, dépendante de la structure. Où avaient-ils pris ces principes? Était-ce dans leur propre sentiment, par leur seule faculté de raisonner? Était-ce dans les traditions byzantines? C'est ce que nous ne chercherons pas à décider. Il nous suffit que le fait soit reconnu, et c'est à quoi les exemples que nous allons donner tendront, sans qu'il puisse rester de doutes à cet égard dans l'esprit de nos lecteurs. D'abord, en examinant les édifices les plus anciens de l'ère romane, nous voyons que les architectes ont une tendance prononcée à les élever d'une seule ordonnance de la base au faîte; à peine s'ils marquent les étages par une faible retraite ou un bandeau. Cette tendance est si marquée, qu'ils en viennent bientôt à allonger indéfiniment les colonnes engagées, sans tenir aucun compte des proportions des ordres romains, et à leur faire toujours porter la corniche supérieure (la véritable corniche), si élevée qu'elle soit au-dessus du sol. Abandonnant l'architrave et la frise de l'entablement romain, la colonne porte directement la corniche, le membre utile, saillant, destiné à protéger les murs contre les eaux pluviales. Cela dérange les dispositions et proportions des ordres romains; mais cela, par compensation, satisfait la raison. Les Romains percent des arcades entre les colonnes d'un ordre engagé, c'est-à-dire qu'ils posent une première plate-bande (l'architrave), une seconde plate-bande (la frise) et la corniche au-dessus d'un arc, ce que nous n'empêchons personne de trouver fort beau, mais ce qui est absolument contraire au bon sens. Les architectes romans, à l'imitation peut-être des architectes byzantins, adoptent les arcs pour toutes les ouvertures ou pour décharger les murs; ils posent souvent, à l'extérieur, des colonnes engagées, mais ils ne font plus la faute de les surmonter d'un entablement complet, nécessaire seulement lorsque les colonnes sont isolées. La colonne engagée prend le rôle d'un contre-fort (c'est son véritable rôle), et son chapiteau vient porter la tablette saillante de couronnement de l'édifice, autrement dit la corniche.

Voici (1) un exemple entre mille de ce principe si naturel de construction 62. La corniche n'est plus ici qu'une simple tablette recevant les tuiles de la couverture; entre les colonnes engagées, cette tablette repose sur des corbeaux. Les eaux tombent directement sur le sol sans chéneau, et, afin de trouver à la tête du mur une épaisseur convenable pour recevoir le pied de la toiture, sans cependant donner aux murs une épaisseur inutile à la base, des arcs de décharge portés sur des pilastres ou contre-colonnes engagées AB et sur des corbeaux augmentent, sous la corniche, l'épaisseur de ce mur. Chaque morceau de tablette a son joint au-dessus de chacun des corbeaux, ce qui est indiqué par le raisonnement. Si la corniche romaine est décorée de modillons (lesquels figurent des corbeaux, des bouts de solives) comme dans l'ordre corinthien et l'ordre composite, ceux-ci sont taillés dans le bloc de marbre ou de pierre dont est composée cette corniche. C'est un travail d'évidement considérable; il y a entre la forme apparente et la structure un désaccord complet. Dans ces corniches romanes, au contraire, l'apparence décorative n'est que la conséquence réelle de la construction. Chaque corbeau est un morceau de pierre profondément engagé dans la maçonnerie; entre ces corbeaux, il n'y a plus qu'un carreau de pierre, posé comme le sont les métopes de l'ordre dorique grec; puis, d'un corbeau à l'autre, repose un morceau de tablette. De distance en distance, les grosses colonnes engagées renforcent la construction en arrêtant tout effet de bascule ou de dérangement, qui pourrait se produire à la longue dans une trop grande longueur de ces tablettes posées seulement sur des corbeaux. Une pareille corniche se répare aisément, puisqu'elle se compose de membres indépendants les uns des autres, pouvant se déposer et se reposer sans nuire à la solidité de l'ensemble et sans qu'il soit besoin d'échafauds.
Les plus beaux exemples de corniches composées d'une simple tablette reposant sur les chapiteaux de colonnes engagées et sur des corbeaux se trouvent en Auvergne dès le XIe siècle. La corniche des chapelles absidales de l'église de Notre-Dame-du-Port à Clermont est une des plus riches; car non-seulement les corbeaux et les chapiteaux sont finement travaillés, mais les tablettes sont décorées de billettes, et leur surface vue, entre les corbeaux, est ornée d'une sorte de petite rosace creuse. Les entre-corbeaux sont composés de pierres noires et blanches formant des mosaïques, et, sous les corbeaux, règne un cordon de billettes qui sépare nettement les divers membres dont se compose la corniche du nu du mur. Nous donnons (2) l'aspect perspectif de cette corniche; en A, son profil, et en B, une des rosaces creusées dans le lit inférieur de la tablette.

Ce système de corniches est généralement adopté dans les provinces du centre, dans toute l'Aquitaine et le Languedoc, pendant le XIe et la première moitié du XIIe siècle. En Bourgogne, l'époque romane nous fournit une grande variété de corniches. Il faut observer, d'ailleurs, que les corniches prennent d'autant plus d'importance, présentent des saillies d'autant plus prononcées qu'elles appartiennent à des contrées riches en beaux matériaux durs. Dans l'Île-de-France, en Normandie et dans le Poitou, on n'employait guère, avant le XIIe siècle, que les calcaires tendres si faciles à extraire dans les bassins de la Seine, de l'Oise, de l'Eure, de l'Aisne et de la Loire. Ces matériaux ne permettaient pas de faire des tablettes minces et saillantes. Les architectes s'en défiaient, non sans raison, et ils avaient pris l'habitude d'élever leurs bâtisses en petites pierres d'échantillon, c'est-à-dire ayant toutes à peu près la même dimension. Des carrières, on leur apportait des provisions de pierres toutes équarries 63, de huit pouces ou d'un pied de hauteur sur une épaisseur pareille, et sur une longueur de dix-huit à vingt-quatre pouces. Ils s'arrangeaient pour que tous les membres de l'architecture pussent concorder avec ces dimensions. On comprend qu'alors ils ne pouvaient donner une forte saillie à leurs corniches. Les monuments romans, si communs sur les bords de l'Oise, ne présentent ni corniches ni bandeaux saillants, et tout l'effet produit par ces membres de l'architecture est dû à une étude très-fine et judicieuse des rapports entre les parties lisses de la construction et les parties moulurées. La Bourgogne, au contraire, fournit des pierres dures, basses, et qu'il est facile d'extraire en grands morceaux; aussi, dans cette province, les corniches ont une énergie de profils, présentent des variétés de composition que l'on ne trouve point ailleurs en France.

Sur les bas-côtés de la nef de l'église abbatiale de Vézelay (dernières années du XIe siècle), on voit une corniche construite toujours d'après le principe roman, c'est-à-dire composée de corbeaux portant une tablette saillante; mais son caractère ne rappelle en rien les corniches des provinces du centre. Comme style, elle leur est très-supérieure. Nous la donnons ici (3) dans tous ses détails, vue en perspective et en coupe. Le corbeau est bien franchement accusé, il a tous les caractères d'un bout de solive de bois; mais ses profils retournent devant la tablette de manière à former un encadrement autour des rosaces doubles qui sont, entre ces corbeaux, comme des métopes inclinées, comme des panneaux de bois embrévés au moyen de languettes. La construction est parfaitement d'accord avec la forme apparente; les corbeaux sont des pierres longues pénétrant dans la maçonnerie; la tablette est large, et les entre-corbeaux ne sont que des carreaux de pierre de 0,20 c. à 0,25 c. de profondeur. C'est là vraiment l'extrémité d'un comble en charpente reposant sur un mur en maçonnerie, et il est impossible de ne pas y trouver la tradition d'une construction de bois. Mais n'oublions pas que lorsqu'on construisait la nef de Vézelay, il y avait un siècle à peine que tous les grands édifices étaient couverts et lambrissés en bois, et que les voûtes étaient une innovation (voy. CONSTRUCTION).
Cette corniche est un exemple unique, d'ailleurs; car, dans le même édifice, les murs de la haute nef sont couronnés d'une autre manière.
Dans le court intervalle qui dut séparer la construction du sommet de la nef de celle des bas-côtés, les architectes avaient eu le temps de renoncer déjà aux traditions de charpenterie pour décorer la naissance des combles; ils inventèrent une nouvelle corniche, fort singulière il est vrai, mais qui accuse déjà l'appareil de pierre. Elle se compose de morceaux de pierre égaux, formant une suite de corbeaux en quart de cercle ornés d'oreilles en manière de crochets (voy. fig. 4).

En A, la coupe de cette corniche faite entre deux corbeaux; en B, sa face; en C, sa projection horizontale, et en D, son aspect. Là est l'origine de la corniche franchement bourguignonne, qui ne cesse d'être adoptée jusque pendant le XIIIe siècle; corniche dont les corbeaux sont juxtaposés sans intervalles entre eux, et dont la forme la plus générale est celle donnée par la fig. 5 64. Le tracé de cette corniche, en projection horizontale, donne une suite de demi-cercles creusés entre chaque corbeau; ceux-ci sont donc évidés latéralement en quart de cercle. En coupe, ces corbeaux sont tracés suivant un quart de cercle convexe, comme l'exemple fig. 4, avec ou sans crochets: ce sont les plus anciens; ou en quart de cercle concave, avec biseaux, comme l'exemple fig. 5: ce sont les plus modernes.

Les corniches romanes bourguignonnes indiquent, comme tous les membres de l'architecture de cette province, un art du trait avancé, et surtout une observation très-fine des effets produits par les lumières et les ombres. Aussi ces corniches, bien que simples à tout prendre, ont-elles une apparence de fermeté et de richesse en même temps qui satisfait les yeux; elles couronnent les murs d'une façon monumentale, en produisant un jeu de lumières et d'ombres très-piquant et qui contraste avec la nudité des parements. Avant le XIIIe siècle, c'est dans les provinces du centre et en Bourgogne qu'il faut aller chercher des corniches d'un grand caractère et bien combinées. Dans le nord, au contraire, pendant la période romane, les corniches sont pauvres, peu saillantes (ce qui tient à la qualité des matériaux, ainsi que nous l'avons dit plus haut) et peu variées comme composition. Cependant la corniche à corbeaux se rencontre partout, avant le XIIIe siècle: c'est un parti pris, et les exceptions sont rares. Les architectes romans du nord poussent même l'application du principe de la corniche à corbeaux jusque dans ses conséquences les plus absolues. Ainsi, les corbeaux étant faits pour empêcher la bascule des tablettes (ils n'ont pas d'autre raison d'être), les morceaux de pierre dont se composent ces tablettes n'étant pas tous de la même longueur, et les corbeaux devant se trouver naturellement sous les joints, il en résulte que ces corbeaux sont irrégulièrement espacés; leur place est commandée par la longueur de chaque morceau de tablette. Il arrive même fréquemment que la moulure qui décore l'arête inférieure de la tablette s'arrête au droit de chaque corbeau et laisse voir le joint vertical. Cela est d'ailleurs parfaitement raisonné. Les murs des chapelles absidales de l'église de Notre-Dame-du-Pré au Mans sont encore couronnés de corniches du XIe siècle, qui sont taillées suivant ces principes (6). Les murs sont bâtis en petits moellons bruts, et la tablette de la corniche est composée de morceaux, les uns longs, les autres courts. Les corbeaux, étant posés sous les joints de cette tablette, se trouvent irrégulièrement espacés. On voit, sur notre figure, que la moulure de la tablette n'existe qu'entre les corbeaux et laisse le joint franc. Ici encore on retrouve les corbeaux à copeaux rappelant ceux de l'Auvergne (voy. CORBEAU), ce qui fait supposer que ce genre d'ornementation avait eu un grand succès pendant les XIe et XIIe siècles. Dans l'exemple que nous donnons (fig. 6), cependant, il semble que les sculpteurs ont imité cet ornement sans en comprendre le sens, et ils l'ont exécuté de la façon la plus barbare; tandis que les écoles du centre, dès le XIe siècle, sont remarquables par la finesse et la pureté de leur sculpture.

Sur les bords de l'Oise et de l'Aisne, dès le XIe siècle, on voit apparaître entre les corbeaux et la tablette moulurée du centre et de Bourgogne une assise taillée en forme de petite arcature ou de dents de scie. Il existe autour du petit monument octogone qui, à Laon, passe pour avoir été une chapelle de templiers, une corniche fort étrange, du commencement du XIIe siècle, conçue d'après ces données. Aux angles (7), elle porte sur des colonnes engagées terminées par des têtes; sur les faces, ce sont des corbeaux épannelés qui reçoivent les intervalles entre les triangles formant décoration. Les joints de cette sorte de frise se trouvent au-dessus des corbeaux, et une tablette, à profil continu, couronne le tout. Sur les corbeaux, les tympans entre les triangles sont allégis par de petites arcades dont les fonds sont inclinés, ainsi que le fait voir la coupe A faite sur le milieu d'un corbeau.

La tradition de la construction de bois apparaît encore ici. Les corbeaux sont taillés comme on taille un bout de solive; puis, sous les triangles, on retrouve encore le copeau que produirait le travail du charpentier pour évider un madrier en forme de dents de scie. Toutefois, ces derniers vestiges des constructions de bois disparaissent bientôt dans cette contrée si abondante en matériaux calcaires propres à la construction, et les corniches à petites arcatures simples ou subdivisées règnent seules jusqu'à la fin du XIIe siècle: or, ces corniches n'ont plus rien qui rappelle la construction en bois.

Voici (8) une de ces corniches si fréquentes dans le Beauvoisis; elle provient de la petite église de Francastel (commencement du XIIe siècle). Dans cette même contrée, vers le commencement du XIIIe siècle, les architectes renoncent aux petites arcatures, mais ils conservent encore les corbeaux et ils commencent à décorer la tablette des corniches par de la sculpture; nous en trouvons un exemple sur la nef de l'église de Saint-Jean-au-Bois près Compiègne (9).
Si les bords de l'Oise, de l'Aisne et de la Seine entre Montereau et Mantes, conservent les corbeaux sous les tablettes des corniches jusqu'au commencement du XIIIe siècle; c'est-à-dire jusqu'à l'application franche du style gothique, la Champagne et la Bourgogne abandonnent encore plus difficilement cette tradition romane. Ainsi, au sommet du choeur de la cathédrale de Langres, XIIe siècle, nous voyons une corniche dans laquelle les corbeaux prennent une importance majeure (10).

La tablette est alternativement supportée par des corbeaux moulurés et représentant des têtes d'hommes ou d'animaux. Au sommet du porche de l'église de Vézelay, dès 1130 environ, on remarque déjà ces alternances de corbeaux profilés et de têtes. À la fin du XIIe siècle, autour du choeur de l'église de Notre-Dame de Châlons-sur-Marne, la corniche présente encore des corbeaux à têtes, d'autres ornés de rosaces, d'autres simplement profilés. Mais ici la tablette prend déjà plus d'importance, et elle se couvre d'une riche décoration de feuillages (11).
Dans l'Angoumois, le Poitou et la Saintonge, la corniche à corbeaux, dans le style de celle d'Auvergne, est reproduite jusque vers la fin du XIIe siècle (voy., à l'article CHAPELLE, la fig. 33, qui représente une portion de l'abside de l'église de Saint-Euthrope de Saintes).

En Normandie, la corniche romane est d'une grande simplicité et ne présente qu'une faible saillie sur le nu des murs. Souvent elle ne se compose que d'une simple tablette de 0,10 c. à 0,15 c. d'épaisseur. Cependant les corbeaux, avec ou sans arcature, se rencontrent fréquemment. Ces corbeaux même reposent parfois sur un filet orné, comme autour de l'abside de l'abbaye aux Dames de Caen (12) (XIIe siècle).
De tous les exemples qui précèdent, on peut conclure ceci: c'est que, pendant la période romane, et dans les provinces diverses qui composent aujourd'hui la France, la corniche se compose, à très-peu d'exceptions près, d'un rang de corbeaux supportant une tablette saillante. Nous allons voir comment les architectes laïques de la fin du XIIe siècle adoptent un système de corniches tout nouveau, en empruntant cependant à la corniche romane quelque chose de sa physionomie, savoir: les alternances de lumières et d'ombres produites par les saillies des corbeaux plus ou moins espacés. D'abord, constatons qu'au moment de la transition, les architectes négligent les traditions romanes, cherchent même à s'en affranchir entièrement. Ainsi, autour de la cathédrale de Noyon, dont la construction remonte à 1150 environ, les corniches ne sont plus que de simples profils. L'église Saint-Martin de Laon, bâtie à peu près à la même époque, nous fait voir, au sommet du choeur, une corniche qui ne se compose que de deux tablettes superposées (13). Sur la nef de la même église, on trouve pour toute corniche une tablette ornée de rosaces (14).

À la cathédrale de Senlis apparaissent déjà, vers 1150, les corniches à crochets; or ces crochets ne sont autre chose que des tiges végétales, terminées par une sorte de bourgeon ou de paquet de feuilles non encore épanouies (voy. CROCHET), et ils remplissent l'office de corbeaux très-rapprochés; seulement ils ne soutiennent plus la tablette, qui, devenue plus épaisse, est indépendante.
Si l'architecture inaugurée par l'école laïque, à la fin du XIIe siècle, diffère essentiellement, comme principe de construction, de l'architecture romane, elle s'en éloigne plus encore peut-être par les infinis détails qui entrent dans la composition d'un édifice. L'architecture romane suivait, sans les analyser, les traditions très-confuses de l'antiquité romaine, les influences byzantines et les habitudes locales. Une corniche, par exemple, pour l'architecte roman, est une tablette saillante destinée à éloigner du mur le bout des tuiles de la couverture, afin que les eaux pluviales ne lavent pas les parements. La tablette est simple ou décorée; ce n'est toujours qu'une assise de pierre basse, dont le profil est donné par le caprice, mais qui ne remplit aucune fonction utile. N'étaient les tuiles qui couvrent ce profil, l'eau de la pluie coulerait le long des parements, car son tracé n'est pas fait en façon de coupe-larme, comme le larmier de la corniche grecque. Les architectes de l'époque de transition laissent de côté la corniche à corbeaux romane; ils n'ont pas le loisir encore de s'occuper de ces détails; ils ne pensent qu'à une chose tout d'abord, c'est à rompre avec les traditions antérieures. Mais lorsqu'ils eurent résolu les problèmes les plus difficiles imposés par leurs nouvelles méthodes de construction (voy. CONSTRUCTION), ils songèrent à appliquer aux détails de l'architecture les principes rationnels qui les dirigeaient. Ils ne voulurent plus de ces combles égouttant les eaux directement sur le sol ou sur les constructions inférieures: ils pensèrent, avec raison, qu'une corniche doit porter un chéneau, afin de diriger les eaux par certains canaux disposés pour les recevoir; qu'il est utile de rendre l'accès des couvertures facile, pour permettre aux couvreurs de les réparer en tous temps. Dès lors ces corniches romanes, si peu saillantes, si faibles, ne pouvaient leur suffire, non plus que les minces tablettes qu'ils avaient placées sur leurs murs lorsqu'ils rejetèrent les corniches à corbeaux. Ils s'appliquèrent donc à chercher une forme convenable pour l'objet et qui n'empruntât rien aux traditions du passé. Cette forme, ils la trouvèrent et l'adoptèrent tout à coup; car à peine si l'on aperçoit une transition, et c'est bien, sans qu'il soit possible de le contester, dans l'Île-de-France et la Champagne que cette nouvelle forme apparaît brusquement, c'est-à-dire au sein de cette grande école d'architectes laïques qui, à la fin du XIIe siècle, établit sur des principes nouveaux une architecture dont les formes étaient d'accord avec ces principes, nouvelles par conséquent.
Une des plus anciennes corniches gothiques qui existe est celle qui couronne les chapelles absidales de la cathédrale de Reims. Elle se compose d'une assise formant encorbellement, enrichie de crochets feuillus, et d'une seconde assise dont le profil est un larmier (15). Mais ici encore l'assise inférieure a, comparativement à l'assise supérieure, une grande importance; le larmier rappelle encore la tablette de la corniche romane, et sur sa pente A, de distance en distance, sont réservées de petites surfaces horizontales que Villard de Honnecourt nomme des cretiaus, et qui permettaient d'abord aux ouvriers de marcher sur la saillie de ces larmiers, puis servaient à diviser les eaux tombant des combles ou découlant des parements et à les éloigner des joints; car il faut remarquer que ces corniches ne devaient pas porter des chéneaux et gargouilles, mais qu'elles laissaient encore les eaux pluviales égoutter entre ces cretiaus. En effet, suivant le projet de Robert de Coucy, ces chapelles devaient être surmontées de combles pyramidaux qui venaient reposer immédiatement sur le bord des corniches 65.

Trouvant bientôt ces larmiers insuffisants, les architectes du XIIIe siècle leur donnèrent une plus grande saillie; à l'assise, plus de hauteur. Les corniches supérieures du choeur de la cathédrale de Paris (16), refaites au commencement du XIIIe siècle, nous montrent déjà des larmiers A très-saillants recevant un chéneau conduisant les eaux dans des gargouilles espacées. Peu après la pose de ces corniches A, les architectes de la cathédrale ajoutèrent une seconde assise B au larmier primitif, pour lui donner une apparence plus mâle et pour éviter le démaigrissement C, qui pouvait faire craindre des ruptures. Déjà ces larmiers A avaient été destinés à porter une balustrade, qui fut remplacée lorsque l'on reposa la seconde assise B 66. On observera que chaque crochet ornant la première assise D est sculpté dans un morceau de pierre, comme s'il remplissait l'office d'un corbeau. Les corniches de la cathédrale de Paris peuvent être considérées comme les plus belles parmi celles du commencement du XIIIe siècle; celles de la façade offrent cette particularité unique que leurs larmiers sont pris dans deux assises, afin de pouvoir leur donner une plus forte saillie. Ainsi, la corniche qui couronne la galerie qui pourtourne les tours et les réunit est composée de trois assises: une assise de crochets et feuilles et deux assises de larmiers (17); l'assise supérieure est percée de trous, de distance en distance, sous la balustrade, pour laisser écouler les eaux tombant sur les terrasses (voy. CHÉNEAU, fig. 2). Le larmier remplit ici l'office d'un égout très-saillant, destiné à éloigner les eaux des parements.

Habituellement, les larmiers sont pris dans une seule hauteur d'assise; mais les détails de la façade occidentale de la cathédrale de Paris sont d'une dimension au-dessus de l'ordinaire, et il semble que l'architecte à qui l'on doit la partie supérieure de cette façade, c'est-à-dire les deux tours avec leur galerie à jour (1225 environ), ait voulu donner aux membres de l'architecture une importance relative très-grande. La corniche supérieure des deux tours, qui était destinée à recevoir la base de flèches en pierre, dont la construction ne fut qu'amorcée, est unique comme hauteur d'assises dans le style gothique ancien. Elle se compose de deux assises de crochets, chacune de ces assises ayant 0,75 c. de hauteur entre lits; d'un larmier surmonté de deux assises en talus, et de la balustrade posée lorsqu'on renonça à continuer la construction des flèches. Chaque crochet est taillé dans un bloc de pierre énorme; ainsi que le fait voir notre fig. 18; les assises du larmier et de la pente au-dessus sont cramponnées tout au pourtour par des crampons doubles A tenant lieu d'un quadruple chaînage. On voit que l'architecte avait pris ses précautions pour pouvoir élever ses flèches sans danger.

Cependant les larmiers de corniches du commencement du XIIIe siècle parurent probablement avoir des profils trop anguleux et rigides aux architectes déjà très-avancés du milieu de ce siècle, car, à cette époque, vers 1240, nous voyons souvent les coupe-larmes à plans droits de la dernière assise de corniche remplacés par un profil d'un aspect moins sévère. Un boudin avec une arête saillante sert de coupe-larme et remplace la mouchette du larmier primitif gothique. La corniche qui couronne le choeur de la cathédrale de Troyes est une des plus belles que nous connaissions de cette époque brillante de l'art gothique (1240), et elle est couronnée par un boudin à larmier, profilé ainsi que nous venons de le dire.

La figure 19 donne la face et le profil de cette corniche. On remarquera comme les joints A sont adroitement disposés pour se combiner avec le double rang de crochets et ne pas venir tout à travers de la sculpture, ainsi que ne manquent pas de le faire aujourd'hui nos architectes. Ici, l'ornement, courant en apparence, ménage parfaitement la place de ce joint vertical. Vers la même époque, dans les provinces où le style gothique, avec toutes ses conséquences, pénétrait difficilement, comme en Normandie par exemple, nous voyons les traditions romanes persister encore à côté des formes nouvelles. La corniche de la nef de la cathédrale de Rouen est, sous ce rapport, très-curieuse à observer. On y retrouve la petite arcature romane mêlée aux crochets du XIIIe siècle et surmontée du larmier arrondi(20). Elle nous présente, comme tous les membres d'architecture de cette époque, un appareil très-judicieux.

Les corniches, pendant le cours du XIIIe siècle, offrent peu de variétés; elles se composent presque toujours de deux assises: l'une en forme de gorge décorée de crochets ou de feuilles, la seconde portant un larmier saillant. Toutefois le larmier avec talus n'existe que si la corniche forme chéneau, car si (comme il arrive fréquemment dans l'architecture civile et militaire) l'égoût du toit repose directement sur le bord de la corniche, celle-ci est terminée par un listel vertical et non plus par une pente. Ainsi l'ardoise ou la tuile forme larmier devant ce listel, et l'assise supérieure de la corniche est profilée elle-même en coupe-larme, afin d'éviter toute chance de bavure sur les parements, dans le cas où l'égoût du toit viendrait à faillir.
Nous donnons (21) une de ces corniches si fréquentes pendant les XIIIe et XIVe siècles dans l'architecture civile, corniche dont l'assise supérieure sert au besoin de coupe-larme, et dont l'assise inférieure, dépourvue de toute sculpture, forme un gros boudin saillant. Il existe encore, au Palais-de-Justice de Paris, plusieurs corniches de ce genre qui sont d'un fort bon effet, quoique très-simples.
Voici maintenant une jolie corniche composée d'une seule assise formant coupe-larme; elle est placée au sommet de la tour dite de la Justice, à Carcassonne (21 bis) (fin du XIIIe siècle). La moulure est arrêtée au droit de chaque joint renforcé d'une saillie formant corbeau. Cela est bien raisonné, surtout lorsque toutes les pierres doivent être taillées sur le chantier avant la pose, car alors il est certain que les joints ne présentent point de balèvres et que les moulures ne sont pas jarretées. Les profils de ces corniches sans talus sont toujours coupés de façon à ce que le bord inférieur du listel forme mouchette pour égoutter les eaux en dehors des parements, si le premier rang de tuiles ou d'ardoises ne remplit pas cette fonction (22).

Le XIVe siècle conserve généralement les corniches en deux assises, et la seule différence que l'on signale entre ces corniches et celles du XIIIe siècle, c'est que les profils des larmiers sont plus maigres, et les ornements, feuilles ou crochets, plus grêles et d'une exécution plus sèche. Il ne faudrait pas croire cependant que les architectes de cette époque n'aient point cherché parfois des combinaisons nouvelles. Ainsi, nous voyons autour du choeur de l'église de Saint-Nazaire de Carcassonne (1325 environ) une corniche dont la composition est aussi originale que l'exécution en est belle. Cette corniche revient aux traditions romanes, c'est-à-dire qu'elle se compose d'un rang de corbeaux supportant une assise formant larmier, mais décorée de larges feuillages entre chacun de ces corbeaux; elle reçoit un chéneau et une balustrade.

Voici (23) le détail perspectif de cette corniche. En A est tracée sa coupe entre les corbeaux. Posée à une grande hauteur, cette corniche produit beaucoup d'effet, à cause du jeu des ombres et des lumières sur ces saillies si franchement accusées.
Ici, contrairement aux habitudes des artistes du XIVe siècle, les détails de la sculpture sont à l'échelle du monument; ils ne rapetissent pas les masses, mais les font valoir, au contraire, par une exécution grasse et large.

Pendant le cours du XIVe siècle, nous voyons peu à peu les crochets remplacés, dans l'assise inférieure des corniches, par des frises de feuillages profondément refouillées, mais dont l'irrégularité et l'exécution maigre ne donnent plus ces points saillants à espaces égaux, ces têtes de crochets qui, à distance, sont d'un effet si monumental et rappellent encore les corbeaux de l'époque romane. Nous présentons(24) une de ces corniches, de la fin du XIVe siècle, provenant du sommet de la tour nord de la cathédrale d'Amiens. Les corniches du XIVe siècle, indépendamment de la maigreur des profils et de la sécheresse de la sculpture, sont généralement peu saillantes, ce qui devenait nécessaire alors que tous les membres horizontaux de l'architecture étaient sacrifiés aux lignes verticales; mais, vers le milieu du XVe siècle, les corniches de couronnement, au contraire, prennent de la saillie, se composent souvent d'un assez grand nombre d'assises superposées en encorbellement, ornées de cordons de feuillages, de manière à présenter une circulation facile à la base des combles. Les feuillages courent devant des gorges profondes, séparées entre elles par de fines moulures, et les larmiers rappellent la forme exagérée du larmier à boudins de la fin du XIIIe siècle, c'est-à-dire que le talus supérieur est concave, que le boudin s'aplatit, se termine par une mouchette très-saillante, et que la gorge inférieure est largement évidée (25).

Au commencement de la renaissance, on aperçoit déjà, dans l'architecture civile surtout, un retour vers les formes de la corniche romaine: le larmier gothique est supprimé. Cependant, ce n'est guère que vers le milieu du XVIe siècle que l'entablement romain reparaît dans les édifices. La belle corniche de la tour carrée du château de Blois, bâtie sous Louis XII, conserve encore ses membres gothiques, avec quelques détails empruntés à l'architecture antique. Sur un rang d'oves retournées est posée une arcature soutenue par des corbeaux, qui rappelle les mâchicoulis de couronnement des châteaux-forts du XIVe siècle. Sur l'arcature, on retrouve l'assise en gorge décorée de feuillages disposés comme les crochets des XIIIe et XIVe siècles, puis le larmier du XVe siècle à peine altéré 67.
L'hôtel de ville d'Orléans, bâti en 1442 par maître Viart, et qui présente, malgré cette date ancienne, tous les caractères de l'époque de Louis XII, est couronné d'une corniche dans le genre de celle du pavillon carré du château de Blois 68. Au château de Chambord, on retrouve encore les dernières traces de la corniche de château du moyen âge, avec ses arcs en petites niches figurant des mâchicoulis.

Nous terminerons cet article en donnant des corniches de bois provenant de constructions civiles. Celle-ci (26) se trouve communément disposée à la base des combles des maisons de Troyes élevées en pans-de-bois. C'est un principe de corniche adopté pendant les XIVe et XVe siècles. Les blochets forment des corbeaux, à l'extérieur, au-dessus de la sablière, et portent un petit plafonnage en planches sous les coyaux.

Cette autre corniche (27) date du commencement du XVe siècle, et appartient à une maison de bois située rue de la Savonnerie, à Rouen. Sur une sablière A, moulurée, sont assemblés des potelets B qui reçoivent les solives C du plancher supérieur; les bouts de ces solives sont soulagés par les corbeaux D. Entre ces corbeaux est posée une petite arcature découpée dans un madrier, et qui forme comme une suite de mâchicoulis. Sur les bouts des solives règne la filière E de couronnement; un pigeonnage remplit les intervalles G entre les corbeaux.
Note 61: (retour) Voy. les Entretiens sur l'Architecture.
Note 62: (retour) De l'abside de l'église de Léognan (Gironde), fin du XIe siècle.
Note 63: (retour) Cette méthode est encore suivie dans le Poitou, dans la Saintonge, dans l'Angoumois et sur les bords de la Loire-Inférieure, ainsi que dans le département de l'Aisne.
Note 64: (retour) Des chapelles de l'église Notre-Dame de Dijon, commencement du XIIIe siècle.
Note 65: (retour) Voy. l'Album de Villard de Honnecourt, annoté par J.-B. Lassus et publié par M. A. Darcel; 1858.
Note 66: (retour) À la cathédrale de Chartres, on voit deux larmiers superposés au sommet des chapelles et du choeur; il est évident que les architectes du commencement du XIIIe siècle s'aperçurent, à leurs dépens, qu'en posant une tablette mince sur la première assise de corniche, mais beaucoup plus saillante que ne l'étaient les tablettes romanes, il se produisait des ruptures. Ils doublèrent donc ces tablettes d'abord, puis en vinrent à les faire plus épaisses.
Note 67: (retour) Voy. Exemples de décoration, par L. Gaucherel.
Note 68: (retour) Voy. Archit. civ. et domest., t. II, par MM. Verdier et Cattois.
CORPORATION, s. f. Association, ou plutôt conjuration (suivant l'ancienne signification de ce mot) de gens de métiers, unis par des conventions particulières, qui consistaient en des droits et devoirs réciproques. Il existait des corporations de métiers sous l'empire romain; elles prétendaient même avoir été établies depuis Numa, et on les désignait sous le nom de collegia, corpora opificum. Au moyen âge, les industriels, les marchands et les ouvriers des villes conservèrent les traditions romaines dans les grandes cités méridionales, et les corporations ne cessèrent d'exister, tandis que dans les villes du nord on ne les voit guère s'établir qu'au moment de l'affranchissement des communes, c'est-à-dire vers le XIIe siècle. Les rois les prirent sous leur protection, comme un des moyens propres à affaiblir la puissance féodale. Sous saint-Louis, elles furent réglementées à Paris par Étienne Boileau 69. Pour devenir membre d'une corporation, à cette époque, il fallait faire un apprentissage qui durait plus ou moins longtemps, et à l'expiration duquel on devenait maître. Les maîtres exerçaient une sorte de contrôle les uns sur les autres, maintenaient par conséquent le prix de la main-d'oeuvre et la bonne qualité des produits. Il ne s'agissait pas alors de libre concurrence, et les marchands ou les industriels des villes ne pouvaient résister à la tyrannie des seigneurs qu'en s'unissant étroitement sous le patronage du suzerain. Ils formaient ainsi des corps puissants avec lesquels il fallait compter, et qui, par leur organisation même, assuraient au suzerain certains revenus régulièrement perçus. Les maîtrises s'obtinrent souvent à prix d'argent, ce qui constituait une ressource pour le trésor; ou bien encore le roi, moyennant un capital une fois payé, autorisait des corporations qui acquéraient ainsi le droit de percevoir certains impôts sur les entrées des marchandises, des péages sur les rivières, sur les ponts, à l'entrée des ports, etc.
Pour ne pas sortir de notre sujet, les corps de métiers attachés aux bâtiments se composaient, au XIIIe siècle, des charpentiers, des maçons, des tailleurs de pierre, des plâtriers et morteliers, des imagiers, des peintres et tailleurs d'images (sculpteurs), des faiseurs de ponts. Quant aux maîtres des oeuvres, à ce que nous appelons aujourd'hui des architectes, ils ne paraissent pas avoir jamais formé un corps; nous ne pouvons avoir même qu'une idée assez vague de la nature de leurs attributions jusqu'au XVe siècle. Nous voyons qu'on les appelait dans les villes pour bâtir des édifices, et qu'on leur accordait des honoraires fixes pendant la durée du travail (voy. ARCHITECTE); mais présidaient-ils aux marchés passés avec les divers chefs d'ouvriers? établissaient-ils des devis? réglaient-ils les comptes? Tout cela paraît douteux. Dès la fin du XIIIe siècle, on voit des villes, des abbés ou des chapitres, passer des marchés avec les maîtres des divers corps d'état sans l'intervention de l'architecte. Celui-ci semble conserver une position indépendante et n'encourir aucune responsabilité; c'est un artiste, en un mot, qui fait exécuter son oeuvre par des ouvriers n'ayant avec lui d'autres rapports que ceux de fournisseurs ou de tâcherons vis-à-vis un intendant général. Le système de régie n'était pas habituellement employé; les ouvriers de chaque métier travaillaient à leurs pièces; l'architecte distribuait la besogne, et un piqueur relevait probablement le travail de chacun. Sur la grande inscription sculptée à la base du portail méridional de la cathédrale de Paris, l'architecte Jean de Chelles est désigné sous le titre de tailleur de pierre, latomus. Robert de Luzarches, ainsi que ses successeurs, Thomas et Regnault de Cormont, prennent le titre de maîtres dans l'inscription du labyrinthe de la cathédrale d'Amiens. Il est certain qu'un maçon ou tailleur de pierre ne pouvait concevoir et faire exécuter les diverses parties d'un édifice à l'érection duquel le charpentier, le serrurier, le sculpteur, le menuisier, le verrier devaient concourir. Et dans l'architecture gothique, les divers membres de la construction et de la décoration sont trop intimement liés, pour que l'on puisse admettre un instant que chaque corps d'état pût agir isolément sans un chef suprême. Une des qualités les plus remarquables de cette architecture, c'est que tout est prévu, tout vient se poser à la place nécessaire et préparée. Il fallait donc une tête pour prévoir et donner des ordres en temps utile. Quoi qu'il en soit, si les corporations attachées aux bâtiments ont beaucoup travaillé pendant le moyen âge, si elles ont laissé des traces remarquables de leur habileté, au point de vue politique elles ne prennent pas l'importance de beaucoup d'autres corporations. On ne les voit guère se mêler dans les troubles des communes, réclamer une extension de priviléges, imposer des conditions, former ces puissantes coalitions qui inquiétèrent si longtemps la royauté.
Note 69: (retour) Voy. les Règlements sur les arts et métiers de Paris (rédigés au XIIIe siècle). Livre des métiers, d'Étienne Boileau. (Coll. de docum. inéd. sur l'hist. de France.)
COUPE DE PIERRES (voy. APPAREIL, CONSTRUCTION, TRAIT).
COUPOLE, s. f. Voûte hémisphérique, ou engendrée par deux courbes se coupant au sommet, ou par une demi-ellipse posée sur plan circulaire ou polygonal, soutenue sur quatre arcs doubleaux ou sur des murs pleins. Le mot coupole n'est employé que depuis l'invasion de l'architecture italienne aux XVIe et XVIIe siècles; c'est le mot italien cupola francisé. Les Romains, dès le temps de la République, avaient élevé des coupoles sur des murs circulaires ou formant un assez grand nombre de pans. Mais ce fut à Byzance que furent érigées par les empereurs les premières coupoles posées sur pendentifs. Il est peu croyable que la célèbre coupole de Sainte-Sophie ait été la première construction tentée en ce genre. Le coup d'essai eût été bien hardi, puisque cette coupole est d'un diamètre supérieur à toutes les autres voûtes sur pendentifs qui existent. L'idée d'élever une coupole sur pendentifs vint-elle naturellement aux architectes byzantins à la suite d'essais, ou leur fut-elle suggérée par l'étude de monuments orientaux inconnus aujourd'hui? c'est ce que nous n'entreprendrons pas de décider. Il est certain (et c'est à quoi nous devons nous arrêter dans cet article) que la coupole byzantine fut, pour les architectes des premiers siècles du moyen âge, un type qu'ils cherchèrent à imiter en Occident. Sous Charlemagne, on éleva celle d'Aix-la-Chapelle à l'instar de la coupole de Saint-Vital de Ravennes; mais dans ces deux exemples les pendentifs n'apparaissent pas et les calottes portent de fond. À Venise, à la fin du Xe siècle, on construisait sur pendentifs les coupoles de l'église de Saint-Marc, et cet édifice était copié peu après à Périgueux (voy. ARCHITECTURE RELIGIEUSE, fig. 4 et 5). Cependant, avant cette époque, des essais de voûtes sur pendentifs avaient été tentés en Occident. Il existe, à la pointe orientale de l'île de Saint-Honorat, sur les côtes de la Méditerranée, une petite église dont la construction paraît remonter au VIIe ou VIIIe siècle: c'est la chapelle de Saint-Ferréol; en voici le plan (1) et l'élévation extérieure du côté de l'entrée (2)

Il est difficile d'imaginer une construction plus barbare. En examinant le plan, on voit, en A, la projection horizontale d'une petite coupole à base circulaire; or les espaces B ne forment point un berceau, comme on pourrait le croire, mais des pendentifs gauches, de manière à trouver une section horizontale pour la coupole A. Le constructeur a simplement fait gauchir les rangs d'un berceau pour arriver à ce résultat, ce qui lui a donné un appareil tout à fait étrange.

La vue intérieure de la chapelle (3) fait connaître la disposition des rangs de moellons qui forment les pendentifs et la petite coupole presque conique qui les surmonte. Si nous faisons une coupe sur la ligne CD du plan (4), nous voyons, en effet, que la coupole n'est pas une calotte hémisphérique ou elliptique, mais un cône curviligne. Nous ne croyons pas qu'il existe en Occident une coupole plus ancienne que celle de l'église de Saint-Ferréol. Et cet exemple, qui probablement n'était pas le seul, indiquerait que les architectes des premiers temps de l'art roman étaient fort préoccupés de l'idée d'élever des coupoles sur pendentifs: car, à coup sûr, il était vingt procédés plus simples pour voûter la travée principale de cette chapelle, sans qu'il y eût nécessité de recourir à ce moyen. Il y avait là évidemment l'idée d'imiter ces constructions byzantines qui alors passaient pour les chefs-d'oeuvre de l'art de l'architecture 70.
Les coupoles de l'église abbatiale de Saint-Front de Périgueux peuvent être considérées toutefois comme les premières dont la construction ait exercé une influence considérable sur l'architecture occidentale. Ces coupoles, au nombre de cinq, égales en diamètre et en élévation, à base circulaire, sont établies sur pendentifs; mais ces pendentifs ne sont pas appareillés comme il convient: les lits des assises sont horizontaux, au lieu d'être normaux à leur courbe génératrice; ce sont de véritables encorbellements qui ne se soutiennent que par l'adhérence des mortiers et par leur forme sphéroïdale. Il est évident ainsi que l'architecte de Saint-Front a imité la forme d'une construction étrangère, sans se rendre compte de son principe, et ce fait seul tendrait à détruire l'opinion émise par notre savant ami, M. de Verneilh, savoir: que l'église actuelle de Saint-Front aurait été élevée par un artiste venu des bords de l'Adriatique 71. Nous venons de voir, dans l'exemple précédent, que le constructeur de la petite église de Saint-Ferréol, voulant faire des pendentifs, n'a trouvé d'autre moyen, pour leur donner une courbure à peu près convenable, que d'incliner les rangs de moellons sur les reins des arcs doubleaux, c'est-à-dire de superposer des rangs de voussoirs, tant bien que mal, en les avançant les uns sur les autres, et de les enchevêtrer de la façon la plus grossière au point de jonction. En construction, comme en toute chose qui demande à la fois du calcul et de l'expérience, il ne faut jamais supposer que les moyens les plus simples soient adoptés les premiers; c'est le contraire qui a lieu. Le principe de construction des pendentifs, une fois connu, semble très-naturel; mais il dut paraître, aux yeux d'artistes barbares, un véritable tour de force. Il ne fut jamais compris par les architectes romans, et si nous possédons en France quelques coupoles portées sur pendentifs, avant l'ère gothique, ceux-ci ne sont qu'une apparence, non un système de construction compris et pratiqué. D'ailleurs, les coupoles portant de fond ou sur pendentifs qui existent en Orient, celles de Saint-Marc de Venise, sont construites ou en brique, ou en petits moellons de tuf, ou en béton composé de pierres légères et de mortier; il n'y a pas à proprement parler d'appareil. Ces voûtes sont généralement un moulage sur forme ou une concrétion de matériaux irréguliers rendus adhérents les uns aux autres par le mortier. Encore aujourd'hui, en Orient, les maçons, pour fermer une coupole, n'établissent pas de cintres en charpente; ils se contentent d'une tige de bois, attachée au centre de la coupole, et qu'ils manoeuvrent en tous sens, en montant la maçonnerie suivant le rayon donné par cette tige, comme un pigeonnage. En Occident, malgré les traditions romaines, la construction d'appareil avait remplacé la construction en blocages et en briques. Il fallait donc appareiller les pendentifs... Où trouver des pendentifs appareillés en pierre? Les coupoles de Saint-Marc de Venise sont en brique, et les pendentifs se composent, sous la mosaïque, d'arcs de décharge aussi en brique, bandés les uns sur les autres au moyen d'une forme ou, ce qui est plus vraisemblable, d'une tige, dont l'une des extrémités était attachée au centre de la sphère génératrice de ces pendentifs, ainsi que le fait voir la fig. 5.

Nous ne savons pas si les pendentifs de la coupole de Sainte-Sophie de Constantinople sont ainsi construits; c'est probable, car cela est conforme aux traditions romaines. Si cela est, les pendentifs appareillés en pierre, c'est-à-dire dont les lits des assises sont normaux à la courbe sphérique génératrice, sont une invention très-moderne, qui ne remonte pas au delà du XVIe siècle, et les pendentifs des premiers siècles du moyen âge ne sont que des encorbellements ou des arcs superposés suivant un sphéroïde. Ces observations techniques ont plus d'importance qu'on ne croit souvent, car elles aident à expliquer des transformations, des influences, dont on ne saurait se rendre un compte exact, si on les néglige.
Il est fort étrange que les Romains occidentaux n'aient pas trouvé la coupole sur pendentifs, ou, s'ils l'ont trouvée, qu'il ne nous en reste aucune trace; car ils avaient fait pénétrer des voûtes en berceau cylindriques dans des sphères, et les pendentifs ne sont pas autre chose que les triangles curvilignes de la sphère laissés entre ces pénétrations. Cependant la coupole de Sainte-Sophie, celles de Saint-Marc de Venise et celles de Saint-Front de Périgueux ne sont pas seulement des sphéroïdes pénétrés par des cylindres. Il y a d'abord, sur les quatre piliers, un premier sphéroïde, lequel est pénétré; puis, au-dessus des pénétrations, une seconde portion de sphère dont le centre est surhaussé. C'est là ce qui distingue nettement la coupole byzantine de la coupole romaine. Pour faire comprendre par une figure notre définition: soit (6), en A, la projection horizontale d'une coupole posée sur quatre piles et quatre arcs doubleaux.

La coupe sur l'axe CD de cette coupole donnera en projection verticale le profil E, mais la coupe sur la diagonale GH donnera le profil rabattu I. C'est d'après ce principe qu'ont été tracées les coupoles de Saint-Front de Périgueux. Les quatre arcs doubleaux étant composés de courbes brisées, les constructeurs ont été entraînés à tracer le premier sphéroïde pénétré par ces arcs au moyen de deux traits de compas GK, HK. La section horizontale de ce premier sphéroïde a été faite en L, et un bandeau saillant a été posé à ce niveau pour porter les faux cintres destinés à construire la coupole. Cette coupole elle-même n'est pas une demi-sphère, mais est obtenue au moyen de deux courbes. Régulièrement, les pendentifs devraient être appareillés, en coupe suivant la diagonale, conformément au tracé M, c'est-à-dire présenter des rangs de claveaux dont les lits seraient normaux à la courbe HK, avec crossettes à la queue; les constructeurs de Saint-Front n'ont pas pris cette peine, et ils se sont contentés de poser les assises des pendentifs en encorbellement conformément au tracé N. Grâce à la courbure des pendentifs, ces rangs de pierre en encorbellement ne basculent pas; mais ils peuvent écraser la pointe du triangle et se détacher des arcs doubleaux tout d'une pièce, ce qui a eu lieu. Quant à la coupole proprement dite, elle se compose d'une sorte de tambour O, composé d'assises horizontales et d'une calotte surmontée d'un dallage avec charge au sommet. À Saint-Front, les arcs doubleaux sont peu épais et leurs faces sont verticales, les pendentifs ne commençant à prendre leur courbure que sur l'extrados de ces arcs. Bientôt, cependant, les constructeurs pensèrent, non sans raisons, que ces arcs doubleaux supportant une charge énorme, il était nécessaire de donner à leurs claveaux beaucoup de queue; mais pour ne pas élever démesurément les pendentifs, ou pour ne pas leur donner une trop forte inclinaison, ils firent participer les claveaux de ces arcs doubleaux au premier sphéroïde. Puis, embarrassés de savoir comment arranger les sommiers des deux arcs doubleaux sur l'angle saillant de la pile, ils voulurent les dégager l'un de l'autre le plus tôt possible; à cet effet, ils abaissèrent les centres de ces arcs doubleaux au-dessous du niveau de leurs naissances et inclinèrent ainsi leurs courbes dès les sommiers. Dans l'église de Souillac, dont la construction est postérieure à celle de Saint-Front, les architectes ont déjà adopté ces modifications. En P, nous donnons le plan d'un angle de pile de cette église, avec la projection horizontale des arcs doubleaux et d'un pendentif; en R, la projection verticale de cet angle, et, en S, la vue perspective.
Nous ne voyons plus paraître les coupoles avec pendentifs en dehors des provinces occidentales pendant l'époque romane, et dans ces contrées même, à la fin du XIe siècle et au commencement du XIIe, les trompes, les encorbellements les remplacent fort souvent. Les pendentifs étaient évidemment une importation qui ne fut pas parfaitement comprise des constructeurs, et dont l'appareil inspira toujours une certaine défiance aux architectes, lorsqu'ils eurent à élever de grands édifices. Mais sur les bords de la Charente on rencontre quantité de petites églises à coupoles sur pendentifs, bien conçues et bien exécutées.

Il suffit d'en présenter un seul exemple (7), tiré de l'église de Montmoreau, XIIe siècle. Ici les arcs doubleaux font partie des pendentifs, et les faces de leurs claveaux gauchissent pour se conformer à la courbure du sphéroïde inférieur, ainsi que nous l'avons indiqué plus haut, à propos des coupoles de Souillac. L'église de la ville de Montbron, située à l'est d'Angoulême, et qui s'éloigne du pays où la coupole sur pendentifs fut généralement adoptée, nous montre déjà, non plus une calotte hémisphérique sur la croisée, mais une coupole à huit pans, portée sur quatre trompes surmontées de corbeaux en encorbellement (8). Cette méthode fut généralement suivie, pendant les XIe et XIIe siècles, dans le Limousin, en Auvergne, dans une partie du Lyonnais, et jusque dans le Nivernais.

La coupole qui couronne le centre de la croisée de l'église de Notre-Dame-du-Port à Clermont (XIe siècle) n'est ni sur plan circulaire, ni sur plan octogonal, mais participe de ces deux figures. Le constructeur a tâtonné.

Il a commencé par passer du carré à l'octogone par une assise A (9) posée en gousset; sur cette assise, il a formé comme une espèce de trompe, puis il a bandé un petit arc B sur des corbeaux. Tout cela ne formait pas un polygone régulier, mais un octogone à quatre grands côtés et quatre petits. Sur cette base, il a élevé tant bien que mal une coupole octogonale irrégulière à angles arrondis, ainsi que le montre le plan. Cette coupole est parfaitement contre-buttée du côté de la nef par le berceau de la voûte, dont la clef s'élève jusqu'au-dessus de l'arcature à jour D, ainsi que l'indique la ligne ponctuée. Mais les berceaux des deux bras de la croisée sont beaucoup plus bas, et, dans le sens des transsepts, le constructeur pouvait craindre la poussée de la coupole. Pour arrêter cette poussée, il n'a rien trouvé de mieux que d'établir deux demi-berceaux C, qui prennent naissance sur les arcs E, bandés dans le prolongement des murs des collatéraux, et au delà il a pu élever son transsept G. À première vue, cette construction est singulière, compliquée, surtout en se reportant à l'époque où elle a été faite (le XIe siècle); on se demande où les Auvergnats ont été prendre les exemples qui leur ont servi de modèles.
Nous sommes peu disposés à admettre les systèmes absolus, lorsqu'il s'agit de l'histoire des arts, et nous croyons qu'à toutes les époques, les hommes qui s'occupent de travaux de l'intelligence subissent des influences très-diverses, en contradiction les unes avec les autres, et que ce qui nous paraît à nous, souvent, remplir les conditions d'unité de style et de conception, à cause de la distance qui nous sépare de ces temps, n'est qu'un mélange d'éléments disparates. Il en est de même des oeuvres d'art comme de ces animaux de ménagerie que l'on ne voit qu'à de rares intervalles et en petit nombre: ceux d'une même espèce paraissent se ressembler tous; mais si on les réunit, si on vit au milieu d'eux, on arrive bientôt à distinguer les individualités, à trouver à chacun d'eux une physionomie particulière. Si l'on vous amène cent nègres du Sennaar, vous ne sauriez le premier jour les désigner séparément; mais si vous restez parmi eux, vous trouverez bientôt qu'entre deux nègres il y a autant de différences de physionomie, de port, de gestes, qu'entre deux blancs; vous trouverez entre le père et le fils des rapports, des ressemblances. Eh bien! le même phénomène se produit (qu'on nous passe la comparaison) quand il s'agit de monuments d'art fort éloignés de nous par le goût qui les a fait élever, ou l'espace de temps qui nous en sépare.
Analysons cette église de Notre-Dame-du-Port, l'un des plus intéressants monuments de la France, et nous allons trouver ses origines très-diverses, bien que ce petit monument ait pour nous aujourd'hui un caractère d'unité apparente. Le plan (voy. ARCHITECTURE RELIGIEUSE, fig. 9) est celui d'une basilique romaine, avec collatéral derrière le sanctuaire et quatre chapelles absidales: or, au XIe siècle, les architectes n'avaient guère, pour se guider, que les traditions romaines et les arts d'Orient. L'église de Sainte-Sophie de Constantinople était, pour ces artistes, un type, une oeuvre incomparable, le suprême effort de l'intelligence humaine. Depuis la renaissance des arts sous Charlemagne, on ne croyait pouvoir mieux faire, sur une bonne partie du continent européen, que de se rapprocher des types byzantins, ou tout au moins de s'en inspirer. Eh bien! si nous examinons les coupes de l'église de Sainte-Sophie, nous voyons que la grande coupole centrale est contre-buttée, dans le sens longitudinal, par deux demi-coupoles ou quarts de sphère, et que, dans l'autre sens, c'est-à-dire des bras de croix correspondant aux transsepts de nos églises, cette coupole est contre-buttée par une suite d'arcs-boutants qui viennent l'enserrer, absolument comme les demi-berceaux de l'humble église de Notre-Dame-du-Port enserrent sa petite coupole. Sous la coupole de Sainte-Sophie, comme sous celle de Notre-Dame-du-Port de Clermont, nous voyons les murs latéraux percés d'arcatures. À Sainte-Sophie, cette arcature est une ordonnance d'architecture d'une grande richesse; à Notre-Dame-du-Port, ce sont trois modestes arcades supportées par deux petites colonnes. Au fond, le principe est le même, et il faut dire, à la louange de l'architecte auvergnat, que, tout en s'inspirant du principe de construction d'un édifice immense, il a su s'approprier à l'échelle de sa modeste église, et ne pas reproduire en petit des formes convenables à une vaste construction. La coupole de l'église de Notre-Dame-du-Port n'est pas portée sur pendentifs, comme celle de Sainte-Sophie, cela est vrai; mais nous venons de voir précédemment que les architectes occidentaux, même en appliquant ce système de construction, n'en avaient jamais compris le mécanisme. L'école auvergnate du XIe siècle avait ses méthodes, était fort avancée dans la voie des arts; elle avait scrupuleusement conservé quelques restes des traditions romaines; elle ne faisait rien (la bonne conservation des édifices qu'elle a élevés en fait foi) qu'en parfaite connaissance de cause, et, ne comprenant pas probablement le système de construction des pendentifs, elle préférait employer des moyens pratiques à elle connus et dont elle était sûre; ce qui n'empêchait pas d'ailleurs ses architectes de prendre à l'Orient ce que leur intelligence leur permettait de saisir facilement. Pour résumer, nous pensons qu'on peut voir dans l'église de Notre-Dame-du-Port un plan de basilique romaine, sur la croisée et les deux bras duquel on a élevé une construction qui présente tous les éléments constituant la bâtisse de Sainte-Sophie. D'où l'on peut conclure que dans ces églises romanes du centre de la France l'influence byzantine est au moins aussi marquée que dans l'église de Saint-Front, qui, à tout prendre, est une imitation de Saint-Marc de Venise, qui elle-même était une copie d'un édifice byzantin dont on ne trouve plus trace, plutôt qu'une imitation de l'église de Sainte-Sophie. Nous pensons donc que les coupoles, en Occident, ont leur origine dans l'architecture orientale, celles de l'ouest comme celles du centre ou celles du Rhin et de l'Allemagne, et que si l'on veut trouver quelque part une architecture romane locale, ce n'est que dans les provinces du nord, dans l'Île-de-France et la Normandie qu'il la faut chercher. Certainement, les pendentifs ont une importance majeure; mais n'existe-t-il, dans l'ancien empire d'Orient, que des coupoles sur pendentifs? Des églises grecques, quantité de petits monuments de Géorgie, de Syrie, ont des coupoles sans pendentifs portées sur des trompes, des arcs, des niches ou des tambours; sont-elles moins byzantines que l'église de Sainte-Sophie? Et est-ce bien raisonner que de dire: «Ce qui distingue la coupole byzantine des autres coupoles, ce sont les pendentifs; donc, toutes les coupoles portées autrement que sur pendentifs sont étrangères à l'influence byzantine.» C'est «étrangères à l'influence de Sainte-Sophie ou de Saint-Marc de Venise» qu'il faudrait dire, mais non à l'influence byzantine; et encore, nous venons de faire pressentir, du moins nous le croyons, que, bien que la coupole de l'église de Notre-Dame-du-Port ne soit pas sur pendentifs, elle pourrait être fille de celle de Sainte-Sophie. On l'a dit déjà: quand il s'agit de reconnaître les influences qui agissent sur le développement des arts, surtout après l'antiquité grecque, après les Romains et les Byzantins, c'est-à-dire en face d'une masse considérable de traditions, il est prudent d'analyser les productions du moyen âge avec le plus grand soin, et de ne pas se presser d'adopter ou d'exclure telles ou telles de ces influences, car elles agissent à peu près toutes, au moins pendant la période romane.
Les coupoles, puisque nous sommes sur ce chapitre, nous fournissent la preuve de la force de ces traditions accumulées même en dépit de ceux qui les subissent. Ainsi, nous avons fait voir, dans plusieurs des articles du Dictionnaire, et particulièrement dans l'article CONSTRUCTION, comment les architectes de l'époque romane primitive s'étaient efforcés de poser des voûtes sur le plan de la basilique romaine, comment ils y étaient arrivés après bien des tentatives infructueuses. Ce problème résolu (et résolu, il faut bien le reconnaître, par des architectes occidentaux), les plans se modifièrent peu dans leurs dispositions générales, mais le mode de voûter les nefs fit des progrès rapides jusqu'à l'époque gothique. La tradition romaine du plan persista. Survient, au milieu de ce travail des constructeurs, l'influence de la coupole; les architectes occidentaux qui veulent se soumettre à cette influence vont nécessairement modifier le plan romain? Point! ils le conservent et juchent les coupoles sur la croisée de leurs basiliques. À Pise, au XIIe siècle, nous voyons des constructeurs conserver les dispositions romaines de la basilique, couvrir les nefs d'une charpente en même temps qu'ils élèvent une coupole sur le transsept. C'était cependant poser un monument voûté sur un monument commencé de manière à ne pas l'être; c'était superposer deux édifices, comme si on voulait à la fois conserver la trace de toutes les influences opposées auxquelles on obéissait. De notre temps, M. Quatremère de Quincy dit avec raison, dans son Dictionnaire historique d'Architecture 72: «Nous ne pouvons nous empêcher de faire regarder la sur-imposition des coupoles modernes au centre des nefs d'une grande église, et vues surtout en dehors, comme une véritable superfétation et un pléonasme architectural. Dans le fait, si c'est de loin, et vues en dehors d'une ville, que ces masses pyramidales produisent d'agréables effets, on est contraint d'avouer que, vues de près, elles ne font naître d'autre idée que celle d'un édifice monté sur un autre, souvent sans rien qui les réunisse et surtout qui les nécessite. Ajoutons qu'à l'intérieur on ne saurait y voir qu'une duplicité de motifs, de forme, d'ensemble et d'effet.» Ainsi, huit ou neuf siècles après que deux traditions opposées ont exercé une influence sur l'architecture, voici encore un auteur qui, sans d'ailleurs rendre compte de ces origines diverses, en signale le désaccord, reconnaît deux principes en présence, deux principes que neuf siècles d'efforts n'ont pu parvenir à mélanger. Disons cependant que les premiers essais n'ont pas été les moins bons, et que si la coupole du Panthéon de Paris présente avec le reste de l'édifice «une duplicité de motifs,» ce que nous admettons volontiers, si toutefois des motifs peuvent être accusés de duplicité, on n'en peut dire autant des coupoles de nos jolis édifices romans de l'Angoumois et du Périgord, lesquelles sont assises sur des constructions disposées dès la base pour les recevoir, et qui, à l'extérieur comme à l'intérieur, se relient parfaitement aux parties inférieures.
Mais avançons. Pendant que dans l'ouest de la France nous voyons la coupole sur pendentifs prendre racine et se développer, que dans les provinces du centre on cherche à la poser sur des trompes, sur des encorbellements, sur des corbeaux; en Provence, au commencement du XIIe siècle, la coupole couronne aussi les édifices religieux. En Auvergne, c'est sur le plan de la basilique latine que vient se poser la coupole; en Provence, c'est sur le plan romain emprunté aux salles des thermes, composées de travées avec contre-forts intérieurs, sur des plans qui se rapprochent de l'édifice connu à Rome sous le nom de basilique de Constantin, que s'implante la coupole. L'église de Notre-Dame-des-Dons à Avignon, quoique mutilée aujourd'hui, nous présente un exemple de l'invasion de la coupole sur des plans qui n'étaient nullement disposés pour la recevoir. L'unique nef de l'église de Notre-Dame-des-Dons se composait de travées barlongues voûtées en berceau sur arcs doubleaux en tiers-point maintenus par d'énormes contre-forts, entre lesquels s'ouvrent aujourd'hui des chapelles intérieures.

Voici (10) le plan de trois de ces travées, l'église n'en comportant que six. Sur l'avant-dernière, au lieu d'un berceau, huit arcs longitudinaux plein cintre, en encorbellement les uns sur les autres, reposent sur les deux grands arcs doubleaux, ainsi que l'indiquent les lignes ponctuées KL sur notre plan, afin d'arriver au carré parfait ABCD. À l'intérieur de ce carré, quatre trompillons forment l'octogone. C'est sur cette base que s'élève une petite coupole dont la calotte hémisphérique porte sur huit colonnes entre lesquelles s'ouvrent des fenêtres.

Nous donnons (11) la coupe de cette construction sur la ligne transversale EF, coupe qui nous évitera de plus longues explications. À l'extérieur, cette coupole est un petit édifice octogonal paraissant reposer sur le dallage dont est composée la couverture, et ne se reliant d'aucune façon au reste de l'église. À l'église de la Major, à Marseille, on trouvait une disposition analogue à celle-ci.
Nous devons donc constater ici encore une influence byzantine (car cette coupole de Notre-Dame-des-Dons rappelle parfaitement certaines petites coupoles grecques) venant se mêler à des traditions latines. Si nous nous transportons des bords da Rhône sur les bords du Rhin, nous allons trouver aussi des monuments du XIIe siècle dans lesquels la coupole apparaît, et c'est toujours la coupole byzantine, bien qu'elle ne soit pas élevée sur pendentifs. Mais, d'abord, faisons une excursion à Athènes.

L'une des plus grandes églises de cette ville est l'église de Saint-Nicodème 73, dont nous donnons (12) le plan, conforme d'ailleurs à la plupart des plans grecs. Une seule coupole surmonte le centre de l'édifice.

Si nous faisons une coupe sur la ligne AB, voici (13) le tracé que nous obtenons: quatre niches, ou plutôt quatre culs-de-four, font passer la construction du plan carré au plan circulaire qui reçoit la calotte au moyen de tympans gauches, ou de huit pendentifs à peine sentis qui surmontent les arcs. Là, évidemment, le constructeur n'a pas osé aborder les quatre pendentifs, et il y a suppléé par ces quatre niches, qui correspondent aux trompes si fréquentes dans nos constructions romanes d'Occident. Eh bien! dans la cathédrale de Worms, nous voyons une coupole (celle orientale) construite d'après ces données (14).

La seule différence qu'il y ait entre cette construction et celle de l'église de Saint-Nicodème d'Athènes, c'est qu'à Worms la coupole est à huit pans, au lieu d'être hémisphérique; mais l'artifice employé dans la construction de la coupole de Saint-Nicodème, pour arriver du plan octogonal au plan circulaire, ne pouvait être admis dans la grande église de Worms, où la coupole, au lieu de porter de fond, porte sur quatre arcs doubleaux; de plus, la construction des huit tympans gauches au-dessus des arcs doubleaux et des trompes eût occasionné des difficultés d'appareil avec lesquelles les architectes du Rhin n'étaient pas familiers. En examinant cette dernière construction avec quelque soin, ne voyons-nous pas que le triangle ABC sous l'arc en gousset est un véritable pendentif par sa forme sinon par son appareil? car les lits des assises sont horizontaux.
De tout ce qui précède, on peut conclure: que, dans l'architecture romane occidentale, à côté des traditions latines persistantes, on trouve presque partout une influence byzantine évidente par l'introduction de la coupole. Mais comment repousser une pareille influence dans le mode de construction, quand nous la voyons se manifester d'une manière si impérieuse dans la sculpture et la peinture pendant les XIe et XIIe siècles?
Cependant, si les architectes de l'Auvergne, de l'ouest, du midi et des bords du Rhin, adaptaient, tant bien que mal, la coupole orientale à des édifices latins par leur plan (Saint-Front excepté), ceux qui appartenaient aux écoles du nord ne se laissèrent pas entraîner à suivre cette mode, au moins dans leurs constructions: car, pour l'ornementation, la statuaire et la peinture, ils cherchèrent au contraire à se rapprocher des types orientaux (voy. ORNEMENT, SCULPTURE, STATUAIRE). Mais dans les arts, comme en toute chose de ce monde, il y a des transitions; tel se soumet franchement à une influence étrangère, tel autre y résiste absolument, un troisième essaye de se servir de cette influence comme d'un moyen pour exprimer des idées qui lui appartiennent. Il est en France, précisément dans la limite séparant les édifices à coupoles de ceux qui n'en comportent pas, un monument unique, étrange, dans lequel viennent, pour ainsi dire, se fondre les influences de l'art oriental avec les méthodes de construire adoptées dans le nord au commencement du XIIe siècle: c'est l'église de Loches 74. Cette église, qui est à une seule nef, est divisée par quatre travées à plan carré chacune; sur les deux travées extrêmes s'élèvent des clochers (voy. CLOCHER, fig. 27); mais sur les deux travées intermédiaires, au lieu de coupoles ou de voûtes d'arêtes, ce sont des pyramides creuses portées sur des encorbellements qui couvrent la nef (15).

On peut, par la pensée, se rendre compte de l'effet que produit un intérieur voûté d'une façon aussi étrange. Ces énormes pyramides creuses, obscures à leur sommet, causent un sentiment de terreur indéfinissable. Les grands triangles en encorbellement qui leur servent de base ne sont que la prolongation de quatre des pans de ces pyramides entre les arcs doubleaux et les formerets. Ici, du moins, la construction est d'accord avec la forme; car des pyramides creuses, composées d'assises dont les lits sont horizontaux, constituent une des constructions les plus solides qu'il soit possible de combiner. Aux coupoles de l'ouest, l'architecte de l'église de Loches a substitué les pyramides creuses des clochers du XIIe siècle; il évitait ainsi les poussées, et il appliquait un mode de construction qui lui était familier au plan de ces églises si communes en Saintonge, dans l'Angoumois et le Périgord 75.
La coupole disparaît au moment où l'art gothique se forme; cependant les provinces dans lesquelles ce mode de voûter les édifices avait été généralement appliqué ne peuvent se défaire entièrement de son influence, et nous voyons, dans le Poitou et les provinces de l'ouest, la voûte d'arête gothique se soumettre encore à cette influence (voy., au mot CONSTRUCTION, les exemples présentés depuis la fig. 61 jusqu'à la fig. 68).
Note 70: (retour) M. Mérimée a pris la peine de relever ce petit monument, et a bien voulu nous communiquer les précieux croquis qu'il a faits pendant son séjour à Saint-Honorat.
Note 71: (retour) Il faut dire que quand M. de Verneilh a publié son livre sur l'architecture byzantine en France, M. Abadie, l'architecte chargé de la restauration de Saint-Front, n'avait pas encore commencé les travaux qu'il dirige avec autant de dévouement que d'intelligence, et ce fait de la construction singulière des pendentifs n'avait pu être signalé.
Note 72: (retour) Voy. l'article COUPOLE.
Note 73: (retour) Voy. Choix d'églises byzant. en Grèce, par A. Couchaud; 1842.
Note 74: (retour) S'il est un édifice qui dût mériter toute la sollicitude de l'administration, c'est l'église de Loches; c'est un monument unique au monde, complet et d'une sauvage beauté. Il est à regretter qu'il soit à peu près abandonné, bien que sa conservation soit du plus haut intérêt pour l'histoire de l'art.
Note 75: (retour) Si ce curieux édifice se trouvait en Italie, en Angleterre ou en Allemagne, il serait connu, étudié, vanté et probablement préservé de toute chance de destruction, comme présentant une des conceptions les plus extraordinaires de l'art roman. Malheureusement pour lui, il est en France, à quelques kilomètres des bords de la Loire, abandonné aux restaurations des architectes de la localité, qui sont loin de se douter de son importance au point de vue de l'histoire de l'art, et qui ne peuvent en apprécier l'étrange beauté. Car il faut dire que la construction de ce monument est exécutée avec soin, que la sculpture et les profils sont du plus beau style.
COURONNEMENT DE LA VIERGE. Le couronnement de la sainte Vierge est un des sujets fréquemment représentés par les sculpteurs et les peintres verriers du XIIIe siècle dans les églises cathédrales et même paroissiales. À cette époque (au XIIIe siècle), le culte de la Vierge avait pris une grande importance relativement à ce qu'il avait été jusqu'alors, et la plupart des cathédrales que les évêques firent construire alors, dans le nord de la France, furent placées sous le vocable de la Mère de Dieu. Naturellement, les sculpteurs devaient retracer son histoire dans ces édifices; et, parmi les sujets préférés, son triomphe, c'est-à-dire son couronnement dans le ciel, prit la première place. On voit un couronnement de la sainte Vierge sculpté sur le tympan de la porte centrale de la cathédrale de Laon, commencement du XIIIe siècle. Là, le Christ bénit sa mère de la main droite et tient le livre des évangiles fermé de la main gauche. À Notre-Dame de Paris, il existe un magnifique couronnement de la Vierge sur le tympan de la porte de gauche de la façade occidentale (1215 environ). Il en existe un autre au-dessus du linteau de la petite porte rouge de la même église, face nord (1260 environ). Sur la façade principale de la cathédrale de Senlis est un des plus anciens couronnements de la Vierge (fin du XIIe siècle) et l'un des plus beaux comme style. À la cathédrale de Reims, sur le gâble de la porte centrale, le même sujet est représenté dans des dimensions colossales. Au portail de la Calende de la cathédrale de Rouen (XIVe siècle), on voit, au sommet du pignon, un couronnement de la Vierge; deux anges et deux séraphins sont placés des deux côtés du Christ et de sa mère. À la porte de droite de la façade de la cathédrale de Sens (XIVe siècle) est sculpté un couronnement de la Vierge; des anges sont placés dans les voussures.
Dans ces diverses représentations, la Vierge est assise à la droite du Christ et presque toujours sur le même siége. Elle joint les mains et incline légèrement la tête; le Christ pose lui-même la couronne sur la tête de sa mère, ou la bénit pendant qu'un ange, sortant d'une nuée, apporte cette couronne. Deux anges, debout ou à genoux, tenant des flambeaux, assistent à la scène divine. À la porte rouge de Notre-Dame de Paris, c'est un roi et une reine qui sont agenouillés des deux côtés des personnages, probablement Saint-Louis et la reine sa femme. Nous avons l'occasion de retracer ces sculptures au mot VIERGE (sainte).
COURTILLE, s. f. Vieux mot signifiant un jardin (voy. Sauval, Antiquités de Paris, t. Ier, p. 67).
COURTINE, s. f. Muraille de défense portant crénelage et chemins de ronde, aléoirs, aléours, et réunissant deux tours.
«Alez aus murs les aléoirs garnir» 76.
Les courtines des fortifications de l'époque romane sont épaisses, pleines, composées de blocages avec revêtement de pierre, ou plus fréquemment de petit moellon smillé; leurs chemins de ronde sont larges; quelquefois même ces courtines étaient terrassées, et leur relief, compris le crénelage, ne dépasse guère six mètres au-dessus du sol extérieur ou du fond du fossé. Dès le XIe siècle, les courtines étaient munies de hourds en bois à leur sommet. Au XIIIe siècle, on augmenta le relief des courtines, et nous leur voyons atteindre une hauteur de dix ou douze mètres dans des places très-fortes. Alors les perçait-on parfois d'archères à leur partie inférieure, pour voir ce qui se passait au fond du fossé et pour envoyer des carreaux d'arbalète sur les assaillants. Les moyens de sape s'étant très-perfectionnés pendant le XIIIe siècle, on renonça généralement aux archères percées à la base des courtines, car leurs longues fentes indiquaient aux assaillants les points faibles de la muraille. Au XIVe siècle, les courtines redeviennent pleines à la base, et toute la défense se porte aux sommets, lesquels, à cette époque, se munissent de mâchicoulis de pierre avec parapets crénelés couverts ou découverts. Lorsque l'artillerie à feu commence à jouer un rôle important dans l'attaque des places, on perce de nouveau des meurtrières ou des embrasures à la base des courtines pour battre le fond du fossé. Puis, vers la fin du XVe siècle, on terrasse les courtines intérieurement, autant pour résister aux batteries de brèche que pour placer de l'artillerie au niveau des chemins de ronde. Au XVIe siècle, on dresse souvent, devant les courtines et au niveau de la contrescarpe du fossé, des fausses braies ou chemins extérieurs crénelés, propres à recevoir des arquebusiers battant les glacis et les fossés. Les courtines romanes ont leur parement extérieur monté d'aplomb, sans fruit, afin de rendre l'escalade plus difficile. Vers la fin du XIIe siècle, souvent les courtines ont un glacis peu prononcé à la base, autant pour empêcher l'approche des beffrois roulants que pour mettre l'assaillant directement sous les trous des hourds de bois. Cette méthode est suivie pendant le cours du XIIIe siècle. Lorsque les mâchicoulis de pierre remplacèrent les hourds de bois, les constructeurs tracèrent le profil des courtines de façon à ce que les projectiles, tombant par les trous de ces mâchicoulis, vinssent rencontrer un glacis à trois mètres du sol environ; les projectiles, ricochant alors sur la pente du glacis, venaient frapper les assaillants obliquement, et en tuaient ou blessaient ainsi un plus grand nombre que s'ils fussent tombés verticalement. Pour résister aux boulets, on donna du fruit aux parements des courtines vers la fin du XVe siècle, et depuis lors jusqu'à ces derniers temps cette méthode a été suivie (voy: ARCHITECTURE MILITAIRE, BASTILLE, CHÂTEAU, CRÉNEAU, DONJON, HOURD, MÂCHICOULIS, SIÉGE).
Note 76: (retour) Le Roman de Garin de Loherain, t. I, p, 169. Édit. Techener; 1833. Du Cange explique ainsi le mot aléoirs, le chemin de ronde qui sert de défense supérieure à la courtine: «Certa pars archeariarum, seu fenestricularum in urbium et castrorum muris, per quas sagittarii sagittas in obsidentes emittebant.»
COUVERTURE, s. f. Revêtement en dalles, en tuiles, en ardoise ou en plomb, destiné à garantir les voûtes ou les charpentes d'un édifice contre les eaux pluviales (voy. ARDOISE, CHARPENTE, DALLAGE, PLOMBERIE, TUILE).
COUVRE-JOINT, s. m. Baguette ou liteau de bois simple ou mouluré recouvrant les joints d'une huisserie composée de planches assemblées à grain-d'orge, à languettes ou jointives, des lambris d'une voûte en bardeaux ou de boiseries intérieures. La fig. 1 présente plusieurs profils de couvre-joints (voy., pour les couvre-joints des lambris sous comble, le mot CHARPENTE).

COYAU, s. m. Petite pièce de charpente clouée à l'extrémité des chevrons pour adoucir la pente des couvertures au point où celles-ci posent sur les corniches. La fig. 1 présente, en A, des coyaux posés au pied des chevrons d'une charpente. Les coyaux ont l'avantage d'isoler les assemblages des arbalétriers et chevrons dans les entraits B et les blochets C, ainsi que les semelles traînantes D. Ils empêchent ces diverses pièces et leurs assemblages de pourrir au contact de la pierre, en laissant circuler l'air autour d'elles (voy. CHARPENTE).

CRAMPON, s. m. Pièce de fer ou de bronze reliant ensemble deux pierres. La fig. 1 est un de ces crampons de fer scellés au plomb si fréquemment employés dans les constructions du XIIIe siècle; ils tenaient lieu alors de chaînages; ils sont généralement en fer carré de 0,02 c. à 0,03 c., sur une longueur de 0,30 c. à 0,40 c. (voy. CHAÎNAGE).

CRÉATION, s. f. La création du monde est fréquemment représentée en sculpture sur les portails des églises des XIIIe et XIVe siècles, et en peinture dans les vitraux. Nous l'avons dit ailleurs (voy. CATHÉDRALE), les grandes églises bâties à la fin du XIIe siècle et au commencement du XIIIe par les évêques de France à la place des vieilles cathédrales romanes, pour réunir un très-grand nombre de fidèles et pour offrir aux populations des villes de vastes espaces couverts propres aux réunions civiles, politiques et religieuses, étaient couvertes de sculptures et de peintures sur verre qui reproduisaient les scènes de l'Ancien et du Nouveau-Testament, les prophéties, des légendes, et présentaient à la foule une véritable encyclopédie figurée de l'état des connaissances humaines à cette époque.
Naturellement la création, les zodiaques, les travaux de l'année n'étaient pas oubliés, et sont, le plus souvent, sculptés sur les portails des cathédrales. Une des plus remarquables représentations de la création se voit taillée dans la voussure de la grande baie de droite de la façade occidentale de la cathédrale de Laon (commencement du XIIIe siècle). Les sujets commencent par la gauche: le premier (1) représente Dieu pensant à l'oeuvre à laquelle il va se livrer; il semble supputer le nombre de jours qu'il lui faudra pour terminer son ouvrage.

Dans le second compartiment, placé au-dessus du premier, Dieu crée la hiérarchie céleste; dans le troisième, il sépare la terre des eaux; dans le quatrième, il forme le ciel; dans le cinquième, la terre, sous forme de plantes; dans le sixième, il crée les poissons et les oiseaux; dans le septième, l'homme et des quadrupèdes; dans le huitième (2), Dieu est assis et dort la tête appuyée sur un bâton. Le neuvième sujet représente des anges et des hommes qui adorent Dieu; celui-ci paraît admirer son oeuvre. Le dixième sujet indique la destinée humaine. Un personnage de grande taille, couronné, porte sur ses genoux deux autres petits personnages, également couronnés, qui l'adorent. Deux anges apportent des couronnes à droite et à gauche de la tête du personnage principal: ce sont les élus réfugiés dans le sein de Dieu. Dessous ses pieds, une grosse tête de démon dévore un homme nu: c'est l'enfer et ses victimes. On voit des bas-reliefs fort beaux représentant la création sur les soubassements de la porte de gauche de la cathédrale d'Auxerre (fin du XIIIe siècle). Les sujets de la création se trouvent sculptés à la cathédrale de Rouen, au portail des Libraires (XIVe siècle). À Chartres, à Reims, on trouve également une belle série de ces mêmes sujets sculptés sous les voussures des portails.
CRÉDENCE, s. f. Tables ou tablettes disposées près des autels pour recevoir divers objets nécessaires au sacrifice de la messe. Thiers dit 77 que, de son temps, la plupart des autels des cathédrales n'avaient point de crédences, mais que «ceux des autres églises en possédaient, les uns deux, l'une à droite, l'autre à gauche; plusieurs autels n'en ont qu'une à droite, c'est-à-dire du côté de l'épître.» Il ajoute: «Il n'y a que la crédence qui est du côté de l'épître qui serve à mettre le calice, les burettes, le livre des épîtres et les évangiles, etc. Celle qui est à gauche ne sert de rien, si ce n'est pour faire la symétrie, ou tout au plus pour placer quelques chandeliers et quelques violiers.» Au moyen âge, où l'amour pour la symétrie n'était pas poussé à ce point de faire un meuble ou de poser une tablette et une armoire en pendant d'une autre, pour satisfaire à une manie vulgaire, on suivait simplement les premières rubriques du missel romain, qui ne veulent qu'une crédence du côté de l'épître; encore insinuent-elles qu'on peut s'en passer s'il se trouve une fenêtre, une retraite d'appui près de l'autel, où l'on puisse poser la clochette, les burettes, le bassin et l'essuie-mains qui servent pendant la messe 78. «Le cérémonial des évêques, continue Thiers, n'en veut qu'une aussi, non plus que Gavantus, les autres cérémoniaux et les autres rubriques; encore disent-ils qu'on ne s'en doit servir qu'aux messes solennelles, et non point aux autres messes... Anciennement néanmoins les crédences n'ont été connues ni des Grecs ni des Latins.» Anciennement est un peu vague, et nous trouvons des crédences au-dessus des piscines, ou à côté d'elles, dans des églises bâties au XIIe et au XIIIe siècle, du côté de l'épître (voyez PISCINE). Ces crédences ont souvent la forme de petites armoires où sont de petites niches creusées dans la muraille, avec tablette de pierre en avant. Voici cependant une crédence, du milieu du XIIIe siècle, qui se trouve placée dans l'arcature de la chapelle de la Vierge de la cathédrale de Séez, fig. 1.

La tablette est peu saillante, munie d'un petit rebord, ainsi que l'indique le profil A; mais la place qu'elle occupe est bien marquée et richement décorée. Au XVe siècle, les crédences près des autels se composent parfois d'une petite pile ou colonnette portant une tablette circulaire ou polygonale (2). Mais ces exemples sont rares, car la plupart de ces objets ont été détruits lorsqu'au siècle dernier on eut la funeste idée de garnir les chapelles de nos églises de boiseries peintes en blanc et or, comme on le faisait pour les boudoirs à la mode d'alors.

Note 77: (retour) Dissert. sur les princip. autels des églises, chap. XXV. I 688.
Note 78: (retour) A parte epistola paretur cereus ad elevationem Sacramenti accendendus, parva campanula, ampullæ vitreæ vini et aquæ, cum pelvicula et manutergio mundo in fenestrella, sen in parva mensa, ad hæc præparata.
CRÉNEAU, s. m. Quernal, aquarniau, carnel, créniau. Aujourd'hui on ne désigne par le mot créneau que les vides pratiqués dans un parapet pour permettre aux défenseurs des murailles de voir les assaillants et de leur lancer des projectiles. Mais au moyen âge, on entendait par créneau toute ouverture pratiquée au sommet d'une tour ou d'une courtine, couverte ou découverte, et qui servait à la défense. Nous reprenons la dénomination employée pendant le moyen âge, et nous parlerons des créneaux couverts ou découverts, libres ou fermés par des volets. Disons d'abord que les intervalles pleins laissés entre les créneaux sont les merlons, car il n'y a pas de créneaux sans merlons, comme il n'y a pas de fenêtres sans trumeaux.
Cependant il est certain qu'au moyen âge on donnait le nom de créneau indistinctement aux vides laissés entre les merlons ou aux merlons eux-mêmes.
« Si se vont esbatre en la tor
As fenestres vont tot entor (fenêtre ici pour créneau)
Et le chevalier tient l'espié
A un carnel s'est apuié 79.»
Carnel est évidemment ici le merlon, car on ne s'appuie pas contre un vide. Quoi qu'il en soit, et comme nous prenons autant que possible les dénominations adoptées généralement, il est entendu que, pour nous, le créneau est le vide et le merlon désigne le plein.
Les dimensions des crénelages étant données par la taille de l'homme, ces dimensions varient peu: les merlons ont toujours à peu près deux mètres de hauteur, pour pouvoir garantir complétement les défenseurs; les appuis des créneaux sont à un mètre du sol du chemin de ronde, et leur largeur varie d'un mètre, à soixante-dix centimètres. Quant aux largeurs des merlons, elles sont très-variables; nous allons voir pourquoi.
Les créneaux qui couronnent les fortifications gallo-romaines sont percés habituellement dans des parapets d'une épaisseur assez forte, 0,50 c. environ, construits en moellons taillés et en brique, couronnés par une dalle de recouvrement formant une saillie tout autour du merlon, ainsi que l'indique la fig. 1.

Les merlons n'ont alors que la largeur suffisante pour cacher un seul homme. Ces dispositions étaient données par le système de défense de cette époque. Il ne paraît pas que les Romains aient employé l'arbalète à main; ils avaient des archers, des frondeurs, et chaque défenseur, muni d'une de ces deux armes, avait son merlon pour se mettre à couvert pendant qu'il s'apprêtait à tirer. Il était donc naturel alors de multiplier, autant que faire se pouvait, les merlons et les créneaux. Les murailles antiques de la ville de Pompéii, bâties sous la République, et qui sont plus grecques que romaines, présentent des crénelages dont chaque merlon est muni d'une traverse en pierre pour garantir le tireur contre les traits projetés obliquement. Chaque archer possédait ainsi sa cellule percée d'un créneau (1 bis). Ce système de crénelages ne paraît pas avoir été suivi sous les Romains de l'Empire; ceux-ci se contentent du crénelage que nous avons tracé fig. 1. Jusque vers la fin du XIe siècle, il ne semble pas qu'on ait apporté des modifications sensibles à ces crénelages romains. À cette époque, les expéditions en Orient firent connaître des moyens de défense et d'attaque relativement très-perfectionnés. Les Byzantins et par suite les Arabes possédaient des machines de guerre qui faisaient l'admiration des Occidentaux en même temps qu'elles jetaient la terreur dans leurs rangs; les murs de leurs places fortes étaient bien munis, bien défendus. Aussi est-ce après les premières croisades que l'on voit, en Occident, le système de la défense supérieure des tours et murs se modifier totalement. Non-seulement le système de crénelage est changé, mais il se combine avec le système des mâchicoulis mobiles en bois connus sous le nom de hourds (voy. HOURD). Les merlons s'allongent, les créneaux deviennent plus espacés et, entre eux, au milieu des merlons, de petites ouvertures (archières) sont pratiquées pour le tir de l'arbalète à main; on évite avec grand soin ces tablettes saillantes qui couronnaient les merlons antiques, car ces saillies facilitaient l'escalade ou donnaient prise aux grappins que les assaillants jetaient au sommet des murailles pour renverser les parapets. Les crénelages les plus anciens que nous connaissions en France, construits après les premières croisades, sont ceux qui couronnent les tours et courtines du château de Carcassonne (fin du XIe siècle ou commencement du XIIe). Ils sont intacts; en voici le détail (2).

Déjà, ici, des trous sont percés dans les merlons pour le tir de l'arbalète: ce sont des fentes étroites, s'ébrasant à l'intérieur en forme d'arcade. Ces merlons sont épais, bâtis en pierre de taille aux angles et en moellon smillé. Des trous de hourds sont percés au niveau du sol du chemin de ronde ou des planchers, et un peu au-dessous de l'appui des créneaux; les trous inférieurs, pour recevoir des liens destinés à soulager les solives en bascule passent par les trous supérieurs (voy. HOURD). Les hourds posés, leur sol se trouvait alors au niveau de l'appui des créneaux; aussi les merlons sont assez hauts pour permettre à un homme de passer debout par les créneaux, comme par autant de portes, afin de se poster sur les hourds. En temps de paix, les crénelages des courtines du château de Carcassonne n'étaient pas couverts, tandis que ceux des tours l'étaient en tout temps par des combles à demeure. Les sablières de ces combles passaient sur les têtes des merlons et formaient linteaux (voy. TOUR). Les tours commandant toujours les courtines, mais étant mises en communication avec leurs chemins de ronde par des portes bien ferrées et des escaliers, on faisait ressauter les crénelages, afin de garantir les gens qui se trouvaient sur ces degrés, ainsi que l'indique la fig. 3, tirée des défenses du même château de Carcassonne.

L'influence orientale est singulièrement prononcée dans un crénelage du XIIe siècle conservé encore sur une partie du transsept sud de la cathédrale de Béziers. On sait toute l'importance qu'avait acquise Béziers à cette époque; elle était défendue par de puissantes murailles dont on voit encore des débris gigantesques. La cathédrale, bâtie au sommet de la cité, était pourvue d'une enceinte et était elle-même une véritable citadelle. Le transsept du sud commandait tout le cloître, dont les murs extérieurs étaient crénelés. Or, voici comment ce transsept était crénelé lui-même: sur deux contre-forts saillants qui appuient ses deux angles était élevé un parapet percé d'archères flanquantes.

Tel est (4) le plan de ce parapet crénelé. On voit que les cinq archères sont tracées de manière à envoyer des projectiles divergents. À l'intérieur, ces meurtrières sont évasées en arcades comme celles du château de Carcassonne. Voici (5) l'aspect extérieur de ce parapet crénelé, avec la belle corniche quasi-orientale sur laquelle il repose. Le sol intérieur est au niveau A, et la tête saillante est une gargouille rejetant les eaux du chemin de ronde. Du sol du chemin de ronde, au-dessus de la corniche B, il n'y a qu'un mètre dix-huit centimètres de hauteur; mais il faut savoir que ce crénelage domine tellement les alentours, que les hommes placés derrière, quoique leur tête dépassât le dessus de la corniche B, étaient parfaitement masqués pour des assaillants placés beaucoup au-dessous. Les quatre archères C (voy. le plan) sont très-plongeantes, tandis que celle D ne l'est pas; et, en effet, cette archère ne pouvait servir qu'à viser en face et très-loin du pied du monument. La distance qui sépare le sol du chemin de ronde de la grande corniche inférieure est nécessaire pour que les tireurs dégagent la saillie de cette corniche, ce qu'indique suffisamment la coupe (6) faite sur l'axe d'une des archères C du plan.

Entre les deux contre-forts, il existait très-certainement un parapet avec créneaux qui est malheureusement détruit. Il ne faut pas oublier que, dans la cathédrale de Béziers, ce crénelage est en même temps la corniche décorative d'un édifice religieux, ce qui explique cette richesse de profils, cette tablette moulurée supérieure, que l'on ne trouve pas dans les édifices militaires de cette époque. Au XIIIe siècle, les créneaux sont évidemment construits d'après une formule donnée par l'expérience. Les merlons ont 2 mètres de haut sur lm,70 au moins, et 3m,30 au plus de largeur sur 0,45 c. d'épaisseur; l'appui des créneaux est à 1 mètre du sol du chemin de ronde, et leur largeur est de 0,70 c. Au milieu de chaque merlon est percée une archère. Le système de défense est étudié avec un soin minutieux.

Soit (7): en A, la face extérieure du crénelage; en a sont les archères, qui n'ont pas plus de 0,07 c. à 0,08 c. d'ouverture; en b sont les trous des hourds percés à distances égales, afin que les madriers qui doivent poser sur les solives puissent être coupés d'avance d'égale longueur; en B, le plan du crénelage avec ses archères, lesquelles ont 0,40 c. à 0,45 c. d'ébrasement; en C, la coupe sur un créneau; en D, la coupe sur une archère, et, en E, la face intérieure sur le chemin de ronde. L'appui des archères est toujours placé à une assise en contre-bas de l'appui des créneaux; et (voy. la coupe sur l'archère) l'extrémité de son talus plongeant arrive à une assise au-dessous des trous des hourds, afin que, les hourds étant posés, les arbalétriers puissent tirer sur les assaillants en-dessous des planchers de ces hourds. L'extrémité inférieure des archères est taillée ainsi que l'indique le tracé G, afin de donner plus de champ au tir sans démasquer l'arbalétrier. On voit que les détails sont combinés avec le plus grand soin; les constructeurs observent rigoureusement les mêmes méthodes, à très-peu de différences près, pendant le cours du XIIIe siècle. Ce sont là des créneaux de courtines découverts en temps de paix et couverts seulement en cas de guerre par les toits des hourds (voy. HOURD).

Quant aux créneaux des tours couvertes, au XIIIe siècle, aux créneaux sous comble, voici comment ils sont disposés (8). Les murs ayant 0,90 c. d'épaisseur, les créneaux ont une allége A, afin de permettre aux défenseurs de voir en dehors; ces créneaux sont munis, à l'extérieur, de deux volets à crémaillères tombant en feuillures, comme les parties supérieures des sabords des vaisseaux de guerre; le volet inférieur roule au moyen d'un pivot horizontal dans deux colliers de fer non fermés B, de manière à ce qu'il soit facile de l'enlever en temps de guerre lorsqu'on pose les hourds; car alors les défenseurs passent par les créneaux comme par des portes pour se ranger sur les hourds. Le volet supérieur est maintenu par deux gonds C scellés dans la feuillure et se regardant; ces volets sont à demeure. Si deux volets ont été placés en dehors de ces créneaux au lieu d'un seul, c'est afin de rendre plus facile la dépose du volet inférieur, qu'un homme peut enlever du dedans, ainsi que nous l'avons expérimenté; c'est afin encore, en cas d'attaque, et les hourds n'étant pas posés, de garantir les défenseurs contre les projectiles lancés du dehors de bas en haut, ce qui ne les empêche pas, en laissant entrebâillé le volet supérieur, d'avoir de l'air et du jour. Si même on laisse seulement le volet inférieur entrebâillé, on peut tirer sur des gens placés en bas des tours sans se démasquer. Ce système de volets est adopté pour les créneaux qui se trouvent percés sur les parapets des courtines à côté des portes donnant entrée du chemin de ronde dans les tours (9).

Cette précaution était nécessaire pour garantir parfaitement les hommes qui attendaient, sur le chemin de ronde, qu'on leur ouvrît la porte d'une tour, après s'être fait reconnaître. C'est ainsi que sont construits, sans exception, tous les crénelages des tours de la cité de Carcassonne, qui datent de la fin du XIIIe siècle. Cependant, sur les courtines de cette même forteresse qui avoisinent la porte Narbonnaise et qui sont antérieures aux défenses bâties sous Philippe le Hardi, on voit des crénelages beaucoup plus forts que ne le sont les crénelages du XIIIe siècle. Il est vrai que cette partie de la cité était celle devant laquelle on pouvait organiser une attaque en règle. Ces derniers créneaux donc sont plus hauts, plus épais que les créneaux ordinaires des courtines, et leur parement intérieur sur le chemin de ronde est monté en fruit, ainsi que l'indique la fig. 10. Chaque créneau, en raison de la forte épaisseur des merlons, possède une allége. Quoique découverts, ils étaient garnis de volets inférieurs à rouleaux. L'inclinaison du parement intérieur nous semble faite pour permettre aux défenseurs de mieux enfiler la courtine, en laissant toutefois au crénelage une force de résistance extraordinaire. Ces défenses sont cependant légères, si nous les comparons à celles qui couronnent le donjon du château de Coucy (voy. aux mots DONJON, HOURD.).

Au commencement du XIVe siècle, le système de crénelage des tours et courtines fut de nouveau modifié entièrement; aux hourds de bois, souvent incendiés par les assiégeants, on substitua des hourds de pierre, c'est-à-dire des mâchicoulis, et au lieu de laisser les crénelages en retraite, on les mit en saillie, en surplomb du nu des murailles, à l'extrémité des consoles ou sur les arcs que formaient ces mâchicoulis. Un des plus anciens exemples de ce mode de construction et un des plus curieux en ce qu'il emploie à la fois le moyen des arcs et des consoles pour porter le crénelage et composer une suite de mâchicoulis, se voit sur la façade occidentale de la cathédrale de Béziers, fortifiée au XIIe siècle, comme nous l'avons dit plus haut, réparée, rebâtie en partie et fortifiée de nouveau au commencement du XIVe siècle: (voy. MÂCHICOULIS.).
En faisant surplomber les parapets crénelés sur les nus extérieurs des
murs, les constructeurs du XIVe siècle donnèrent aux profils des
créneaux une forme nouvelle destinée à mieux préserver les défenseurs.
Il faut dire que les créneaux ne servaient guère qu'à jeter des pierres
sur les assaillants; les arbalétriers ou les archers se postaient
derrière les merlons et décochaient leurs traits ou carreaux par les
longues fentes des meurtrières. Or, vers le milieu du XIVe siècle, les
armées assiégeantes se faisaient accompagner de troupes très-nombreuses
d'archers et d'arbalétriers qui, lorsqu'on attaquait les remparts au
moyen de la sape ou qu'on voulait les escalader, couvraient les
crénelages de projectiles, afin d'empêcher les assiégés de se montrer.
Les anciens créneaux, avec leurs faces retournées à angle droit,
faisaient ricocher les traits, lesquels alors blessaient même les
défenseurs cachés derrière les merlons. Les architectes, pour éviter cet
inconvénient, donnèrent aux créneaux des ébrasements extérieurs
prononcés, et profilèrent ces ébrasements de façon à empêcher les
ricochets.
La figure 11 explique ce détail de la défense: A est la coupe de l'appui du créneau; on voit en B le profil inférieur, et en C le boudin supérieur qui arrêtaient les flèches et carreaux et les empêchaient de pénétrer en ricochant derrière les parapets. Les défenses établies au XIVe siècle devant la façade occidentale de la cathédrale de Béziers se composent d'un crénelage profilé conformément à ce système.

Nous indiquons dans la figure 12 la face extérieure du parapet crénelé, qui est posé sur un arc en avant de consoles formant quatre larges mâchicoulis qui s'ouvrent au-dessus de la rose centrale.

La figure 13 présente la coupe de ce crénelage: l'arc est en A: les mâchicoulis en B, avec leurs consoles en C, et les saillies D, destinées à empêcher les traits de remonter en ricochant par les trous des mâchicoulis; la coupe est faite sur l'appui du créneau du milieu.
La figure 14 reproduit l'aspect des merlons à l'intérieur, avec les archères richement profilées vers leur partie supérieure. Le parapet crénelé est ici complétement indépendant des consoles, qui forment mâchicoulis, ainsi que le font voir la coupe 13 et la vue perspective extérieure.

Depuis lors, les créneaux furent, dans les défenses bâties avec soin, munis de ces profils destinés à éviter les ricochets. Seulement, il arrive souvent, au XVe siècle, que les profils avec leurs ébrasements ne pourtournent pas les merlons, et se trouvent seulement sur l'appui des créneaux et sur le sommet des merlons, ainsi que l'indique la fig. 15.
Quelquefois, à la fin du XVe siècle et au commencement du XVIe (car les parapets crénelés persistèrent longtemps après l'invention de l'artillerie à feu), les merlons sont décorés de sculptures, d'écussons armoyés, de médaillons, comme à la tour des Gens-d'Armes de Caen et dans quelques châteaux de l'époque de transition. Cependant, lorsque l'emploi des bouches à feu devint général, on chercha à modifier les crénelages de manière à résister aux projectiles nouveaux et à permettre aux arquebusiers de s'en servir avec avantage. Ce n'est pas dans les châteaux féodaux français qu'il faut aller chercher ces perfectionnements. La noblesse française protesta longtemps contre l'emploi de la poudre à canon; elle ne céda que fort tard à cette nouvelle puissance, dont, au contraire, les villes libres profitèrent avec empressement. C'est dans le Nord, en Suisse, dans les vieilles cités allemandes qu'il faut étudier ces perfectionnements introduits dans les détails de la fortification pendant que l'emploi de l'artillerie à feu devenait plus général.

On voit encore à Bâle, sur l'ouvrage avancé de la porte Saint-Paul, un crénelage, du commencement du XVIe siècle, qui a conservé ses meurtrières disposées pour des arquebusiers. Ce crénelage est porté sur de faux mâchicoulis, qui ne sont plus là qu'une décoration (16). Les merlons sont très-épais et percés de larges meurtrières garnies de rouleaux en pierre tournant verticalement sur deux pivots, de manière à fermer complétement la meurtrière pendant que le soldat charge son arme.
En A est tracé le plan des merlons; en B, le rouleau de pierre de la meurtrière est tourné de façon à permettre de tirer; en C, de façon à masquer l'ouverture. Ces merlons, très-étroits d'ailleurs, sont munis de profils pour empêcher les balles de ricocher. Il existe des embrasures de ce genre dans les fortifications de Nuremberg antérieures à celles élevées par Albert Dürer (voy. EMBRASURE). On voit aussi, sur les courtines réunissant les gros bastions circulaires construits par cet habile artiste autour de la même ville, des crénelages disposés pour du canon et des arquebusiers qui méritent d'être mentionnés ici: ils sont percés dans un parapet très-épais; les meurtrières se composent d'un trou circulaire avec une mire au-dessus; les créneaux sont munis de volets en bois à bascule percés d'un trou pour pointer avant de démasquer la bouche de la pièce (17); le chemin de ronde est entièrement couvert par un appentis.

Plusieurs des courtines de Nuremberg sont munies de crénelages en bois posés au-dessus des parapets, percés d'embrasures pour les bouches à feu, ainsi que l'indique la fig. 18. Évidemment ces crénelages en bois, qui rappellent les hourds du moyen âge, ont été prévus lors de la construction des courtines, car les glacis arrondis dans lesquels sont percées les embrasures sont garnis de corbeaux en pierre destinés à porter ce crénelage en pans-de-bois.

Au commencement du XVIe siècle, on voit souvent les courtines et boulevards réservés pour la grosse artillerie à feu, tandis que les crénelages, pour les arquebusiers, sont percés dans des parapets en contre-bas du couronnement de ces grands ouvrages. Ces parapets crénelés inférieurs prennent alors le nom de fausses braies (voy. au mot ARCHITECTURE MILITAIRE).
Les tours de commandement de l'enceinte de Nuremberg, élevées par Albert Dürer, sont couronnées par des crénelages en bois avec volets destinés à garantir les artilleurs qui servaient les pièces de petit calibre montées sur la plate-forme supérieure (voy. TOUR). Au sommet de la tour de guet du château de la même ville, on voit encore un crénelage en bois complet sous le comble, avec volets se relevant à l'intérieur.

Voici (19) une vue perspective d'un de ces créneaux prise à l'intérieur. En A, une coupe géométrale présente le volet relevé avec sa charnière. En France, nous ne sommes pas si bons conservateurs; nous avons détruit tous ces ouvrages supérieurs en bois de nos fortifications de la fin du moyen âge. Il y a dix ans, à Langres, on trouvait quelques restes des crénelages en pans-de-bois du commencement du XVIe siècle, lesquels avaient beaucoup de rapports avec ceux que nous donnons ici; mais, Langres ayant subi une restauration complète, on a fait disparaître les vieilles galeries de bois pour les remplacer par des parapets à hauteur de ceinture, avec la tablette d'appui réglementaire.
Note 79: (retour) Roman du Renart, vers 22573 et suiv.
CRÊTE, s. f. C'est le nom que l'on donne au couronnement décoré d'un comble. On disait d'un toit, au moyen âge, qu'il était quarnelé ou crêtelé, lorsque son faîtage était couronné d'une crête en pierres, en terre cuite ou en métal.
Pendant la période romane, les combles formaient un angle très-obtus à leur sommet, conformément à la méthode antique. Si l'édifice était voûté en berceau, la couverture en dalles ou en tuiles était posée à cru sur l'extrados de la voûte, et un faîtage en pierre recouvrait la jonction des deux versants du comble; ce faîtage était souvent décoré d'ajours, ainsi qu'on peut le voir encore dans la plupart des édifices de l'Auvergne. Plus tard même (au XIIe siècle), des faîtages en pierres découpées furent posés au sommet des charpentes. Plusieurs raisons motivaient l'emploi de ces sortes de couronnements. D'abord, la plupart des charpentes étaient dépourvues de sous-faîtes et de pannes; elles ne se composaient que d'une suite de chevrons espacés; il était nécessaire alors de donner de l'assiette à ces chevrons non reliés entre eux, au moyen d'un poids posé à leur extrémité. Il fallait encore recouvrir les dernières tuiles par des faîtières qui fussent assez lourdes pour ne pas être renversées par l'effort du vent et assez larges pour empêcher la pluie ou la neige de passer entre les deux rampans de tuiles.

Chacun a pu voir comment, sur les toitures en chaume, les paysans forment un large faîtage de boue, dans laquelle ils piquent des plantes grasses pour maintenir la terre et l'empêcher de se dissoudre à la pluie (1). L'origine des crêtes de comble se retrouve dans ce procédé naïf.

Sur les couvertures des édifices voûtés en berceau de l'Auvergne et des provinces méridionales de la France, on voit encore des crêtes en pierre découpée qui sont assez élégantes. En voici (2) plusieurs modèles: ces crêtes posent à cru sur la voûte, ainsi qu'il est indiqué en A. Au sommet des chapelles absidales de Notre-Dame-du-Port, à Clermont, il existe d'élégants bouts de crêtes évidés dans des dalles qui partent du sommet du cône formé par la couverture en dalles de ces chapelles, et vont s'appuyer le long du mur du bas-côté (3). Dans les provinces où la tuile fut employée généralement pour les couvertures, comme en Bourgogne, par exemple, les crêtes des combles sont composées au moyen d'une suite de faîtières en terre cuite plus ou moins décorées (voy. FAÎTIÈRE, TUILE).

Ce n'est pas seulement sur les combles recouvrant les voûtes que l'on plaça des crêtes en pierre: quelquefois (et surtout pendant la période ogivale) on voit des crêtes sculptées sur les sommets des contre-forts couronnés par des larmiers à double pente. On trouve des exemples de ces crêtes couronnant les sommets des contre-forts de la nef de l'église de Notre-Dame de Dijon (4) (commencement du XIIIe siècle). Ici, ce sont des animaux entremêlés de feuillages, disposés irrégulièrement. Plus tard, pendant les XIVe et XVe siècles, ces sortes de crêtes se composent d'ornements réguliers terminés par des feuillages (5).

Sur les charpentes recouvertes en ardoises ou en métal, on posa presque toujours des crêtes en plomb dès le XIIe siècle. La présence de ces crêtes en plomb était motivée par la combinaison même des charpentes qui consistaient, ainsi que nous venons de le dire, en une suite de chevrons non reliés entre eux par des sous-faîtes et des pannes. Le poids de la crête de plomb placé au sommet de ces chevrons assurait leur stabilité. Des crêtes de plomb sur des édifices antérieurs au XVe siècle, il ne reste plus trace; on ne peut constater leur présence que sur les bas-reliefs, les vignettes des manuscrits, et sur les châsses faites souvent en forme de petites églises. C'est dans ces objets d'orfévrerie qu'il faut nécessairement aujourd'hui aller chercher les modèles des crêtes de métal des XIIe, XIIIe et XIVe siècles, et ces modèles sont nombreux. Toutefois, si l'on veut se servir de ces crêtes d'orfévrerie pour les appliquer à des monuments, il faut tenir compte de la différence d'échelle et modifier le dessin en conséquence. Telle crête de châsse d'une hauteur de cinq à six centimètres, qui produit un bon effet, deviendrait lourde et massive si on se contentait de la grandir à un mètre de hauteur. L'expérience seule peut indiquer les dimensions et proportions qu'il faut donner aux décorations qui se découpent sur le ciel. Tel ornement qui semble bien composé et proportionné dans l'atelier est disgracieux, lourd ou confus, placé à trente mètres d'élévation et se détachant en silhouette sur le ciel. Dans cette position, il arrive, par exemple, que les parties délicates sont dévorées par la lumière, et les parties pleines, au contraire, s'allourdissent en perdant leurs détails. Les dessins larges, bien accusés, faciles à saisir, simples de modelé, sont ceux qui produisent l'effet le plus satisfaisant. D'ailleurs, pour que ces sortes de décorations soient comprises, il est nécessaire que le même dessin se répète un grand nombre de fois. Il faut donc penser, en composant ces frises ajourées, à l'étendue qu'elles doivent occuper, le plus ou moins de développement de l'ornement devant influer sur sa composition. Si la crête ne se développe que sur une longueur de quelques mètres, il faudra choisir, comme pour les balustrades, un dessin serré, dans lequel les ornements se rapprochent de la verticale; si, au contraire, la crête occupe un long faîtage, il sera nécessaire d'élargir la composition du dessin.
Les crêtes en métal qui existaient sur les combles couverts en plomb ou en ardoises étaient, au XIIe siècle (autant qu'on en peut juger par l'examen des bas-reliefs), absolument pareilles, comme style, à celles qui décorent les châsses de cette époque; elles paraissent avoir pris, comme dimension et richesse, une grande importance vers la fin de ce siècle. Inutile d'insister sur la composition des dessins, qui se conformait au goût parfait de ce temps.

Nous donnons (6) une de ces crêtes. Vers le milieu du XIIIe siècle, les crêtes en métal se transforment comme toute l'ornementation monumentale. On abandonne les dernières traditions des dessins venus d'Orient pour adopter la flore indigène (7). Ces crêtes en plomb étaient généralement assez hautes, proportionnées, d'ailleurs, à la dimension des combles; pour un comble de 12m,00 de hauteur, une crête ne peut avoir moins de 1m,00 au-dessus du faîtage.

Il fallait des armatures en fer pour porter les lames de plomb repoussé qui composaient la crête. Ces armatures, ainsi que nous l'avons dit précédemment, s'assemblant en forme de V sur les chanlattes réunissant les chevrons à leur extrémité, maintenaient ainsi ces chevrons dans leur plan vertical, et, par leur poids, empêchaient le hiement des charpentes. La fig. 7 bis donne l'armature en fer de la crête précédente. Cette armature posée, on soudait les ornements en deux coquilles, repoussés au marteau, après avoir eu le soin de poser les bavettes de faîtages sur les chanlattes AA. Ces procédés sont encore employés aujourd'hui. Il fallait toutefois que les dessins fussent composés de manière à permettre une combinaison d'armatures en fer simple et solide à la fois; si ces armatures faisaient défaut, les plombs, repoussés et abandonnés à leur propre poids, ne tardaient guère à s'affaisser. Les crêtes antérieures au XVe siècle n'ont probablement pas duré longtemps; il faut croire que les armatures destinées à les maintenir étaient insuffisantes ou posées avec peu de soin. Frappés des inconvénients attachés au système adopté depuis le XIIe siècle, les architectes du XVe siècle composèrent toutes leurs crêtes comme des balustrades, c'est-à-dire avec une tringle de fer horizontale, servant de couronnement au dessin choisi.

C'est ainsi que sont composées les crêtes du comble de la Sainte-Chapelle de Paris réparé sous Charles VII, du faîtage de la tour Saint-Romain dépendant de la cathédrale de Rouen (8); plusieurs de celles de l'ancienne abbaye de Saint-Ouen de la même ville, celle du château de Meillant, etc. Ces dernières compositions de crêtes forment de véritables treillis de fer forgé, revêtus d'ornements de plomb repoussé ou fondu; mais ces dessins sont loin d'avoir l'ampleur et la fermeté qu'exigent des décorations posées à une grande hauteur et se détachant sur le ciel; ils sont grêles, fournis de détails trop petits d'échelle et perdus à la distance où on les peut voir. Les crêtes de cette époque sont souvent ornées de pièces d'armoiries, de chiffres, et si elles occupent une grande longueur, de distance en distance des têtes de poinçons dépassant le faîtage contribuent à leur solidité. La crête de la Sainte-Chapelle de Paris est composée ainsi par travées renfermant trois grandes fleurs de lis entre des pinacles en bois recouverts de plomb. Il existe à la Bibliothèque impériale un dessin de cette crête. À notre avis, les crêtes couronnées par une bande horizontale et composées en grande partie de lignes droites sont loin de produire l'effet que l'on doit chercher dans ces sortes de décorations, qui demandent une certaine liberté dans le tracé des formes empruntées aux végétaux; on croirait voir une balustrade posée à l'extrémité d'un faîtage.

L'époque de la renaissance a produit des crêtes d'un joli dessin; il en existe encore quelques-unes: celles de la cathédrale de Clermont, de l'église de Saint-Wulfrand d'Abbeville peuvent être citées parmi les plus belles et les plus complètes. Nous possédons dans nos cartons un dessin d'une belle crête de l'époque de la renaissance que nous pensons provenir du château de Blois. Le dessin date du commencement du XVIIe siècle; nous le reproduisons (9). Il consiste en une suite d'F et de balustres liés par des cordelles; au-dessus de la bande supérieure horizontale est un couronnement composé de fleurs de lis et d'enroulements; quatre travées d'F sont comprises entre des pilastres A terminés par une aiguille. Une très-riche bavette sert de soubassement à cette crête et recouvre l'ardoise.
On couronna par des crêtes en plomb les combles en ardoises des édifices publics et ceux des maisons même jusque vers la fin du règne de Louis XIII. À dater du règne de Louis XIV, on évita de donner de l'importance aux combles, on chercha même à les dissimuler; il n'y avait plus lieu de s'occuper, par conséquent, d'orner ce qu'on prétendait cacher. La plomberie qui couronne le comble de la chapelle de Versailles est une des dernières qui ait été fabriquée avec art. Au commencement du XVIIIe siècle, cette belle industrie de la plomberie repoussée et fondue était perdue, et c'est à peine si, vers la fin du dernier siècle, on savait faire des soudures (voy. PLOMBERIE).
CROCHET, s. m. Crosse. C'est le nom que l'on donne aujourd'hui à ces ornements terminés par des têtes de feuillages, par des bourgeons enroulés, si souvent employés dans la sculpture monumentale du moyen âge à partir du XIIe siècle. Les crochets se voient dans les frises, dans les chapiteaux, sur les rampants des gâbles ou pignons, dans les gorges des archivoltes entre les colonnettes réunies en faisceaux. Le XIIIe siècle a particulièrement adopté cet ornement; il s'en est servi avec une adresse rare. Dans l'article SCULPTURE, nous essayons d'expliquer les origines de la plupart des ornements sculptés de l'architecture du moyen âge; ici, nous nous contenterons de faire connaître à nos lecteurs les diverses transformations du crochet depuis le moment où il prend place dans la décoration jusqu'au moment où il disparaît entièrement de l'architecture.
Nous trouvons déjà l'embryon du crochet dans la corniche supérieure de la nef de l'église de Vézelay, c'est-à-dire des les premières années du XIIe siècle (voy. CORNICHE, fig. 4). Les chapiteaux intérieurs de la nef de la même église nous montrent aussi, à la place de la volute antique, des feuillages retournés sur eux-mêmes qui sont déjà de véritables crochets (voy. CHAPITEAU, fig. 8). Toutefois, c'est dans l'Île-de-France et sur les bords de l'Oise que le crochet prend une place importante dans l'ornementation dès le milieu du XIIe siècle. Les premiers crochets apparaissant sous les tablettes de couronnement des corniches ornent déjà certaines églises bâties de 1150 à 1160. Ils sont petits, composés, à la tête, de trois folioles retournées ressemblant assez aux cotylédons du jeune végétal. La tigelle d'où sortent ces feuilles est grosse, élargie à la base, de manière à s'appuyer sur le profil servant de fond à l'ornement (1).

Vers 1160, le crochet se montre bien caractérisé dans les chapiteaux; le choeur de Notre-Dame de Paris, élevé à cette époque, est entouré de piliers cylindriques dont les chapiteaux n'ont plus rien de la sculpture romane. Ce sont des feuilles sortant de bourgeons, à peine développées, et, aux angles, des crochets à tiges larges, puissantes, à têtes composées de folioles retournées sur elles-mêmes, grasses et modelées avec une souplesse charmante (1 bis). Bientôt ces folioles font place à des feuilles; la tête du crochet se développe relativement à la tigelle; celle-ci est divisée par des côtes longitudinales, comme la tige du céleri. Si les crochets sont posés dans une gorge d'archivolte, il arrive souvent que la base de la tigelle côtelée est accompagnée d'une feuille avec son coussinet bien observé, tenant à cette tigelle (2); ce qui donne une grâce et une fermeté particulières à cette sorte d'ornementation.

À la fin du XIIe siècle, les crochets prennent souvent, dans les chapiteaux, la place importante: ils soutiennent les angles du tailloir; ils font saillie sur la partie moyenne de la corbeille; ils se divisent en folioles, découpées, se contournent et s'enroulent comme le fait un bourgeon commençant à se développer. Il est évident qu'alors les sculpteurs ont abandonné les dernières traditions de la sculpture antique, et qu'ils s'inspirent des végétaux, dont ils observent avec un soin minutieux les développements, les allures, la physionomie, sans toutefois s'astreindre à une imitation servile.

Nous donnons (3) plusieurs de ces crochets en bourgeons déjà développés, de la fin du XIIe siècle: celui A provient de la sacristie de l'église de Vézelay; celui B, du choeur de la même église; celui C, de la porte de l'église de Montréale (Yonne); celui D, du choeur de l'église d'Eu, et celui E, du choeur de la cathédrale de Soissons. Tous ces crochets tiennent à des chapiteaux, et c'est à dater de cette époque que cet ornement se retrouve, presque sans exception, autour de leurs corbeilles. Quand les piles sont composées de faisceaux de colonnes laissant entre elles un intervalle de quelques centimètres, souvent une tête de crochet est placée entre les chapiteaux et possède deux tiges: c'est un moyen adroit d'éviter des pénétrations désagréables et de ne pas interrompre la zone de sculptures que présentent ces chapiteaux.

Voici (3 bis) un exemple de ces crochets à doubles tiges qui provient des piles de l'église d'Eu (voy. CHAPITEAU). C'est à l'origine de son développement que le crochet présente une plus grande variété dans la composition des têtes et la décoration des tiges. On voit souvent, dans des édifices qui datent de la fin du XIIe siècle et du commencement du XIIIe, des crochets terminés, soit dans les chapiteaux, soit dans les archivoltes, par des têtes humaines; leurs tiges sont accompagnées de feuilles ou d'animaux. Le porche de l'église de Notre-Dame-de-la-Coulture au Mans est couvert par une archivolte qui présente une belle collection de ces sortes de crochets (4). Il arrive même qu'un animal remplace parfois cet ornement, en conservant sa silhouette caractéristique (5). Aussi voit-on alors des crochets dont les têtes reproduisent la forme d'une fleur (6).

Vers 1220, le crochet ne présente plus qu'un bouquet de feuilles développées, mais toujours roulées sur elles-mêmes; l'imitation de la nature est plus exacte, la masse des têtes est moins arrondie et s'agrandit aux dépens de la tige. Les archivoltes des grandes baies des tours de la cathédrale de Paris présentent peut-être les plus beaux exemples de ce genre de décoration sculptée (7 et 7 bis).


Dans l'Île-de-France, de 1220 à 1230, l'architecte abuse du crochet: il en met partout, et s'en sert surtout pour denteler les lignes droites qui se détachent sur le ciel, comme les arêtiers des flèches, les piles extérieures des tours, ainsi qu'on peut le voir à Notre-Dame de Paris, au clocher de la cathédrale de Senlis. Dans ce cas, et lorsque les crochets sont placés à une grande hauteur, ils sont composés d'une tête simple terminant une tige à une seule côte centrale (7 ter.). Il est entendu que chaque crochet est compris dans une hauteur d'assise. Vers 1230, cette végétation de pierre semble s'épanouir, comme si le temps agissait sur ces plantes monumentales comme il agit sur les végétaux.
Les archivoltes d'entrée de la salle capitulaire de la cathédrale de Noyon sont décorées d'une double rangée de crochets feuillus qui sont peut-être les plus développés de cette époque et les plus riches comme sculpture (8) 80.

L'école de sculpture bourguignonne se distingue entre toutes dans la composition des crochets. Cette école avait donné, dès l'époque romane, à la décoration monumentale sculptée, une ampleur, une hardiesse, une puissance, une certaine chaleur de modelé qui, au XIIIe siècle, alors que la sculpture se retrempait dans l'imitation de la flore locale, devait produire les plus brillantes compositions. Aussi les crochets sculptés sur les monuments qui datent du milieu de ce siècle présentent-ils une exubérance de végétation très-remarquable (9 et 9 bis) 81.

L'école normande et anglo-normande renchérit encore peut-être sur l'école bourguignonne: elle exagère l'ornementation du crochet, comme elle exagère tous les détails de l'architecture gothique arrivée à son développement; mais, moins scrupuleuse dans son imitation de la flore, elle ne sait pas conserver dans la sculpture d'ornement cette verve et cette variété qui charment dans la sculpture bourguignonne. Tous les crochets anglo-normands du milieu du XIIIe siècle se ressemblent; malgré les efforts des sculpteurs pour leur donner du relief, un modelé surprenant, ils paraissent confus et, à distance, ne produisent aucun effet, à cause du défaut de masses des têtes trop refouillées et de l'extrême maigreur des tiges. Nous donnons (9 ter) un de ces crochets anglo-normands provenant de la cathédrale de Lincoln.

Cependant, peu à peu, les têtes de crochets tendaient à se modifier; ces feuilles, de recourbées, d'enveloppées qu'elles étaient d'abord dans une masse uniforme, se redressaient, poussaient pour ainsi dire, s'étendaient sur les corbeilles des chapiteaux, sous les profils des frises. À la Sainte-Chapelle de Paris (1240 à 1245), on voit déjà les têtes des crochets devenues groupes de feuilles, se mêlant, courant sous les corbeilles; des pétioles sortent des tiges côtelées (10), tandis que dans les grandes frises de couronnement les crochets conservent encore leur caractère monumental et symétrique jusqu'au XIVe siècle (11) 82.

Sur le rampant des gâbles qui couronnaient les fenêtres, dès le milieu du XIIIe siècle, le long des pignons des édifices, on posait des crochets incrustés en rainures dans les tablettes formant recouvrement (12). Il est certain que ces découpures de pierre incrustées le long des tablettes des gâbles et maintenues de distance en distance par des goujons à T, ainsi que l'indique la fig. 12 bis, n'avaient pas une très-longue durée 83; mais aussi pouvaient-elles être facilement remplacées en cas d'accident ou de détérioration causée par le temps.

Il faut ne voir dans les crochets des rampants de pignons qu'une décoration analogue à ces antéfixes ou couronnements découpés, que les Grecs posaient aussi en rainure sur les larmiers des frontons. Nous avons souvent entendu blâmer, chez les architectes du moyen âge, cette ornementation rapportée, à cause de sa fragilité; il faudrait, pour être justes, ne la point approuver chez les Grecs. L'architecture gothique devenant chaque jour plus svelte, plus déliée, les têtes arrondies des crochets espacées régulièrement tout le long de ces plans inclinés semblèrent bientôt lourdes, si délicates qu'elles fussent. Ces ornements retournés sur eux-mêmes, retombant sur leurs tiges, contrariaient les lignes ascendantes des gâbles. En 1260, on renonçait déjà à les employer, et on les remplaçait par des feuilles pliées, rampant sur les tablettes inclinées des pignons et se relevant de distance en distance pour former une ligne dentelée. On peut admettre que ces sortes de crochets ont été appliquées pour la première fois aux gâbles du portail de la cathédrale de Reims, à celui de la porte rouge de la cathédrale de Paris, constructions qui ont été élevées de 1257 à 1270 (13).

Les crochets à tête ronde demeuraient sur les petits gâbles des pinacles, des arcatures, des édicules, parce qu'il n'eût pas été possible de sculpter les feuilles rampantes dans de très-petites dimensions. Bien entendu, ces diminutifs de crochets sont d'une forme très-simple; nous en donnons ici (14) plusieurs exemples, moitié de l'exécution.

À la cathédrale de Beauvais, nous voyons des crochets sur les arêtes des pinacles du choeur qui affectent une forme particulière; ces crochets ont été sculptés vers 1260; ils rappellent certaines feuilles d'eau et se distinguent par leur extrême simplicité (15). En général, les crochets sont comme tous les ornements sculptés de l'architecture gothique, très-saillants, très-développés quand la nature des matériaux le permet, maigres et portant peu de saillie, lorsque la pierre employée était friable.

Pendant le XIVe siècle, les crochets des rampants de pignons ou de gâbles prennent plus d'ampleur; ils se conforment, dans l'exécution, au goût de la sculpture de cette époque; ils deviennent contournés, chiffonnés; ils sont moins déliés que ceux du siècle précédent, mais figurent des feuilles pliées et ramassées sur elles-mêmes (16). Vers le commencement de ce siècle, ils disparaissent pour toujours des corniches et des chapiteaux. Lorsque ces crochets sont de petite dimension, comme, par exemple, le long des arêtiers des pinacles, ils sont rapprochés les uns des autres et imitent souvent la forme de feuilles d'eau ou d'algues (17).
Au XVe siècle, au contraire, les crochets de rampants prennent un développement considérable, sont éloignés les uns des autres et reliés par des feuilles courant le long des rampants; ils adoptent les formes contournées de la sculpture de cette époque. Mais, dans l'Île-de-France particulièrement, leur exécution est large, pleine de verve, de liberté et de souplesse; les feuilles qui les composent sont des feuilles de chardons, de passiflores, de choux frisés, de persil, de géranium (18).

Ce genre d'ornement appartient à l'époque gothique, il est le complément nécessaire des formes ascendantes de cette architecture; il accompagne ses lignes rigides et détruit leur sécheresse, soit que ces lignes se découpent sur le ciel, soit qu'elles se détachent sur le nu des murs; il donne de l'échelle, de la grandeur aux édifices, en produisant des effets d'ombres et de lumières vifs et pittoresques. Dès que la renaissance revient à ce qu'elle croit être l'imitation de l'antique, le crochet ne trouve plus d'application dans l'architecture. Pendant la période de transition entre le gothique et la renaissance franche, c'est-à-dire entre 1480 et 1520; on signale encore la présence des crochets rampants. Il en est qui sont fort beaux et finement travaillés (19): tels sont ceux des hôtels de Cluny et de la Trémoille, de l'église de Saint-Germain-l'Auxerrois, du jubé d'Alby, de la façade occidentale de la cathédrale de Troyes, de l'église de Toul, etc. (Voy., pour les dispositions d'ensemble des crochets, CHAPITEAU, CORNICHE, FLEURON, GÂBLE, PIGNON, PINACLE.)

Nos lecteurs trouveront peut-être que nous donnons à un détail d'ornement une importance exagérée; mais ils voudront bien considérer qu'en ceci les sculpteurs de l'époque qui nous occupe particulièrement ont été créateurs: ils n'ont été chercher nulle part des modèles dans les arts antérieurs; rien de pareil dans la sculpture romaine dont ils possédaient des fragments, ni dans la sculpture orientale qu'ils étaient à même de voir et d'étudier. Si nous avons donné un grand nombre d'exemples de ces crosses ou crochets, c'est que nous avons toujours entendu exprimer aux architectes étudiant l'architecture gothique la difficulté qu'ils éprouvaient, non-seulement à composer et faire exécuter cet ornement, si simple en apparence mais d'un caractère si tranché, mais encore à dessiner les crochets qu'ils avaient devant les yeux. Dans un style d'architecture, il n'y a pas, d'ailleurs, de détail insignifiant: la moindre moulure, l'ornement le plus modeste, ont une physionomie participant à l'ensemble, physionomie qu'il faut étudier et connaître.
Note 80: (retour) Cette belle salle vient d'être restaurée par les soins de la Commission des monuments historiques dépendant du Ministère d'État et sous la direction de M. Verdier. On peut dire que ce magnifique exemple de l'architecture du XIIIe siècle a été sauvé ainsi de la ruine.
Note 81: (retour) Des façades des églises de Vézelay et de Saint-Père-sous-Vézelay.
Note 82: (retour) De la tour sud de la façade de la cathédrale d'Amiens.
Note 83: (retour) On trouve encore, cependant, bon nombre de crochets du XIIIe siècle attachés aux rampants des pignons.
CROIX, s. f. Crois. Pendant le moyen âge, on plaçait des croix de pierre ou de métal au sommet des édifices religieux, sur les chemins, à l'entrée des villes et dans les cimetières. Il est bon d'observer, tout d'abord, que l'image du Christ ne fut suspendue à la croix que vers le VIe ou VIIe siècle; jusqu'alors, l'instrument de supplice, devenu sous Constantin le signe symbolique des chrétiens, fut représenté nu. Dans les catacombes de Rome, il existe des représentations de la croix, ornée de gemmes; aux deux bras sont suspendues des lampes. Mais nous ne pensons pas qu'il existe une seule représentation peinte ou sculptée du crucifix avant le VIe siècle, et encore, à dater de cette époque jusqu'au XIIe siècle, ces images sont-elles fort rares (voy. CRUCIFIX). Nous n'avons à nous occuper, dans cet article, que des croix qui tiennent à l'architecture, qui sont attachées à des monuments, ou qui constituent elles-mêmes de petits monuments isolés.
CROIX ATTACHÉES AUX ÉDIFICES RELIGIEUX. Ces croix sont de trois sortes: croix sculptées dans la pierre, croix de métal et croix peintes.
Les plus anciennes croix sculptées sont presque toujours à quatre branches égales: elles décorent le sommet des pignons, les tympans des portes d'églises, les faces des contre-forts ou des piliers; on les retrouve aussi parfois dans les chapiteaux et les clefs de voûtes.

L'église cathédrale primitive de Beauvais, connue sous le nom de Basse-oeuvre, existait déjà en l'an 990. Cet édifice, qui paraît remonter au VIIIe siècle, présente, sur son pignon occidental, une croix de pierre incrustée dans la maçonnerie, parementée de petits moellons cubiques. Cette croix, que nous donnons (1), est échancrée sur ses bords et munie d'un pied terminé en pointe. Le pignon de l'église du prieuré de Montmille, élevée, dès le commencement du XIe siècle, près de Beauvais, est orné d'une croix incrustée qui rappelle, par sa forme, celle de la Basse-oeuvre; mais à la croix de Montmille est attachée, déjà, la figure du Christ nimbé (2) 84. Dès le XIe siècle, principalement dans le Berri, le Nivernais et l'Auvergne, on trouve des croix, non plus incrustées dans les tympans des pignons des églises, mais couronnant leur sommet. La façade occidentale de l'église d'Ébreuil, qui date de cette époque, laisse voir encore, derrière le clocher du XIIe siècle, une croix de couronnement, en pierre, curieuse par sa forme.

En voici (3), en A, la face antérieure; en B, la face postérieure, et en C, la face latérale. Il y a lieu d'admettre que ces croix, se détachant sur le ciel au sommet des pignons, étaient très-fréquentes dans les édifices religieux de la période romane; mais la fragilité de ces pierres minces, ajourées, exposées aux intempéries, a dû causer promptement leur destruction.
Dans les bas-reliefs des XIe et XIIe siècles, où sont figurés des pignons d'églises, les sommets des clochers sont toujours terminés par une croix, le plus souvent à branches égales, posée sur une boule, ou bien sur une colonne jouissant d'un ornement. Le dais qui protége la Vierge assise du tympan de la porte Sainte-Anne à Notre-Dame de Paris (XIIe siècle) porte, à la base de sa coupole, une croix de ce genre (4).

À la fin du XIIe siècle, les croix servant d'amortissement aux pignons ont toujours le pied plus long que les trois autres branches, ou elles sont supportées sur une sorte de socle qui les isole du pignon: telle est la curieuse croix trouvée dans des fouilles faites par M. Millet dans l'église Notre-Dame de Melun, lorsqu'il entreprit la restauration de cette église. M. Millet pense, avec raison, que cette croix (4 bis) était placée sur le pignon de la façade occidentale; nous croyons qu'elle appartient à la fin du XIIe siècle.

L'église de Montréale, près Avallon, qui date de cette époque, possède encore, sur ses quatre pignons, de belles croix variées de forme, et dont la gracieuse silhouette termine parfaitement, à l'extérieur, la construction si simple de cette église. Nous donnons (5) l'une de ces croix taillées dans de grandes dalles de calcaire dur de Coutarnoux. Celle-ci n'a que 0,135m d'épaisseur à sa base, ainsi que l'indique le profil A; le pied est fiché dans la pierre du couronnement du pignon, et le centre de la croix est ajouré.

Pendant le XIIIe siècle, la statuaire était en honneur, et les architectes, toutes fois qu'ils le pouvaient, amortissaient les pignons par des statues plutôt que par des croix; cependant les pignons du transsept de l'église de Saint-Urbain de Troyes ont conservé encore en place les restes de croix de la fin du XIIIe siècle, assez riches et d'une grande dimension.

Nous reproduisons (6) l'une d'elles, qui est taillée dans de la pierre de Tonnerre dure. Cette croix se compose de six morceaux: un pied A, une bague B en deux assises, un montant C, une traverse D et le bras supérieur E. En G est tracé le plan de la croix au niveau A, et en K on voit, en coupe, comme la bague double enserre les deux bouts A et C du pied et du montant.
Outre cette bague double, dont les deux pièces sont rendues solidaires au moyen de six petits crampons de cuivre scellés au plomb, il existe un goujon également en cuivre en I; un autre goujon en cuivre maintient le bras supérieur, la traverse et le montant. Tous les joints et goujons sont coulés en plomb avec beaucoup de soin. Deux têtes d'évêques ornent le centre de la croix, et ces deux têtes, avec les consoles et supports, contribuent à donner de l'assiette à la traverse sur le montant. Là, comme toujours dans l'architecture de cette époque, la décoration est la conséquence de la construction, et cette décoration n'en est pas plus mauvaise. Nous avons dit cela bien des fois, et nous le répéterons encore, car il faut insister: si la vérité ne se montre ou ne parle qu'une fois, personne ne l'a vue ni entendue; il faut qu'elle se répète; quand les gens la traitent de radoteuse, alors c'est qu'ils ont entendu.
Pendant le XVe siècle, les pignons sont souvent terminés par des croix; mais celles-ci perdent le caractère monumental qui convient à ces décorations placées à une grande hauteur, et elles se couvrent de détails comme les croix de cimetière ou de chemin, faites pour être vues de près.
Les pignons des églises de campagne, cependant, où l'on ne pouvait prodiguer la sculpture, étaient terminés par des croix de pierre comme dans les siècles précédents. Ces croix sont simples, habituellement portées par une colonne courte cylindrique, terminée par une bague formant chapiteau. Telle est la petite croix de l'église de Saint-Thomas (Charente-Inférieure) (7). Le profil rampant recouvrant le pignon ressaute pour lui faire un pied et donner de l'empattement à sa base.

On sait comme l'ordre de Cîteaux était opposé, dans les églises qu'il
bâtissait pendant le XIIe siècle et au commencement du XIIIe, aux
sculptures prodiguées dans les édifices de l'ordre de Cluny (voy.
ARCHITECTURE MONASTIQUE). Les tympans des portes des églises de l'ordre
fondé par saint-Bernard ne sont habituellement décorés que d'une simple
croix en bas-relief. Nous donnons (8) celle que l'on voit encore
au-dessus du linteau de la porte de l'église de Pontigny, et qui date de
la fin du XIIe siècle; elle est d'une grande simplicité; ses quatre
branches sont d'égale longueur.
Souvent aussi, dans l'intérieur des églises, sur les piliers, et même à l'extérieur, sur les parements des contre-forts, on sculptait, pendant la période romane, des croix à branches égales. La plupart de ces croix (celles intérieures du moins) étaient des croix de consécration. On voit une de ces croix incrustée aujourd'hui sur un des contre-forts de l'église de Saint-Palais (Gironde). Bien que cette église date du XIIIe siècle, la croix (9) appartenait certainement à un édifice du XIe ou XIIe siècle, et elle a tous les caractères d'une croix de consécration. Il existe encore, sur la façade de l'église de Saint-Ciers-la-Lande (Gironde), trois croix gravées et peintes: l'une sur la clef de la porte, et les deux autres des deux côtés des pieds-droits. Voici quelle est la forme de ces croix(10): ce ne sont que des traits gravés en creux et remplis d'une couleur noire 85.
Sur les piliers et sur les murs des collatéraux des églises des XIIe, XIIIe, XIVe et XVe siècles, nous avons découvert souvent, sous le badigeon, des croix de consécration peintes; en voici plusieurs exemples(11). La croix A nous paraît appartenir au XIIIe siècle; celle B, au XIVe, et celle C, au XVe. Dans notre gravure, le noir indique le noir; le gris foncé, le brun-rouge; le gris clair, le jaune ocre, et le blanc, le blanc: ce sont là les couleurs habituellement employées.
Il arrivait parfois que les croix de consécration des églises, pendant les XIIIe et XIVe siècles, étaient portées par des figures d'apôtres peintes ou sculptées. En 1851 on découvrit, dans l'église de Saint-Hubert de Waville (Moselle), sous le badigeon, des peintures murales parmi lesquelles se voient des apôtres portant les croix de consécration. Ces figures sont peintes sur les murs des collatéraux et du choeur; elles sont décrites et gravées dans le vingtième volume de la Statistique monumentale publiée par M. de Caumont. Tout le monde connaît les statues d'apôtres qui, à la Sainte-Chapelle du Palais à Paris, portent des croix de consécration (voy. APÔTRE). Sur les piliers qui forment tête des chapelles de la cathédrale de Troyes, on remarque des dalles de pierre carrées incrustées, la pointe en bas, sur lesquelles sont gravées et peintes des figures d'apôtres portant également des croix de consécration.
Pendant le moyen âge, on posait toujours des croix de fer au sommet des
clochers de bois recouverts d'ardoise ou de plomb, et quelquefois même à
la pointe des pyramides de pierre qui terminaient les tours des édifices
religieux. Les croix de fer étaient surmontées d'un coq ou d'une simple
girouette. Il existe un petit nombre de ces croix de métal anciennes,
renversées souvent par la foudre ou détruites par le temps et la main
des hommes. Elles étaient, la plupart, d'un riche dessin, dorées et
d'une grande dimension. Leur embase se composait ou d'une boule, ou
d'une bague figurant souvent un dragon, symbole du démon, ou encore
d'une couronne de feuillage. Des reliques étaient habituellement
déposées dans la boule qui leur servait de base, ou dans le coq qui les
surmontait (voy. COQ). Le système d'assemblage de ces croix
d'amortissement mérite d'être étudié avec soin par les constructeurs;
car ces pièces de fer, posées à une grande hauteur, plus lourdes au
sommet qu'à la base, étaient exposées aux ouragans et ne tardaient pas à
se rompre, à se fausser ou à fatiguer leurs attaches. Si ces croix
étaient scellées dans la pierre, il fallait, pour éviter l'ébranlement
causé dans le scellement par l'effort du vent sur le corps de la croix,
procéder avec des précautions extraordinaires. La tige principale se
composait de trois ou cinq pièces: une âme et deux ou quatre
arcs-boutants. Supposons un sommet de flèche en pierre composé d'assises
(12).
La partie évidée de la pyramide s'arrête en B. La tige principale
en fer carré CD traverse les assises pleines du sommet de la flèche,
formant amortissement, et son extrémité inférieure est arrêtée par une
clavette en D. Deux ou quatre arcs-boutants en E, maintenus par deux
frettes IK, contournés suivant le profil du couronnement, viennent
butter contre un épaulement de la tige en G; de sorte que si le vent
pousse la tige centrale d'un côté, son effort est neutralisé par la
résistance qu'opposent les arcs-boutants, résistance qui se résout en
une pression en F ou en L. Quant aux deux branches de la croix, elles ne
sont pas assemblées à mi-fer, ainsi que cela se pratique dans la
serrurerie moderne, et ce qui est fort mauvais, mais au moyen d'une
emboîture renforcée, avec trou pour passer un boulon ou un gros rivet,
ainsi que l'indique la fig. 13.

Ces menus détails ne sont pas à dédaigner; trop souvent, de nos jours, on abandonne leur exécution à un entrepreneur qui, à son tour, s'en rapporte à un chef d'atelier, qui se fie à l'intelligence de l'ouvrier. Un accident arrive, on s'en prend à l'architecte, qui rejette la faute sur l'entrepreneur, qui fait retomber le blâme sur le chef d'atelier, qui accuse l'ouvrier, lequel a quitté le chantier depuis six mois!...
Si la croix de fer est posée au sommet du poinçon d'une flèche en bois, sa tige forme, sous l'embase, une fourchette à deux, trois ou quatre branches, suivant le degré de force que l'on veut donner à la croix et la résistance qu'elle doit opposer au vent. Les branches de la fourchette, clouées sur le bois, sont, en outre, munies de frettes serrées à chaud, afin de maintenir puissamment l'armature.

Si la croix est d'une très-grande dimension (une croix d'une flèche comme celle d'Amiens ou de Notre-Dame de Paris ne peut avoir moins de huit mètres de hauteur), elle se compose d'un nombre considérable de pièces que nous décomposons ainsi (14): 1º l'âme A (voir la section horizontale P), avec son renfort pour recevoir la traverse; 2º B, la traverse; 3º les quatre équerres C, plus ou moins décorées et maintenues au moyen de rivets indiqués dans le détail C' (ces équerres sont destinées à empêcher la traverse de fatiguer le tenon, le boulon central, et, par suite, de s'incliner d'un côté ou de l'autre); 4º D, les quatre renforts à crémaillères formant branches de fourchettes clouées et frettées sur la tête du poinçon de bois; 5º E, les trois frettes façonnées comme le fait voir le tracé E', avec clavettes, de manière à pouvoir être fortement serrées; 6º F, l'embase, et G, les embrasses; 7º H, le boulon maintenant la traverse contre l'âme dans sa mortaise: en tout dix-sept pièces de fer. En M est figurée l'extrémité du montant de la croix, avec la broche sur laquelle tourne le coq-girouette; en L, l'extrémité forgée de l'un des croisillons. L'âme est indépendante et n'est maintenue dans une ligne verticale que par les quatre branches D fixées sur le sommet du poinçon. Une pareille armature d'une hauteur de quatre ou cinq mètres peut conserver l'élasticité nécessaire pour ne pas être rompue par un ouragan, car les quatre renforts tenant lieu de fourchettes agissent toujours en sens inverse: si l'un est chargé par l'action du vent au moyen du talon I, l'autre renfort opposé agit en tirant par la résistance qu'oppose la crémaillère K. Il n'est pas besoin de dire que le poinçon est recouvert de plomb jusque sous l'embase F. Si la croix atteint des dimensions plus grandes (sept ou huit mètres), il est prudent d'avoir des renforts doublés avec doubles talons, doubles crémaillères, de faire l'âme en deux pièces juxtaposées, boulonnées ou rivées ensemble et moisant la traverse. Une armature ainsi combinée peut être enrichie au moyen de tigettes, d'ornements de fer battu rapportés et rivés. Les renforts avec leurs embrasses peuvent être enveloppés de feuilles en tôle découpée et modelée, être accompagnés de branches de fer rond, recourbées et portant à leur extrémité des fleurs en tôle découpée.
La fig. 15 donne l'idée de ce genre d'ornementation rapportée.

Sur des flèches d'une dimension ordinaire, les croix en fer n'avaient pas besoin d'être combinées et fixées avec ce luxe de précautions. Il en est qui sont forgées de façon à ce que les bras et l'arbre vertical ne forment qu'une pièce dont les parties sont soudées ensemble. La petite croix en fer du clocher de Puybarban, près la Réole, est ainsi fabriquée. Cette croix, bien qu'elle ait été reposée sur une flèche du XVIIe siècle, est de la fin du XIIIe ou du XIVe 86. Nous en présentons (16) le dessin d'ensemble et les détails. Les fleurs de lis sont doubles, c'est-à-dire posées sur deux sens, comme l'indique le tracé perspectif (16 bis) d'un des bouts de la croix. Une petite girouette, roulant sur le bras supérieur, remplace ici le coq traditionnel.

Les redents qui décorent le carré central sont simplement rivés aux côtés de ce carré. Malgré son extrême simplicité, cette croix ne laisse pas d'être d'une forme gracieuse; et, dût-on nous accuser d'indulgence en faveur des arts du moyen âge, nous ne saurions lui préférer les croix en fonte que l'on place aujourd'hui au sommet des flèches. Cette opinion n'est pas partagée très-probablement, puisque la plupart des vieilles croix de fer qui avaient résisté aux orages de la fin du dernier siècle ont été descendues et vendues au ferrailleur, en échange de ces modèles en fonte que l'on trouve sur les quais de Paris en compagnie de poêles et de bancs de jardins. En Bretagne et en Normandie, on signale encore quelques croix de flèches en fer, qui datent des XVe et XVIe siècles. Voici (17) quelques-uns des motifs le plus habituellement reproduits.
CROIX DE CHEMINS ET DE CIMETIÈRES. À quelle époque commença-t-on à
élever des croix dans les carrefours, à l'entrée des villes ou villages,
et dans les cimetières? Je ne saurais le dire. On peut constater
seulement que cet usage était fort répandu dès les premiers temps du
moyen âge. Parmi les monuments encore debout, nous n'en connaissons
aucun qui soit antérieur à la fin du XIIe siècle ou au commencement du
XIIIe. Il est à croire que beaucoup de ces croix antérieures au XIIIe
siècle, en pierre ou en bois, étaient recouvertes par un auvent; car,
dans un écrit de cette époque, on lit ce passage: «... et en cascune
chité de nostre empire a ij. crois à l'entrée; et desus la crois n'a
point d'arc volu (archivolte), pour çou que chil ki vont par desous
l'enclinent, que nous l'avons en tele remenbrance que nous ne volons que
nule riens soit pardesus ki ne soit bénéoite ou sacrée...
87»
Il
existait donc des couvertures sur les croix de chemins, puisque le
prêtre Jehan ne veut pas qu'on en pose sur celles élevées sur son
territoire, afin qu'au-dessus de la croix il n'y ait rien qui ne soit
bénit ou sacré. Cette idée semble prévaloir, en effet, pendant le XIII
siècle, car on ne trouve pas de traces anciennes d'auvents ou d'édicules
recouvrant les croix de chemins, à cette époque, dans le nord de la
France.
Il y a lieu de croire, d'ailleurs, que les croix n'étaient protégées par des auvents qu'autant qu'elles portaient le Christ, ou lorsqu'elles étaient faites de matière périssable, ou peintes et dorées; car on voit encore des croix romanes de cimetières et de carrefours qui n'ont certainement pas été faites pour être placées sous un édicule. La croix de pierre que nous donnons ici (18), et qui est encore placée dans le cimetière de Baret près Barbezieux (Charente), est d'un travail trop grossier pour qu'on ait jamais eu l'idée de la couvrir. Cette croix paraît appartenir à la fin du XIe siècle.
Les croix de carrefours sont habituellement posées sur un socle formant comme un petit autel, avec quelques marches en avant; les croix des cimetières s'élèvent sur un emmarchement plus ou moins grand; une tablette est posée devant ou autour de la colonne portant la croix. Dans le cimetière de Mezy (Marne), il existe encore une croix de ce genre dont la colonne passe à travers une tablette d'autel portée sur quatre figures d'évangélistes adossées à des colonnettes (19).

Nous donnons, en A, la coupe sur l'axe de la colonne. Le sommet de cette croix de pierre n'existe plus; la colonne est brisée au niveau B. Pour le compléter, nous donnons (19 bis) les fragments d'une belle croix de la même époque (1230 environ), qui se trouvent déposés sous le porche de l'église de Rougemont (Côte-d'Or).

D'un côté, sur cette croix, est attaché le Christ; de l'autre, dans le médaillon du centre, est sculptée une main bénissant. La coupe de la tige est tracée en A et celle des bras en B. Vers le milieu du XIIIe siècle, les croix de chemins ou de cimetières présentent souvent, sur la face, le Christ attaché, et, sur le revers, une figure de la sainte Vierge portant l'Enfant; ou bien encore la statue de la Vierge est adossée à la colonne, sous la croix, et le crucifix est double. On voit à Fouchères, près de Troyes, les restes d'une charmante croix de ce genre, qui était placée autrefois à la tête du pont. Elle reposait sur un socle et des marches. À la colonne est adossée une statue de la sainte Vierge, de 1m,40 de haut; elle est debout sur un groupe de trois colonnettes tenant à l'arbre principal. Du chapiteau qui termine la colonne sort un ange à mi-corps, disposé de telle façon que ses ailes et son corps forment dais au-dessus de la tête de la statue (20).

Autrefois, un crucifix de pierre de 1m,80 environ surmontait le chapiteau; la figure du Christ était sculptée sur chacune de ses faces: l'une tournée vers l'Orient, l'autre vers l'Occident; les extrémités des bras de la croix étaient terminées par des fleurons feuillus. Ce crucifix est détruit aujourd'hui, et le petit monument n'existe que jusqu'au chapiteau supérieur. La Vierge tourne son regard vers la terre et sourit; elle est coiffée d'un voile et d'une couronne fleuronnée. Chaque année, pendant la moisson et les vendanges, les paysans attachent des épis de blé et des raisins aux pieds de la mère du Sauveur 88. Du socle au crucifix, l'arbre se compose de trois pierres, dont les lits sont marqués en L. La section horizontale au-dessous de la Vierge donne le plan A. On comprend que la statue est prise dans le même morceau de pierre que la colonne à laquelle elle est adossée.
La plupart de ces croix de chemins avaient été élevées pour conserver le souvenir d'un fait mémorable ou en signe d'expiation. Sur la route qu'avait suivie Philippe le Hardi de Paris à Saint-Denis, en portant sur ses épaules les restes du roi Saint-Louis, on avait élevé, à chaque station de la procession, des croix de pierre, qui passaient pour de fort beaux ouvrages. On en voyait encore les restes en 1792; elles étaient très-belles, en pierre de liais, et posées sur de hauts emmarchements.
Pendant les XIVe et XVe siècles, on donna aux croix de chemins une grande richesse; on multiplia les figures qui accompagnaient le Christ, tout en conservant toujours les dispositions primitives. Dans nos musées de province, on voit encore quantité de débris des croix de chemins; elles s'étaient multipliées à l'infini, car on ne renversait pas les anciennes et on en élevait chaque jour de nouvelles; mais il est rare aujourd'hui d'en trouver qui n'aient pas été brisées pendant les guerres de religion ou à la fin du dernier siècle. Il en existe cependant dans des localités oubliées par les iconoclastes: elles sont d'un travail grossier, car les plus belles se trouvaient près des grands centres, et ce sont les premières qui ont été détruites; toutefois ces monuments, d'une exécution barbare, sont des copies ou des réminiscences des oeuvres qui passaient pour être remarquables, et, à ce point de vue, elles doivent être étudiées avec soin. Parmi ces imitations grossières, nous pouvons citer la croix de Belpech (Aude) (21).

La croix, découpée et fleuronnée, porte, d'un côté, le Christ ayant à sa droite la Vierge et saint-Jean à sa gauche. Au bas de la croix, deux petites figures reçoivent le sang du Sauveur dans un calice. Deux têtes, au-dessus des bras du Christ, personnifient le soleil et la lune. Le revers porte, au centre, une figure de la sainte Vierge avec l'Enfant. Deux anges tiennent la couronne de la mère de Dieu: à sa droite est un saint-Jean précurseur; à sa gauche, saint-Jacques pèlerin. Le chapiteau porte quatre figurines nimbées très-frustes, mais parmi lesquelles on distingue saint-André. Des écussons se voient entre les figures. Ce monument date de la fin du XIVe siècle; il était entièrement peint et recouvert d'un auvent, car il semble qu'à la fin du XIVe siècle on revint à cet usage de couvrir les croix de carrefours.

On voit encore, sur la place de Royat (Puy-de-Dôme), en face de l'église, une jolie croix en lave, du XVe siècle. Nous en donnons une vue (22). Les figures des douze apôtres sont sculptées sur le montant principal entre quatre petits contre-forts. Une inscription donnant le millésime de 1481 est gravée au pied de l'arbre, du côté de la Vierge. Sur les faces du socle, dans de petites niches, on remarque huit figurines, probablement des prophètes.
Les croix de chemins, de carrefours et de cimetières n'étaient pas toujours taillées dans de la pierre, du marbre ou du granit; on en élevait en bois, fichées dans un socle de pierre. Il n'est pas besoin de dire que celles-ci sont détruites depuis longtemps; on n'en peut constater l'existence que par la présence de ces socles de pierre percés d'un trou carré que l'on rencontre encore dans la campagne et dans les cimetières. Il existait aussi des croix de bronze et de fer forgé. Ces objets de métal, particulièrement ceux de bronze, ont été fondus à la fin du dernier siècle, et nous n'en possédons plus un seul exemple en France. La forme de ces croix de bronze différait de celles données aux croix de pierre et de bois; elles étaient plus sveltes, plus détaillées, plus riches, et se divisaient souvent en plusieurs branches pour porter des personnages. Dans l'Album de Villard de Honnecourt, on voit une de ces croix dont la partie supérieure ne peut avoir été exécutée qu'en cuivre fondu 89. Elle se compose d'une colonne, peut-être en pierre, posée sur des marches. De la colonne sort la croix avec le Christ et deux crosses amplement découpées portant la Vierge et saint-Jean.

Si nous tenons compte de la manière conventionnelle employée par Villard dans ses dessins et que nous remettions ce croquis en proportion, nous obtenons la fig. 23, qui donne un bel exemple de croix en pierre du sol au niveau A, et en métal depuis le niveau A jusqu'au sommet; cette croix appartient au temps où vivait Villard, c'est dire qu'elle est de la première moitié du XIIIe siècle. Villard, sauf quelques rares exceptions, ne fait pas d'archéologie, et ne remplit son Album que de dessins pris sur des monuments contemporains. «Dans le XVe siècle, dit Courtalon, il existait à l'église Saint-Remy de Troyes une nombreuse confrérie de la Croix à l'autel de ce nom. Des oblations qu'on y faisait, les confrères firent ériger, en mars 1495, proche l'église Saint-Jean, dans la Grande-Rue, un très-beau monument en l'honneur de la Croix, que l'on appela la Belle-Croix 90.»
La description de cette croix, que l'on trouve tout entière dans le Voyage archéologique dans le département de l'Aube 91, donne l'idée d'un monument d'une grande importance. Cette croix, entièrement de bronze, sauf le socle, était décorée de nombreuses figurines, parmi lesquelles on distinguait Satan et Simon le Magicien, que les Troyens appelaient Simon Magut. Au pied du Christ, on voyait la Madeleine embrassant le pied de l'arbre de la croix; de chaque côté, saint-Jean et la Vierge; au-dessous, saint-Pierre, saint-Loup, Saint-Louis, des prophètes, parmi lesquels on distinguait Mahomet. Un mémoire dressé en 1530 sur ce monument, et rapporté par Grosley, nous fait connaître qu'il était, dans l'origine, surmonté d'un baldaquin ou dôme en maçonnerie, porté sur de très-hautes colonnes, «le tout fort triomphant et étoffé de peintures d'or et d'azur, et garni d'imaiges et autres beaux ouvrages à l'avenant... Que cette croix en remplaçait une de pierre dure, garnie d'imaiges, laquelle étant venue en ruyne et décadence, fut démolie et transportée au cimetière de l'Hôtel-Dieu-Saint-Esprit, et fut illec colloquée et dressée attenant de la sépulture de noble homme NIC. BOUTIFLART, en son vivant bourgeois de Troyes...» Le mercredi 5 décembre 1584, un ouragan renversa la coupole sur la croix, qui fut rompue, bien qu'un gros arbre de fer la traversât du haut en bas. «La chute de la belle croix, ajoute M. Arnaud, facilita la visite des reliques qu'elle renfermait; on trouva dans la tête de l'image de la Vierge qui est derrière le crucifix une petite boîte de laiton fermée et attachée avec un fil d'archal...» L'année suivante, en 1585, la belle croix de Troyes fut rétablie, mais sans la coupole qui la couvrait. Ce monument fut fondu en 1793; la fonte rendit huit mille cent quarante-deux livres de bronze; sa hauteur était de trente-six pieds.

Nous donnons (24), d'après un ancien dessin et un vitrail de 1621, représentant «l'entrée du Roy Henry le Grand en sa ville de Troyes en 1595», l'ensemble de ce monument de bronze privé de la coupole qui le couvrait et sur la forme de laquelle nous ne possédons aucun renseignement graphique.
En Bretagne, on voit encore un grand nombre de croix de pierre des XVe et XVIe siècles, qui rappellent les dispositions de ces croix munies de branches portant des personnages (voy. le Voyage pittoresque dans l'ancienne France, par MM. Nodier et Taylor).
Note 84: (retour) Voy. Archéol. de l'ancien Beauvoisis, par le Dr Woillez.
Note 85: (retour) Ces renseignements nous ont été fournis par M. Alaux, architecte à Bordeaux.
Note 86: (retour) M. Alaux, architecte, a pris la peine de dessiner pour nous cette croix de fer.
Note 87: (retour) Additions aux OEuvres de Rutebeuf; Lettre de Prestres-Jehans, pub. par Jubinal, t. II, p. 464. Il existait une belle croix de grès au haut de la rue Saint-Bertin à Saint-Omer; cette croix, qui fut détruite il y a peu d'années, remontait, dit-on, au Xe siècle. (Voy. les Abbés de Saint-Bertin, par M. Henri de Laplane, Ire partie, p. 118. Saint-Omer, 1854.)
Note 88: (retour) Nous devons ce dessin à M. Millet, architecte diocésain de Troyes.
Note 89: (retour) Voy. Album de Villard de Honnecourt, arch. du XIIIe siècle, p. 85, pl. XIV. Impr. impér., 1858.
Note 90: (retour) La place qu'occupait cette croix à Troyes porte encore le nom de la Belle-Croix.
Note 91: (retour) Curieux ouvrage, publié par M. A. F. Arnaud, peintre. Troyes, 1837.
CROSSE. Voy. CROCHET.
CROSSETTE. Les appareilleurs donnent ce nom aux queues des claveaux d'un arc qui se retournent horizontalement pour former tas-de-charge. Pendant le moyen âge, on n'employait pas les crossettes dans l'appareil des arcs; ceux-ci étaient toujours extradossés (voy. APPAREIL, CONSTRUCTION).
CROUPE. Signifie l'extrémité d'un comble qui ne s'appuie pas contre un pignon de maçonnerie. Les absides circulaires ou à pans des églises sont terminées par des croupes (voy. CHARPENTE). Dans l'architecture civile, les architectes, jusqu'au XVIe siècle, emploient très-rarement les croupes; les bâtiments sont couverts par des combles à double pente fermés à leurs extrémités par des pignons. C'était une tradition antique que le moyen âge avait conservée scrupuleusement, et c'était fort sage. Les artistes de la Renaissance, et ceux du XVIe siècle surtout, qui prétendaient revenir aux principes de l'antiquité, ont commencé à poser sur les édifices des combles terminés par des croupes, et on a été, de nos jours, comme sur la façade du Panthéon, par exemple, jusqu'à poser des croupes sur des frontons qui sont des pignons. Il est difficile de pousser plus loin l'oubli des principes de l'architecture des Grecs et des Romains. Mais dans l'histoire de notre art, on trouve, depuis trois siècles, bien d'autres étrangetés.
CRUCIFIX. Christ en croix. Il était d'usage de placer, dans les églises cathédrales, abbatiales ou paroissiales, de grands crucifix de bois ou de métal suspendus au-dessus des jubés ou des poutres transversales qui indiquaient l'entrée du choeur. Il existe dans le musée de Cluny un crucifix du XIIe siècle, grand comme nature, qui a dû être fait pour être ainsi posé au-dessus d'une trabes. Cette figure est en bois de châtaignier; les nus sont recouverts de parchemin peint; les draperies, la tête et les mains sont seules dépourvues de cette application. Du Breul 92 rapporte qu'à l'entrée du choeur de la cathédrale de Paris, au sommet de la porte du jubé, s'élevait «un grand crucifix qui, avec sa croix, n'était que d'une pièce, et, ajoute-t-il, le pied d'iceluy est fait en arcade d'une autre seule pièce, qui sont deux chefs-d'oeuvre de taille et de sculpture.»
«Dans les temps primitifs, dit M. Didron 93, on voit la croix, mais sans le divin crucifié. Vers le VIe siècle, on parle d'un crucifix exécuté à Narbonne; mais c'est un fait étrange et qui est signalé pour sa nouveauté. Au Xe siècle, quelques crucifix apparaissent çà et là; mais le crucifié s'y montre avec une physionomie douce et bienveillante; il est d'ailleurs vêtu d'une longue robe à manches, laquelle ne laisse voir le nu qu'aux extrémités des bras et des jambes 94. Aux XIe et XIIe siècles, la robe s'écourte, les manches disparaissent, et déjà la poitrine est découverte quelquefois, parce que la robe n'est plus qu'une espèce de tunique 95. Au XIIIe siècle, la tunique est aussi courte que possible; au XIVe, ce n'est plus qu'un morceau d'étoffe ou même de toile qu'on roule autour des reins, et c'est ainsi que jusqu'à nos jours Jésus en croix a constamment été représenté. En même temps qu'on attriste la figure du crucifié et qu'on grave les souffrances physiques sur son corps divin, en même temps aussi on le dépouille de la robe et du petit vêtement qui le protégeaient...» En effet, le crucifix du musée de Cluny est couvert d'un court jupon à petits plis; sa tête n'indique pas la souffrance physique, mais plutôt la bienveillance; ses yeux sont ouverts; sa coiffure n'est pas en désordre, et il ne paraît pas qu'une couronne d'épines ait été posée sur son chef. Les crucifix primitifs, comme ceux de Saint-Sernin et d'Amiens, ont la tête couverte d'une couronne royale. Au XIIe siècle, Jésus en croix est habituellement tête nue, et ce n'est qu'à dater du XIIIe qu'on voit la couronne d'épines ceindre son front penché vers la terre. Cependant la tendance vers le réalisme se fait déjà sentir à la fin du XIIe siècle. Il existe dans la sacristie de la cathédrale de Bordeaux un crucifix en ivoire d'une grande valeur comme oeuvre d'art; il appartient à la seconde moitié du XIIe siècle. On voit que l'artiste a cherché l'imitation de la nature, et le divin supplicié est un homme souffrant.

La tête (1) conserve toutefois un calme et une grandeur d'expression qui méritent l'attention des artistes. Trois clous seulement attachent les membres du Christ, tandis qu'avant cette époque les clous sont au nombre de quatre. Les crucifix posés sur les jubés sont ordinairement accompagnés de la Vierge et de saint-Jean. La Vierge est placée à la droite du Sauveur, saint-Jean à sa gauche. Quelquefois un ange, au pied de la croix, reçoit le sang du Christ dans un calice. Dans les peintures et les vitraux, sur les retables des autels, on voit souvent, à la droite du Christ, l'Église qui reçoit le sang divin dans un calice; à sa gauche, la Synagogue qui se détourne, et dont les yeux sont couverts d'un voile (voy. ÉGLISE, SYNAGOGUE). Habituellement, le Christ en croix est nimbé du nimbe crucifère.

Cependant, ce signe divin est omis dans beaucoup de peintures et de bas-reliefs des XIIIe et XIVe siècles. Dans les peintures, les vitraux et les bas-reliefs, les artistes ont souvent figuré, au-dessus des deux bras de la croix, le soleil et la lune, sous forme d'anges à mi-corps, pleurant et tenant ces deux astres dans les plis de leurs manteaux, ou encore sous forme de disques dorés, l'un rayonnant et l'autre échancré. Vers la fin du XIIIe siècle, le Christ en croix est contourné, affaissé, et les bras ne forment plus avec le corps des angles droits. La tête du Sauveur est empreinte d'une expression de souffrance physique poussée même parfois jusqu'à l'exagération, ainsi qu'on peut le reconnaître en examinant les vitraux et les peintures de cette époque, (2) 96. Cette tendance vers le réalisme est plus sensible encore pendant le XIVe siècle, et les artistes arrivent, au XVe siècle, à donner au crucifix toutes les apparences de la nature humaine soumise au plus affreux supplice: il s'agit de remplacer dans l'esprit des fidèles le sentiment du triomphe de la divinité sur la croix par le sentiment de la pitié.
Note 92: (retour) Le Théâtre des Antiquités de Paris, p. 13. 1622.
Note 93: (retour) Iconographie chrétienne, histoire de Dieu, p. 241. Paris, 1843.
Note 94: (retour) Le crucifix de Saint-Sernin de Toulouse, celui d'Amiens.
Note 95: (retour) Plutôt un jupon.
Note 96: (retour) De l'ancienne salle capitulaire de la cathédrale du Puy-en-Vélay (peinture à fresque de la fin du XIIIe siècle).
CRYPTE, s. f. Crute, croute, grotte. L'étymologie de ce mot (Grec: chropteiu, cacher) indique assez sa signification. Les premières cryptes ou grottes sacrées ont été taillées dans le roc ou maçonnées sous le sol, pour cacher aux yeux des profanes les tombeaux des martyrs; plus tard, au-dessus de ces hypogées vénérés par les premiers chrétiens, on éleva des chapelles et de vastes églises; puis on établit des cryptes sous les édifices destinés au culte pour y renfermer les corps saints recueillis par la piété des fidèles. Beaucoup de nos anciennes églises possèdent des cryptes qui remontent à une époque très-reculée: les unes ne sont que des salles carrées voûtées en berceau ou en arêtes, suivant la méthode antique, ornées parfois seulement de fragments de colonnes et de chapiteaux grossièrement imités de l'architecture romaine; d'autres sont de véritables églises souterraines avec collatéraux, absides et absidioles. On pénètre habituellement dans les cryptes par des escaliers qui débouchent des deux côtés du sanctuaire, ou même dans l'axe du choeur.
Les églises de France et des bords du Rhin présentent une grande variété dans la disposition et la forme de leurs cryptes; plusieurs sont construites avec un certain luxe, ornées de peintures, de colonnes de marbre et de chapiteaux historiés, et sont assez vastes pour contenir un grand nombre de fidèles; elles possèdent le plus souvent deux escaliers, afin de permettre aux nombreux pèlerins qui venaient implorer l'assistance des saints dont les restes étaient déposés sous leurs voûtes de descendre processionnellement par l'un des degrés et de remonter par l'autre. On évitait ainsi le désordre et la confusion.
Les cryptes, sauf de rares exceptions, reçoivent du jour par d'étroites fenêtres ouvertes sur le dehors de l'église ou sur les bas-côtés du sanctuaire. Cette dernière disposition paraît avoir été adoptée lorsque les cryptes étaient creusées sous les choeurs des églises romanes entourés d'un collatéral. Ainsi les ouvertures qui donnaient de l'air et de la lumière dans la crypte débouchaient dans l'enceinte du lieu consacré. Alors les choeurs étaient élevés au-dessus du pavé du pourtour, ce qui ajoutait à la solennité des cérémonies religieuses, et ce qui permettait même à l'assistance de voir, du bas-côté, ce qui se passait dans la crypte. La plupart des églises rhénanes conservent encore cette disposition, que nous voyons adoptée dans une petite église dont quelques parties paraissent remonter au VIe siècle; nous voulons parler de l'église de Saint-Martin-au-Val de Chartres. «On pénétrait primitivement dans la crypte,» dit M. Paul Durand, dans la description fidèle qu'il a donnée de cet édifice 97, «par deux petites portes placées à droite et à gauche de sa partie occidentale. Ces portes existent encore... Il est probable qu'autrefois le spectateur, placé dans la grande nef, pouvait apercevoir l'intérieur de la crypte par une ouverture médiane, ou deux ouvertures latérales pratiquées dans sa face occidentale, comme on le voit encore dans plusieurs églises du centre et de l'ouest de la France...» Il y a entre le sol du sanctuaire relevé et celui du bas-côté une différence de niveau suffisante pour qu'on ait pu pratiquer des fenêtres dans le soubassement des arcades du choeur, de manière à éclairer la crypte et à permettre de voir l'intérieur de cette crypte, dont les voûtes reposent sur deux rangées de quatre colonnettes chacune. Bien que l'église ait été mutilée et reconstruite en partie à plusieurs reprises, cependant les bases des colonnettes de la crypte et quelques chapiteaux primitifs sont d'un travail qui appartient à une époque très-reculée, voisine encore des arts du Bas-Empire, et présentant tous les caractères de la sculpture de la crypte célèbre de La Ferté-sous-Jouarre 98.
Les cryptes romanes n'ont guère qu'une hauteur de trois à quatre mètres du sol à la voûte; il fallait alors que ces voûtes fussent portées sur un quinconce de colonnes, si la crypte occupait en superficie un espace assez étendu. Toutefois, les cryptes étant creusées sous une abside ou sous un sanctuaire entouré de colonnes, le mur qui les fermait à l'orient était ordinairement semi-circulaire. Prenons, comme exemple, une des plus anciennes cryptes conservées, celle de Saint-Avit d'Orléans 99. Saint-Avit mourut de 527 à 529; son corps, transporté à Orléans, fut enseveli non loin des murailles. «Childebert Ier, passant par Orléans pour aller combattre les Visigoths, voulut visiter les reliques du saint; il fit voeu de bâtir une église au lieu où elles étaient déposées, s'il remportait la victoire: il revint triomphant et remplit son engagement 100.» L'église fut, depuis lors, saccagée plusieurs fois par les Normands, pendant le siége de 1429 et en 1562; en 1710, elle fut rasée. On avait perdu jusqu'à sa trace, lorsqu'en 1853 des fouilles faites pour agrandir les bâtiments du séminaire mirent au jour la crypte de Saint-Avit, qui nous paraît appartenir à la construction de Childebert.

Nous donnons (1) le plan de ce monument. On observera que l'entrée A se trouve au bas du rond-point, dont les voûtes sont portées sur quatre pilettes à section octogonale; en B est une arrière-salle (martyrium), séparée de l'abside par une claire-voie maçonnée. Le petit autel devait être placé en C, et le corps du saint en D. Nous retrouvons des dispositions analogues adoptées dans la plupart des cryptes primitives: c'est qu'en effet les reliques se trouvaient ainsi déposées sous le maître autel du sanctuaire, placé en avant de l'abside occupée par les clercs.

La fig. 2 donne la coupe transversale de la crypte sur la ligne EG, regardant la claire-voie; et la fig. 3, la coupe longitudinale sur la ligne HI. Cette dernière coupe fait voir, en A, le tombeau du corps saint; en B, l'autel principal supérieur placé dans le sanctuaire au-dessus du corps du martyr; en C, les siéges des clercs (chorus), et en D, l'autel de la crypte. La construction de la crypte Saint-Avit est faite en moellons grossièrement taillés, séparés par des joints de mortier très-épais. La grotte destinée à recevoir le corps saint n'est parfois qu'un réduit, comme à Saint-Germain d'Auxerre, comme dans la crypte de la cathédrale de Chartres et dans celle de l'église de Vézelay; quelquefois, au contraire, le martyrium est une véritable nef entourée d'un bas-côté. Cette dernière disposition est bien marquée dans la crypte de la cathédrale d'Auxerre, que nous supposons construite du IXe au Xe siècle.

Voici (4) le plan de cette crypte, aujourd'hui enclavée dans des constructions du XIIIe siècle. Le martyrium A est une longue salle dont les voûtes reposent sur un quinconce de piles; le corps saint devait être déposé en B; la petite arcade jumelle du fond rappelle encore la claire-voie que nous trouvons dans la crypte de Saint-Avit d'Orléans. Un déambulatoire C pourtourne le martyrium; un seul escalier subsiste aujourd'hui en D, mais il y a tout lieu de croire qu'il s'en trouvait un autre en E. l'autel était placé au fond de l'absidiole G. Ainsi les fidèles descendaient par l'un des escaliers, pouvaient voir le tombeau du saint par les ouvertures ménagées dans le mur du martyrium, faisaient leurs oraisons devant l'autel et remontaient par l'autre escalier. La crypte de la cathédrale de Chartres avait un martyrium très-étroit, mais un déambulatoire avec chapelles d'une grande étendue 101. La crypte de l'église abbatiale de Saint-Denis présentait ces mêmes dispositions dès avant la reconstruction entreprise par Suger; l'illustre abbé les conserva en rebâtissant le rond-point, et ajouta de vastes chapelles au déambulatoire pourtournant le martyrium, auquel il laissa sa forme primitive 102, ne voulant pas, probablement, toucher à ce lieu consacré. Cependant ce fut Suger qui enleva les reliques de saint-Denis et de ses deux compagnons de la crypte où elles étaient déposées, pour les placer sous l'autel des martyrs, au fond du sanctuaire (voy. AUTEL) 103.
Une des cryptes les plus vastes qui aient été élevées est certainement celle de l'abbaye de Saint-Bénigne de Dijon. Cette crypte existait dès le VIe siècle sous le sanctuaire de l'église bâtie par Grégoire, évêque de Langres. En 1001, Guillaume, abbé de Saint-Bénigne, entreprit de reconstruire l'église et les cryptes. D. Planchet 104 veut que Guillaume n'ait fait que réparer l'ouvrage de l'évêque Grégoire, et qu'il ait seulement bâti en entier la rotonde qui se voyait derrière l'abside. Quant à l'église, nous ne pouvons savoir s'il la reconstruisit ou s'il la répara, parce qu'elle fut totalement rebâtie à la fin du XIIIe siècle; mais des découvertes récentes 105 ont mis à nu les restes du martyrium renfermant le tombeau du saint et les caveaux de la rotonde y attenant: or ces constructions sont identiques et possèdent tous les caractères de l'architecture barbare du commencement du XIe siècle. Il faut donc voir là un monument de cette époque; cependant il est certain que l'abbé Guillaume conserva des massifs appartenant à des constructions antérieures; on reconnaît des soudures, on retrouve des fragments d'un monument plus ancien réemployés comme moellon.

Le plan souterrain de cet édifice, unique en France (5), fait assez voir que les cryptes primitives s'étendaient au delà des parties A, sous les transsepts de l'ancienne église. C'était dans ces deux galeries A que devaient aboutir probablement les escaliers de la crypte de l'évêque Grégoire. Peut-être, du temps de Guillaume, ces anciens escaliers avaient-ils été déjà supprimés ou jugés insuffisants, puisqu'on en avait pratiqué deux autres dans les deux tours rondes B qui flanquent la rotonde. Le tombeau du martyr était en C, couvert par un édicule et posé en contre-bas au sol de la crypte 106. En D se trouvait la chapelle de saint-Jean-Baptiste, construite au VIe siècle, si l'on en croit D. Planchet 107. Toute la crypte, la rotonde et la chapelle sont voûtées en moellons, excepté la partie milieu G, qui restait à jour. Cette disposition connue, on comprend comment les processions de pèlerins devaient circuler autour du tombeau du saint, autour de la rotonde, remonter soit par les escaliers des deux tours rondes, soit par l'un des deux escaliers primitivement ouverts en A. Cette crypte circulaire, dans le centre non voûté, laissait voir deux étages de galeries terminées par une coupole qui devait produire un fort bel effet. Avant la reconstruction du choeur, au XIIIe siècle, dont les fondations se voient en E,1,I, il est à croire que l'étendue de l'étage souterrain était plus grande encore et se prolongeait sous le choeur roman et les transsepts. On peut donc considérer la crypte de Saint-Bénigne de Dijon comme la plus vaste des cryptes connues. Ce monument si remarquable fut vendu pour le prix des matériaux, à la fin du dernier siècle, par la commune de Dijon (voy. SAINT-SÉPULCRE). Les entrepreneurs jugèrent que les pierres de la crypte ne valaient pas les peines qu'il faudrait prendre pour les enlever, et cette crypte nous est restée à peu près entière. Aujourd'hui les Dijonnais, devant ces vénérables débris qui sortent des décombres, accusent leurs pères de vandalisme.
Cette disposition des cryptes dont les déambulatoires se trouvaient au delà du lieu réservé au corps saint n'était pas la seule. Dans beaucoup de cryptes de petite dimension, le corps saint occupait une sorte de niche ou d'absidiole construite ou creusée à l'extrémité orientale; alors les fidèles, en descendant les escaliers, se trouvaient en face du corps saint comme devant un autel placé au fond d'une chapelle. La crypte de Saint-Seurin de Bordeaux, qui date du XIe siècle, est construite d'après ce principe. Voici (6) son plan et (7) une vue perspective de l'intérieur; le tombeau du saint est placé au milieu d'une sorte de grotte précédée d'une salle à trois nefs; la nef centrale est voûtée en berceau, ainsi que les nefs latérales.


Il existe à Vicq, dans l'arrondissement de Gannat, une petite crypte fort curieuse en ce que la place du reliquaire est parfaitement indiquée derrière un autel massif. Un seul escalier descend à cette crypte, dont voici le plan (8). Le reliquaire est en A, en partie encastré dans la muraille. La vue (9) du fond de la crypte nous évite toute description.

Quelquefois, mais plus rarement, les cryptes présentent en plan les dispositions de l'église supérieure. Telle est la belle crypte de Saint-Eutrope de Saintes, l'une des plus vastes qui existent en France. Cette crypte, en outre, présente cette particularité remarquable qu'elle est largement éclairée et que ses chapiteaux sont richement sculptés. Nous regardons cette construction comme appartenant en partie aux dernières années du XIe siècle ou au commencement du XIIe. C'est un large vaisseau (large pour une crypte) de 5m,40, terminé par un rond-point avec collatéral pourtournant et trois chapelles rayonnantes. En voici le plan (10).

En A est le tombeau du saint, formé d'une dalle posée sur deux marches 108. La construction des voûtes de la crypte de Saint-Eutrope de Saintes mérite d'être observée avec soin; les voûtes de la nef centrale appartiennent au XIIe siècle; elles se composent d'arcs doubleaux donnant en section un demi-cylindre, entre lesquels sont bandées des voûtes d'arête en moellon, sans arêtiers; à l'abside, ce sont des arcs à section rectangulaire qui viennent se réunir en une énorme clef. Notre vue perspective (11) donne l'aspect de l'intérieur de cette crypte. Les murs des collatéraux ont été repris à la fin du XIIe siècle et au XIIIe, ainsi que les voûtes des deux chapelles latérales. La chapelle absidale a été reconstruite, mais la disposition primitive est facile à saisir. De même que l'église supérieure, la crypte est précédée d'un vaste narthex dont les murs seuls appartiennent à la construction de la fin du XIe siècle.

Il nous paraît superflu de multiplier les exemples de ces constructions souterraines, qui présentent presque partout les mêmes caractères. Nous avons cherché à faire passer sous les yeux de nos lecteurs les variétés les plus remarquables des cryptes françaises; souvent ce ne sont que des caveaux très-simples, sans collatéraux et dépourvus de tout ornement, ou des constructions dont la configuration irrégulière était donnée par des excavations anciennes que l'on tenait à conserver par un sentiment de respect religieux.
Vers la fin du XIIe siècle, la plupart des corps saints, renfermés jusqu'alors dans les cryptes, furent placés dans des châsses de métal et déposés dessous ou derrière les autels des églises hautes; aussi ne voit-on point de cryptes dans les églises entièrement bâties depuis cette époque. La cathédrale de Bourges fait seule exception; mais la déclivité du sol sur lequel on éleva cet édifice, bien plutôt qu'une idée religieuse, fit adopter le parti de construire, sous les bas-côtés de l'abside, une église souterraine, qui, par le fait, n'est qu'un rez-de-chaussée. À Chartres, les architectes du XIIIe siècle conservèrent la vieille crypte du XIe, parce que cette crypte était en singulière vénération parmi les fidèles, et que la solidité de la construction permettait d'asseoir la nouvelle bâtisse sur ces vieilles maçonneries. Le programme d'après lequel on élevait les cathédrales françaises à la fin du XIIe siècle ne comportait pas de cryptes, puisque ces vastes édifices avaient alors un caractère à la fois civil et religieux (voy. CATHÉDRALE). D'ailleurs, on observera que la plupart des anciennes cryptes des églises paroissiales ou conventuelles étaient plantées de façon à ce que de la nef on aperçût les entrées du caveau; les choeurs devaient alors être relevés au-dessus du pavé des transsepts de plusieurs marches, comme, par exemple, dans l'église abbatiale de Saint-Denis. Cette disposition, qui convenait à une église monastique dont une partie seulement était réservée au public, ne pouvait être admise dans nos grandes cathédrales françaises, où l'on tenait surtout à offrir à la foule et au clergé une superficie de niveau d'un bout à l'autre de l'édifice 109, sauf à l'entrée du choeur, qui était, avec ses bas-côtés, relevé de deux ou trois marches.
Sur les bords du Rhin, au contraire, et dans les provinces de l'est, les cathédrales possédaient, dès le XIe siècle, et conservèrent plus tard leurs cryptes enfoncées à mi-sol, de manière à relever de plusieurs pieds le pavé des sanctuaires. Ces cathédrales ayant deux absides pendant la période romane, l'une à l'est, l'autre à l'ouest, ces deux absides avaient souvent chacune leur crypte prenant jour sur les collatéraux nord et sud et par des fenêtres percées dans le rond-point dépourvu de bas-côtés. À la cathédrale de Besançon, avant les mutilations qui, pendant cent cinquante ans, ont successivement modifié le plan de ce bel édifice, il y avait deux sanctuaires relevés et deux cryptes; même disposition à Verdun. À Strasbourg, l'une des deux cryptes est conservée sous le choeur, très-relevé, au-dessus de la nef. À Bamberg, on voit encore les deux sanctuaires est et ouest, avec leurs clôtures et les deux cryptes. L'une des plus belles et des plus anciennes cryptes des bords du Rhin est certainement la crypte de la cathédrale de Spire, qui se trouve, suivant l'usage habituel, à mi-sol, prenant jour sur le dehors. En Angleterre, la crypte de la cathédrale de Canterbury est de beaucoup la plus vaste et la plus intéressante, ayant successivement été agrandie à mesure qu'on augmentait l'édifice.
Toutes les anciennes cryptes romanes présentent des traces de peintures; celles si curieuses de l'Auvergne étaient entièrement couvertes de sujets légendaires exécutés souvent avec soin. Sous le choeur de Saint-Benoît-sur-Loire, il existe une crypte laissant voir encore des fragments de peinture qui appartiennent au Xe ou XIe siècle. Dans un grand nombre de cryptes, il existe des puits; souvent ces eaux étaient considérées comme miraculeuses.
Nous ne devons pas terminer cet article sans mentionner un fait singulier. Hugues de Poitiers, dans son Histoire du monastère de Vézelay 110, dit: «Le feu prit par accident à la voûte qui s'élève au-dessus du sépulcre de la bienheureuse Marie-Madeleine, amie de Dieu; et ce feu fut tellement violent, que les supports mêmes, que les Français appellent des poutres, et qui étaient placés dans la partie supérieure, furent tout à fait consumés. Cependant l'image en bois de la bienheureuse Marie, mère de Dieu, laquelle posait sur le pavé même de la voûte, demeura entièrement à l'abri du feu, et en fut seulement noircie...» Hugues de Poitiers entend-il parler d'une voûte en bois fermant la crypte au-dessus du sépulcre de Marie-Madeleine, ou de la charpente supérieure de l'église? Ce qui ferait croire que l'incendie détruisit la voûte ou plutôt le plancher couvrant une crypte, c'est la suite du texte: les moines ayant trouvé des reliques dans l'image de bois de la Vierge, les populations environnantes accoururent pour voir cette image ainsi miraculeusement préservée. Gilon, le prieur du monastère, expliqua devant cette multitude de peuple comment on devait rendre des actions de grâces de la découverte précieuse qui avait été faite. «À ce récit, ajoute Hugues, tous pleurèrent de joie; et lorsque ensuite on voulut rétablir sous la voûte le sépulcre de la bien-aimée de Dieu, il se fit un si grand concours de ce peuple... etc.» Ainsi donc on peut croire que c'était la voûte ou le plancher servant de voûte à la crypte qui avait été incendié. Cependant il reste à Vézelay une portion de crypte antérieure à Gilon (1165), et ce reste est voûté en moellon; l'autre partie de la crypte, sous le sanctuaire, date des dernières années du XIIe siècle, c'est-à-dire fut reconstruite après l'incendie. On pourrait donc admettre que, sous le sanctuaire, au XIIe siècle, il existait une sorte de plancher surélevé sous lequel était déposé le corps de Marie-Madeleine et sur lequel s'élevait l'image en bois de la Vierge.
Note 97: (retour) Rapport sur l'église et la crypte de Saint-Martin-au-Val, à Chartres, par M. Paul Durand. Chartres, 1858.
Note 98: (retour) Voy. la publication des Archives des monuments historiques, sous les auspices de S. E. M. le ministre d'État. Gide, édit.
Note 99: (retour) Cette crypte se trouve aujourd'hui comprise dans les bâtiments du grand séminaire d'Orléans.
Note 100: (retour) Voy. le Rapport sur la crypte découverte dans le jardin du grand séminaire d'Orléans, par M. Buzonnière.--Bullet. du comité de la langue, de l'histoire et des arts de la France, nº 5, p. 399. 1853.
Note 101: (retour) Voy. la Monographie de la cathéd. de Chartres, par M. Lassus, publiée par le ministère de l'instruction publique et des cultes (inachevée); et la Description de la cathéd. de Chartres, par M. l'abbé Bulteau.
Note 102: (retour) Le martyrium de Saint-Denis date du IXe ou Xe siècle.
Note 103: (retour) Voy. le mot CHASSE, Dict. du Mobilier français.
Note 104: (retour) Hist. de Bourgogne, t. Ier.
Note 105: (retour) Des fouilles exécutées en novembre 1858, sous la direction de M. Suisse, architecte, ont fait reparaître les restes de la crypte de Saint-Bénigne et l'étage inférieur de la rotonde. Ces précieux débris vont être consolidés et seront conservés.
Note 106: (retour) Les restes de ce tombeau sont encore visibles aujourd'hui.
Note 107: (retour) Les soubassements de cette chapelle n'étant pas découverts, nous ne pouvons assigner une époque précise à sa construction.
Note 108: (retour) M. Letronne pense que cette dalle tumulaire date du IVe ou Ve siècle. Un autel a été posé malheureusement devant cette tombe, et détruit l'effet grandiose de la crypte. Sur l'un des rampants de la dalle tumulaire, on lit, en capitales romaines, ce seul nom gravé: EVTROPIVS.
Note 109: (retour) À la cathédrale de Paris, par exemple, avant la clôture établie au XIVe siècle, le sanctuaire était de niveau avec les bas-côtés du choeur; l'autel seul était relevé de quelques marches.
Note 110: (retour) Liv. IV.
CUISINE, s. f. Nous n'avons pas une idée exacte de ce qu'étaient les cuisines et leurs dépendances chez les Romains. Étaient-elles enclavées dans les habitations comme de nos jours, étaient-elles disposées dans des logis séparés? Cette dernière hypothèse nous semble la plus vraisemblable. Il est à présumer d'ailleurs que les familles qui, à Rome, ne possédaient pas de nombreux esclaves et n'habitaient que des appartements loués, envoyaient dehors acheter chez les rôtisseurs et autres marchands de victuailles ce dont elles avaient besoin au moment des repas, ainsi que cela se pratique encore aujourd'hui dans la plupart des villes de l'Italie méridionale. Les Gaulois et les Germains, comme tous les peuples primitifs, faisaient leur cuisine en plein air. Grégoire de Tours parle de ces repas faits dans de grands hangars, dans ces barraques de bois que les rois francs élevaient là où ils voulaient résider pendant quelque temps; dans ce cas, les aliments étaient préparés dehors au milieu de vastes cheminées bâties en brique et en terre. Dans la tapisserie de Bayeux, on voit encore les gens de Guillaume faisant la cuisine en plein air; il est vrai que la scène se passe au moment du débarquement de son armée en Angleterre. Necham 111 remarque qu'il était d'usage de placer les cuisines près de l'extérieur des habitations, le long du chemin ou de la rue. Il fallait alors traverser une cour pour passer de la cuisine à la salle à manger; les viandes étaient apportées embrochées, et on les dressait, dans la salle même, sur des buffets 112, avant de les présenter aux convives.
Dans l'enceinte des châteaux normands des XIe et XIIe siècles, on aperçoit souvent des aires circulaires de quatre à cinq mètres de diamètre dont quelques parties sont calcinées; nous pensons que ce sont là les cuisines primitives, qui n'étaient autre chose qu'une sorte de cloche de terre avec un tuyau à sa partie supérieure, et dans laquelle on allumait des feux pour faire rôtir ou bouillir des viandes. En conservant ces dispositions primitives, on les perfectionna. En consultant la Monographie des abbayes de France 113, on remarque, dans une vue cavalière de l'abbaye de Marmoutier près Tours, une cuisine désignée sous le nom de culina antiqua.

Cette cuisine, dont la fig. 1 présente l'aspect extérieur, est une sorte d'immense cornue qui peut avoir 12m,00 environ de diamètre hors oeuvre. La voûte, en forme de cloche, est percée d'une cheminée principale au centre pour laisser échapper la buée. Elle possède, à l'intérieur, cinq foyers vastes, munis chacun d'un tuyau principal et de tuyaux latéraux, comme le fait voir le plan (2).

Ainsi, la fumée des cinq foyers s'échappe par cinq tuyaux directs et par six tuyaux latéraux communs chacun, à deux foyers, sauf ceux voisins de la porte d'entrée. Ce triple tirage pour chaque cheminée empêchait la fumée de rabattre lorsque le vent frappait d'un côté. Il faut observer d'ailleurs que les tuyaux sont dominés par le sommet de la cuisine, et, qu'en pareil cas, le tirage est très-insuffisant si, pour chaque foyer, il doit se faire par un seul tuyau, On peut voir, au mot CHEMINÉE, que les constructeurs divisaient souvent les tuyaux de fumée lorsque ces cheminées étaient très-grandes. Ici l'excès de fumée qui ne pouvait trouver une issue suffisante par les tuyaux directs A tourbillonnait sous la voûte en cul-de-four de chaque foyer et s'échappait par les tuyaux latéraux B ayant chacun deux bouches CC. Si, malgré ces précautions, la fumée s'échappait sous la voûte principale, elle trouvait trois exutoires en D, puis le tuyau central. Pour faire comprendre cette construction, nous donnons (3), en A, la coupe sur la ligne KL, et, en B, la coupe sur la ligne KN du plan. La cuisine de Marmoutier est complétement isolée, mais voisine du réfectoire.

Le même recueil nous donne l'aspect extérieur de l'ancienne cuisine de l'abbaye de la Sainte-Trinité de Vendôme. Cet édifice circulaire possédait intérieurement six cheminées ayant chacune deux tuyaux pour faire échapper la fumée; entre les six cheminées s'ouvraient six fenêtres (voy. le plan fig. 4) éclairant largement la cuisine. On remarquera que la cuisine précédente de l'abbaye de Marmoutier était dépourvue de fenêtres et que les gens n'étaient éclairés que par les feux des âtres, ce qui indique assez que l'on ne faisait autre chose, dans ces officines, que de cuire les viandes et les légumes; plus tard les cuisines sont éclairées par des fenêtres; des tables en pierre sont placées au centre afin de préparer les mets avant et après leur cuisson; des fourneaux sont établis sous les manteaux de cheminées. Avant le XIIe siècle on ne mangeait que des viandes rôties et des légumes bouillis. L'art des ragoûts était à peu près ignoré. Ce qu'il fallait donc dans une cuisine, c'était de grands feux clairs, de larges foyers propres à placer de nombreuses et longues broches, à suspendre de vastes marmites.

Le plan de la cuisine de l'abbaye de Vendôme, fig. 4, donne, en A, la section horizontale au niveau des foyers, et, en B, la section horizontale au niveau des fenêtres.

La coupe (5) faite en A sur la ligne CD et en B sur la ligne CE montre la disposition des âtres avec leurs tuyaux jumeaux; les six évents supérieurs F s'ouvrant au sommet de la calotte hémisphérique et le grand tuyau central sont destinés à faire un puissant appel et à enlever la buée intérieure.

La fig. 6 donne l'élévation extérieure de la cuisine de l'abbaye de Vendôme. Derrière chaque cheminée s'élève un contre-fort, motivé par l'affaiblissement du mur circulaire et le passage des doubles tuyaux au droit des âtres.
Cette cuisine datait certainement du XIIe siècle: c'était un charmant édifice, parfaitement approprié à sa destination.
Chacun peut voir aujourd'hui la belle cuisine du XIIe siècle de l'abbaye de Fontevrault (Maine-et-Loire), cuisine qui existe encore, mais qui passe pour une chapelle funéraire; ce qui prouve notre parfaite intelligence des choses et des habitudes du moyen âge.
La cuisine de cette ancienne abbaye est décorée, à l'intérieur, de chapiteaux portant des arcs disposés d'une façon parfaitement appropriée à l'usage auquel est destiné le monument. À Fontevrault, mieux qu'à Vendôme, la place des foyers est indiquée à l'extérieur. Les cheminées, qui occupent cinq côtés de l'octogone, forment autant de grandes niches saillantes comprises entre les contre-forts (voy. le plan de cette cuisine, fig. 7).

Ces cinq cheminées étaient autrefois surmontées de tuyaux aujourd'hui détruits et bouchés. Quatre des colonnes engagées portent quatre arcs doubleaux dont les clefs sont contre-buttées par quatre petits arcs-boutants intérieurs A. La fumée qui ne prenait pas son cours naturel par les tuyaux B trouvait, au-dessus de trois de ces quatre arcs doubleaux, des tuyaux destinés à l'attirer au dehors. Au-dessus des quatre arcs doubleaux sont bandés quatre petits arcs faisant passer le plan du carré à l'octogone; dans les angles formés par ces quatre petits arcs étaient ouverts trois tuyaux C destinés à enlever l'excès de chaleur ou la fumée. Puis enfin un grand tuyau central D, ouvert au sommet d'une pyramide à huit pans, faisait échapper la buée qui pouvait se former dans la cuisine. Tous ces tuyaux, excepté celui du centre, ont été détruits.

La fig. 8 donne, en A, la coupe de cette salle sur la ligne KL; en B, la coupe sur la ligne MN, et, en C, la coupe sur la ligne OP du plan ci-contre. Autrefois, des ouvertures pratiquées dans les deux murs R éclairaient l'intérieur de cette cuisine, dont l'entrée est en S.

La fig. 9 donne l'élévation extérieure de la cuisine de Fontevrault. Nous avons cru devoir rétablir les tuyaux détruits, mais dont la place est parfaitement indiquée.
Aujourd'hui, nous sommes visiblement loin de ces temps barbares où l'on savait satisfaire aux besoins vulgaires de la vie; dans nos châteaux et nos grands établissements publics, nous plaçons nos cuisines au rez-de-chaussée ou dans des caves, de façon à répandre dans le logis l'odeur nauséabonde qui s'échappe de ces officines; ou bien, si nous les disposons dans des logis séparés, les règles de la bonne architecture veulent qu'elles occupent les communs, c'est-à-dire des ailes presque toujours éloignées du corps de logis principal, si bien qu'il faut apporter les mets à travers de longs couloirs, dans des barquettes, et que tout ce qui est servi sur table ne peut conserver qu'une fade tiédeur entretenue par des réchauds.
Les cuisines sont, pendant le moyen âge, dans les palais ou les monastères habités par un grand nombre de personnes, une construction importante; c'est qu'en effet la cuisine compte bien pour quelque chose dans la vie de chaque jour. Les exemples que nous venons de présenter sont de véritables monuments, bien conçus, parfaitement exécutés; on voit comme les architectes de ces bâtiments ont cherché à obtenir une circulation d'air très-active; en effet, non-seulement l'air est nécessaire à l'entretien d'aussi grands foyers, mais il contribue encore à la qualité des aliments exposés à la cuisson. Le séjour de pareilles cuisines ne pouvait être malsain. Les architectes du XIIIe siècle devaient nécessairement perfectionner ces dépendances des monastères et des châteaux. Ils élevèrent des cuisines à plusieurs étages, ainsi que nous allons le voir tout à l'heure; ils commencèrent à y installer des fourneaux, des tables chauffées pour dresser les mets avant de les servir; ils eurent grand soin de disposer les dallages de façon à pouvoir les maintenir propres facilement; quelquefois ils trouvèrent moyen d'utiliser la fumée de bois pour conserver certaines viandes.
Il existait, dans l'abbaye de Saint-Père ou Saint-Pierre de Chartres, une belle cuisine du XIIIe siècle qui touchait au réfectoire; cette cuisine était circulaire et présentait, à l'intérieur, une disposition ingénieuse qui permettait de fumer une quantité considérable de viandes. Or, soit pour la consommation intérieure du couvent, soit pour vendre, les moines élevaient des troupeaux de porcs dont ils tiraient un produit, estimé des amateurs de lard salé et de jambons fumés. La grande cuisine de l'abbaye de Saint-Pierre de Chartres était disposée de manière à pouvoir fumer une quantité considérable de viandes.

La fig. 10 présente, en A, le plan du rez-de chaussée, et, en B, le plan du premier étage de cette cuisine, bâtie, comme les précédentes, sur plan circulaire. La salle renfermait six foyers C, surmontés d'une voûte formant comme un bas-côté avec galerie supérieure. La fumée des foyers passait par les ouvertures D de la voûte, et se répandait dans la galerie supérieure E dont les murs étaient tapissés de jambons accrochés. Ces deux étages recevaient la lumière extérieure par les fenêtres G. Après avoir tourbillonné dans la galerie supérieure E, la fumée était attirée au dehors par les six tuyaux H et par le tuyau central K. Les dessins et gravures que nous avons pu consulter 114 ne nous donnent pas les dimensions exactes de cet édifice; mais on peut reconnaître cependant qu'il était assez vaste, et qu'il devait avoir environ douze ou quatorze mètres de diamètre.

La fig. 11 présente, en A, la coupe sur MN, et, en B, la coupe sur KL de cette cuisine. On voit, dans la coupe A, les cellules au-dessus de chaque foyer, contre les parois desquelles on accrochait les viandes. Des contre-forts s'élevaient derrière les six foyers, tant pour contre-butter la poussée des voûtes que pour donner de l'épaisseur et de la solidité sur les points de la circonférence où la chaleur des feux pouvait faire fendre les murs, ainsi que cela n'arrive que trop souvent. En ouvrant les fenêtres inférieures, on établissait un courant d'air qui activait le tirage de la fumée à travers les trous D, afin de ne pas gêner les cuisiniers; mais la fumée remplissant les cellules du premier étage s'échappait alors plus lentement par les six cheminées H ou par le tuyau central K. Il restait donc dans la galerie supérieure une fumée permanente cherchant ses issues, et les viandes avaient ainsi le temps d'en être imprégnées; la fumée cependant ne pouvait se rabattre sur le sol, grâce au grand tuyau central qui établissait un puissant tirage.

L'aspect extérieur de la cuisine de l'abbaye de Saint-Pierre de Chartres est présenté dans l'élévation géométrale (12). Ici la couverture est faite en charpentes couvertes d'ardoises, et l'on voit comme le grand tuyau central était maintenu par les huit arcs-boutants indiqués dans les coupes. Afin d'éviter la buée qui n'eût pas manqué de se former sous la voûte centrale, si cette voûte eût été, à l'extrados, en contact avec l'air extérieur, le comble était relevé, et une ventilation était établie entre l'extrados de cette voûte et la charpente. Cet isolement permettait encore de reconnaître l'état des couvertures et de parer aux filtrations d'eaux pluviales.
Le peu de terrain dont on pouvait disposer dans les châteaux et surtout dans les palais bâtis au milieu de villes populeuses ne permettait pas toujours de construire des cuisines isolées. Force était de trouver leur place dans les logis; mais encore étaient-elles, dans ce cas, disposées avec le plus grand soin et de manière à ne pouvoir répandre l'odeur ou la fumée en dehors de leur enceinte.

On voit encore, dans les constructions anciennes du Palais-de-Justice de Paris, une salle voûtée sur un quinconce de colonnes (13), avec quatre larges cheminées aux angles. Cette salle, qui donne sur le quai du nord, à côté de la tour de l'Horloge, est connue sous le nom de cuisines de saint Louis. Cependant cette construction appartient à la fin du XIIIe siècle ou au commencement du XIVe, et est contemporaine des ouvrages élevés sous Philippe le Bel. Les manteaux des quatre cheminées forment, en projection horizontale, un angle obtus, et leur clef est contre-buttée par une façon d'étrésillon en pierre, ainsi que l'indique la fig. 14.

L'examen des localités nous a fait supposer que cette cuisine avait deux étages. La cuisine basse, celle qui existe encore entière, était probablement réservée aux familiers, et la cuisine du premier étage, au service de la table du roi. Dans le palais des Papes, à Avignon, il existe encore une cuisine du XIVe siècle: c'est une vaste pyramide à huit pans, creuse, bâtie dans une tour carrée, et terminée par un seul tuyau; des foyers sont disposés dans les parois inférieures. On ne manque pas de montrer cette salle aux visiteurs, comme étant celle où le tribunal de l'Inquisition faisait rôtir les gens à huis-clos. Rôtir les gens sur une place publique ou dans une tour pour la plus grande gloire de Dieu est certes un triste moyen de les ramener dans la voie du salut; mais prendre une cuisine pour une rôtissoire d'humains est une méprise bien ridicule.
Dans les châteaux, cependant, on plaçait, autant que possible, ainsi que cela se pratiquait dans les monastères, les cuisines dans un bâtiment spécial. Voici une de ces cuisines, de la fin du XIVe siècle, parfaitement conservée, qui dépend du château de Montreuil-Bellay près Saumur 115.

Le plan (15) est carré; à l'intérieur, il n'y a que deux cheminées AA. Des fourneaux ou potagers étaient vraisemblablement placés en F. Les deux cheminées possèdent chacune leur tuyau de tirage; au centre de la voûte est en outre un long tuyau destiné, suivant l'usage, à enlever la buée formée à l'intérieur de la salle. Cette cuisine est adossée d'un côté à un gros mur B du château. Deux petites portes latérales sont en CC', cette dernière donnant sur une galerie. On voit encore une troisième porte en D, puis en E une très-large fenêtre, avec mur d'appui, disposée comme une devanture de boutique. C'est par cette fenêtre que l'on apportait et que l'on recevait les provisions du dehors; et, en effet, on voit la trace du petit auvent qui, à l'extérieur, abritait les gens qui stationnaient devant cette ouverture. L'auvent se prolongeait, au moyen d'un petit appentis suspendu, jusqu'au-dessus de la porte D.
La construction des voûtes est des plus curieuses à étudier: elle nous fait voir une fois de plus combien les architectes du moyen âge usaient librement des principes féconds qu'ils avaient trouvés. Donnons d'abord la coupe (16) de la cuisine de Montreuil-Bellay sur la ligne O,P du plan.

La voûte centrale est une pyramide curviligne à quatre pans, avec arêtes saillantes dans les quatre angles rentrants. Ces arêtes sont en pierre et les pans courbes en brique; les arêtes saillantes portent la clef percée d'une lunette circulaire en pierre qui reçoit le tuyau central carré en brique, terminé par un lanternon de pierre de taille; sur les quatre faces du carré formant bas-côtés sont bandés des berceaux, ceux au droit des cheminées pénétrés par leurs manteaux. Mais pour contre-butter les quatre arcs doubleaux et les deux arcs d'arêtiers très-chargés, le constructeur a bandé des demi-arcs formant comme des arcs-boutants tournés vers les murs extérieurs. Ainsi ces arcs polissent peu en dehors et maintiennent puissamment la voûte centrale, chargée d'une lourde cheminée.

Si donc nous coupons le bâtiment sur la ligne RS du plan, nous obtenons le tracé (17) dans lequel on voit en coupe comment les arcs diagonaux d'angles L étrésillonnent les quatre arêtiers de la voûte centrale. C'est sous la fenêtre de droite qu'était placé très-probablement l'un des fourneaux ou potager, et cette fenêtre permettait d'examiner les mets posés sur les cases de ce fourneau. À dater du XIVe siècle, l'usage des sauces était très-goûté dans l'art de la cuisine; on ne se contentait plus de servir sur les tables des viandes rôties ou bouillies. Il fallait nécessairement des fourneaux pour préparer ces condiments beaucoup plus variés qu'ils ne le sont de nos jours. Au commencement de notre siècle, un célèbre cuisinier prétendait que les habitudes anglaises introduites dans l'art culinaire étaient la perte de l'art, que c'était un retour manifeste vers la barbarie; avec la gravité qui appartient à tout cuisinier sûr de son mérite, il prédisait tristement la décadence des sauces et, par suite, celle de la société.

La coupe faite sur la ligne TV du plan nous donne le profil (18) indiquant comment le manteau de la cheminée pénètre dans le berceau latéral et comment le tuyau se dévie pour revenir à l'aplomb du mur. La fig. 19 présente l'élévation extérieure de la cuisine de Montreuil-Bellay, du côté de la fenêtre aux provisions.

La cour de Bourgogne attachait une grande importance au service de table, et, pendant le XVe siècle, c'était, dans tout l'Occident, celle où l'on mangeait et buvait le mieux. Les descriptions des festins donnés par les ducs de Bourgogne, qui nous sont scrupuleusement conservées dans les Mémoires d'Olivier de la Marche, permettent de supposer que, pour préparer un aussi grand nombre de mets variés, il fallait des cuisines et des offices disposées de la façon la plus grandiose. Cependant beaucoup de mets étaient cuits d'avance; mais on servait un nombre prodigieux de potages, de viandes préparées avec des sauces, de ragoûts, de poissons chauds, puis des pyramides de volailles ou de gibiers rôtis. Il fallait nécessairement que ces mets fussent cuits au moment des repas. Alors, dans les vastes cuisines des palais ou châteaux, non-seulement on chauffait les foyers des vastes cheminées devant lesquels de longues broches recevaient les viandes, mais les landiers (chenets) de ces cheminées portaient de petits fourneaux à leur sommet; on remplissait les potagers de charbon; puis des tables, sur lesquelles on étendait de la braise incandescente, servaient encore de supplément soit pour faire instantanément des coulis, soit pour dresser des plats. On tenait fort alors à manger chaud les mets chauds, et on comprend comment, dans ces vastes cuisines toutes garnies de foyers, les aliments n'avaient pas le temps de se refroidir pendant qu'on les posait sur des plats. La bonne disposition des tuyaux de cheminée, et surtout ce tirage central que nous trouvons dans toutes les cuisines du moyen âge, renouvelaient sans cesse les colonnes d'air et, malgré l'extrême chaleur, empêchaient les cuisiniers d'être asphyxiés.
Puisque nous avons parlé de la table des ducs de Bourgogne, nous ne devons pas omettre la belle cuisine construite pendant la seconde moitié du XVe siècle dans l'enceinte du palais des ducs de Bourgogne à Dijon.

Cette salle et ses dépendances étaient encore entières il y a quelques années. Son plan est un carré parfait (20); la voûte centrale est portée sur huit colonnes; sur trois côtés, ces colonnes servent de pieds-droits à trois grandes cheminées jumelles A, dont les foyers, divisés seulement par des arcs en tiers-point, sont surmontés de doubles tuyaux barlongs. Deux potagers ou fourneaux sont disposés en B; en C est un four et en D un puits avec conduit E communiquant avec l'un des foyers. On pouvait ainsi remplir les grandes bouilloires ou les chaudières qui probablement étaient suspendues au-dessus de l'un des trois foyers. Cette cuisine est éclairée par de hautes fenêtres F et par une petite fenêtre latérale G. En H s'élève le tuyau central destiné à enlever la buée. En K, une table de pierre recevait les viandes après leur cuisson. C'était là que les officiers les prenaient pour les dresser sur les plats. La dalle de cette table était chauffée par-dessous, afin que ces viandes ne pussent se refroidir 116.

La fig. 21 donne la coupe de cette cuisine sur l'axe A'B'. Le tuyau central est porté sur une petite voûte à base carrée (voûte en arc de cloître) qui repose sur la grande voûte centrale, renforcée de quatre arêtiers diagonaux et de quatre nerfs dans les angles rentrants. Ces huit arcs aboutissent à un oeil ajouré au milieu et autour de sa circonférence, ainsi que le fait voir le détail perspectif P. Suivant l'usage, un égout latéral R recevait les eaux jetées sur le pavé de la cuisine afin de le maintenir propre. Les foyers, comprenant tout l'espace donné par les collatéraux sur trois côtés, étaient une bonne disposition. Les manteaux, plus larges que ceux de la cuisine du château de Montreuil-Bellay, devaient parfaitement enlever la fumée et rendaient la construction plus simple.
Les cuisines du moyen âge contenaient presque toujours, ainsi que nous l'avons déjà dit, des tables de pierre ou réchauffoirs où l'on déposait les viandes et ragoûts avant de les porter dans la salle du festin. Il existe encore, dans la cuisine de l'abbaye de Mortain (Abbaye Blanche), deux de ces tables-réchauffoirs taillées dans du granit, que nous donnons ici (22).

Nos voisins d'Outre-Manche paraissent avoir, aussi bien que nous, disposé les cuisines de leurs établissements monastiques ou de leurs châteaux. On voit, à Durham, une belle cheminée octogone, du XIVe siècle, avec ses dépendances, offices, magasin à bois et à charbon, etc. Quelles que fussent la dimension et la belle ordonnance de ces cuisines du moyen âge, dans certains cas elles devenaient insuffisantes pour préparer la nourriture de grandes assemblées, d'autant qu'alors les seigneurs tenaient table ouverte à tous venants. Pour le couronnement d'Edward Ier, en 1273, tout l'espace de terrain vacant dans l'enceinte du palais de Westminster fut entièrement couvert de barraques provisoires et d'offices pour donner à manger à tous ceux qui se présenteraient. De nombreuses cuisines furent aussi bâties dans le même enclos; mais, dans la crainte qu'elles ne pussent suffire, des chaudières de plomb étaient placées sur des foyers en plein air. La cuisine principale, dans laquelle les volailles et autres mets choisis devaient être cuits, était entièrement découverte pour permettre à la fumée de s'échapper librement 117. Faire d'une cuisine un bâtiment spécial isolé, parfaitement approprié à sa destination, c'eût été, pour les architectes de la Renaissance, déshonorer une ordonnance d'architecture. Depuis lors, on voulut dissimuler ces services essentiels: on les relégua dans des caves, on les plaça comme on put dans les corps de logis, au risque d'incommoder les habitants des châteaux. On voulait avant tout présenter des façades symétriques, des cours régulières; mais, comme il faut dîner, quelque amour que l'on ait pour l'architecture symétrique, l'odeur de la cuisine, le bruit des gens de service se répandent à certaines heures dans une bonne partie des palais. Dans les établissements publics, tels que les hospices, les casernes, les séminaires, les couvents, les colléges, au lieu des vastes salles bien aérées, bien disposées du moyen âge, on en a été réduit à prendre, à rez-de-chaussée ou au-dessous du sol (toujours pour satisfaire aux règles de la belle architecture), une pièce, souvent enclavée, sombre, humide, d'un accès difficile, pour y installer la cuisine et ses dépendances, à la place de ces foyers larges, devant lesquels les viandes rôtissaient en absorbant autant d'oxygène qu'elles en pouvaient prendre; on a posé des fourneaux propres (dit-on) à toute espèce de cuisson, manières de fours, d'où tous les mets sortent ayant acquis à peu près le même goût. Dans ces laboratoires de fonte, les viandes ne rôtissent pas, elles se dessèchent; les légumes prennent, en bouillant, une saveur rapide; l'air manque à ces mets divers, et l'air entre pour une forte part dans leurs qualités nutritives. La chimie déclare qu'un gigot cuit à l'air libre ou dans ces creusets de fonte présente à l'analyse les mêmes éléments; nous l'admettons: mais notre palais, qui n'est pas chimiste, s'aperçoit d'une grande différence entre l'un et l'autre; notre estomac digère mal ces viandes cuites à l'étouffée, sèches et sans saveur. Il est vrai que nous pouvons aider à la digestion en allant regarder les belles façades régulières de nos édifices publics, compter le nombre de leurs colonnes, de leurs arcades ou de leurs fenêtres.
Vous, architectes de nos anciens châteaux, de nos vieux hospices, de nos maisons religieuses, que diriez-vous si vous entriez dans la plupart de nos établissements publics, et si vous voyiez comment sont disposés les services les plus essentiels à la vie commune 118?
Note 111: (retour) Alexandre Necham ou Nequam est un écrivain qui vivait sous les règnes de Henri II, de Richard Ier et de Jean; il a laissé des descriptions des habitations du XIIe siècle. Né à Saint-Alban en 1157, il fut maître de grammaire dans cette ville; il fut abbé de Cirencester en 1213. (Voy. Some account of domestic Architecture in England, t. I. Hudson Turner. Parker edit. Oxford, 1851.)
Note 112: (retour) Voy. Jos. Strutt, Angleterre ancienne.
Note 113: (retour) Bibl. Sainte-Geneviève.
Note 114: (retour) Voy. Monog. d'abbayes de France. Bibl. Sainte-Geneviève.
Note 115: (retour) Ce château a appartenu à un duc de la Trémoille. Nous devons ces dessins à M. Patoueille, qui a bien voulu faire pour nous un relevé très-exact de ce petit bâtiment.
Note 116: (retour) Voy. le tome VIII, p. 253, du Bulletin monum., pub. par M. de Caumont.
Note 117: (retour) Voy. Domest. archit. of the middle ages, XIV century, p. 65. Oxford, Parker.
Note 118: (retour) Puisqu'il s'agit ici de cuisines, il faut bien reconnaître que, dans beaucoup de nos établissements d'instruction publique, dans nos casernes, et surtout dans la plupart de nos séminaires, la vue de ces officines est faite pour ôter l'appétit aux plus affamés.
CUL-DE-BASSE-FOSSE, s, m. In-pace. Si nous en croyons la plupart des écrivains qui se sont occupés du moyen âge, qui ont essayé d'en retracer les moeurs, il n'y avait pas un couvent ou un château en France qui ne possédât au moins, dans ses fondations, un cul-de-basse-fosse destiné à renfermer les gens que l'on voulait faire disparaître. Nous avons vu bien des châteaux, bon nombre de monastères, et nous n'avons jamais pu trouver ces sortes de cachots en forme de cul-d'oeuf ou de cône renversé, destinés, dit-on, à recevoir des malheureux qui non-seulement se trouvaient ainsi privés de la lumière du jour, mais qui ne pouvaient, au fond de ces fosses, ni s'asseoir ni se coucher. Quand on voulait, pendant le moyen âge, faire disparaître un homme, on le pendait haut et court, on le jetait dans une oubliette ou on le tuait purement et simplement, en ayant le soin de l'enterrer dans quelque coin écarté; mais on ne s'amusait guère à ces raffinements étrangement barbares. Tous les châteaux contenaient des caves profondes ouvertes seulement par un trou percé dans la voûte, caves qui étaient de véritables silos propres à renfermer des grains, des racines, des provisions, mais dans lesquelles on ne mettait personne. Quelquefois ces silos sont bâtis en cône renversé: ce sont alors des glacières. On a voulu voir aussi dans un grand nombre de fosses d'aisances des culs-de-basse-fosse, et il n'est pas un château dans lequel le cicerone de l'endroit ne vous montre des latrines élevées au rang d'oubliettes. Les prisons, les cachots existent dans presque tous les couvents, dans les châteaux, dans les officialités; mais ces prisons sont parfaitement disposées pour l'usage auquel on les destinait: elles sont peu plaisantes, mais ce ne sont que des salles plus ou moins vastes, plus ou moins éclairées ou tout à fait obscures: ce ne sont pas des culs-de-basse-fosse. Ceux qui les ont construites ont paru vouloir les rendre sûres, mais saines, autant que peuvent l'être des cachots (voy. l'article PRISON).
CUL-DE-FOUR, s. m. Coquille. Voûte en quart de sphère ressemblant, en effet, au fond d'un four à pain. L'hémicycle contenant le tribunal de la basilique romaine était voûté en cul-de-four; cette disposition fut imitée pendant les premiers temps du christianisme et persista en Occident jusque vers le milieu du XIIe siècle (voy. ARCHITECTURE RELIGIEUSE, CATHÉDRALE, CONSTRUCTION, ÉGLISE). Dans les premières églises romanes, le clergé était rangé autour de l'hémicycle, et l'autel se trouvait entre le choeur et les fidèles. Des fenêtres, percées dans le mur semi-circulaire de l'abside, éclairaient l'assemblée du clergé; au-dessus de ces fenêtres était bâtie la voûte en cul-de-four, habituellement décorée de peintures ou de mosaïques (voy. MOSAÏQUE, PEINTURE). On voit encore en France beaucoup d'absides voûtées en cul-de-four dans le Poitou, la Normandie, l'Auvergne, le Lyonnais et la Bourgogne. Il arrive même parfois que les voûtes des nefs et transsepts sont déjà gothiques, comme système de construction, et que les absides conservent le cul-de-four roman. On peut, entre autres exemples remarquables de ce fait, citer la cathédrale de Langres. La forme en quart de sphère avait été si bien adoptée pour les absides, dans les premiers temps du moyen âge, qu'elle paraissait consacrée; le clergé n'y renonça qu'avec peine et lorsque l'art gothique, admis entièrement dans les constructions religieuses, ne permettait plus le mélange des méthodes de bâtir antérieures.
CUL-DE-LAMPE, s. m. Nous avons pris le parti d'adopter, dans ce
Dictionnaire, les mots consacrés par l'usage, sans discuter leur
étymologie ou leur valeur; mais il faut avouer que le mot
cul-de-lampe, tel qu'on l'applique depuis deux ou trois cents ans,
n'est justifié par nulle bonne raison. Le fond d'une lampe suspendue,
terminé en pointe, a pu donner l'idée d'appeler culs-de-lampe
certaines clefs pendantes des XVe et XVIe siècles; mais on ne s'est pas
borné là: on a donné le nom de cul-de-lampe à tout support en
encorbellement qui n'est pas un corbeau, c'est-à-dire qui ne présente
pas deux faces parallèles perpendiculaires au mur. Et pour éviter de
plus longues explications (1), A est un corbeau, B un cul-de-lampe.
Faute d'une meilleure dénomination, nous acceptons donc celle-là.
Les Romains avaient employé des culs-de-lampe, ou plutôt des consoles et corbeaux, pour porter de petits ordres de colonnes en placage sur des parements 119. Ce fut une de ces traditions du Bas-Empire que le moyen âge conserva et perfectionna. Ce principe, purement décoratif, dans l'architecture romaine, devint même un des moyens de construction les plus fréquemment employés pendant les périodes romane et ogivale. Pendant la période romane, parce que les premiers qui eurent l'idée de poser des voûtes sur le plan de la basilique romaine, après avoir élevé à la place de la svelte colonne ionique ou corinthienne antique de lourds piliers cylindriques A (2), furent très-embarrassés de savoir comment retrouver des points d'appui pour les sommiers des arcs doubleaux.

Ils pensèrent donc à poser, au-dessus de la rencontre des archivoltes des collatéraux, des pierres saillantes sur lesquelles ils élevèrent alors les colonnes engagées C. Ils donnèrent généralement à ces pierres saillantes la forme d'un cul-de-lampe et non d'un corbeau, parce qu'en effet cette forme diminuée par le bas s'arrangeait mieux avec la rencontre des deux extrados des archivoltes. Il n'est pas nécessaire de dire que ces culs-de-lampe primitifs sont barbares: ce ne sont parfois que des cônes renversés légèrement cannelés (3), ou des têtes humaines ou d'animaux grossièrement sculptées.

Ces culs-de-lampe cependant, par leur position même, attiraient les regards; placés quelquefois assez près de l'oeil, on chercha, lorsque la sculpture romane devint moins sauvage, à en faire des oeuvres remarquables; on en confia l'exécution aux mains les plus habiles. Déjà, dans les provinces qui possèdent de bonnes écoles de sculpteurs vers la fin du XIe siècle et au commencement du XIIe, on signale des culs-de-lampe aussi remarquables par le style que par la pureté de leur exécution. Un des plus beaux culs-de-lampe que nous connaissions de cette époque se trouve à l'entrée du choeur de l'église haute de Chauvigny (Poitou): il porte une colonne d'arc doubleau, et a été posé afin de dégager la partie inférieure de la pile et laisser plus de largeur au vaisseau pour placer des bancs ou des stalles.

Nous donnons ce cul-de-lampe (4), en A de face et en B de profil. Cette sculpture, par son style, rappelle la meilleure sculpture grecque byzantine. Où les artistes occidentaux du commencement du XIIe siècle avaient-ils été prendre ces types, ces arrangements de coiffure si gracieusement reliés à l'architecture? C'est ce que nous examinons dans l'article SCULPTURE.
Il existait, dans les réfectoires d'abbayes des XIIe et XIIIe siècles, des chaires de lecteurs qui étaient portées sur de magnifiques culs-de-lampe, au dire des auteurs qui les ont vus, car il ne reste plus que des traces mutilées de ces sculptures. Le cul-de-lampe de la chaire de lecteur de Saint-Martin-des-Champs à Paris (voy. CHAIRE, fig. 3) passait pour un chef-d'oeuvre. Ces derniers culs-de-lampe étaient composés de plusieurs assises posées en encorbellement, et l'ornementation se combinait en raison de la hauteur des assises, ou courait sur toutes; le plus souvent c'était un arbre d'où sortaient des branches et des feuilles entremêlées de fruits et d'oiseaux. Dès que le système de la voûte appartenant véritablement au moyen âge fut trouvé, ces voûtes se composant de membres indépendants, d'arcs doubleaux, d'arcs ogives et de formerets servant de nerfs aux remplissages, les arcs naissaient dans oeuvre; ils devaient donc porter, ou sur des piles formant saillie sur le nu des murs intérieurs, ou sur des encorbellements, des culs-de-lampe. Dans les salles qui, par suite de leur destination, devaient être entourées de bancs, de boiseries, de meubles, on évitait, avec raison, de faire porter les voûtes sur des piles dont les saillies eussent été gênantes. Alors les culs-de-lampe jouaient souvent un rôle très-important; car si les différents arcs des voûtes étaient puissants et nombreux, il fallait que leur sommier trouvât sur les culs-de-lampe une assiette large et saillante.
Dans l'ancienne salle abbatiale de Vézelay, connue aujourd'hui sous le nom de chapelle basse, salle qui n'était autre chose qu'une sacristie ou un lieu de réunion pour les religieux avant de passer au choeur, les voûtes du XIIe siècle, plein cintre, mais construites en arcs d'ogive, reposent sur des culs-de-lampe formés de trois assises et d'un tailloir (5). Cette sculpture, destinée à être vue de très-près, puisque l'assise inférieure n'est pas à plus de deux mètres au-dessus du sol, est exécutée avec beaucoup de finesse, tout en laissant à la pierre la solidité qui lui est nécessaire.
Le XIIIe siècle, qui, plus encore que l'époque romane, voulut diminuer l'importance des points d'appui sur le sol et débarrasser l'aire des intérieurs de toute saillie, ne manqua pas d'employer les culs-de-lampe pour porter les voûtes. Les sculpteurs de cette époque les enrichirent de figures, quelquefois assez importantes, de têtes, et surtout de feuillages; ils allèrent jusqu'à en faire des compositions tout entières, si surtout ils avaient besoin de donner à ces culs-de-lampe une forte saillie pour porter des arcs larges et épais. Alors même, dans la crainte que le sommier de ces arcs ne fît épauffrer sous la charge les deux ou trois assises dont un cul-de-lampe eût pu être composé, ils posaient un premier cul-de-lampe, montaient une construction en saillie sur ce cul-de-lampe, puis en posaient un second; ainsi répartissaient-ils la charge sur une hauteur plus grande et n'avaient-ils pas à craindre des ruptures.

On voit encore, dans un angle du croisillon nord de la cathédrale d'Agen, un cul-de-lampe composé d'après ce principe, et qui, à lui seul, est un petit monument recevant deux grands formerets et un arc ogive d'une grande portée (6).

La construction de ce support n'est pas moins
remarquable que sa composition. La première assise, le vrai
cul-de-lampe, est en A, profondément engagée dans les deux parements se
retournant d'équerre. Le lit supérieur de cette assise est en B. La
figure et son dossier jusqu'au-dessous du bandeau C sont d'un seul
morceau de pierre. Les deux colonnettes flanquantes sont détachées et
d'un seul morceau en délit chacune; leurs chapiteaux sont engagés dans
les murs; le bandeau supérieur recevant le sommier de l'arc ogive et des
deux formerets est de même engagé dans la construction. En plan, ce
cul-de-lampe donne le tracé (7), supposant la section horizontale faite
au niveau D. Ce cul-de-lampe-pilastre est placé à une assez grande
hauteur, et l'exécution en est grossière.
L'architecture bourguignonne est riche en culs-de-lampe d'une originalité de composition et d'une beauté d'exécution très-remarquables. La nature résistante des calcaires de cette province autorise des hardiesses qu'on ne pouvait se permettre dans l'Île-de-France, la Champagne et la Normandie, où les matériaux sont généralement d'une nature moins ferme. L'école des sculpteurs bourguignons des XIIe et XIIIe siècles est douée, d'ailleurs, d'une verve et d'une abondance de composition que nous avons bien des fois l'occasion de signaler dans le courant de cet ouvrage, et dont nous expliquons le développement à l'article SCULPTURE.


La petite église de Saint-Père ou plutôt de Saint-Pierre-sous-Vézelay, entre autres édifices bourguignons, présente une grande variété de beaux culs-de-lampe. En voici deux (8 et 8 bis) qui reçoivent les faisceaux de colonnes portant les arcs des voûtes de la nef: ils sont l'un et l'autre composés de deux assises, lesquelles sont parfaitement indiquées dans la disposition de l'ornement. L'un de ces culs-de-lampe représente un vice, l'Avarice, sous la forme d'un buste d'homme au cou duquel est suspendue une bourse pleine; deux dragons lui dévorent les oreilles, restées sourdes aux plaintes du pauvre.

Pour faire comprendre la façon différente de rendre un même motif par des écoles d'architectes de la même époque, nous donnons (9) un des culs-de-lampe portant les faisceaux de colonnettes des voûtes de la lanterne de la cathédrale de Laon. Ce cul-de-lampe est peu antérieur aux deux derniers. On voit comme la sculpture de l'Île-de-France, du Soissonnais et de la Champagne est contenue, si nous la comparons à celle de la Bourgogne. Il n'est guère possible de combiner d'une façon plus simple et plus gracieuse en même temps un support destiné à porter trois colonnettes en encorbellement. Ce buste d'ange qui sort de la muraille semble s'accouder sur l'assise qui lui sert de ligne de départ; par sa pose naturelle, il paraît porter sans efforts les trois fûts si bien plantés sur sa tête et ses deux ailes.
La Bourgogne nous surprend par la hardiesse de ses conceptions; sa sculpture plantureuse, abondante, large, taillée dans des pierres fermes par des mains habiles et sûres, nous séduit; jamais son école n'atteint cette pureté de style et cette délicatesse de goût que nous trouvons dans le domaine royal, la Champagne et le Beauvoisis, dès le XIIe siècle.
Quelquefois les culs-de-lampe affectent la forme d'un simple chapiteau sans colonne; ce chapiteau est engagé dans le mur, et, à la place de l'astragale, le sculpteur a taillé un bouquet de feuilles. On voit de beaux culs-de-lampe de ce genre portant l'arcature basse du collatéral du choeur de la cathédrale d'Auxerre; mais ceux-ci n'ont pas la largeur d'exécution des deux ou trois culs-de-lampe qui tiennent une place analogue dans les ailes de la petite église de Clamecy (10) (1230 environ).

Les Normands, qui sont des raisonneurs, veulent que ces culs-de-lampe, en manière de chapiteaux, sortent de la muraille comme une végétation pousse entre les joints des pierres.

Voici (11) plusieurs des culs-de-lampe portant la galerie en encorbellement qui pourtourne les piles de la nef de la cathédrale de Rouen, au-dessous des archivoltes (1230 environ), présentant cette particularité. Quelquefois, en Normandie, les culs-de-lampe se composent également d'un chapiteau posé sur un bout de colonne coudé en équerre, et venant pénétrer la muraille. Les Normands n'entendent pas, au XIIIe siècle, qu'un chapiteau reste suspendu sans un support.
Vers le milieu du XIIIe siècle, les colonnes ou colonnettes recevant les sommiers des voûtes ne sont plus portées en encorbellement; elles descendent jusqu'au sol: aussi les culs-de-lampe ne sont-ils guère employés que pour porter des statues adossées à ces colonnes, ou des membres accessoires de l'architecture. Ces sortes de culs-de-lampe se trouvent très-fréquemment encastrés dans les édifices, à dater de la fin du XIIIe siècle.
On voit dans l'intérieur de la Sainte-Chapelle haute du Palais, à Paris, de beaux culs-de-lampe accolés aux fûts des colonnes recevant les arcs principaux de la voûte. Ces culs-de-lampe, au nombre de douze, portent les statues des apôtres, de grandeur naturelle; ils sont très-riches, taillés dans une hauteur d'assise de pierre de liais, et se composent d'une tablette ou d'un tailloir mouluré, dont le listel est incrusté de verres peints et dorés, et d'une corbeille à peine galbée, très-plate, se confondant avec le fût de la colonne. Autour de ces corbeilles se groupent des feuillages touffus, sculptés avec une souplesse charmante, peints et dorés (12). Ces culs-de-lampe n'ont pas, peut-être, un caractère assez monumental; mais il ne faut pas oublier qu'ils sont placés à l'intérieur, à trois mètres environ au-dessus du pavé, et qu'ils sont tous faits, ainsi que les statues qu'ils supportent, pour rompre la ligne sèche des colonnes montant de fond.

La sculpture intérieure de la Sainte-Chapelle de Paris est des plus délicates, et déjà dans cet édifice l'imitation de la flore est poussée très-loin.
Si nous prenons un des culs-de-lampe qui servent de supports à quelques-unes des statues décorant le pignon occidental de la petite église de Saint-Père-sous-Vézelay (13), nous constaterons encore les différences de style qui séparent la sculpture des écoles française et bourguignonne.

La composition du cul-de-lampe intérieur de la Sainte-Chapelle est plus savante et surtout plus fine que celle de ce cul-de-lampe bourguignon (tous deux datent du milieu du XIIIe siècle); mais, dans ce dernier ornement, le caractère monumental est certes mieux senti; la composition en est large, comme l'exécution; il y a là une verve, une fermeté de style remarquables.
Disons en passant que, presque toujours, les culs-de-lampe placés, soit à l'intérieur, soit à l'extérieur des édifices, sont peints de couleurs vives: les fonds sont rouges, brun-rouge ou bleu-ardoise; les feuillages sont vert-clair, jaune-ocre ou or. On tenait donc alors beaucoup à donner à ces supports une grande valeur décorative, à les faire paraître.
Les sculpteurs, pendant les XIVe et XVe siècles, choisissaient de préférence, pour décorer les culs-de-lampe portant des statues, la représentation des vices opposés aux qualités des personnages qu'ils étaient destinés à recevoir, ou encore la figure de leurs persécuteurs, la scène de leur martyre. Beaucoup de nos anciennes statues d'église ayant été brisées pendant les guerres de religion ou à la fin du dernier siècle, les culs-de-lampe méritent donc d'être étudiés au point de vue de l'iconographie, car ils peuvent servir à désigner les statues posées au-dessus d'eux. Ainsi sous la statue de saint-Pierre on voit souvent la figure de Simon le Magicien, sous celle de la Vierge le dragon à tête de femme. Le personnage est-il renommé à cause de sa continence, le cul-de-lampe représente une scène de luxure (14) 120: c'est un jeune noble qui cherche à violenter une nonne.

Sous les pieds du Christ instruisant, dont la statue est accolée à l'un des piliers de l'ancienne cathédrale de Carcassonne, du côté gauche de l'entrée du choeur, est sculpté un magnifique cul-de-lampe qui nous paraît représenter Judas après sa damnation. Un chien et une bête immonde le déchirent. Des feuilles de vigne couronnent cette scène (15) 121.

Quelques-uns de ces vices, trop naïvement rendus, ont fait supposer que les sculpteurs du moyen âge se plaisaient à placer sous les yeux du public, même dans les églises, des scènes un peu vives. Un faux zèle ou souvent une imagination trop facile à émouvoir ont mis ainsi sur le compte de ces artistes des méfaits qu'ils n'ont pas commis. Jusqu'au XIVe siècle on ne peut voir dans ces représentations que l'image d'un vice en opposition avec une vertu. D'ailleurs, avant cette époque, il y a une grande retenue dans la façon dont sont figurés ces vices. Plus tard, lorsque les arts du moyen âge tombèrent dans l'afféterie et l'imitation puérile de la nature, il nous paraît évident, surtout si l'on se reporte aux moeurs du XVe siècle, que les artistes ayant un vice à personnifier se complaisaient dans la représentation des scènes qui expliquaient ce vice aux spectateurs. Ces abus ont existé pendant les époques de décadence, et les arts des deux derniers siècles ne laissent pas d'y tomber.

Les culs-de-lampe portant des sommiers d'arcs ou des statues se voient souvent dans l'architecture du XVe siècle, et ils participent du goût de cette époque. Leurs tailloirs (16) sont souvent curvilignes, concaves; ils sont allongés, se composent de deux ou trois assises. Les lignes géométriques prennent de l'importance.
La sculpture reproduit des feuilles découpées, souvent imitées avec une parfaite étude de la nature. L'ensemble de ces compositions ne laisse pas cependant de présenter de la confusion, une trop grande recherche, des détails trop déliés, et qui ne sont pas à l'échelle des édifices. Ce sont de petits chefs-d'oeuvre que les sculpteurs tailleurs de pierre se sont plu à façonner avec amour, dans leur atelier, en dehors de la direction du maître de l'oeuvre. On ne sent plus, dans ces compositions, l'entente monumentale que nous trouvons toujours pendant le XIIe siècle et même encore pendant le XIVe.
À la fin du XVe siècle, les culs-de-lampe sont, surtout dans l'architecture civile, employés avec prodigalité, et présentent des masses mieux combinées, plus variées que ceux du milieu de ce siècle, qui fatiguent par l'uniformité des formes géométriques et la recherche de la sculpture. Il existait dans l'hôtel de la Trémoille, à Paris, de très-beaux culs-de-lampe sous les voûtes du portique et dans le grand escalier, dont le noyau est conservé à l'École des Beaux-Arts.

Un des grands culs-de-lampe de ce portique, que nous donnons (17), représentait un ange ayant à sa droite un enfant tenant une palme; de la main gauche cet ange semblait écarter une petite sirène, emblème de la luxure, comme chacun sait. Était-ce l'Innocence ou la Chasteté protégée par l'ange gardien 122? Quelquefois aussi les culs-de-lampe tenant à des édifices civils représentent des scènes de romans ou des fabliaux connus de tout le monde.
Au XVe siècle, des armoiries, des emblèmes, des scènes rappellent certains événements de la vie des seigneurs ou bourgeois qui faisaient bâtir. Ainsi, dans le charmant hôtel de Jacques Coeur, à Bourges, derrière une armoire détruite il y a quelques années, on a découvert un cul-de-lampe fort curieux. Ce cul-de-lampe est placé dans la salle qui passe (non sans raison) pour avoir été le trésor, le cabinet de Jacques Coeur. En effet, cette salle est bien fermée par une porte en fer, et elle se trouve dans l'une des tours anciennes contre lesquelles le palais est bâti. Il semblerait même que l'armoire, qui masquait le cul-de-lampe, avait été placée là dès l'origine de la construction, car le carrelage ancien n'existait pas au-dessous d'elle.
Or voici ce que représente le cul-de-lampe en question.
À gauche est un fou tenant une marotte de la main droite, et de la gauche cherchant à attraper des mouches qui sont posées sur le tronc d'un arbre à fruits. Tournant le dos à cette figure, et au milieu du cul-de-lampe, est Jacques Coeur (ou du moins un personnage dont la tête rappelle ses traits) en élégant habit de seigneur, la dague au côté. De la main gauche il indique un petit bassin carré plein d'eau, à ses pieds, dans lequel se reflète l'image d'une tête barbue, couronnée, posée dans un arbre au-dessus de la fontaine. Un phylactère s'échappe à droite et à gauche de la tête royale.
À droite est une femme couchée sur un riche tapis jeté sur l'herbe fleurie; elle est couronnée, et porte la main droite à sa couronne comme pour l'ôter; de la main gauche, elle relève sa robe de dessus, doublée de fourrure. Un très-riche collier entoure son cou. L'extrémité droite du cul-de-lampe est occupée par un troisième arbre. Le geste de la femme est passablement équivoque, la démarche de l'homme est discrète; il ne semble s'avancer qu'avec mystère. Nous ne connaissons pas de fabliau, de conte ou de roman qui puisse expliquer cette curieuse sculpture. On serait tenté d'y voir un des épisodes de la vie de Jacques Coeur, lequel avait été accusé par ses ennemis, auprès du roi, et afin de le perdre plus sûrement, d'avoir acheté les faveurs d'Agnès Sorel. Ici le personnage, que nous croyons représenter Jacques Coeur, semble sollicité par la femme couchée; en montrant l'image du roi reflétée dans la fontaine, il paraît indiquer le témoin de la scène et recommander la prudence.
Si cette sculpture a été exécutée avant la disgrâce de Jacques Coeur, bien qu'elle fût placée dans une pièce secrète, il faut avouer que c'était là une singulière fatuité ou le fait d'une imprudence rare. Si elle ne fut sculptée qu'après sa réhabilitation (ce qui semblerait plus probable), cela ferait supposer qu'il tenait à placer devant ses yeux le souvenir d'une des causes principales de ses malheurs, comme une perpétuelle leçon. Le personnage du fou donnerait du poids à cette dernière hypothèse. N'est-il pas là pour montrer que les coureurs d'aventures galantes, fussent-elles de nature à flatter la vanité, ressemblent à ce fou qui passe son temps à attraper des mouches?
Quoi qu'il en soit, cet exemple explique assez pourquoi la sculpture des culs-de-lampe, dans les édifices du moyen âge, mérite d'être observée; elle peut aider parfois à expliquer des faits tenant aux moeurs, ou certains épisodes historiques d'un grand intérêt.

Voici (18) la reproduction du cul-de-lampe que nous venons de décrire 123, et dont malheureusement la partie inférieure a été mutilée.

Dès le XIIe siècle, les constructeurs portaient souvent des tourelles contenant des escaliers ou servant d'échauguettes sur des contre-forts d'angles; mais la circonférence de ces tourelles débordant sur une partie de leur surface, les saillies de ces contre-forts, ainsi que l'indique le plan (19), il restait des triangles A qu'il fallait soutenir par des encorbellements dont l'assise inférieure, au moins, était taillée en forme de cul-de-lampe.

Les restes d'un logis du château de Vées, près Morienval (Oise), nous montrent encore une tourelle d'angle du XIIe siècle, qui est ainsi portée dans les angles rentrants par des encorbellements commençant par un cul-de-lampe (20) taillé en forme de bout de poutre (voyez ÉCHAUGUETTE, TOURELLE). Il est assez rare de rencontrer des encorbellements de tourelles en culs-de-lampe sculptés pendant les XIIe et XIIIe siècles; cependant nous en possédons encore quelques exemples d'un beau style.

Les plus remarquables certainement se voient sous les tourelles d'escaliers de la façade de Notre-Dame de Dijon, première moitié du XIIIe siècle. C'est encore la Bourgogne qui nous donne ici (21) un échantillon de son école de sculpteurs. Ce cul-de-lampe se compose de trois assises d'un seul bloc chacune; dans de larges gorges se tordent ou rampent des animaux fantastiques, sculptés avec une énergie sauvage et une extrême finesse. Les physionomies de ces bêtes sont rendues par un sculpteur observateur de la nature, bien qu'il n'ait pu prendre ses modèles que dans son imagination. Lorsqu'on examine de près cette étrange ménagerie 124, on reste frappé d'étonnement devant la réalité donnée par la main de l'artiste à ces êtres impossibles. Tous portent le caractère de férocité brutale qui appartient à la bête sauvage. Leurs membres sont attachés par un observateur attentif et savant. Mais toute la sculpture de la façade de Notre-Dame de Dijon serait digne d'être moulée et placée dans un musée: c'est le chef-d'oeuvre de l'École bourguignonne du XIIIe siècle 125. Ces culs-de-lampe, comme toute la sculpture de cette façade, étaient peints. Les architectes du moyen âge avaient si bien pris l'habitude de colorer les culs-de-lampe extérieurs, que sous l'une des tourelles d'angle de la salle synodale de Sens, qui date de 1245 environ, il existe un hibou en forme de support; ce hibou était peint en rouge, bien qu'il n'y ait pas de traces de coloration sur le reste de l'édifice à l'extérieur. Après l'exemple que nous venons de donner, les culs-de-lampe sculptés sous les tourelles des XIVe et XVe siècles paraîtraient vulgaires: aussi nous bornerons-nous à celui-ci; d'ailleurs ces culs-de-lampe se composent généralement de cordons de feuillages qui ne présentent rien de bien particulier. La renaissance, à son origine, ne se fit pas faute d'employer les culs-de-lampe dans l'architecture; mais ces derniers culs-de-lampe reproduisent presque toujours la forme d'un chapiteau sans colonne, possédant un culot en manière de rosace sous le lit inférieur, à la place de l'astragale.
Note 119: (retour) Voyez les ruines du palais de Dioclétien, à Spalatro.
Note 120: (retour) Cul-de-lampe du XIVe siècle placé à l'intérieur du mur sud de la cathédrale d'Auxerre, la statue manque.
Note 121: (retour) Cette sculpture date du commencement du XIVe siècle.
Note 122: (retour) Ce cul-de-lampe, dont nous avons fait un dessin avant la démolition de l'hôtel de La Trémoille, est perdu probablement, car nous ne l'avons plus retrouvé parmi les débris replacés dans la cour de l'École des Beaux-Arts.
Note 123: (retour) Notice pittoresque sur les antiq. et monum. du Berri, publiée par M. Hazé, 1834. M. Hazé a signalé le premier l'existence de cette curieuse sculpture du palais de Jacques Coeur.
Note 124: (retour) Ces culs-de-lampe sont placés à 10m 00 de hauteur environ.
Note 125: (retour) Il serait bien à souhaiter que ce bel édifice fut dégagé et préservé, par une main habile, de la ruine qui menace quelques-unes de ses parties, et notamment la façade. Nous en avons fait connaître la structure dans l'article CONSTRUCTION.
CUSTODE, s. f. On appelait ainsi un édicule isolé ou une armoire destinée à renfermer la sainte Eucharistie, les saintes huiles ou des vases sacrés; on donnait également le nom de custodes 126 aux voiles qui étaient destinés à cacher l'Eucharistie renfermée dans la suspension (voyez AUTEL). Les petites armoires pratiquées dans les murs des chapelles, derrière ou à côté des autels, sont de véritables custodes (voyez ARMOIRE).
Note 126: (retour) En latin custoda ou custodia. (Voy. Du Cange, Gloss., et dans le Dictionnaire du mobilier français, de l'époque carlovingienne à la renaissance, l'article TABERNACLE.)
CYBORIUM, s. m. Ciborium, cibarium, cibureum, civarium, cyburium 127. Ce mot latin est employé en français pour désigner l'édicule qui, dans certains cas, recouvrait entièrement un autel. C'est ce qu'on a désigné depuis le XVIe siècle sous le nom de baldaquin. Le baldaquin qui couvre le maître-autel de Saint-Pierre de Rome est un véritable cyborium. À Paris les autels des Invalides et de l'église du Val-de-Grâce sont encore couverts chacun d'un cyborium en style moderne 128. Pendant le moyen âge on plaçait aussi parfois un cyborium sur la tombe d'un saint ou d'un personnage de marque.
Le cyborium était ordinairement fait de matières précieuses ou recouvert de lames d'or et d'argent.
En France, il n'était pas d'un usage habituel, depuis le XIIIe siècle, de placer des baldaquins au-dessus des autels (voyez AUTEL). Ceux-ci étaient entourés de colonnes portant des voiles, composés d'une table simple, ou seulement surmontés d'un retable avec une suspension; mais ces autels n'étaient pas couverts, tandis qu'en Italie la plupart des autels principaux possédaient un cyborium. Cependant en France quelques autels d'églises abbatiales romanes avaient des baldaquins. Dans la vie de saint-Odilon, abbé de Cluny 129, on lit ce passage: «Il commença aussi un cyborium sur l'autel de Saint-Pierre, et revêtit les colonnes de lames d'argent décorées d'un bel ouvrage en nielles 130.» Nous ne possédons malheureusement sur ces baldaquins de l'époque romane que des descriptions aussi laconiques que celle-ci; il est donc difficile de se faire une idée exacte de leur forme, de leur composition et de leur importance. Quelques ivoires rhénans des XIe et XIIe siècles nous montrent bien des édicules sur les autels, auxquels sont suspendus des voiles; mais ces représentations ne nous instruisent guère plus que les descriptions anciennes, car ces monuments sont figurés d'une façon toute conventionnelle; ils se composent de quatre colonnes portant une sorte de coupole, surmontée d'une croix.
Il faut dire que les baldaquins, à moins de prendre des dimensions très-considérables, gênent le cérémonial adopté aujourd'hui aux autels principaux des églises importantes. Pour les cathédrales, les baldaquins étaient contraires aux dispositions adoptées depuis le XIIe siècle, puisque les évêques, en reconstruisant leurs églises, tenaient au contraire à ce que la table de l'autel fût libre, et à ce qu'elle pût être vue de tous les points de l'église.
Note 127: (retour) Tegimen, umbraculum altaris. (Voy. Du Cange, Gloss.)
Note 128: (retour) À Nîmes, dans l'église de Saint-Paul, l'architecte, M. Questel, a élevé sur l'autel un cyborium en style roman. Dans la cathédrale de Bayonne, M. Boeswilwald, vient également de construire sur l'autel principal un cyborium en style gothique. On voit à Rome, dans les basiliques de Saint-Clément, de Saint-Laurent, de Sainte-Agnès-hors-les-murs, etc., des cyborium posés au-dessus des autels, qui datent des XIIe, XIIIe et XIVe siècles.
Note 129: (retour) Vita S. Odilonis abb. inter Acta SS. Benedic. Sec. 6, part. I, pag. 687.
Note 130: (retour) Incoepit etiam ciborium super altare S. Petri, cujus columnas vestivit ex argento cum nigello pulchro opere decoratas.
FIN DU TOME QUATRIÈME.

(Suite)
FIN DE LA TABLE PROVISOIRE DU TOME QUATRIÈME
End of the Project Gutenberg EBook of Dictionnaire raisonné de
l'architecture française du XIe au XVIe siècle (4/9), by Eugène-Emmanuel Viollet-Le-Duc
*** END OF THIS PROJECT GUTENBERG EBOOK DICTIONNAIRE ***
***** This file should be named 30784-h.htm or 30784-h.zip *****
This and all associated files of various formats will be found in:
http://www.gutenberg.org/3/0/7/8/30784/
Produced by Michel Laglasse, Rénald Lévesque and the Online
Distributed Proofreaders Europe at http://dp.rastko.net.
Updated editions will replace the previous one--the old editions
will be renamed.
Creating the works from public domain print editions means that no
one owns a United States copyright in these works, so the Foundation
(and you!) can copy and distribute it in the United States without
permission and without paying copyright royalties. Special rules,
set forth in the General Terms of Use part of this license, apply to
copying and distributing Project Gutenberg-tm electronic works to
protect the PROJECT GUTENBERG-tm concept and trademark. Project
Gutenberg is a registered trademark, and may not be used if you
charge for the eBooks, unless you receive specific permission. If you
do not charge anything for copies of this eBook, complying with the
rules is very easy. You may use this eBook for nearly any purpose
such as creation of derivative works, reports, performances and
research. They may be modified and printed and given away--you may do
practically ANYTHING with public domain eBooks. Redistribution is
subject to the trademark license, especially commercial
redistribution.
*** START: FULL LICENSE ***
THE FULL PROJECT GUTENBERG LICENSE
PLEASE READ THIS BEFORE YOU DISTRIBUTE OR USE THIS WORK
To protect the Project Gutenberg-tm mission of promoting the free
distribution of electronic works, by using or distributing this work
(or any other work associated in any way with the phrase "Project
Gutenberg"), you agree to comply with all the terms of the Full Project
Gutenberg-tm License (available with this file or online at
http://gutenberg.org/license).
Section 1. General Terms of Use and Redistributing Project Gutenberg-tm
electronic works
1.A. By reading or using any part of this Project Gutenberg-tm
electronic work, you indicate that you have read, understand, agree to
and accept all the terms of this license and intellectual property
(trademark/copyright) agreement. If you do not agree to abide by all
the terms of this agreement, you must cease using and return or destroy
all copies of Project Gutenberg-tm electronic works in your possession.
If you paid a fee for obtaining a copy of or access to a Project
Gutenberg-tm electronic work and you do not agree to be bound by the
terms of this agreement, you may obtain a refund from the person or
entity to whom you paid the fee as set forth in paragraph 1.E.8.
1.B. "Project Gutenberg" is a registered trademark. It may only be
used on or associated in any way with an electronic work by people who
agree to be bound by the terms of this agreement. There are a few
things that you can do with most Project Gutenberg-tm electronic works
even without complying with the full terms of this agreement. See
paragraph 1.C below. There are a lot of things you can do with Project
Gutenberg-tm electronic works if you follow the terms of this agreement
and help preserve free future access to Project Gutenberg-tm electronic
works. See paragraph 1.E below.
1.C. The Project Gutenberg Literary Archive Foundation ("the Foundation"
or PGLAF), owns a compilation copyright in the collection of Project
Gutenberg-tm electronic works. Nearly all the individual works in the
collection are in the public domain in the United States. If an
individual work is in the public domain in the United States and you are
located in the United States, we do not claim a right to prevent you from
copying, distributing, performing, displaying or creating derivative
works based on the work as long as all references to Project Gutenberg
are removed. Of course, we hope that you will support the Project
Gutenberg-tm mission of promoting free access to electronic works by
freely sharing Project Gutenberg-tm works in compliance with the terms of
this agreement for keeping the Project Gutenberg-tm name associated with
the work. You can easily comply with the terms of this agreement by
keeping this work in the same format with its attached full Project
Gutenberg-tm License when you share it without charge with others.
1.D. The copyright laws of the place where you are located also govern
what you can do with this work. Copyright laws in most countries are in
a constant state of change. If you are outside the United States, check
the laws of your country in addition to the terms of this agreement
before downloading, copying, displaying, performing, distributing or
creating derivative works based on this work or any other Project
Gutenberg-tm work. The Foundation makes no representations concerning
the copyright status of any work in any country outside the United
States.
1.E. Unless you have removed all references to Project Gutenberg:
1.E.1. The following sentence, with active links to, or other immediate
access to, the full Project Gutenberg-tm License must appear prominently
whenever any copy of a Project Gutenberg-tm work (any work on which the
phrase "Project Gutenberg" appears, or with which the phrase "Project
Gutenberg" is associated) is accessed, displayed, performed, viewed,
copied or distributed:
This eBook is for the use of anyone anywhere at no cost and with
almost no restrictions whatsoever. You may copy it, give it away or
re-use it under the terms of the Project Gutenberg License included
with this eBook or online at www.gutenberg.org
1.E.2. If an individual Project Gutenberg-tm electronic work is derived
from the public domain (does not contain a notice indicating that it is
posted with permission of the copyright holder), the work can be copied
and distributed to anyone in the United States without paying any fees
or charges. If you are redistributing or providing access to a work
with the phrase "Project Gutenberg" associated with or appearing on the
work, you must comply either with the requirements of paragraphs 1.E.1
through 1.E.7 or obtain permission for the use of the work and the
Project Gutenberg-tm trademark as set forth in paragraphs 1.E.8 or
1.E.9.
1.E.3. If an individual Project Gutenberg-tm electronic work is posted
with the permission of the copyright holder, your use and distribution
must comply with both paragraphs 1.E.1 through 1.E.7 and any additional
terms imposed by the copyright holder. Additional terms will be linked
to the Project Gutenberg-tm License for all works posted with the
permission of the copyright holder found at the beginning of this work.
1.E.4. Do not unlink or detach or remove the full Project Gutenberg-tm
License terms from this work, or any files containing a part of this
work or any other work associated with Project Gutenberg-tm.
1.E.5. Do not copy, display, perform, distribute or redistribute this
electronic work, or any part of this electronic work, without
prominently displaying the sentence set forth in paragraph 1.E.1 with
active links or immediate access to the full terms of the Project
Gutenberg-tm License.
1.E.6. You may convert to and distribute this work in any binary,
compressed, marked up, nonproprietary or proprietary form, including any
word processing or hypertext form. However, if you provide access to or
distribute copies of a Project Gutenberg-tm work in a format other than
"Plain Vanilla ASCII" or other format used in the official version
posted on the official Project Gutenberg-tm web site (www.gutenberg.org),
you must, at no additional cost, fee or expense to the user, provide a
copy, a means of exporting a copy, or a means of obtaining a copy upon
request, of the work in its original "Plain Vanilla ASCII" or other
form. Any alternate format must include the full Project Gutenberg-tm
License as specified in paragraph 1.E.1.
1.E.7. Do not charge a fee for access to, viewing, displaying,
performing, copying or distributing any Project Gutenberg-tm works
unless you comply with paragraph 1.E.8 or 1.E.9.
1.E.8. You may charge a reasonable fee for copies of or providing
access to or distributing Project Gutenberg-tm electronic works provided
that
- You pay a royalty fee of 20% of the gross profits you derive from
the use of Project Gutenberg-tm works calculated using the method
you already use to calculate your applicable taxes. The fee is
owed to the owner of the Project Gutenberg-tm trademark, but he
has agreed to donate royalties under this paragraph to the
Project Gutenberg Literary Archive Foundation. Royalty payments
must be paid within 60 days following each date on which you
prepare (or are legally required to prepare) your periodic tax
returns. Royalty payments should be clearly marked as such and
sent to the Project Gutenberg Literary Archive Foundation at the
address specified in Section 4, "Information about donations to
the Project Gutenberg Literary Archive Foundation."
- You provide a full refund of any money paid by a user who notifies
you in writing (or by e-mail) within 30 days of receipt that s/he
does not agree to the terms of the full Project Gutenberg-tm
License. You must require such a user to return or
destroy all copies of the works possessed in a physical medium
and discontinue all use of and all access to other copies of
Project Gutenberg-tm works.
- You provide, in accordance with paragraph 1.F.3, a full refund of any
money paid for a work or a replacement copy, if a defect in the
electronic work is discovered and reported to you within 90 days
of receipt of the work.
- You comply with all other terms of this agreement for free
distribution of Project Gutenberg-tm works.
1.E.9. If you wish to charge a fee or distribute a Project Gutenberg-tm
electronic work or group of works on different terms than are set
forth in this agreement, you must obtain permission in writing from
both the Project Gutenberg Literary Archive Foundation and Michael
Hart, the owner of the Project Gutenberg-tm trademark. Contact the
Foundation as set forth in Section 3 below.
1.F.
1.F.1. Project Gutenberg volunteers and employees expend considerable
effort to identify, do copyright research on, transcribe and proofread
public domain works in creating the Project Gutenberg-tm
collection. Despite these efforts, Project Gutenberg-tm electronic
works, and the medium on which they may be stored, may contain
"Defects," such as, but not limited to, incomplete, inaccurate or
corrupt data, transcription errors, a copyright or other intellectual
property infringement, a defective or damaged disk or other medium, a
computer virus, or computer codes that damage or cannot be read by
your equipment.
1.F.2. LIMITED WARRANTY, DISCLAIMER OF DAMAGES - Except for the "Right
of Replacement or Refund" described in paragraph 1.F.3, the Project
Gutenberg Literary Archive Foundation, the owner of the Project
Gutenberg-tm trademark, and any other party distributing a Project
Gutenberg-tm electronic work under this agreement, disclaim all
liability to you for damages, costs and expenses, including legal
fees. YOU AGREE THAT YOU HAVE NO REMEDIES FOR NEGLIGENCE, STRICT
LIABILITY, BREACH OF WARRANTY OR BREACH OF CONTRACT EXCEPT THOSE
PROVIDED IN PARAGRAPH F3. YOU AGREE THAT THE FOUNDATION, THE
TRADEMARK OWNER, AND ANY DISTRIBUTOR UNDER THIS AGREEMENT WILL NOT BE
LIABLE TO YOU FOR ACTUAL, DIRECT, INDIRECT, CONSEQUENTIAL, PUNITIVE OR
INCIDENTAL DAMAGES EVEN IF YOU GIVE NOTICE OF THE POSSIBILITY OF SUCH
DAMAGE.
1.F.3. LIMITED RIGHT OF REPLACEMENT OR REFUND - If you discover a
defect in this electronic work within 90 days of receiving it, you can
receive a refund of the money (if any) you paid for it by sending a
written explanation to the person you received the work from. If you
received the work on a physical medium, you must return the medium with
your written explanation. The person or entity that provided you with
the defective work may elect to provide a replacement copy in lieu of a
refund. If you received the work electronically, the person or entity
providing it to you may choose to give you a second opportunity to
receive the work electronically in lieu of a refund. If the second copy
is also defective, you may demand a refund in writing without further
opportunities to fix the problem.
1.F.4. Except for the limited right of replacement or refund set forth
in paragraph 1.F.3, this work is provided to you 'AS-IS' WITH NO OTHER
WARRANTIES OF ANY KIND, EXPRESS OR IMPLIED, INCLUDING BUT NOT LIMITED TO
WARRANTIES OF MERCHANTIBILITY OR FITNESS FOR ANY PURPOSE.
1.F.5. Some states do not allow disclaimers of certain implied
warranties or the exclusion or limitation of certain types of damages.
If any disclaimer or limitation set forth in this agreement violates the
law of the state applicable to this agreement, the agreement shall be
interpreted to make the maximum disclaimer or limitation permitted by
the applicable state law. The invalidity or unenforceability of any
provision of this agreement shall not void the remaining provisions.
1.F.6. INDEMNITY - You agree to indemnify and hold the Foundation, the
trademark owner, any agent or employee of the Foundation, anyone
providing copies of Project Gutenberg-tm electronic works in accordance
with this agreement, and any volunteers associated with the production,
promotion and distribution of Project Gutenberg-tm electronic works,
harmless from all liability, costs and expenses, including legal fees,
that arise directly or indirectly from any of the following which you do
or cause to occur: (a) distribution of this or any Project Gutenberg-tm
work, (b) alteration, modification, or additions or deletions to any
Project Gutenberg-tm work, and (c) any Defect you cause.
Section 2. Information about the Mission of Project Gutenberg-tm
Project Gutenberg-tm is synonymous with the free distribution of
electronic works in formats readable by the widest variety of computers
including obsolete, old, middle-aged and new computers. It exists
because of the efforts of hundreds of volunteers and donations from
people in all walks of life.
Volunteers and financial support to provide volunteers with the
assistance they need, are critical to reaching Project Gutenberg-tm's
goals and ensuring that the Project Gutenberg-tm collection will
remain freely available for generations to come. In 2001, the Project
Gutenberg Literary Archive Foundation was created to provide a secure
and permanent future for Project Gutenberg-tm and future generations.
To learn more about the Project Gutenberg Literary Archive Foundation
and how your efforts and donations can help, see Sections 3 and 4
and the Foundation web page at http://www.pglaf.org.
Section 3. Information about the Project Gutenberg Literary Archive
Foundation
The Project Gutenberg Literary Archive Foundation is a non profit
501(c)(3) educational corporation organized under the laws of the
state of Mississippi and granted tax exempt status by the Internal
Revenue Service. The Foundation's EIN or federal tax identification
number is 64-6221541. Its 501(c)(3) letter is posted at
http://pglaf.org/fundraising. Contributions to the Project Gutenberg
Literary Archive Foundation are tax deductible to the full extent
permitted by U.S. federal laws and your state's laws.
The Foundation's principal office is located at 4557 Melan Dr. S.
Fairbanks, AK, 99712., but its volunteers and employees are scattered
throughout numerous locations. Its business office is located at
809 North 1500 West, Salt Lake City, UT 84116, (801) 596-1887, email
business@pglaf.org. Email contact links and up to date contact
information can be found at the Foundation's web site and official
page at http://pglaf.org
For additional contact information:
Dr. Gregory B. Newby
Chief Executive and Director
gbnewby@pglaf.org
Section 4. Information about Donations to the Project Gutenberg
Literary Archive Foundation
Project Gutenberg-tm depends upon and cannot survive without wide
spread public support and donations to carry out its mission of
increasing the number of public domain and licensed works that can be
freely distributed in machine readable form accessible by the widest
array of equipment including outdated equipment. Many small donations
($1 to $5,000) are particularly important to maintaining tax exempt
status with the IRS.
The Foundation is committed to complying with the laws regulating
charities and charitable donations in all 50 states of the United
States. Compliance requirements are not uniform and it takes a
considerable effort, much paperwork and many fees to meet and keep up
with these requirements. We do not solicit donations in locations
where we have not received written confirmation of compliance. To
SEND DONATIONS or determine the status of compliance for any
particular state visit http://pglaf.org
While we cannot and do not solicit contributions from states where we
have not met the solicitation requirements, we know of no prohibition
against accepting unsolicited donations from donors in such states who
approach us with offers to donate.
International donations are gratefully accepted, but we cannot make
any statements concerning tax treatment of donations received from
outside the United States. U.S. laws alone swamp our small staff.
Please check the Project Gutenberg Web pages for current donation
methods and addresses. Donations are accepted in a number of other
ways including checks, online payments and credit card donations.
To donate, please visit: http://pglaf.org/donate
Section 5. General Information About Project Gutenberg-tm electronic
works.
Professor Michael S. Hart is the originator of the Project Gutenberg-tm
concept of a library of electronic works that could be freely shared
with anyone. For thirty years, he produced and distributed Project
Gutenberg-tm eBooks with only a loose network of volunteer support.
Project Gutenberg-tm eBooks are often created from several printed
editions, all of which are confirmed as Public Domain in the U.S.
unless a copyright notice is included. Thus, we do not necessarily
keep eBooks in compliance with any particular paper edition.
Most people start at our Web site which has the main PG search facility:
http://www.gutenberg.org
This Web site includes information about Project Gutenberg-tm,
including how to make donations to the Project Gutenberg Literary
Archive Foundation, how to help produce our new eBooks, and how to
subscribe to our email newsletter to hear about new eBooks.